JP4816537B2 - 蓄熱装置 - Google Patents

蓄熱装置 Download PDF

Info

Publication number
JP4816537B2
JP4816537B2 JP2007083739A JP2007083739A JP4816537B2 JP 4816537 B2 JP4816537 B2 JP 4816537B2 JP 2007083739 A JP2007083739 A JP 2007083739A JP 2007083739 A JP2007083739 A JP 2007083739A JP 4816537 B2 JP4816537 B2 JP 4816537B2
Authority
JP
Japan
Prior art keywords
heat storage
heat
storage means
heat transfer
latent
Prior art date
Legal status (The legal status is an assumption and is not a legal conclusion. Google has not performed a legal analysis and makes no representation as to the accuracy of the status listed.)
Active
Application number
JP2007083739A
Other languages
English (en)
Other versions
JP2008241174A (ja
Inventor
雅人 目片
敬 澤田
Current Assignee (The listed assignees may be inaccurate. Google has not performed a legal analysis and makes no representation or warranty as to the accuracy of the list.)
Panasonic Corp
Panasonic Holdings Corp
Original Assignee
Panasonic Corp
Matsushita Electric Industrial Co Ltd
Priority date (The priority date is an assumption and is not a legal conclusion. Google has not performed a legal analysis and makes no representation as to the accuracy of the date listed.)
Filing date
Publication date
Application filed by Panasonic Corp, Matsushita Electric Industrial Co Ltd filed Critical Panasonic Corp
Priority to JP2007083739A priority Critical patent/JP4816537B2/ja
Publication of JP2008241174A publication Critical patent/JP2008241174A/ja
Application granted granted Critical
Publication of JP4816537B2 publication Critical patent/JP4816537B2/ja
Active legal-status Critical Current
Anticipated expiration legal-status Critical

Links

Images

Classifications

    • FMECHANICAL ENGINEERING; LIGHTING; HEATING; WEAPONS; BLASTING
    • F28HEAT EXCHANGE IN GENERAL
    • F28DHEAT-EXCHANGE APPARATUS, NOT PROVIDED FOR IN ANOTHER SUBCLASS, IN WHICH THE HEAT-EXCHANGE MEDIA DO NOT COME INTO DIRECT CONTACT
    • F28D20/00Heat storage plants or apparatus in general; Regenerative heat-exchange apparatus not covered by groups F28D17/00 or F28D19/00
    • F28D20/02Heat storage plants or apparatus in general; Regenerative heat-exchange apparatus not covered by groups F28D17/00 or F28D19/00 using latent heat
    • YGENERAL TAGGING OF NEW TECHNOLOGICAL DEVELOPMENTS; GENERAL TAGGING OF CROSS-SECTIONAL TECHNOLOGIES SPANNING OVER SEVERAL SECTIONS OF THE IPC; TECHNICAL SUBJECTS COVERED BY FORMER USPC CROSS-REFERENCE ART COLLECTIONS [XRACs] AND DIGESTS
    • Y02TECHNOLOGIES OR APPLICATIONS FOR MITIGATION OR ADAPTATION AGAINST CLIMATE CHANGE
    • Y02EREDUCTION OF GREENHOUSE GAS [GHG] EMISSIONS, RELATED TO ENERGY GENERATION, TRANSMISSION OR DISTRIBUTION
    • Y02E60/00Enabling technologies; Technologies with a potential or indirect contribution to GHG emissions mitigation
    • Y02E60/14Thermal energy storage

Landscapes

  • Engineering & Computer Science (AREA)
  • Physics & Mathematics (AREA)
  • Thermal Sciences (AREA)
  • Mechanical Engineering (AREA)
  • General Engineering & Computer Science (AREA)
  • Central Heating Systems (AREA)

Description

本発明は、潜熱蓄熱剤を搭載した蓄熱装置に関するものである。
蓄熱を行う方法として、非蓄熱時には固体となり、蓄熱時には液体となる潜熱蓄熱剤の相変化を利用した蓄熱装置は良く知られており、この潜熱蓄熱剤をカプセル状の容器内に充填した蓄熱カプセルと被加熱流体を熱交換させることにより、蓄熱・放熱を行う装置はすでに実用化されている。
ここで、カプセル状の容器に潜熱蓄熱剤を充填した場合、熱交換を行う伝熱面との間の
熱抵抗が大きくなる可能性があり、また容器の占める体積が大きくなる傾向となるため、体積当たりの潜熱蓄熱剤の充填量が減少するという課題があった。
この課題を解決するため、潜熱蓄熱剤を、薄いアルミラミネートフィルムにより成型された袋に充填し、真空パックするようにした蓄熱装置が提案されている(例えば、特許文献1参照)。
実用新案登録第3115086号公報
しかしながら、上記特許文献1に記載された従来の蓄熱装置は、アルミラミネートフィルムにより構成されているため、潜熱蓄熱剤が融解及び凝固し、体積が膨張及び収縮した際に潜熱蓄熱剤が重力の影響で下部に移動し、下部は、潜熱蓄熱剤が過度に集中した結果膨らみ、上部には、潜熱蓄熱剤の移動の結果として空間が生じることとなり、熱の授受性能が悪化するという課題があった。
本発明は、前記従来の課題を解決するもので、潜熱蓄熱剤の融解・凝固による移動の影響を少なくし、安定した熱の授受を行うことができる蓄熱装置を提供することを目的とする。
前記従来の課題を解決するために、本発明の蓄熱装置は、平板状に成型され、非蓄熱時には固体となり、蓄熱時には液体となる潜熱蓄熱剤を、アルミラミネートフィルム製の袋にて真空パックを施して形成した蓄熱手段と、前記蓄熱手段を挟み込むように保持すると共に、前記潜熱蓄熱剤に対して熱の授受を行い、一定間隔で凹凸を有する伝熱壁と、前記伝熱壁を通じて前記蓄熱手段を加熱または冷却するための流体が流れる流体通路と、前記蓄熱手段及び前記伝熱壁の周囲に配設された断熱手段とを備え、前記蓄熱手段を略水平方向に配設するとともに、前記アルミラミネートフィルム製の袋の表面に折り曲げ部を形成し、前記伝熱壁の凹部に対向させ、前記アルミラミネートフィルム製の袋の折り曲げ部を配置する構成としたことを特徴とするもので、潜熱蓄熱剤が融解・凝固を繰り返した際においても、潜熱蓄熱剤の厚さを一定に保つことができ、伝熱壁と効果的に熱の授受を行うことができ、安定した蓄放熱性能を維持することができる。
本発明の蓄熱装置は、繰り返し使用した際においても蓄熱性能及び放熱性能を悪化させることなく一定に保つことが可能であり、潜熱蓄熱剤を用いた蓄熱装置の信頼性を向上させることができる。
第1の発明は、平板状に成型され、非蓄熱時には固体となり、蓄熱時には液体となる潜熱蓄熱剤を、アルミラミネートフィルム製の袋にて真空パックを施して形成した蓄熱手段と、前記蓄熱手段を挟み込むように保持すると共に、前記潜熱蓄熱剤に対して熱の授受を行い、一定間隔で凹凸を有する伝熱壁と、前記伝熱壁を通じて前記蓄熱手段を加熱または冷却するための流体が流れる流体通路と、前記蓄熱手段及び前記伝熱壁の周囲に配設された断熱手段とを備え、前記蓄熱手段を略水平方向に配設するとともに、前記アルミラミネートフィルム製の袋の表面に折り曲げ部を形成し、前記伝熱壁の凹部に対向させ、前記アルミラミネートフィルム製の袋の折り曲げ部を配置する構成としたことを特徴とするもので、潜熱蓄熱剤が融解・凝固を繰り返した際においても、潜熱蓄熱剤の厚さを一定に保つことができ、伝熱壁と効果的に熱の授受を行うことができ、安定した蓄放熱性能を維持することができる。
また、伝熱壁に、一定間隔で凹凸を設けたもので、潜熱蓄熱剤と伝熱壁との接触面積を増やすと共に、伝熱壁を通じて蓄熱手段と熱交換を行う流体通路の耐圧性能を向上させることができる。
また、袋の表面に、一定間隔で規則的に折り曲げ加工を施したもので、伝熱壁と蓄熱手段との密着性を高め、熱の授受性能を向上させることができる。
第2の発明は、特に、第1の発明の潜熱蓄熱剤の主成分を、酢酸ナトリウム三水和物としたもので、高効率な蓄熱性能及び放熱性能を実現することができる。
以下、本発明の実施の形態について、図面を参照しながら説明する。なお、本実施の形態によって本発明が限定されるものではない。
(実施の形態1)
図1は、本発明の実施の形態1における蓄熱装置の正面断面図、図2は、同蓄熱装置の側面断面図、図3は、同蓄熱装置を用いた給湯機の構成図、図4は、同蓄熱手段の斜視図である。
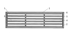
図1〜4において、本実施の形態における蓄熱装置1は、大きくアルミラミネートフィルム製の袋2に真空パックされ平板状に成型された潜熱蓄熱剤3を封入した蓄熱手段4と、蓄熱手段4を、両側から挟み込むような構造で保持し蓄熱手段4に対して熱の授受を行うための伝熱壁5と、2枚の伝熱壁5内部に空間が設けられ、蓄熱手段4を加熱または冷却するための流体(例えば、水)が流れる流体通路6と、蓄熱手段4、伝熱壁5及び流体通路6から外部への熱リークを防止するためのウレタンフォームまたはウレタンスラブ等により構成された断熱手段7から構成されている。8は、蓄熱装置1の蓄熱手段4に蓄熱を行うための湯を加熱する加熱手段である。
本実施の形態では、蓄熱手段4の寸法は、取り扱い及び持ち運びが容易である幅200mm、高さ200mm、厚さ20mmの寸法に成型されており、蓄熱手段4内に封入されている潜熱蓄熱剤3は、現在一般家庭で使用されている貯湯タンク(図示せず)を有した給湯機(図示せず)の貯湯温度と同等温度である60℃前後に融点を有する、主成分が酢酸ナトリウム三水和物で構成されているものを使用している。
潜熱蓄熱剤3を密封しているアルミラミネートフィルム製の袋2の表面には、伝熱壁5の凹凸5aの凹部に合わせて一定間隔で折り曲げ加工がされており、潜熱蓄熱剤3が融解し体積が膨張した際に、この部分に潜熱蓄熱剤3を送り込むことで充填可能量を増やすことができる。伝熱壁5は、2枚の銅板を、はんだ付けまたはロウ付けにより接着、貼り合わせて形成されている。
2枚の銅板の間には、水または湯が流れる流体通路6が形成されているが、単位体積当たりの蓄熱剤充填量を大きくするために、銅板の板厚は0.3〜0.5mm程度のものを使用しており、そのままでは、水道圧をかけると変形してしまう恐れがあるため、一定間隔で凹凸を設け、凹部をはんだ付けまたはロウ付けにより接着することで耐圧性能を向上させている。
流体通路6には、蓄熱時には湯、放熱時には水が流される。蓄熱時に利用される湯は、加熱手段8によって常温の水から65〜80℃程度の湯に昇温される。加熱手段8は、ボイラーや電気ヒーター等でも勿論問題ないが、近年の省エネルギー化の流れを考えるとヒートポンプによる加熱がエネルギー効率も優れており望ましい。蓄熱手段4、伝熱壁5及
び流体通路6は、外部との温度差が大きくこのままでは外部への熱リークによって蓄熱性能の悪化が予想されるため、グラスウール・発泡スチロール又は硬質ウレタンスラブ等によって構成された断熱手段7によって外部との熱の出入りが遮断される。
この蓄熱装置1を、一般家庭の給湯用に用いる場合、家庭環境、設置スペース等にもよるが、潜熱蓄熱剤3の必要量は、100〜300kg程度になるため、上記の寸法の蓄熱手段4が90〜270個程度必要となる。
この数量の蓄熱手段4を一定のスペースに設置するため、蓄熱手段4と伝熱壁5及び流体通路6は、略水平方向に積層する構造によって省スペース化を図っている。まず底面に、内部に流体通路6を有した伝熱壁5が設置され、その上に一定数量の蓄熱手段4が並べられる。その上にさらに、伝熱壁5、その上に蓄熱手段4というような構造により、無駄な空間を有することなく一定体積に最大限潜熱蓄熱剤3を充填することができる。
この蓄熱装置1を用いた給湯機の作用を、以下に説明する。
蓄熱運転を行う場合、流体通路6に、加熱手段8で加熱された高温の湯が循環ポンプ9を通じて流され、潜熱蓄熱剤3に蓄熱を行う。潜熱蓄熱剤3の温度が、湯の温度に対して低い場合は、湯が有する熱は伝熱壁5を通じて潜熱蓄熱剤3に移動する。潜熱蓄熱剤3は温度が上昇するにつれて、固体から液体へと相変化を行い、潜熱領域の蓄熱を行うが、融解すると体積が膨張するため、液化した潜熱蓄熱剤3は、空間を有している伝熱壁5の凹部に流れていくが、このときアルミラミネートフィルム製の袋2に設けている折り込み部10が、潜熱蓄熱剤3とともに伝熱壁5側に押されていき、伝熱壁5と蓄熱手段4の密着性を向上させ、熱伝導性をさらに向上させることができる。この動作を連続して行うと、酢酸ナトリウム三水和物系の潜熱蓄熱剤3の場合、融点が約60℃であるため、この温度を上回ると蓄熱完了である。
蓄熱が完了すると、必要時に所定の温度の湯を使用することができる。湯を使用するため蛇口(図示せず)等が開けられた場合、水道から供給された水は、伝熱壁5を通じて蓄熱手段4内の潜熱蓄熱剤3と熱交換することにより加熱され、その後、混合弁11により水と混合され所定の温度に調整された後、利用系に送られ風呂、シャワー等に使用される。潜熱蓄熱剤3が有する熱が、充分に利用され放熱されると、潜熱蓄熱剤3が、液体から固体へと相変化を行う。潜熱蓄熱剤3は相変化により凝固すると体積が減少するため、蓄熱手段4と上部の伝熱壁5との間に一定の間隔で空間が生じる。
再度蓄熱運転を行うと、潜熱蓄熱剤3は再び融解し体積が膨張するため上部の伝熱壁5と接触する。現在までの検討結果によると、蓄熱運転の際には、1枚の伝熱壁5で片面から蓄熱を行う場合と2枚の伝熱壁5を用いて両面から蓄熱を行う場合とで性能差はほとんどないことが確認されている。
放熱運転の場合は、1枚の伝熱壁5で片面から放熱を行う場合に比べて2枚の伝熱壁5で両面から放熱を行う場合の方が放熱性能が優れているため、理想的な状態で、体積吸収ができると共に上部から潜熱蓄熱剤3等に加重が加わっているため、融解時の潜熱蓄熱剤3の過度の体積膨張による変形等を防止することができる。
なお、本実施の形態に示した各種材料や数値などは、必ずしもこれに限定されるものではなく、所定の役割を果たすことができるならば別の材料や数値で何ら問題はない。
以上のように、本発明にかかる蓄熱装置は、潜熱蓄熱剤と伝熱壁との間の熱の授受性能
を、繰り返し使用した際においても、悪化させることなく一定に保つことができるため、液体等の流動性を持つ物質を用いた熱交換装置全般に利用可能である。
本発明の実施の形態1における蓄熱装置の正面断面図 同蓄熱装置の側面断面図 同蓄熱装置を用いた給湯機の構成図 同蓄熱手段の斜視図
1 蓄熱装置
2 袋
3 潜熱蓄熱剤
4 蓄熱手段
5 伝熱壁
6 流体通路
7 断熱手段

Claims (2)

  1. 平板状に成型され、非蓄熱時には固体となり、蓄熱時には液体となる潜熱蓄熱剤を、アルミラミネートフィルム製の袋にて真空パックを施して形成した蓄熱手段と、前記蓄熱手段を挟み込むように保持すると共に、前記潜熱蓄熱剤に対して熱の授受を行い、一定間隔で凹凸を有する伝熱壁と、前記伝熱壁を通じて前記蓄熱手段を加熱または冷却するための流体が流れる流体通路と、前記蓄熱手段及び前記伝熱壁の周囲に配設された断熱手段とを備え、前記蓄熱手段を略水平方向に配設するとともに、前記アルミラミネートフィルム製の袋の表面に折り曲げ部を形成し、前記伝熱壁の凹部に対向させ、前記アルミラミネートフィルム製の袋の折り曲げ部を配置する構成としたことを特徴とする蓄熱装置。
  2. 潜熱蓄熱剤の主成分を、酢酸ナトリウム三水和物としたことを特徴とする請求項1に記載の蓄熱装置。
JP2007083739A 2007-03-28 2007-03-28 蓄熱装置 Active JP4816537B2 (ja)

Priority Applications (1)

Application Number Priority Date Filing Date Title
JP2007083739A JP4816537B2 (ja) 2007-03-28 2007-03-28 蓄熱装置

Applications Claiming Priority (1)

Application Number Priority Date Filing Date Title
JP2007083739A JP4816537B2 (ja) 2007-03-28 2007-03-28 蓄熱装置

Publications (2)

Publication Number Publication Date
JP2008241174A JP2008241174A (ja) 2008-10-09
JP4816537B2 true JP4816537B2 (ja) 2011-11-16

Family

ID=39912739

Family Applications (1)

Application Number Title Priority Date Filing Date
JP2007083739A Active JP4816537B2 (ja) 2007-03-28 2007-03-28 蓄熱装置

Country Status (1)

Country Link
JP (1) JP4816537B2 (ja)

Cited By (1)

* Cited by examiner, † Cited by third party
Publication number Priority date Publication date Assignee Title
WO2014167798A1 (ja) 2013-04-10 2014-10-16 パナソニック株式会社 蓄熱装置

Families Citing this family (11)

* Cited by examiner, † Cited by third party
Publication number Priority date Publication date Assignee Title
JP2010121814A (ja) * 2008-11-18 2010-06-03 Panasonic Corp 蓄熱装置
JP2010203691A (ja) * 2009-03-04 2010-09-16 Panasonic Corp 蓄熱装置およびそれを用いた給湯機
JP2013088049A (ja) * 2011-10-19 2013-05-13 Mitsubishi Plastics Inc 潜熱蓄熱槽、及び給湯システム
JP2013088050A (ja) * 2011-10-19 2013-05-13 Mitsubishi Plastics Inc 潜熱蓄熱槽、及び給湯システム
KR20160053602A (ko) 2014-11-05 2016-05-13 현대자동차주식회사 잠열저장 모듈 및 잠열저장 장치
DE102015203477A1 (de) * 2015-02-26 2016-09-01 Siemens Aktiengesellschaft Verfahren zur Herstellung eines Latentwärmespeichers
JP2016211770A (ja) * 2015-05-06 2016-12-15 株式会社アクアノエル 熱交換体、熱交換ユニットおよび空調システム
JP2017161192A (ja) * 2016-03-11 2017-09-14 パナソニックIpマネジメント株式会社 蓄熱装置及び温水生成装置
BE1024319B1 (nl) * 2016-06-30 2018-01-30 Probalco Bvba Dubbelwandig serviesgoed dat is voorzien van een met fase-overgangsmateriaal gevulde pouch
JP6962754B2 (ja) * 2016-09-14 2021-11-05 永大産業株式会社 蓄熱ユニット及び蓄熱ユニットを備えた床構造
JP2024125051A (ja) * 2023-03-03 2024-09-13 株式会社東芝 蓄熱システム

Family Cites Families (6)

* Cited by examiner, † Cited by third party
Publication number Priority date Publication date Assignee Title
NL7811008A (nl) * 1978-11-06 1980-05-08 Akzo Nv Inrichting voor het opslaan van warmte.
JPS6055094U (ja) * 1983-09-22 1985-04-17 松下電器産業株式会社 蓄熱式電気ヒ−タ
JPS619485A (ja) * 1984-06-22 1986-01-17 Matsushita Electric Ind Co Ltd 蓄熱エレメント
JP2003240454A (ja) * 2002-02-13 2003-08-27 Ebara Corp プレート熱交換器とそれを用いた吸収冷凍機
JP4239491B2 (ja) * 2002-07-02 2009-03-18 ダイキン工業株式会社 蓄熱ユニットの組立方法
JP2006189170A (ja) * 2004-12-28 2006-07-20 Toyota Motor Corp 蓄熱装置

Cited By (3)

* Cited by examiner, † Cited by third party
Publication number Priority date Publication date Assignee Title
WO2014167798A1 (ja) 2013-04-10 2014-10-16 パナソニック株式会社 蓄熱装置
JPWO2014167798A1 (ja) * 2013-04-10 2017-02-16 パナソニックIpマネジメント株式会社 蓄熱装置
US10337805B2 (en) 2013-04-10 2019-07-02 Panasonic Intellectual Property Management Co., Ltd. Heat storage device

Also Published As

Publication number Publication date
JP2008241174A (ja) 2008-10-09

Similar Documents

Publication Publication Date Title
JP4816537B2 (ja) 蓄熱装置
CN106856230B (zh) 电池模组
US20100257870A1 (en) Vehicle air conditioner
JP2012215323A (ja) 潜熱蓄熱装置
CN106766276A (zh) 一种分层利用相变材料的高效储热水箱及其设计方法
JP2009097746A (ja) 蓄熱装置
GB2143025A (en) Chemical phase change heat or cold stores
CN218896694U (zh) 电池包
JP2005315462A (ja) 蓄熱式放射冷暖房パネル
JP2008170068A (ja) 建築物の温度調整装置
CN212511814U (zh) 相变储热式热水器
CN212619456U (zh) 一种单向导热装置
JP2004271119A (ja) 蓄熱器
JP2013088050A (ja) 潜熱蓄熱槽、及び給湯システム
EP0148889A1 (en) Chemical phase change heat stores
JP3018191B1 (ja) 蓄熱装置
JP4876954B2 (ja) 蓄熱装置
JPH0875185A (ja) 蓄熱装置
JP2013088049A (ja) 潜熱蓄熱槽、及び給湯システム
JP2011141107A (ja) 地熱利用装置
JP2009109167A (ja) 蓄熱装置
JP2002106962A (ja) 蓄熱槽および蓄熱槽を用いた浴室熱供給装置。
CN222210776U (zh) 一种活水即热式相变热水器
CN216146632U (zh) 一种新型集成液冷箱式控温装置
CN112033043B (zh) 一种单向导热装置

Legal Events

Date Code Title Description
A621 Written request for application examination

Free format text: JAPANESE INTERMEDIATE CODE: A621

Effective date: 20090701

RD01 Notification of change of attorney

Free format text: JAPANESE INTERMEDIATE CODE: A7421

Effective date: 20090817

A977 Report on retrieval

Free format text: JAPANESE INTERMEDIATE CODE: A971007

Effective date: 20110526

A131 Notification of reasons for refusal

Free format text: JAPANESE INTERMEDIATE CODE: A131

Effective date: 20110607

A521 Written amendment

Free format text: JAPANESE INTERMEDIATE CODE: A523

Effective date: 20110706

TRDD Decision of grant or rejection written
A01 Written decision to grant a patent or to grant a registration (utility model)

Free format text: JAPANESE INTERMEDIATE CODE: A01

Effective date: 20110802

A01 Written decision to grant a patent or to grant a registration (utility model)

Free format text: JAPANESE INTERMEDIATE CODE: A01

A61 First payment of annual fees (during grant procedure)

Free format text: JAPANESE INTERMEDIATE CODE: A61

Effective date: 20110815

FPAY Renewal fee payment (event date is renewal date of database)

Free format text: PAYMENT UNTIL: 20140909

Year of fee payment: 3

R151 Written notification of patent or utility model registration

Ref document number: 4816537

Country of ref document: JP

Free format text: JAPANESE INTERMEDIATE CODE: R151

FPAY Renewal fee payment (event date is renewal date of database)

Free format text: PAYMENT UNTIL: 20140909

Year of fee payment: 3