JP4815454B2 - 緩衝器 - Google Patents

緩衝器 Download PDF

Info

Publication number
JP4815454B2
JP4815454B2 JP2008008981A JP2008008981A JP4815454B2 JP 4815454 B2 JP4815454 B2 JP 4815454B2 JP 2008008981 A JP2008008981 A JP 2008008981A JP 2008008981 A JP2008008981 A JP 2008008981A JP 4815454 B2 JP4815454 B2 JP 4815454B2
Authority
JP
Japan
Prior art keywords
valve
shock absorber
valve body
oil chamber
leading
Prior art date
Legal status (The legal status is an assumption and is not a legal conclusion. Google has not performed a legal analysis and makes no representation as to the accuracy of the status listed.)
Expired - Fee Related
Application number
JP2008008981A
Other languages
English (en)
Other versions
JP2008256205A (ja
Inventor
伸道 塙
Current Assignee (The listed assignees may be inaccurate. Google has not performed a legal analysis and makes no representation or warranty as to the accuracy of the list.)
KYB Corp
Original Assignee
KYB Corp
Priority date (The priority date is an assumption and is not a legal conclusion. Google has not performed a legal analysis and makes no representation as to the accuracy of the date listed.)
Filing date
Publication date
Application filed by KYB Corp filed Critical KYB Corp
Priority to JP2008008981A priority Critical patent/JP4815454B2/ja
Publication of JP2008256205A publication Critical patent/JP2008256205A/ja
Application granted granted Critical
Publication of JP4815454B2 publication Critical patent/JP4815454B2/ja
Expired - Fee Related legal-status Critical Current
Anticipated expiration legal-status Critical

Links

Images

Classifications

    • FMECHANICAL ENGINEERING; LIGHTING; HEATING; WEAPONS; BLASTING
    • F16ENGINEERING ELEMENTS AND UNITS; GENERAL MEASURES FOR PRODUCING AND MAINTAINING EFFECTIVE FUNCTIONING OF MACHINES OR INSTALLATIONS; THERMAL INSULATION IN GENERAL
    • F16FSPRINGS; SHOCK-ABSORBERS; MEANS FOR DAMPING VIBRATION
    • F16F9/00Springs, vibration-dampers, shock-absorbers, or similarly-constructed movement-dampers using a fluid or the equivalent as damping medium
    • F16F9/32Details
    • F16F9/44Means on or in the damper for manual or non-automatic adjustment; such means combined with temperature correction
    • F16F9/46Means on or in the damper for manual or non-automatic adjustment; such means combined with temperature correction allowing control from a distance, i.e. location of means for control input being remote from site of valves, e.g. on damper external wall

Landscapes

  • Engineering & Computer Science (AREA)
  • General Engineering & Computer Science (AREA)
  • Mechanical Engineering (AREA)
  • Axle Suspensions And Sidecars For Cycles (AREA)
  • Fluid-Damping Devices (AREA)
  • Check Valves (AREA)
  • Magnetically Actuated Valves (AREA)

Description

この発明は、緩衝器に関し、特に、二輪車の前輪側に架装されて走行中の二輪車における前輪の振れを抑制するステアリングダンパとしての利用に向く緩衝器の改良に関する。
二輪車の前輪側に架装されて走行中の二輪車における前輪の振れを抑制するステアリングダンパとしての利用に向く緩衝器としては、従来から種々の提案があるが、その中で、特許文献1には、二輪車における前輪の振れを抑制する緩衝器本体の作動をこの緩衝器本体に一体に連設の減衰部で制御する提案が開示されている。
すなわち、この特許文献1に開示の緩衝器にあっては、ハウジング内に緩衝器本体と減衰部とが一体に設けられており、緩衝器本体は、両ロッド型に形成され、シリンダ体内を摺動するピストン体で断面積を同じにする二つの油室を有してなる。
そして、両方のロッド体は、シリンダ体と軸芯線を同じにし、また、断面積を同じにしながらそれぞれの基端をピストン体に連設させると共にそれぞれの先端をシリンダ体外に突出させている。
減衰部は、前後となる直列に配置されて附勢手段たるソレノイドからの推力でそれぞれのバルブシート部材に着座する二つの弁体を有し、ソレノイドは、プッシュ型に設定されて後方の弁体の背後側に配置され、供給電力に応じた推力を発生して直列する先頭および後方となる二つの弁体におけるクッラキング圧を制御する。
そして、二つの弁体における先頭の弁体は、シリンダ体内の一方の油室からの作動油の流入による圧力作用で開弁してその作動油がこの先頭の弁体の背後側を介してシリンダ体内の他方の油室に流入することを許容する。
また、二つの弁体における後方の弁体は、シリンダ体内の他方の油室からの作動油の流入による圧力作用で開弁してその作動油がこの後方の弁体の背後側からチェック弁を介してシリンダ体内の一方の油室に流入することを許容する。
さらに、後方の弁体の背後側を油温補償用のアキュムレータに連通して緩衝器本体内における作動油の膨張および収縮を保障している。
なお、この特許文献1に開示されているところでは、ピストン体が上記の二つの油室のシリンダ体内での相互連通を許容しながらそれぞれ減衰作用をする二つの減衰バルブを有するが、この二つの減衰バルブがなくても、上記の減衰部で減衰作用を奏することができる。
このように構成された緩衝器が二輪車における車体側とハンドル側とに架け渡されるように配置されることで、走行中の二輪車における前輪の振れを抑制し、二輪車における乗り心地を改善し得る。
特開2006‐183864号公報(要約、明細書中の段落0016、同0018、同0020、同0048から同0052、同0058から同0063、図1、図2参照)
しかしながら、上記した特許文献1に開示の緩衝器にあっては、二輪車の前輪側に架装されて走行中の二輪車における前輪の振れを抑制するについて問題がある訳ではないが、その汎用性の向上を期待するときに些か問題があると指摘される可能性がある。
すなわち、上記した特許文献1に開示の提案では、この文献開示の提案をするに至った根拠として、特開2004‐231036号公報に開示の提案の存在を理由にしている。
この公報開示の提案は、ロータリ型の緩衝器についての提案であるが、この提案にあっては、ハウジング内に緩衝器本体と一体に設けられる一つの減衰部に対して、作動油を一方に流れさせるため、四つのチェック弁の配設を必須にするから、構造が複雑になり、製品コストが高騰化され易くなる不具合があると指摘している。
そこで、特許文献1に開示の提案にあっては、一方の油室および他方の油室からの作動油の流れに対して、それぞれ弁体を設ける回路構成とし、チェック弁をアキュムレータに連通する後方の弁体の背後側をシリンダ体内と先頭の弁体の前側を連通する流路に繋ぐ流路に設けた一つのみとし、チェック弁が四つとされる不具合を解消し、さらに、その具体例を開示するに至った。
しかし、その具体例を看ると、その一つのチェック弁を設ける流路が減衰部の軸線方向に対して直交する緩衝器本体の軸線方向に沿ってハウジングに開穿され、かつ、この流路にチェック弁を配設するため、ハウジングの嵩張りが招来され、緩衝器全体が大型化し、重量とコストの点で不利となる。
この発明は、上記した事情を鑑みて創案されたものであって、その目的とするところは、所定の緩衝機能を発揮するのはもちろんだが、緩衝器本体と一体に設けられる減衰部を形成するハウジングにいたずらな嵩張りを招来させずして、全体のコンパクト化を可能にし、その汎用性の向上を期待するのに最適となる緩衝器を提供することである。
上記した目的を達成するために、この発明による緩衝器の構成を、基本的には、ハウジング内に緩衝器本体とこの緩衝器本体に連設の減衰部とを有し、緩衝器本体がシリンダ体を摺動するピストン体で画成される一方および他方となる二つの油室を有し、減衰部が前後となる直列に配置されて附勢手段でそれぞれのバルブシート部に着座する先頭および後方となる二つの弁体を有し、先頭の弁体が一方の油室からの圧力作用で開弁して他方の油室への連通を許容し、後方の弁体が他方の油室からの圧力作用で開弁して一方の油室への連通を許容し、かつ、後方の弁体の背後側をアキュムレータに連通してなる緩衝器において、先頭および後方の弁体を収装するバルブケースに先頭および後方の弁体に並列するように後方の弁体の背後側と先頭の弁体の前側とを連通する流路が形成されると共に、この流路の一端に後方の弁体の背後側からの流れのみを許容するチェック弁が配設されてなるとする。
この発明にあっては、緩衝器本体に連設の減衰部にあって、チェック弁およびチェック弁を配設させる流路がバルブケース内に設けられるから、ハウジング自体にチェック弁を設ける流路を形成しなくて済み、ハウジングにおける嵩張りを小さくして流路構成を簡素化でき、緩衝器全体の小型化を可能にする。
したがって、たとえば、ステアリングダンパとされて二輪車に装備されるときの架装性を良くすると共に、緩衝器における重量およびコストの低減化を可能にする。
以下に、図示した実施形態に基づいて、この発明を説明するが、この発明による緩衝器は、図1に示すように、ハウジングH内に緩衝器本体Dとこの緩衝器本体D外に配置の減衰部Vとが一方および他方となる二本の通路L1,L2で連通されると共に、減衰部VにアキュムレータAが接続されてなる。
なお、図1に示すところは、減衰部Vを具体的に示すのに対して緩衝器本体Dを原理的に示す関係上、減衰部Vが緩衝器本体Dから分離された態様に図示されているが、実際には、ハウジングH内にアキュムレータA,減衰部Vおよび緩衝器本体Dとが一体に設けられている。
このような前提の下に、緩衝器本体Dは、図示するところでは、筒型の両ロッド型に形成され、たとえば、二輪車の前輪側に架装されて走行中の二輪車における前輪の振れを抑制するステアリングダンパとしての利用に向くとしている。
そのため、この緩衝器本体Dは、シリンダ体1内に摺動可能に収装された画成部材たるピストン体2でシリンダ体1内に一方および他方となる二つの圧力室たる油室R1,R2を画成している。
そして、この緩衝器本体Dにあっては、ピストン体2にシリンダ体1と軸芯線を同じにし、また、それぞれの断面積を同じにしてそれぞれの先端をシリンダ体1外に突出させる両方のロッド体3,4の基端を連設させている。
それゆえ、緩衝器本体Dにあっては、シリンダ体1内でのピストン体2の摺動で一方の油室R1の作動油が他方の油室R2に向けて流出し、また、他方の油室R2の作動油が一方の油室R1に向けて流出するときの油量が同じになる。
図示する緩衝器本体Dにあって、ピストン2に上記の二つの油室R1,R2におけるシリンダ体1内での相互連通を許容しながらそれぞれ減衰作用をする減衰バルブを有しても良い。
減衰部Vは、ハウジングH内に上記の一方の油室R1に連通する一方の通路L1と上記の他方の油室R2に連通する他方の通路L2とを有し、これら二つの通路L1,L2は、ハウジングHに螺着されたバルブケース5内に、直列に配置されて、前後となる先頭の弁体6および後方の弁体7を介して連通する。
そして、この減衰部Vにあって、直列に配置された先頭の弁体6および後方の弁体7は、後方の弁体7の背後側に配置された附勢手段たるソレノイドSからの出力で前進して、それぞれのバルブシート部(符示せず)に着座する。
ソレノイドSは、図示するところでは、プッシュ型に形成されながらハウジングHに液密構造下に連結されると共に供給電力に応じた出力を発生する。
先頭の弁体6および後方の弁体7は、バルブケース5内で上記したソレノイドSの出力軸S1の移動方向となるバルブケース5の軸線方向に移動可能に収装されている。
そして、この先頭の弁体6および後方の弁体7は、図2に示すように、本体部6a,7aの図中で右端面となる先端面をそれぞれのバルブシート部に対向するシート面にすると共に、このそれぞれのシート面に所望の減衰力を発生するための流路面積を形成するニードル部6b,7bを突設させている。
すなわち、先頭の弁体6および後方の弁体7は、それぞれのシート面がそれぞれの対向するバルブシート面に当接されるとき、図中で左側となる下流側からの作動油が図中で右側となる上流側に逆流することを阻止する。
そして、この先頭の弁体6および後方の弁体7は、ソレノイドSの出力に基づく推力に対して図中で右側となる上流側からの作動油が図中で左側となる下流側へ向けての通過するときの抵抗になる。
すなわち、この先頭の弁体6および後方の弁体7は、上流側からの圧力作用がソレノイドSによって付与された推力を超えるときに後退して開弁し、上記したニードル部6b,7bがバルブシート部との間に形成される流路を出現させ、この流路を作動油が通過するときに所定の減衰作用を発生させる。
そして、この先頭の弁体6および後方の弁体7は、その開弁時における上流側からの作動油の下流側への通過を保障するために、それぞれを収装させるバルブケース5との間で流路を形成している。
すなわち、この先頭の弁体6および後方の弁体7は、図3に示すように、それぞれの本体部6a,7aの断面がほぼ三角形状になるように外周を軸線方向に切削して形成される通路6c,7cを有し、この各6c,7cを作動油が通過するとしている。
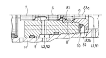
ところで、図2に示すところでは、先頭の弁体6は、本体部6aの図中で左端となる後端に後方の弁体7におけるニードル部7bの先端面が対向する細径のロッド部6dを有している。
そして、このロッド部6dには、後方の弁体7におけるニードル部7bが離着座可能に当接し、ソレノイドSからの出力が後方の弁体7を介して先頭の弁体6に伝達されて、この先頭の弁体6がバルブシート部材8に押し付けられている。
ちなみに、先頭の弁体6および後方の弁体7がそれぞれ離着座するバルブシート部についてだが、図示するところでは、先頭の弁体6は、上記したバルブケース5の図2中で右側部に形成された拡径部5aに移動可能に、すなわち、先頭の弁体6および後方の弁体7の配列方向に摺動可能に配置されたバルブシート部材8で形成される。
そして、このバルブシート部材8は、軸芯部に孔8aを有する有頭筒状に形成され、内側に配置される附勢バネ81のバネ力によって孔8aからなるバルブシート部に先頭の弁体6のニードル部6bを着座させる。
このとき、附勢バネ81の基端は、後述するチェック弁10構造を形成すべく上記の拡径部5aに嵌入されているストッパ82に担持され、このストッパ82は、連通孔82aを有して、緩衝器本体Dの一方の油室R1側と先頭の弁体6側との間における作動油の流れを保障している。
なお、上記のバルブシート部材8にあって、孔8aには先頭の弁体6におけるニードル部6bが臨在され、この孔8aとニードル部6bとで作動油の流路たる環状の流路が形成される。
一方、後方の弁体7が離着座するバルブシート部についてだが、図示するところでは、後方の弁体7のシート部が近隣するバルブケース5における縮径部5bに形成されている。
そして、この縮径部5bは、軸芯部に孔5cを有し、この孔5cを開口させる図中での左端部をバルブシート部にしている。
なお、上記の孔5cには、後方の弁体7におけるニードル部7bが臨在され、この孔5cとニードル部7bとで作動油の流路たる環状の流路が形成される。
それゆえ、上記した先頭の弁体6にあっては、図4中に矢印線aで示すように、緩衝器本体Dにおける一方の油室R1からの作動油の上流側への流出に伴う圧力作用がソレノイドSによって付与された先頭の弁体6の抵抗を超えるときに開弁して、この先頭の弁体6の背後側を介して上記の一方の油室R1が緩衝器本体Dにおける他方の油室R2に連通することを許容し、この先頭の弁体6を介しての作動油の流れで所定の減衰作用が発生される。
そして、後方の弁体7にあっては、図5中に矢印線bで示すように、上記の他方の油室R2からの作動油の上流側への流出に伴う圧力作用がソレノイドSによって付与された後方の弁体7の抵抗を超えるときに開弁して、この後方の弁体7の背後側を介して上記の他方の油室R2が上記の一方の油室R1に連通することを許容し、この後方の弁体7を介しての作動油の流で所定の減衰作用が発生される。
以上からすると、この減衰部Vにあっては、ソレノイドSの出力を供給電力の高低で制御するとき、先頭の弁体6および後方の弁体7がそれぞれ開弁するタイミングを変更でき、したがって、減衰部Vによる減衰特性を任意に発生し得る。
そして、緩衝器本体Dの作動で作動油の油温が高低して作動油が膨縮するときには、シリンダ内に生じる作動油の過不足を解消すべく、後方の弁体7の背後側に接続されたアキュムレータA(図1参照)に流入する。
この発明にあっては、図1に示すように、ハウジングH内にあって先頭の弁体6と後方の弁体7を軸芯部に収装するバルブケース5にチェック弁10を保持させ、チェック弁10を減衰部Vに組み込んでなる。
すなわち、バルブケース5は、図1中に破線図で示すように、直列する先頭の弁体6および後方の弁体7に並列するように流路5dが形成されると共に、この流路5dの図中で右端となる一端にチェック弁10が配設されている。
そして、このチェック弁10は、後方の弁体7に他方の油室R2からの圧力作用があるときに開放作動して流路5dにおける作動油の通過を許容し、後方の弁体6の開弁を可能にすると共に、先頭の弁体6に一方の油室R1からの圧力作用があるときに流路5dを閉鎖して先頭の弁体6に対する油圧作用を可能にし、この先頭の弁体6の開弁を可能にする。
このとき、このチェック弁10は、図示するところでは、環状リーフバルブ11からなり、この環状リーフバルブ11の背後側に配置されたノンリタンスプリング12のバネ力によってバルブケース5の一端に離着座可能に押し付けられ、流路5dの一端開口を開放可能に閉塞している。
ちなみに、ノンリタンスプリング12の基端は、前記したバルブシート部材8の背後側に配置されたストッパ82に担持され、このとき、ストッパ82は、チェック弁10を介しての作動油の流れを保障する透孔82b(図4および図5参照)を有してなる。
それゆえ、上記のチェック弁10を減衰部Vに組み込んでなるこの発明の緩衝器にあっては、減衰部Vと緩衝器本体Dとの連通が一方の通路L1および他方の通路L2によるのはともかく、前記した特許文献1に開示の提案のようにチェック弁を有する連通路が減衰部の軸線に対して直交するような配置にしなくて済むから、流路構成の簡素化を可能にし得ると共に、減衰部Vを形成するハウジングHにおける嵩張りを招来し難くし、緩衝器を小型軽量にし得ることになる。
その結果、この緩衝器が、たとえば、ステアリングダンパとされて二輪車に装備されるとき、装備性が向上されると共に、緩衝器における製品コストの低減化を可能にして、その汎用性の向上を期待できる。
前記したところでは、緩衝器本体Dが筒型の両ロッド型に形成されてなるが、この発明が意図するところからすれば、これに代えて、ベーンからなる画成部材でハウジング内に左右二つの油室たる油室R1,R2を画成するロータリ型に形成されてなるとしても良い。
そして、この発明が意図するところからすれば、緩衝器本体Dが筒型であっても、両ロッド型でなく片ロッド型に形成されてなるとしても良く、その場合には、緩衝器本体Dの伸縮の際に、伸側と圧側で減衰部Vを通過する作動油の流量が異なるから、先頭および後方の各弁体6,7の設定を異にしたり、附勢手段たるソレノイドSの制御を可変にしたりすることで、伸圧両側で同じ減衰特性とすることが可能になる。
また、この場合は、シリンダ体1内に生じるロッド体3,4の伸縮体積分になる作動油量の変化をアキュムレータAが補償することになる。
さらに、前記したところでは、附勢手段がソレノイドSからなるとしたが、この発明が意図するところからすれば、これに代えて、図示しないが、附勢バネからなるとしても良い。
この発明の一実施形態による緩衝器を示す図で、緩衝器本体を原理図で示し、減衰部を一部正面断面図で示す。 図1の減衰部における先頭および後方の弁体部分を示す一部正面断面図である。 図2中のY‐Y線位置で示す先頭および後方の弁体の断面図である。 減衰部における先頭の弁体の作動状態を示す部分断面図である。 減衰部における後方の弁体およびチェック弁の作動状態を図4と同様に示す図である。
符号の説明
1 シリンダ体
2 ピストン体
3,4 ロッド体
5 バルブケース
5a 流路
6 先頭の弁体
7 後方の弁体
8 バルブシート部を形成するバルブシート部材
10 チェック弁
11 環状リーフバルブ
A アキュムレータ
D 緩衝器本体
H ハウジング
L1,L2 通路
R1 一方の油室
R2 他方の油室
S 附勢手段たるソレノイド
V 減衰部

Claims (5)

  1. ハウジング内に緩衝器本体とこの緩衝器本体に連設の減衰部とを有し、緩衝器本体がシリンダ体を摺動するピストン体で画成される一方および他方となる二つの油室を有し、減衰部が前後となる直列に配置されて附勢手段でそれぞれのバルブシート部に着座する先頭および後方となる二つの弁体を有し、先頭の弁体が一方の油室からの圧力作用で開弁して他方の油室への連通を許容し、後方の弁体が他方の油室からの圧力作用で開弁して一方の油室への連通を許容し、かつ、後方の弁体の背後側をアキュムレータに連通してなる緩衝器において、先頭および後方の弁体を収装するバルブケースに先頭および後方の弁体に並列するように後方の弁体の背後側と先頭の弁体の前側とを連通する流路が形成されると共に、この流路の一端に後方の弁体の背後側からの流れのみを許容するチェック弁が配設されてなることを特徴とする緩衝器。
  2. チェック弁が環状リーフバルブからなりながらバルブケースの一端に離着座可能とされて上記のバルブケースに形成の流路の一端を開閉可能にしてなる請求項1に記載の緩衝器。
  3. 緩衝器本体におけるシリンダ体内で摺動するピストン体がシリンダ体と軸芯線を同じにし、また、断面積を同じにしてそれぞれ先端をシリンダ体外に突出させる両方のロッド体におけるそれぞれの基端を連設させてなる請求項1に記載の緩衝器。
  4. 附勢手段がプッシュ型に設定のソレノイドとされながら後方の弁体の背後側に配置されて、供給電力に応じた出力を発生して直列する二つの弁体における推力を制御してなる請求項1に記載の緩衝器。
  5. 先頭の弁体を着座させるバルブシート部が軸方向への移動を可能とされると共に先頭の弁体の背後側に向けて附勢されてなる請求項1に記載の緩衝器。
JP2008008981A 2007-03-14 2008-01-18 緩衝器 Expired - Fee Related JP4815454B2 (ja)

Priority Applications (1)

Application Number Priority Date Filing Date Title
JP2008008981A JP4815454B2 (ja) 2007-03-14 2008-01-18 緩衝器

Applications Claiming Priority (3)

Application Number Priority Date Filing Date Title
JP2007064792 2007-03-14
JP2007064792 2007-03-14
JP2008008981A JP4815454B2 (ja) 2007-03-14 2008-01-18 緩衝器

Publications (2)

Publication Number Publication Date
JP2008256205A JP2008256205A (ja) 2008-10-23
JP4815454B2 true JP4815454B2 (ja) 2011-11-16

Family

ID=39495192

Family Applications (1)

Application Number Title Priority Date Filing Date
JP2008008981A Expired - Fee Related JP4815454B2 (ja) 2007-03-14 2008-01-18 緩衝器

Country Status (3)

Country Link
US (1) US7878604B2 (ja)
EP (1) EP1970595B1 (ja)
JP (1) JP4815454B2 (ja)

Families Citing this family (2)

* Cited by examiner, † Cited by third party
Publication number Priority date Publication date Assignee Title
JP5220643B2 (ja) * 2009-02-05 2013-06-26 カヤバ工業株式会社 緩衝器
DE102017208310B4 (de) * 2017-05-17 2023-02-16 Mando Corporation Ventilanordnung und diese Ventilanordnung enthaltendes Antiblockiersystem

Family Cites Families (16)

* Cited by examiner, † Cited by third party
Publication number Priority date Publication date Assignee Title
JPS5813283A (ja) * 1981-07-15 1983-01-25 Hitachi Ltd 比例制御弁
JPS5830544A (ja) * 1981-07-24 1983-02-23 Toyota Motor Corp 可変シヨツクアブソ−バ装置
JPS58221033A (ja) * 1982-06-16 1983-12-22 Kayaba Ind Co Ltd 周波数感応型シヨツクアブソ−バ
JPS59154484A (ja) * 1983-02-22 1984-09-03 沖電気工業株式会社 Elパネルのパタ−ン形成法
JPS59181349A (ja) * 1983-02-28 1984-10-15 Konishiroku Photo Ind Co Ltd 熱現像カラ−写真材料
JPS6293440A (ja) * 1985-10-18 1987-04-28 Honda Motor Co Ltd 内燃エンジンの高負荷運転時の燃料供給制御方法
JPS62162430A (ja) * 1986-01-07 1987-07-18 Makino Milling Mach Co Ltd 放電加工機の小径棒状電極案内装置
US5662046A (en) * 1993-12-14 1997-09-02 Hansen Inc. Method and apparatus for controlling railway truck hunting and a railway car body supported thereby
JPH08121523A (ja) * 1994-10-21 1996-05-14 Yamaha Motor Co Ltd 減衰器
JP3733495B2 (ja) * 1995-12-20 2006-01-11 株式会社日立製作所 減衰力調整式油圧緩衝器
JP3978708B2 (ja) * 2001-11-29 2007-09-19 株式会社日立製作所 減衰力調整式油圧緩衝器
US20060175166A1 (en) * 2002-08-13 2006-08-10 Tuhh Technologie Gmbh Controllable piston valve and /or flat valve for a vibration damper
EP1653118B1 (en) * 2003-02-05 2007-12-05 Kajima Corporation Attenuation coefficient switching type hydraulic damper
JP2006083912A (ja) * 2004-09-15 2006-03-30 Yamaha Motor Co Ltd 油圧式減衰力制御装置、油圧緩衝装置、車両用フロントフォークおよび油圧式ロータリダンパ
JP4630760B2 (ja) * 2004-11-30 2011-02-09 カヤバ工業株式会社 バルブおよび緩衝器
JP4797515B2 (ja) 2005-08-31 2011-10-19 パナソニック株式会社 超音波式流れ計測装置

Also Published As

Publication number Publication date
US20080223674A1 (en) 2008-09-18
EP1970595A2 (en) 2008-09-17
US7878604B2 (en) 2011-02-01
JP2008256205A (ja) 2008-10-23
EP1970595A3 (en) 2014-04-02
EP1970595B1 (en) 2016-05-11

Similar Documents

Publication Publication Date Title
JP4630760B2 (ja) バルブおよび緩衝器
EP3015736B1 (en) Shock absorber
JP5815062B2 (ja) 減衰力可変式バルブ組立体及びそれを有する減衰力可変式ショックアブソーバ
EP3002478B1 (en) Shock absorber with a combination of a fail-safe and check-valve
JP6482909B2 (ja) 車両懸架システム
US7448479B2 (en) Hydraulic damping force control unit, hydraulic shock absorber, front fork for vehicle, and hydraulic rotary damper
JP4753238B2 (ja) 油圧緩衝器
JP6188257B1 (ja) 油圧緩衝器
WO2011104911A1 (ja) 油圧緩衝器
KR20230118540A (ko) 감쇠력 가변 밸브 조립체 및 이를 포함하는 감쇠력가변식 쇽업소버
JP6082261B2 (ja) 緩衝器
JP4815454B2 (ja) 緩衝器
WO2012176682A1 (ja) 緩衝器
JP6442247B2 (ja) バルブ
JP5843591B2 (ja) 緩衝器
JP2004257507A (ja) 油圧緩衝器
JP6632923B2 (ja) 緩衝器
JP5559576B2 (ja) 減衰弁
JP5395746B2 (ja) 流体圧緩衝器
JP5220643B2 (ja) 緩衝器
JP2020111242A (ja) ステアリングダンパー
JP5909407B2 (ja) 緩衝装置
JP2008143355A (ja) ステアリングダンパ
JP2009127848A (ja) フロントフォーク
JP5822355B2 (ja) 緩衝装置

Legal Events

Date Code Title Description
A621 Written request for application examination

Free format text: JAPANESE INTERMEDIATE CODE: A621

Effective date: 20100713

A977 Report on retrieval

Free format text: JAPANESE INTERMEDIATE CODE: A971007

Effective date: 20110810

TRDD Decision of grant or rejection written
A01 Written decision to grant a patent or to grant a registration (utility model)

Free format text: JAPANESE INTERMEDIATE CODE: A01

Effective date: 20110816

A01 Written decision to grant a patent or to grant a registration (utility model)

Free format text: JAPANESE INTERMEDIATE CODE: A01

A61 First payment of annual fees (during grant procedure)

Free format text: JAPANESE INTERMEDIATE CODE: A61

Effective date: 20110829

R151 Written notification of patent or utility model registration

Ref document number: 4815454

Country of ref document: JP

Free format text: JAPANESE INTERMEDIATE CODE: R151

FPAY Renewal fee payment (event date is renewal date of database)

Free format text: PAYMENT UNTIL: 20140902

Year of fee payment: 3

S533 Written request for registration of change of name

Free format text: JAPANESE INTERMEDIATE CODE: R313533

R350 Written notification of registration of transfer

Free format text: JAPANESE INTERMEDIATE CODE: R350

R250 Receipt of annual fees

Free format text: JAPANESE INTERMEDIATE CODE: R250

LAPS Cancellation because of no payment of annual fees