JP4792125B2 - 情報記録再生装置 - Google Patents

情報記録再生装置 Download PDF

Info

Publication number
JP4792125B2
JP4792125B2 JP2010505229A JP2010505229A JP4792125B2 JP 4792125 B2 JP4792125 B2 JP 4792125B2 JP 2010505229 A JP2010505229 A JP 2010505229A JP 2010505229 A JP2010505229 A JP 2010505229A JP 4792125 B2 JP4792125 B2 JP 4792125B2
Authority
JP
Japan
Prior art keywords
recording
recording layer
layer
region
electrode layer
Prior art date
Legal status (The legal status is an assumption and is not a legal conclusion. Google has not performed a legal analysis and makes no representation as to the accuracy of the status listed.)
Expired - Fee Related
Application number
JP2010505229A
Other languages
English (en)
Other versions
JPWO2009122572A1 (ja
Inventor
親義 鎌田
隆之 塚本
豪 山口
司 中居
隆大 平井
伸也 青木
光一 久保
Current Assignee (The listed assignees may be inaccurate. Google has not performed a legal analysis and makes no representation or warranty as to the accuracy of the list.)
Toshiba Corp
Original Assignee
Toshiba Corp
Priority date (The priority date is an assumption and is not a legal conclusion. Google has not performed a legal analysis and makes no representation as to the accuracy of the date listed.)
Filing date
Publication date
Application filed by Toshiba Corp filed Critical Toshiba Corp
Publication of JPWO2009122572A1 publication Critical patent/JPWO2009122572A1/ja
Application granted granted Critical
Publication of JP4792125B2 publication Critical patent/JP4792125B2/ja
Expired - Fee Related legal-status Critical Current
Anticipated expiration legal-status Critical

Links

Images

Classifications

    • GPHYSICS
    • G11INFORMATION STORAGE
    • G11BINFORMATION STORAGE BASED ON RELATIVE MOVEMENT BETWEEN RECORD CARRIER AND TRANSDUCER
    • G11B11/00Recording on or reproducing from the same record carrier wherein for these two operations the methods are covered by different main groups of groups G11B3/00 - G11B7/00 or by different subgroups of group G11B9/00; Record carriers therefor
    • G11B11/002Recording on or reproducing from the same record carrier wherein for these two operations the methods are covered by different main groups of groups G11B3/00 - G11B7/00 or by different subgroups of group G11B9/00; Record carriers therefor using recording by perturbation of the physical or electrical structure
    • BPERFORMING OPERATIONS; TRANSPORTING
    • B82NANOTECHNOLOGY
    • B82YSPECIFIC USES OR APPLICATIONS OF NANOSTRUCTURES; MEASUREMENT OR ANALYSIS OF NANOSTRUCTURES; MANUFACTURE OR TREATMENT OF NANOSTRUCTURES
    • B82Y10/00Nanotechnology for information processing, storage or transmission, e.g. quantum computing or single electron logic
    • GPHYSICS
    • G11INFORMATION STORAGE
    • G11BINFORMATION STORAGE BASED ON RELATIVE MOVEMENT BETWEEN RECORD CARRIER AND TRANSDUCER
    • G11B9/00Recording or reproducing using a method not covered by one of the main groups G11B3/00 - G11B7/00; Record carriers therefor
    • G11B9/04Recording or reproducing using a method not covered by one of the main groups G11B3/00 - G11B7/00; Record carriers therefor using record carriers having variable electric resistance; Record carriers therefor
    • GPHYSICS
    • G11INFORMATION STORAGE
    • G11BINFORMATION STORAGE BASED ON RELATIVE MOVEMENT BETWEEN RECORD CARRIER AND TRANSDUCER
    • G11B9/00Recording or reproducing using a method not covered by one of the main groups G11B3/00 - G11B7/00; Record carriers therefor
    • G11B9/12Recording or reproducing using a method not covered by one of the main groups G11B3/00 - G11B7/00; Record carriers therefor using near-field interactions; Record carriers therefor
    • G11B9/14Recording or reproducing using a method not covered by one of the main groups G11B3/00 - G11B7/00; Record carriers therefor using near-field interactions; Record carriers therefor using microscopic probe means, i.e. recording or reproducing by means directly associated with the tip of a microscopic electrical probe as used in Scanning Tunneling Microscopy [STM] or Atomic Force Microscopy [AFM] for inducing physical or electrical perturbations in a recording medium; Record carriers or media specially adapted for such transducing of information
    • G11B9/1463Record carriers for recording or reproduction involving the use of microscopic probe means
    • G11B9/149Record carriers for recording or reproduction involving the use of microscopic probe means characterised by the memorising material or structure
    • GPHYSICS
    • G11INFORMATION STORAGE
    • G11CSTATIC STORES
    • G11C11/00Digital stores characterised by the use of particular electric or magnetic storage elements; Storage elements therefor
    • G11C11/56Digital stores characterised by the use of particular electric or magnetic storage elements; Storage elements therefor using storage elements with more than two stable states represented by steps, e.g. of voltage, current, phase, frequency
    • G11C11/5685Digital stores characterised by the use of particular electric or magnetic storage elements; Storage elements therefor using storage elements with more than two stable states represented by steps, e.g. of voltage, current, phase, frequency using storage elements comprising metal oxide memory material, e.g. perovskites
    • GPHYSICS
    • G11INFORMATION STORAGE
    • G11CSTATIC STORES
    • G11C13/00Digital stores characterised by the use of storage elements not covered by groups G11C11/00, G11C23/00, or G11C25/00
    • G11C13/0002Digital stores characterised by the use of storage elements not covered by groups G11C11/00, G11C23/00, or G11C25/00 using resistive RAM [RRAM] elements
    • G11C13/0007Digital stores characterised by the use of storage elements not covered by groups G11C11/00, G11C23/00, or G11C25/00 using resistive RAM [RRAM] elements comprising metal oxide memory material, e.g. perovskites
    • GPHYSICS
    • G11INFORMATION STORAGE
    • G11CSTATIC STORES
    • G11C13/00Digital stores characterised by the use of storage elements not covered by groups G11C11/00, G11C23/00, or G11C25/00
    • G11C13/0002Digital stores characterised by the use of storage elements not covered by groups G11C11/00, G11C23/00, or G11C25/00 using resistive RAM [RRAM] elements
    • G11C13/0021Auxiliary circuits
    • G11C13/003Cell access
    • GPHYSICS
    • G11INFORMATION STORAGE
    • G11CSTATIC STORES
    • G11C16/00Erasable programmable read-only memories
    • G11C16/02Erasable programmable read-only memories electrically programmable
    • G11C16/04Erasable programmable read-only memories electrically programmable using variable threshold transistors, e.g. FAMOS
    • G11C16/0483Erasable programmable read-only memories electrically programmable using variable threshold transistors, e.g. FAMOS comprising cells having several storage transistors connected in series
    • GPHYSICS
    • G11INFORMATION STORAGE
    • G11BINFORMATION STORAGE BASED ON RELATIVE MOVEMENT BETWEEN RECORD CARRIER AND TRANSDUCER
    • G11B11/00Recording on or reproducing from the same record carrier wherein for these two operations the methods are covered by different main groups of groups G11B3/00 - G11B7/00 or by different subgroups of group G11B9/00; Record carriers therefor
    • G11B11/08Recording on or reproducing from the same record carrier wherein for these two operations the methods are covered by different main groups of groups G11B3/00 - G11B7/00 or by different subgroups of group G11B9/00; Record carriers therefor using recording by electric charge or by variation of electric resistance or capacitance
    • GPHYSICS
    • G11INFORMATION STORAGE
    • G11CSTATIC STORES
    • G11C2211/00Indexing scheme relating to digital stores characterized by the use of particular electric or magnetic storage elements; Storage elements therefor
    • G11C2211/56Indexing scheme relating to G11C11/56 and sub-groups for features not covered by these groups
    • G11C2211/564Miscellaneous aspects
    • G11C2211/565Multilevel memory comprising elements in triple well structure
    • GPHYSICS
    • G11INFORMATION STORAGE
    • G11CSTATIC STORES
    • G11C2213/00Indexing scheme relating to G11C13/00 for features not covered by this group
    • G11C2213/30Resistive cell, memory material aspects
    • G11C2213/31Material having complex metal oxide, e.g. perovskite structure
    • GPHYSICS
    • G11INFORMATION STORAGE
    • G11CSTATIC STORES
    • G11C2213/00Indexing scheme relating to G11C13/00 for features not covered by this group
    • G11C2213/50Resistive cell structure aspects
    • G11C2213/53Structure wherein the resistive material being in a transistor, e.g. gate
    • GPHYSICS
    • G11INFORMATION STORAGE
    • G11CSTATIC STORES
    • G11C2213/00Indexing scheme relating to G11C13/00 for features not covered by this group
    • G11C2213/50Resistive cell structure aspects
    • G11C2213/56Structure including two electrodes, a memory active layer and a so called passive or source or reservoir layer which is NOT an electrode, wherein the passive or source or reservoir layer is a source of ions which migrate afterwards in the memory active layer to be only trapped there, to form conductive filaments there or to react with the material of the memory active layer in redox way
    • GPHYSICS
    • G11INFORMATION STORAGE
    • G11CSTATIC STORES
    • G11C2213/00Indexing scheme relating to G11C13/00 for features not covered by this group
    • G11C2213/70Resistive array aspects
    • G11C2213/71Three dimensional array
    • GPHYSICS
    • G11INFORMATION STORAGE
    • G11CSTATIC STORES
    • G11C2213/00Indexing scheme relating to G11C13/00 for features not covered by this group
    • G11C2213/70Resistive array aspects
    • G11C2213/72Array wherein the access device being a diode
    • GPHYSICS
    • G11INFORMATION STORAGE
    • G11CSTATIC STORES
    • G11C2213/00Indexing scheme relating to G11C13/00 for features not covered by this group
    • G11C2213/70Resistive array aspects
    • G11C2213/75Array having a NAND structure comprising, for example, memory cells in series or memory elements in series, a memory element being a memory cell in parallel with an access transistor
    • GPHYSICS
    • G11INFORMATION STORAGE
    • G11CSTATIC STORES
    • G11C2213/00Indexing scheme relating to G11C13/00 for features not covered by this group
    • G11C2213/70Resistive array aspects
    • G11C2213/78Array wherein the memory cells of a group share an access device, all the memory cells of the group having a common electrode and the access device being not part of a word line or a bit line driver
    • GPHYSICS
    • G11INFORMATION STORAGE
    • G11CSTATIC STORES
    • G11C2213/00Indexing scheme relating to G11C13/00 for features not covered by this group
    • G11C2213/70Resistive array aspects
    • G11C2213/79Array wherein the access device being a transistor

Landscapes

  • Engineering & Computer Science (AREA)
  • Chemical & Material Sciences (AREA)
  • Materials Engineering (AREA)
  • Microelectronics & Electronic Packaging (AREA)
  • Nanotechnology (AREA)
  • Physics & Mathematics (AREA)
  • Mathematical Physics (AREA)
  • Theoretical Computer Science (AREA)
  • Crystallography & Structural Chemistry (AREA)
  • Computer Hardware Design (AREA)
  • Semiconductor Memories (AREA)

Description

本発明は、高記録密度の情報記録再生装置に関する。
将来のユビキタス社会の実現に向け、近年、小型携帯機器の普及に伴い、小型大容量不揮発性メモリの需要が年々急速に増加している。その中でも、NAND型フラッシュメモリ及び小型HDD(Hard Disk Drive)は、急速な記録密度の進化を遂げ、大市場を創り上げている。
しかし、NAND型フラッシュメモリ及び小型HDD共に近い将来、記録密度の限界という問題が発生する。特に、小型HDDでは、トラッキング精度の限界が言われており、NAND型フラッシュメモリにおいては、微細化の限界及び最小線幅の縮小によるプロセスコストの増大が生じる。この記録密度の限界を打破する技術の開発が強く求められており、最近、記録密度の限界を大幅に超えることを目指した新規固体メモリが提案されている。
世の中では、新規固体メモリとして、PRAM(Phase change RAM;相変化型メモリ)と呼ばれる記録材料の膜状態(アモルファス状態と結晶状態)の変化により、ON状態(アモルファス状態)及びOFF状態(結晶状態)を利用したメモリが提案されており、実用化レベルまで開発が進んでいる(例えば、T. Gotoh, K. Sugawara and K. Tanaka, Jpn. J. Appl. Phys., 43, 6B, 2004, L818、及び、A.Sawa, T.Fuji, M. Kawasaki and Y. Tokura, Appl. Phys. Lett., 85, 18, 4073 (2004)を参照)。
また、最近では、RRAM(Resistive RAM;抵抗変化型メモリ)と呼ばれる新規固体メモリの研究開発が行われ、NiOやCuOなどの記憶材料が報告されている。このRRAMは、記憶材料に電圧パルスを印加し、記憶材料の抵抗変化を利用して、低抵抗状態(セット状態)と高抵抗状態(リセット状態)を繰り返し変化させ、この状態を2値データ(0または1)に変えて情報を記録または消去するものである。このメモリの最大の特長は、素子サイズを10nm程度にまで縮小しても原理的に動作可能であり、この場合には、約10Tbpsi (tera bite par square inch)の記録密度を実現できるため、高記録密度化への候補の一つとされている。
また、MEMS(micro electro mechanical systems)技術を使ったMEMSメモリと呼ばれるものが提案されている(例えば、P. Vettiger, G. Cross, M. Despont, U. Drechsler, U. Durig, B. Gotsmann, W. Haberle, M. A. Lants, H. E. Rothuizen, R. Stutz and G. K. Binnig, IEEE Trans. Nanotechnology 1, 39(2002)を参照)。このMEMSメモリは、記録部に配線を必要としないため、飛躍的な記録密度を実現できる可能性がある。最近、このMEMS技術と各種記録原理を組み合わせが提案されており、消費電力や記録再生密度、動作速度の検討が行われている(例えば、P. Vettiger, T. Albrecht, M. Despont, U. Drechsler, U. Durig, B. Gotsmann, D. Jubin, W. Haberle, M. A. Lants, H. E. Rothuizen, R. Stutz, D. Wiesmann and G. K. Binnig, P. Bachtold, G. Cherubini, C. Hagleitner, T. Loeliger, A. Pantazi, H. Pozidis and E. Eleftheriou, in Technical Digest, IEDM03 pp.763-766を参照)
しかし、抵抗変化型の新たな記録材料を用いた新規情報記録媒体は実現されていないのが現状である。その理由として、メモリスイッチングにおける繰り返し劣化が大きいこと、及び、各抵抗状態の熱安定性が低いこと、さらに、ポストアニール処理による記録層/電極層の耐熱性(プロセス耐性)が問題となっている。
本発明は、高記録密度を実現しつつ十分に記録媒体の膜特性を確保する技術を提案する。
本発明の例に係わる情報記録再生装置は、ダイオードと、ダイオードと共に積層構造を構成し、典型元素と遷移元素を少なくとも1種類ずつ含み、典型元素の移動により異なる電気抵抗率の2つの状態が記録される記録層と、記録層の一端に配置され、記録層に電圧又は電流を与える電極層とを備える。電極層は、記録層に接する第1領域を有し、記録層は、電極層に接する第2領域を有し、第1及び第2領域は、対向し、第1領域は、第2領域内の典型元素の濃度よりも高い濃度の典型元素を添加物として含んでいる。
本発明の例に係わる情報記録再生装置は、ダイオードと、ダイオードと共に積層構造を構成し、典型元素と遷移元素を少なくとも1種類ずつ含み、典型元素の移動により異なる電気抵抗率の2つの状態が記録される記録層と、記録層の一端に配置され、記録層に電圧又は電流を与える電極層とを備える。記録層は、電極層に接する第1領域と、第1領域以外の第2領域とを有し、第1及び第2領域は、組成が相違しており、第1領域は、第2領域内の典型元素の濃度よりも高い濃度の典型元素を添加物として含んでいる。
本発明によれば、高記録密度を実現しつつ十分に記録媒体の膜特性を確保する不揮発性の情報記録再生装置を実現することができる。
図1は、記録原理を示す図である。 図2は、第一の基本構造を示す図である。 図3は、比較例としての構造を示す図である。 図4は、比較例としての構造を示す図である。 図5は、第二の基本構造を示す図である。 図6は、第三の基本構造を示す図である。 図7は、プローブ型固体メモリを示す図である。 図8は、記録媒体の区分けについて示す図である。 図9は、記録時の様子を示す図である。 図10は、記録動作を示す図である。 図11は、再生動作を示す図である。 図12は、クロスポイント型固体メモリを示す図である。 図13は、メモリセルアレイの構造を示す図である。 図14は、メモリセルアレイの構造を示す図である。 図15は、メモリセルアレイの構造を示す図である。 図16は、メモリセルの構造を示す図である。 図17は、メモリセルの構造を示す図である。 図18は、メモリセルの構造を示す図である。 図19は、メモリセルの構造を示す図である。 図20は、メモリセルの構造を示す図である。 図21は、フラッシュメモリへの適用例を示す図である。 図22は、NANDセルユニットを示す回路図である。 図23は、NANDセルユニットの構造を示す図である。 図24は、NANDセルユニットの構造を示す図である。 図25は、NANDセルユニットの構造を示す図である。 図26は、NORセルを示す回路図である。 図27は、NORセルの構造を示す図である。 図28は、2トラセルユニットを示す回路図である。 図29は、2トラセルユニットの構造を示す図である。 図30は、2トラセルユニットの構造を示す図である。
以下、図面を参照しながら、本発明の例を実施するための最良の形態について詳細に説明する。
1. 概要
新規固体メモリを実用化するためには、耐熱性が良好な記録媒体又は記録素子を開発することが必要である。ここで、耐熱性を良好にするとは、記録媒体又は記録素子を形成した後にポストアニール処理(熱処理)を行っても、記録層内の拡散イオンとしての典型元素が電極層に拡散しないこと、即ち、ポストアニール処理の前後において記録層内の拡散イオンとしての典型元素の濃度を一定に保つこと、を意味する。
そのために、本発明の例に係わる情報記録再生装置では、拡散イオンとしての典型元素を含み、典型元素の移動により異なる電気抵抗率の2以上の状態が記録される記録層と、記録層の一端に配置され、記録層に電圧又は電流を与える電極層とを備え、電極層は、記録層に接する領域において記録層内の典型元素の濃度よりも高い濃度の典型元素を添加物(ドーパント)として含んでいる。
また、本発明の例に係わる情報記録再生装置では、拡散イオンとしての典型元素を含み、典型元素の移動により異なる電気抵抗率の2以上の状態が記録される記録層と、記録層の一端に配置され、記録層に電圧又は電流を与える電極層とを備え、記録層は、電極層に接する領域とその他の領域とで組成が相違しており、電極層に接する領域は、その他の領域内の典型元素の濃度よりも高い濃度の典型元素を含んでいる。
このような構造にする意図は、予め、電極層の、記録層に接する領域内、又は、記録層の、電極層に接する領域内に、記録層内に含まれる拡散イオンとしての典型元素と同じ元素であって、その濃度よりも高い濃度を有する元素を含ませておくことにより、これらの領域を、記録層から電極層への元素の拡散をブロックする拡散防止領域とすることにある。
また、拡散防止領域としての機能を実効あらしめるため、電極層の、記録層に接する領域内、又は、記録層の、電極層に接する領域内には、記録層内に含まれる拡散イオンとしての典型元素と同じ元素を、飽和状態になるまで添加するのが好ましい。
ここで、記録層内の拡散イオンとしての典型元素の濃度とは、記録媒体又は記録素子を形成した後に行われるポストアニール処理(熱処理)後の濃度のことをいうものとする。また、本発明の例では、拡散イオンとしての典型元素の移動により異なる電気抵抗率の2以上の状態が記録される記録媒体又は記録素子を対象とする。即ち、記録層内の拡散イオンとしての典型元素の濃度は、動的に変化しているものと考えられる。そこで、記録層内の拡散イオンとしての典型元素の濃度とは、記録媒体又は記録素子が初期状態にあるときの濃度のことをいうものとする。
このように、電極層の、記録層に接する領域内、又は、記録層の、電極層に接する領域内に、記録層内に含まれる拡散イオンとしての典型元素と同じ元素であって、その濃度よりも高い濃度を有する元素を含ませておくことにより、記録層から電極層への元素の拡散を防止することができるため、膜特性の改善によりスイッチング動作の安定性及びセット/リセット状態での抵抗値の熱安定性を確保できる。
尚、典型元素は、Zn、Cd、Hg、Al、Ga、In、Ti、Be、Mg、Caのグループから選択される元素であるのが好ましい。また、電極層は、Ti、Zr、Hf、V、Nb、Ta、Cr、Mo、W、Ru、Ni、Pd、Pt、Cu、Ag、Auのグループから選択される元素を主成分とするのが好ましい。電極層の厚さは、20nm以下であるのが好ましい。
記録層は、例えば、化学式: AxMyX4(0.1≦x≦2.2、1.5≦y≦2)で表される材料を含む。但し、Aは、Zn、Cd、Hgのグループから選択される典型元素、Mは、Cu、Mo、W、Mn、Tc、Re、Feのグループから選択される遷移元素、Xは、O、Nのグループから選択される元素である。
記録層は、スピネル構造、イルメナイト構造、ウルフラマイト構造、デラフォサイト構造のグループから選択される結晶構造を有するのが好ましい。また、記録層の厚さは、50nm以下であるのが好ましい。
ポストアニール処理は、例えば、N2雰囲気中で600℃の温度下で行われる。
2. 基本原理
本発明に用いられる記録層の記録動作の基本原理について説明する。
以下では、記録層は、電気抵抗率が異なる2つの状態のうちの1つをとるものとし、2種類のイオンが存在する系で説明する。
記録層の初期状態は、絶縁体(高抵抗状態)、例えば、電気抵抗率が107Ω・cmの状態であるものとする。そして、記録層の両端に電位差を与えることにより、記録層の内部に存在する陽イオン元素の一部が陰極(負極)側に移動する。
この結果、陽極(正極)側に記録層、陰極側に導電性酸化物層がそれぞれ位置付けられていると、記録層から排出された陽イオン元素が導電性酸化物層内に導入され、導電性酸化物層内では、相対的に陽イオン元素の割合が陰イオン元素の割合よりも多くなる。
これと同時に、導電性酸化物層は、電気的中性を保つために陰極から電子を受け取り、導電性酸化物層内の遷移元素の価数が低下する結果として低い酸化状態の化合物になる。
また、陽極側の記録層は、相対的に陽イオン元素の割合が陰イオン元素の割合よりも少なくなるため、陽極に電子を放出して高い酸化状態の化合物になる。
これにより、記録層は、低抵抗状態、例えば、電気抵抗率が103Ω・cmの状態になる。
これがセット動作である。
低抵抗状態の記録層に電流を与えると、低抵抗のために低電位差であっても大電流が流れることになるが、このときに発生するジュール熱は、記録層の温度を上昇させる。
先ほどのセット動作によって引き上げられた高エネルギー準安定状態から、熱エネルギーにより、再びセット前の低エネルギー安定状態である絶縁体(高抵抗状態)に戻ることになる。
これがリセット動作である。
ここで、上述のような記録層の抵抗変化に際して、導電性酸化物層の電気抵抗率は、変化しないのが好ましいが、導電性酸化物層の電気抵抗率を記録層の電気抵抗率の最小値よりも十分に小さくしておけば、導電性酸化物層の電気抵抗率が変化しても何ら問題はない。
本発明の導電性酸化物層を有する情報記録再生装置においては、原理的にはPbpsi(Peta bit per square inch)級を実現でき、さらに大幅なライトディスターブ耐性の改善を実現できる。
3. 基本構造
図1は、本発明の前提となる記録部の構造を示している。
11は電極層、12は記録層、13Aは電極層(又は保護層)、14はメタル層である。大きな白丸は、陰イオン典型元素(酸素イオン)、小さな黒丸は、陽イオン遷移元素(母体陽イオン)Y、小さな白丸は、拡散イオンとしての典型元素(陽イオン)Xである。
記録層12は、例えば、スピネル構造のZnMn2O4であり、この場合、Znが拡散イオンとしての典型元素、Mnが陽イオン遷移元素、Oが陰イオン典型元素に相当する。
記録層12に電圧を印加し、記録層12内に電位勾配を発生させると、陽イオンXの一部が結晶中を移動する。ここで、本発明の例では、記録層12を絶縁体(高抵抗状態相)とし、電位勾配により記録層12を相変化させ、記録層12に導電性を持たせる(低抵抗状態相)ことにより情報の記録を行う。例えば、電極層13Aの電位が電極層11の電位よりも相対的に低い状態を作る。電極層11を固定電位(例えば、接地電位)とすれば、電極層13Aに負の電位を与えればよい。
この時、記録層12内の陽イオンXの一部が電極層(陰極)13A側に移動し、記録層(結晶)12内の陽イオンXが酸素イオンに対して相対的に減少する。電極層13A側に移動した陽イオンXは、電極層13Aから電子を受け取り、メタルであるX原子として析出してメタル層14を形成する。
記録層12の内部では、酸素イオンが過剰となり、拡散せずに残された陽イオンYの価数を上昇させる。このとき、その価数があがったときに電気抵抗が減少するように陽イオンXを選択すると、メタル層14、記録層12内ともに陽イオンXの移動により電気抵抗が減少するので、記録層12全体として低抵抗状態相へと相変化することにより、情報記録(セット動作)が完了する。
また、メタル層14を有する記録層12を大電流パルスによりジュール加熱して記録層12の酸化還元反応を促進させる。大電流パルス遮断後の残留熱によりメタル層14中のX原子の一部が電極層13Aに電子を放出し、陽イオンXとして記録層12の結晶中の空隙サイトに配置されるため、記録層12は絶縁体に変化する(リセット動作)。
そこで、本発明の例では、記録層12及びメタル層14の初期状態を導電体(低抵抗状態相)とし、大電流パルスのジュール加熱により記録層12を相変化させ、記録層12に絶縁性を持たせる(高抵抗状態相)。
記録層12内部では、陽イオンXが入り込むため、酸素イオンが欠損状態になることにより、記録層12内の陽イオンYの価数を減少させる。
以上の過程は、一種の電気分解であり、電極層(陽極)11側では電気化学的酸化により酸化剤が生じ、電極層(陰極)13A側では電気化学的還元により還元剤が生じた、と考えることができる。
この動作原理を実用化するには、室温でリセット動作が生じないこと(十分に長いリテンション時間の確保)と、リセット動作の消費電力が十分に小さいこととを確認しなければならない。
前者に対しては、陽イオンXの価数を2価以上にすることで対応できる。これにより室温で、かつ電位勾配がない状態での陽イオンXの移動を妨げることができる。
また、後者に対しては、結晶格子の崩れが発生しないので、記録層12内を移動する陽イオンXの移動パスを見つけ出すことにより対応できる。
拡散陽イオンXに関して説明する。
前述のように、記録層12の空隙サイトに拡散陽イオンXを配置させるため、拡散陽イオンXが2価であると、拡散陽イオンXの拡散と、熱安定性が同時に満たされるので、拡散陽イオンXは2価であることが好ましい。拡散陽イオンXとしては、Zn、Cd、Hg、Mg、Ca、Sr、Cu、Ni、Co、Fe、Mn、Cr、Vを用いることが好ましい。
また、セット動作後の電極層(陽極)11側には酸化剤が生じるため、電極層11は、酸化され難い材料(例えば、電気伝導性窒化物、電気伝導性酸化物など)から構成されることが好ましい。また、このような材料としては、イオン伝導性を有しないものがよい。
そのような材料としては、以下に示されるものがあり、その中でも、電気伝導率の良さなどを加味した総合的性能の点から、LaNiO3は、最も好ましい材料ということができる。
(a) MN
Mは、Ti, Zr, Hf, V, Nb, Ta のグループから選択される少なくとも1種類の元素である。Nは、窒素である。
(b) MOx
Mは、Ti, V, Cr, Mn, Fe, Co, Ni, Cu, Zr, Nb, Mo, Ru, Rh, Pd, Ag, Hf, Ta, W, Re, Ir, Os, Pt のグループから選択される少なくとも1種類の元素である。モル比xは、1≦x≦4を満たすものとする。
(c) AMO3
Aは、La, K, Ca, Sr, Ba, Ln(Lanthanide) のグループから選択される少なくとも1種類の元素である。
Mは、Ti, V, Cr, Mn, Fe, Co, Ni, Cu, Zr, Nb, Mo, Ru, Rh, Pd, Ag, Hf, Ta, W, Re, Ir, Os, Pt のグループから選択される少なくとも1種類の元素である。
Oは、酸素である。
(d) A2MO4
Aは、K, Ca, Sr, Ba, Ln(Lanthanide) のグループから選択される少なくとも1種類の元素である。
Mは、Ti, V, Cr, Mn, Fe, Co, Ni, Cu, Zr, Nb, Mo, Ru, Rh, Pd, Ag, Hf, Ta, W, Re, Ir, Os, Pt のグループから選択される少なくとも1種類の元素である。
Oは、酸素である。
また、セット動作後の保護層(陰極)13側には還元剤が生じるため、保護層13としては、記録層12が大気と反応することを防止する機能を持っていることが好ましい。
そのような材料としては、例えば、アモルファスカーボン、ダイヤモンドライクカーボン、SnO2などの半導体がある。
電極層13Aは、記録層12を保護する保護層として機能させてもよいし、電極層13Aの代わりに保護層を設けてもよい。この場合、保護層は、絶縁体でもよいし、導電体でもよい。
また、リセット動作において記録層12の加熱を効率よく行うために、陰極側、ここでは、電極層13A側に、ヒータ層(抵抗率が約10-5Ωcm以上の材料)を設けてもよい。
また、記録層12のイオン拡散パスの方向を記録層12の膜面に対して垂直に配向制御させるために、電極層/記録層の下地層としてM3N4、M3N5、MN2、M4O7、MO2、M2O5で表される材料(MはSi、Ge、Sn、Zr、Hf、Nb、Ta、Mo、W、Ce、Tbから選ばれる少なくとも1種類の元素)を有することが好ましい。
上述の動作は、記録層12の初期状態がメタル状態である一例を示したが、記録層12の初期状態が絶縁体状態である場合にも同様に適用される。
次に、本発明の例に係わる記録部の基本構造について説明する。
図2は、第一の基本構造を示している。
記録層は、拡散イオンとしての典型元素(typical element)TEを含み、典型元素TEの移動により異なる電気抵抗率の2以上の状態をとる。記録層は、例えば、ZnMn2O4である。
電極層は、記録層の一端に配置され、記録層に電圧又は電流を与えるために設けられる。
そして、電極層は、記録層に接する領域Xにおいて記録層内の典型元素TEの濃度よりも高い濃度の典型元素TEを添加物(ドーパント)として含む。電極層の、記録層に接する領域Xは、記録層内の元素の拡散を防止する拡散防止機能を有する。
従って、記録層/電極層を形成した後にポストアニール処理(熱処理)を行っても、記録層内の拡散イオンとしての典型元素TEが電極層に拡散せず、ポストアニール処理の前後において記録層内の拡散イオンとしての典型元素TEの濃度を一定に保つことができる。
従って、上述のセット/リセット動作を安定的に行うことが可能になる。
図3及び図4は、比較例としての構造を示している。
図3は、ポストアニール処理前の拡散イオンとしての典型元素TEの濃度分布であり、図4は、ポストアニール処理後の拡散イオンとしての典型元素TEの濃度分布である。
比較例では、図3に示すように、ポストアニール処理前において、記録層内に拡散イオンとしての典型元素TEが均一に含まれており、電極層の、記録層に接する領域内、又は、記録層の、電極層に接する領域内に、拡散イオンとしての典型元素TEの濃度のピークを有しない。
従って、図4に示すように、ポストアニール処理後においては、記録層内の拡散イオンとしての典型元素TEがほとんど全て電極層内に拡散してしまうため、上述のセット/リセット動作を安定的に行うことができない。
図2に示す第一の基本構造では、ポストアニール処理時に、電極層の、記録層に接する領域内、又は、記録層の、電極層に接する領域内に存在する拡散イオンとしての典型元素TEが電極層内に多少拡散する。しかし、それにより拡散イオンとしての典型元素TEの濃度プロファイルが大きく変わることはなく、ポストアニール処理後においても、電極層の、記録層に接する領域内、又は、記録層の、電極層に接する領域内に、拡散イオンとしての典型元素TEの濃度のピークを有する。
即ち、第一の基本構造では、比較例とは異なり、ポストアニール処理前後において、記録層内の拡散イオンとしての典型元素TEの濃度分布は変わらない。
従って、既に述べたように、上述のセット/リセット動作を安定的に行うことが可能になる。
図5は、第二の基本構造を示している。
記録層は、拡散イオンとしての典型元素TEを含み、典型元素TEの移動により異なる電気抵抗率の2以上の状態をとる。記録層は、例えば、ZnMn2O4である。
電極層は、記録層の一端に配置され、記録層に電圧又は電流を与えるために設けられる。
そして、記録層の、電極層に接する領域Xは、記録層のその他の領域よりも、高い濃度の拡散イオンとしての典型元素TEを含む。即ち、記録層の、電極層に接する領域Xは、記録層のその他の領域とは組成が異なる組成相違記録層となる。この電極層の、記録層に接する領域Xは、記録層内の元素の拡散を防止する拡散防止機能を有する。
この場合も、第一の基本構造と同様に、記録層/電極層を形成した後にポストアニール処理(熱処理)を行っても、記録層内の拡散イオンとしての典型元素TEが電極層に拡散せず、ポストアニール処理の前後において記録層内の拡散イオンとしての典型元素TEの濃度を一定に保つことができる。
従って、上述のセット/リセット動作を安定的に行うことが可能になる。
図6は、第三の基本構造を示している。
第三の基本構造が上述の第一及び第二の基本構造と異なる点は、記録層の一端及び他端にそれぞれ電極層が配置されている点にある。
記録層は、拡散イオンとしての典型元素TEを含み、典型元素TEの移動により異なる電気抵抗率の2以上の状態をとる。記録層は、例えば、ZnMn2O4である。
第一及び第二の電極層は、記録層を挟み込み、典型元素TEの移動のために記録層に電圧又は電流を与えるために設けられる。
第一の電極層と記録層との界面付近における典型元素の濃度分布及び第二の電極層と記録層との界面付近における典型元素の濃度分布の少なくとも一つは、図2(第一の基本構造)又は図5(第二の基本構造)に示す濃度分布と同じに設定される。
ここで、二つの界面の少なくとも一つに図2又は図5の濃度分布を適用したのは、電極を構成する材料によっては、記録層内の拡散イオンとしての典型元素が電極層内に拡散し難くなることもあるからである。
第一及び第二の電極層が同じ材料から構成され、典型元素が第一及び第二の電極層内に拡散する恐れがある場合には、当然に、二つの界面のそれぞれに図2又は図5の濃度分布を適用するのが好ましい。
4. 実施形態
次に、最良と思われるいくつかの実施形態について説明する。
以下では、本発明の例を、プローブ型固体メモリに適用した場合とクロスポイント型固体メモリに適用した場合の2つについて説明する。
(1) プローブ型固体メモリ
A. 構造
図7及び図8は、本発明の例に係わるプローブ型固体メモリを示している。
半導体基板20上には、電極層21が配置され、電極層21上には、データエリアとサーボエリアとを有する記録部22が配置される。記録部(記録媒体)22は、例えば、図2に示す記録層12から構成される。記録部22は、半導体基板20の中央部にベタに形成される。
サーボエリアは、半導体基板20の縁に沿って配置される。
データエリア及びサーボエリアは、複数のブロックから構成される。データエリア上及びサーボエリア上には、複数のブロックに対応して複数のプローブ24が配置される。複数のプローブ24の各々は、先鋭化された形状を有する。
複数のプローブ24は、プローブアレイを構成し、半導体基板23の一面側に形成される。複数のプローブ24は、MEMS技術を利用することにより、半導体基板23の一面側に容易に形成できる。
データエリア上のプローブ24の位置は、サーボエリアから読み出されるサーボバースト信号により制御される。具体的には、ドライバ27により、半導体基板20をX方向に往復運動させ、複数のプローブ24のY方向の位置制御を行うことにより、アクセス動作を実行する。
尚、ブロックごとに記録媒体を独立に形成し、記録媒体がハードディスクのように円形で回転するような構造とし、複数のプローブ24の各々を、記録媒体の半径方向、例えば、X方向に移動させるようにしてもよい。
複数のプローブ24は、それぞれ、記録/消去ヘッドとしての機能及び再生ヘッドとしての機能を有する。マルチプレクスドライバ25,26は、記録、再生及び消去時に、複数のプローブ24に対して所定の電圧を供給する。
B. 記録/再生動作
図7及び図8のプローブ型固体メモリの記録/再生動作について説明する。
図9は、記録動作(セット動作)について示している。
記録部(記録媒体)22は、半導体チップ20上の電極層21上に形成される。記録部22は、保護層13Bにより覆われる。
情報記録は、プローブ24の先端を保護層13Bの表面に接触させて、記録部(記録媒体)22の記録単位30に電圧パルスを印加し、記録部22の記録単位30内に電位勾配を発生させることにより行う。本例では、プローブ24の電位が電極層21の電位よりも相対的に低い状態を作る。電極層21を固定電位(例えば、接地電位)とすれば、プローブ24に負電位を与えればよい。
電圧パルスは、例えば、電子発生源又はホットエレクトロン源を使用し、プローブ24から電極層21に向かって電子を放出することにより発生させてもよい。
この時、例えば、図10に示すように、記録層12の記録単位30では、拡散イオンの一部がプローブ(陰極)24側に移動し、結晶内の拡散イオンが陰イオンに対して相対的に減少する。また、プローブ24側に移動した拡散イオンは、プローブ24から電子を受け取ってメタルとして析出する。
記録層12の記録単位30では、陰イオンが過剰となり、結果的に、記録層12内に残された遷移元素イオンの価数を上昇させる。つまり、記録層12の記録単位30は、相変化によるキャリアの注入により電子伝導性を有するようになるため、情報記録(セット動作)が完了する。
尚、情報記録のための電圧パルスは、プローブ24の電位が電極層21の電位よりも相対的に高い状態を作ることにより発生させることもできる。
本例のプローブ型固体メモリによれば、ハードディスクと同様に、記録媒体の記録単位30に情報記録を行うことができると共に、新規な記録材料を採用することにより、従来のハードディスクや半導体メモリよりも高記録密度が実現できる。
図11は、再生動作について示している。
再生動作に関しては、電圧パルスを記録層12の記録単位30に流し、記録層12の記録単位30の抵抗値を検出することにより行う。但し、電圧パルスは、記録層12の記録単位30を構成する材料が相変化を起こさない程度の微小な値とする。
例えば、センスアンプS/Aにより発生した読み出し電流をプローブ24から記録層12の記録単位30に流し、センスアンプS/Aにより記録単位30の抵抗値を測定する。既に説明した新材料を採用すると、高抵抗状態と低抵抗状態との抵抗の比は、103以上を確保できる。
尚、再生動作では、記録媒体上をプローブ24により走査(スキャン)することで、連続再生が可能となる。
消去(リセット)動作に関しては、記録層12の記録単位30を大電流パルスによりジュール加熱して、記録層12の記録単位30における酸化還元反応を促進させることにより行う。或いは、セット時とは逆向きの電圧パルスを記録層12に印加することによっても行うことができる。
消去動作は、記録単位30ごとに行うこともできるし、複数の記録単位30又はブロック単位で行うこともできる。
C. まとめ
このようなプローブ型固体メモリによれば、現在のハードディスクやフラッシュメモリよりも高記録密度及び低消費電力を実現できる。
(2) クロスポイント型固体メモリ
A. 構造
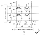
図12は、本発明の例に係わるクロスポイント型固体メモリを示している。
ワード線WLi−1,WL,WLi+1は、X方向に延び、ビット線BLj−1,BL,BLj+1は、Y方向に延びる。
ワード線WLi−1,WL,WLi+1の一端は、選択スイッチとしてのMOSトランジスタRSWを経由してワード線ドライバ&デコーダ31に接続され、ビット線BLj−1,BL,BLj+1の一端は、選択スイッチとしてのMOSトランジスタCSWを経由してビット線ドライバ&デコーダ&読み出し回路32に接続される。
MOSトランジスタRSWのゲートには、1本のワード線(ロウ)を選択するための選択信号Ri−1,R,Ri+1が入力され、MOSトランジスタCSWのゲートには、1本のビット線(カラム)を選択するための選択信号Cj−1,C,Cj+1が入力される。
メモリセル33は、ワード線WLi−1,WL,WLi+1とビット線BLj−1,BL,BLj+1との交差部に配置される。いわゆるクロスポイント型セルアレイ構造である。
メモリセル33には、記録/再生時における回り込み電流(sneak current)を防止するためのダイオード34が付加される。
図13は、図12のクロスポイント型固体メモリのメモリセルアレイ部の構造を示している。
半導体チップ30上には、ワード線WLi−1,WL,WLi+1とビット線BLj−1,BL,BLj+1が配置され、これら配線の交差部にメモリセル33及びダイオード34が配置される。
このようなクロスポイント型セルアレイ構造の特長は、メモリセル33に個別にMOSトランジスタを接続する必要がないため、高集積化に有利な点にある。例えば、図14及び図15に示すように、メモリセル33を積み重ねて、メモリセルアレイを3次元構造にすることも可能である。
メモリセル33の構造例を説明する。
図16は、メモリセルの第一例を示している。
ワード線WL上にダイオード34が形成され、ダイオード34上にメモリセル33が形成される。メモリセル33は、電極層11A/記録層12/電極層11Bのスタック構造を有する。メモリセル33上にビット線BLが形成される。
電極層11Bは、添加物(ドーパント)として、記録層12内の拡散イオンとしての典型元素、即ち、亜鉛(Zn)を含む。また、その量(濃度)は、記録層12内の亜鉛(Zn)の量(濃度)よりも高い。
図17は、メモリセルの第二例を示している。
ワード線WL上にダイオード34が形成され、ダイオード34上にメモリセル33が形成される。メモリセル33は、電極層11A/記録層12/電極層11Bのスタック構造を有する。さらに、記録層12は、電極層11Bに接する領域に存在する組成相違記録層12Bとその他の領域に存在する記録層本体12Aとから構成される。メモリセル33上にビット線BLが形成される。
記録層本体12Aと組成相違記録層12Bとは、同一の材料から構成され、両者の相違は、それらを構成する元素の組成比のみである。例えば、記録層本体12Aは、ZnMn2O4であり、組成相違記録層12Bは、ZnMnO3である。
但し、組成相違記録層12B内の拡散イオンとしての典型元素、即ち、亜鉛(Zn)の量(濃度)は、記録層本体12A内の亜鉛(Zn)の量(濃度)よりも高い。
図18は、メモリセルの第三例を示している。
第三例は、第一例と第二例とを組み合わせた構造を有する。
ワード線WL上にダイオード34が形成され、ダイオード34上にメモリセル33が形成される。メモリセル33は、電極層11A/記録層12/電極層11Bのスタック構造を有する。さらに、記録層12は、電極層11Bに接する領域に存在する組成相違記録層12Bとその他の領域に存在する記録層本体12Aとから構成される。メモリセル33上にビット線BLが形成される。
記録層本体12Aと組成相違記録層12Bとは、同一の材料から構成され、両者の相違は、それらを構成する元素の組成比のみである。例えば、記録層本体12Aは、ZnMn2O4であり、組成相違記録層12Bは、ZnMnO3である。
但し、組成相違記録層12B内の拡散イオンとしての典型元素、即ち、亜鉛(Zn)の量(濃度)は、記録層本体12A内の亜鉛(Zn)の量(濃度)よりも高い。
また、電極層11Bは、添加物(ドーパント)として、記録層12内の拡散イオンとしての典型元素、即ち、亜鉛(Zn)を含む。また、その量(濃度)は、記録層本体12A内の亜鉛(Zn)の量(濃度)よりも高い。
図19は、メモリセルの第四例を示している。
第四例は、第一例の応用例であり、その特徴は、記録層12の両端に存在する電極層11A,11B内に、添加物(ドーパント)として、記録層12内の拡散イオンとしての典型元素を含ませた点にある。
ワード線WL上にダイオード34が形成され、ダイオード34上にメモリセル33が形成される。メモリセル33は、電極層11A/記録層12/電極層11Bのスタック構造を有する。メモリセル33上にビット線BLが形成される。
電極層11A,11Bは、添加物(ドーパント)として、記録層12内の拡散イオンとしての典型元素、即ち、亜鉛(Zn)を含む。また、その量(濃度)は、記録層12内の亜鉛(Zn)の量(濃度)よりも高い。
図20は、メモリセルの第五例を示している。
第五例は、第二例の応用例であり、その特徴は、記録層本体12Aの両端にそれぞれ組成相違記録層12A,12Bを配置した点にある。
ワード線WL上にダイオード34が形成され、ダイオード34上にメモリセル33が形成される。メモリセル33は、電極層11A/記録層12/電極層11Bのスタック構造を有する。さらに、記録層12は、電極層11Bに接する領域に存在する組成相違記録層12B、電極層11Aに接する領域に存在する組成相違記録層12C、及び、その他の領域に存在する記録層本体12Aから構成される。メモリセル33上にビット線BLが形成される。
記録層本体12Aと組成相違記録層12B,12Cとは、同一の材料から構成され、両者の相違は、それらを構成する元素の組成比のみである。例えば、記録層本体12Aは、ZnMn2O4であり、組成相違記録層12B,12Cは、ZnMnO3である。
但し、組成相違記録層12B,12C内の拡散イオンとしての典型元素、即ち、亜鉛(Zn)の量(濃度)は、記録層本体12A内の亜鉛(Zn)の量(濃度)よりも高い。
また、二つの組成相違記録層12B,12Cの組成比は、異なっていてもよい。
ところで、メモリセル33は、1ビット以上のデータを記憶する。また、ダイオード34は、ワード線WLとメモリセル33との間ではなく、ビット線BLとメモリセル33との間に配置してもよい。
尚、ワード線WLとダイオード34との間、及び、メモリセル33とビット線BLとの間の少なくとも1つにバリアメタルを配置してもよい。
また、ダイオード34は、電圧の向きのみによってセット/リセット動作を行う場合には省略するのが好ましい。
B. 記録/再生動作
図12、図13及び図16を用いて記録/再生動作を説明する。
ここでは、点線Aで囲んだメモリセル33を選択し、これについて記録/再生動作を実行するものとする。
情報記録(セット動作)は、選択されたメモリセル33に電圧を印加し、そのメモリセル33内に電位勾配を発生させて電流パルスを流せばよいため、例えば、ワード線WLの電位がビット線BLの電位よりも相対的に低い状態を作る。ビット線BLを固定電位(例えば、接地電位)とすれば、ワード線WLに負電位を与えればよい。
この時、点線Aで囲まれた選択されたメモリセル33の記録層12内では、拡散イオンの一部がワード線(陰極)WL側に移動し、記録層12内の拡散イオンが陰イオンに対して相対的に減少する。また、ワード線WL側に移動した拡散イオンは、ワード線WLから電子を受け取ってメタルとして析出する。
点線Aで囲まれた選択されたメモリセル33の記録層12では、陰イオンが過剰となり、結果的に、記録層12内における遷移元素イオンの価数を上昇させる。つまり、点線Aで囲まれた選択されたメモリセル33は、相変化によるキャリアの注入により電子伝導性を有するようになるため、情報記録(セット動作)が完了する。
尚、情報記録時には、非選択のワード線WLi−1,WLi+1及び非選択のビット線BLj−1,BLj+1については、全て同電位にバイアスしておくことが好ましい。
また、情報記録前のスタンバイ時には、全てのワード線WLi−1,WL,WLi+1及び全てのビット線BLj−1,BL,BLj+1をプリチャージしておくことが好ましい。
また、情報記録のための電圧パルスは、ワード線WLの電位がビット線BLの電位よりも相対的に高い状態を作ることにより発生させてもよい。
消去(リセット)動作は、選択されたメモリセル33に大電流パルスを流すことにより発生するジュール熱とその残留熱を利用するため、例えば、ワード線WLの電位をビット線BLの電位よりも相対的に高くする。ビット線BLを固定電位(例えば、接地電位)とすれば、ワード線WLに正の電位を与えればよい。
この時、点線Aで囲まれた選択されたメモリセル33の記録層12内に陽イオンの一部が移動する。このため、導電性酸化物層15内の陽イオン(遷移元素)の価数が増大し、記録層12内の陽イオン(遷移元素)の価数が減少する。
その結果、メモリセル33は、低抵抗状態から高抵抗状態に変化し、リセット動作(消去)が完了する。
ここで、消去動作は、以下の方法により行うこともできる。
但し、この場合には、上述したように、図12、図13及び図16の半導体メモリからダイオード34を取り除くことが好ましい。
例えば、ワード線WLの電位をビット線BLの電位よりも相対的に低くする。ビット線BLを固定電位(例えば、接地電位)とすれば、ワード線WLに負の電位を与えればよい。
この時、点線Aで囲まれた選択されたメモリセル33では、導電性酸化物層15内の陽イオンの一部が記録層12内に移動する。このため、導電性酸化物層15内の陽イオン(遷移元素)の価数が増大し、記録層12内の陽イオン(遷移元素)の価数が減少する。
その結果、メモリセル33は、低抵抗状態から高抵抗状態に変化し、リセット動作(消去)が完了する。
尚、消去時にも、非選択のワード線WLi−1,WLi+1及び非選択のビット線BLj−1,BLj+1については、全て同電位にバイアスしておくことが好ましい。
また、消去前のスタンバイ時には、全てのワード線WLi−1,WL,WLi+1及び全てのビット線BLj−1,BL,BLj+1をプリチャージしておくことが好ましい。
読み出し動作は、電流パルスを点線Aで囲まれた選択されたメモリセル33に流し、そのメモリセル33の抵抗値を検出することにより行う。但し、電流パルスは、メモリセル33を構成する材料が抵抗変化を起こさない程度の微小な値とすることが必要である。
例えば、読み出し回路により発生した読み出し電流(電流パルス)をビット線BLから点線Aで囲まれたメモリセル33に流し、読み出し回路によりそのメモリセル33の抵抗値を測定する。既に説明した新材料を採用すれば、セット/リセット状態の抵抗値の差は、103以上を確保できる。
C. まとめ
このようなクロスポイント型固体メモリによれば、現在のハードディスクやフラッシュメモリよりも高記録密度及び低消費電力を実現できる。
(3) その他
本実施形態では、プローブ型固体メモリとクロスポイント型固体メモリの2つについて説明したが、本発明の例で提案する材料及び原理を、現在のハードディスクやDVDなどの記録媒体に適用することも可能である。
5. フラッシュメモリへの適用
(1) 構造
本発明の例は、フラッシュメモリに適用することも可能である。
図21は、フラッシュメモリのメモリセルを示している。
フラッシュメモリのメモリセルは、MIS(metal-insulator-semiconductor)トランジスタから構成される。
半導体基板41の表面領域には、拡散層42が形成される。拡散層42の間のチャネル領域上には、ゲート絶縁層43が形成される。ゲート絶縁層43上には、本発明に係わる記録部(ReRAM: Resistive RAM)44が形成される。記録部44上には、コントロールゲート電極45が形成される。
半導体基板41は、ウェル領域でもよく、また、半導体基板41と拡散層42とは、互いに逆の導電型を有する。コントロールゲート電極45は、ワード線となり、例えば、導電性ポリシリコンから構成される。
記録部44は、例えば、図2の記録層から構成され、コントロールゲート電極45は、例えば、図2の電極層から構成される。
(2) 基本動作
図21を用いて基本動作について説明する。
セット(書き込み)動作は、コントロールゲート電極45に電位V1を与え、半導体基板41に電位V2を与えることにより実行する。
電位V1,V2の差は、記録部44が相変化又は抵抗変化するのに十分な大きさであることが必要であるが、その向きについては、特に、限定されない。
即ち、V1>V2及びV1<V2のいずれでもよい。
例えば、初期状態(リセット状態)において、記録部44が絶縁体(抵抗大)であると仮定すると、実質的にゲート絶縁層43が厚くなったことになるため、メモリセル(MISトランジスタ)の閾値は、高くなる。
この状態から電位V1,V2を与えて記録部44を導電体(抵抗小)に変化させると、実質的にゲート絶縁層43が薄くなったことになるため、メモリセル(MISトランジスタ)の閾値は、低くなる。
尚、電位V2は、半導体基板41に与えたが、これに代えて、メモリセルのチャネル領域に拡散層42から電位V2を転送するようにしてもよい。
リセット(消去)動作は、コントロールゲート電極45に電位V1’を与え、拡散層42の一方に電位V3を与え、拡散層42の他方に電位V4(<V3)を与えることにより実行する。
電位V1’は、セット状態のメモリセルの閾値を越える値にする。
この時、メモリセルは、オンになり、電子が拡散層42の他方から一方に向かって流れると共に、ホットエレクトロンが発生する。このホットエレクトロンは、ゲート絶縁層43を介して記録部44に注入されるため、記録部44の温度が上昇する。
これにより、記録部44は、導電体(抵抗小)から絶縁体(抵抗大)に変化するため、実質的にゲート絶縁層43が厚くなったことになり、メモリセル(MISトランジスタ)の閾値は、高くなる。
このように、フラッシュメモリと類似した原理により、メモリセルの閾値を変えることができるため、フラッシュメモリの技術を利用して、本発明の例に係る情報記録再生装置を実用化できる。
(3) NAND型フラッシュメモリ
図22は、NANDセルユニットの回路図を示している。図23は、本発明の例に係るNANDセルユニットの構造を示している。
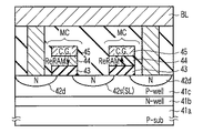
P型半導体基板41a内には、N型ウェル領域41b及びP型ウェル領域41cが形成される。P型ウェル領域41c内に、本発明の例に係るNANDセルユニットが形成される。
NANDセルユニットは、直列接続される複数のメモリセルMCからなるNANDストリングと、その両端に1つずつ接続される合計2つのセレクトゲートトランジスタSTとから構成される。
メモリセルMC及びセレクトゲートトランジスタSTは、同じ構造を有する。具体的には、これらは、N型拡散層42と、N型拡散層42の間のチャネル領域上のゲート絶縁層43と、ゲート絶縁層43上の記録部(ReRAM)44と、記録部44上のコントロールゲート電極45とから構成される。
メモリセルMCの記録部44の状態(絶縁体/導電体)は、上述の基本動作により変化させることが可能である。これに対し、セレクトゲートトランジスタSTの記録部44は、セット状態、即ち、導電体(抵抗小)に固定される。
セレクトゲートトランジスタSTの1つは、ソース線SLに接続され、他の1つは、ビット線BLに接続される。
セット(書き込み)動作前には、NANDセルユニット内の全てのメモリセルは、リセット状態(抵抗大)になっているものとする。
セット(書き込み)動作は、ソース線SL側のメモリセルMCからビット線BL側のメモリセルに向かって1つずつ順番に行われる。
選択されたワード線(コントロールゲート電極)WLに書き込み電位としてV1(プラス電位)を与え、非選択のワード線WLに転送電位(メモリセルMCがオンになる電位)としてVpassを与える。
ソース線SL側のセレクトゲートトランジスタSTをオフ、ビット線BL側のセレクトゲートトランジスタSTをオンにし、ビット線BLから選択されたメモリセルMCのチャネル領域にプログラムデータを転送する。
例えば、プログラムデータが“1”のときは、選択されたメモリセルMCのチャネル領域に書き込み禁止電位(例えば、V1と同じ程度の電位)を転送し、選択されたメモリセルMCの記録部44の抵抗値が高い状態から低い状態に変化しないようにする。
また、プログラムデータが“0”のときは、選択されたメモリセルMCのチャネル領域にV2(<V1)を転送し、選択されたメモリセルMCの記録部44の抵抗値を高い状態から低い状態に変化させる。
リセット(消去)動作では、例えば、全てのワード線(コントロールゲート電極)WLにV1’を与え、NANDセルユニット内の全てのメモリセルMCをオンにする。また、2つのセレクトゲートトランジスタSTをオンにし、ビット線BLにV3を与え、ソース線SLにV4(<V3)を与える。
この時、ホットエレクトロンがNANDセルユニット内の全てのメモリセルMCの記録部44に注入されるため、NANDセルユニット内の全てのメモリセルMCに対して一括してリセット動作が実行される。
読み出し動作は、選択されたワード線(コントロールゲート電極)WLに読み出し電位(プラス電位)を与え、非選択のワード線(コントロールゲート電極)WLには、メモリセルMCがデータ“0”、“1”によらず必ずオンになる電位を与える。
また、2つのセレクトゲートトランジスタSTをオンにし、NANDストリングに読み出し電流を供給する。
選択されたメモリセルMCは、読み出し電位が印加されると、それに記憶されたデータの値に応じてオン又はオフになるため、例えば、読み出し電流の変化を検出することにより、データを読み出すことができる。
尚、図23の構造では、セレクトゲートトランジスタSTは、メモリセルMCと同じ構造を有しているが、例えば、図24に示すように、セレクトゲートトランジスタSTについては、記録部(記録層)を形成せずに、通常のMISトランジスタとすることも可能である。
図25は、NAND型フラッシュメモリの変形例である。
この変形例は、NANDストリングを構成する複数のメモリセルMCのゲート絶縁層がP型半導体層47に置き換えられている点に特徴を有する。
高集積化が進み、メモリセルMCが微細化されると、電圧を与えていない状態で、P型半導体層47は、空乏層で満たされることになる。
セット(書き込み)時には、選択されたメモリセルMCのコントロールゲート電極45にプラスの書き込み電位(例えば、3.5V)を与え、かつ、非選択のメモリセルMCのコントロールゲート電極45にプラスの転送電位(例えば、1V)を与える。
この時、NANDストリング内の複数のメモリセルMCのP型ウェル領域41cの表面がP型からN型に反転し、チャネルが形成される。
そこで、上述したように、ビット線BL側のセレクトゲートトランジスタSTをオンにし、ビット線BLから選択されたメモリセルMCのチャネル領域にプログラムデータ“0”を転送すれば、セット動作を行うことができる。
リセット(消去)は、例えば、全てのコントロールゲート電極45にマイナスの消去電位(例えば、-3.5V)を与え、P型ウェル領域41c及びP型半導体層47に接地電位(0V)を与えれば、NANDストリングを構成する全てのメモリセルMCに対して一括して行うことができる。
読み出し時には、選択されたメモリセルMCのコントロールゲート電極45にプラスの読み出し電位(例えば、0.5V)を与え、かつ、非選択のメモリセルMCのコントロールゲート電極45に、メモリセルMCがデータ“0”、“1”によらず必ずオンになる転送電位(例えば、1V)を与える。
但し、“1”状態のメモリセルMCの閾値電圧Vth”1”は、0V < Vth”1” < 0.5Vの範囲内にあるものとし、“0”状態のメモリセルMCの閾値電圧Vth”0”は、0.5V < Vth”0” < 1Vの範囲内にあるものとする。
また、2つのセレクトゲートトランジスタSTをオンにし、NANDストリングに読み出し電流を供給する。
このような状態にすれば、選択されたメモリセルMCに記憶されたデータの値に応じてNANDストリングに流れる電流量が変わるため、この変化を検出することにより、データを読み出すことができる。
尚、この変形例においては、P型半導体層47のホールドープ量がP型ウェル領域41cのそれよりも多く、かつ、P型半導体層47のフェルミレベルがP型ウェル領域41cのそれよりも0.5V程度深くなっていることが好ましい。
これは、コントロールゲート電極45にプラスの電位を与えたときに、N型拡散層42間のP型ウェル領域41cの表面部分からP型からN型への反転が開始し、チャネルが形成されるようにするためである。
このようにすることで、例えば、書き込み時には、非選択のメモリセルMCのチャネルは、P型ウェル領域41cとP型半導体層47の界面のみに形成され、読み出し時には、NANDストリング内の複数のメモリセルMCのチャネルは、P型ウェル領域41cとP型半導体層47の界面のみに形成される。
つまり、メモリセルMCの記録部44が導電体(セット状態)であっても、拡散層42とコントロールゲート電極45とが短絡することはない。
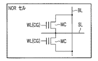
(4) NOR型フラッシュメモリ
図26は、NORセルユニットの回路図を示している。図27は、本発明の例に係るNORセルユニットの構造を示している。
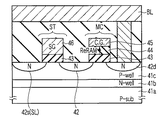
P型半導体基板41a内には、N型ウェル領域41b及びP型ウェル領域41cが形成される。P型ウェル領域41c内に、本発明の例に係るNORセルが形成される。
NORセルは、ビット線BLとソース線SLとの間に接続される1つのメモリセル(MISトランジスタ)MCから構成される。
メモリセルMCは、N型拡散層42と、N型拡散層42の間のチャネル領域上のゲート絶縁層43と、ゲート絶縁層43上の記録部(ReRAM)44と、記録部44上のコントロールゲート電極45とから構成される。
メモリセルMCの記録部44の状態(絶縁体/導電体)は、上述の基本動作により変化させることが可能である。
(5) 2トラ型フラッシュメモリ
図28は、2トラセルユニットの回路図を示している。図29は、本発明の例に係る2トラセルユニットの構造を示している。
2トラセルユニットは、NANDセルユニットの特徴とNORセルの特徴とを併せ持った新たなセル構造として最近開発されたものである。
P型半導体基板41a内には、N型ウェル領域41b及びP型ウェル領域41cが形成される。P型ウェル領域41c内に、本発明の例に係る2トラセルユニットが形成される。
2トラセルユニットは、直列接続される1つのメモリセルMCと1つのセレクトゲートトランジスタSTとから構成される。
メモリセルMC及びセレクトゲートトランジスタSTは、同じ構造を有する。具体的には、これらは、N型拡散層42と、N型拡散層42の間のチャネル領域上のゲート絶縁層43と、ゲート絶縁層43上の記録部(ReRAM)44と、記録部44上のコントロールゲート電極45とから構成される。
メモリセルMCの記録部44の状態(絶縁体/導電体)は、上述の基本動作により変化させることが可能である。これに対し、セレクトゲートトランジスタSTの記録部44は、セット状態、即ち、導電体(抵抗小)に固定される。
セレクトゲートトランジスタSTは、ソース線SLに接続され、メモリセルMCは、ビット線BLに接続される。
メモリセルMCの記録部44の状態(絶縁体/導電体)は、上述の基本動作により変化させることが可能である。
図29の構造では、セレクトゲートトランジスタSTは、メモリセルMCと同じ構造を有しているが、例えば、図30に示すように、セレクトゲートトランジスタSTについては、記録部(記録層)を形成せずに、通常のMISトランジスタとすることも可能である。
6. むすび
本発明によれば、高記録密度及び低消費電力の不揮発性の情報記録再生装置を実現できる。
本発明の例は、上述の実施形態に限定されるものではなく、その要旨を逸脱しない範囲で、各構成要素を変形して具体化できる。また、上述の実施形態に開示されている複数の構成要素の適宜な組み合せにより種々の発明を構成できる。例えば、上述の実施形態に開示される全構成要素から幾つかの構成要素を削除してもよいし、異なる実施形態の構成要素を適宜組み合わせてもよい。
本発明の例に関わる情報記録再生装置よれば、極めて単純な仕組みであるにもかかわらず、従来技術では到達することのできない記録密度による情報記録を可能とすると同時に高速動作を実現することが可能になる。従って、本発明の例は、現在の不揮発性メモリの記録密度の壁を打ち破る次世代技術として産業上のメリットは多大である。

Claims (9)

  1. ダイオードと、前記ダイオードと共に積層構造を構成し、典型元素と遷移元素を少なくとも1種類ずつ含み、前記典型元素の移動により異なる電気抵抗率の2つの状態が記録される記録層と、前記記録層の一端に配置され、前記記録層に電圧又は電流を与える電極層とを具備し、
    前記電極層は、前記記録層に接する第1領域を有し、前記記録層は、前記電極層に接する第2領域を有し、前記第1及び第2領域は、対向し、前記第1領域は、前記第2領域内の前記典型元素の濃度よりも高い濃度の前記典型元素を添加物として含んでいる
    ことを特徴とする情報記録再生装置。
  2. ダイオードと、前記ダイオードと共に積層構造を構成し、典型元素と遷移元素を少なくとも1種類ずつ含み、前記典型元素の移動により異なる電気抵抗率の2つの状態が記録される記録層と、前記記録層の一端に配置され、前記記録層に電圧又は電流を与える電極層とを具備し、
    前記記録層は、前記電極層に接する第1領域と、前記第1領域以外の第2領域とを有し、前記第1及び第2領域は、組成が相違しており、前記第1領域は、前記第2領域内の前記典型元素の濃度よりも高い濃度の前記典型元素を添加物として含んでいる
    ことを特徴とする情報記録再生装置。
  3. 前記典型元素は、Zn、Cd、Hg、Al、Ga、In、Ti、Be、Mg、Caのグループから選択される元素であることを特徴とする請求項1又は2に記載の情報記録再生装置。
  4. 前記電極層は、Ti、Zr、Hf、V、Nb、Ta、Cr、Mo、W、Ru、Ni、Pd、Pt、Cu、Ag、Auのグループから選択される元素を主成分とすることを特徴とする請求項1又は2に記載の情報記録再生装置。
  5. 前記電極層は、20nm以下の厚さを有することを特徴とする請求項1又は2に記載の情報記録再生装置。
  6. 前記記録層は、
    化学式: AxMyX4(0.1≦x≦2.2、1.5≦y≦2)
    但し、Aは、Zn、Cd、Hgのグループから選択される典型元素、Mは、Cu、Mo、W、Mn、Tc、Re、Feのグループから選択される遷移元素、Xは、O、Nのグループから選択される元素である。
    で表される材料を含むことを特徴とする請求項1又は2に記載の情報記録再生装置。
  7. 前記記録層は、スピネル構造、イルメナイト構造、ウルフラマイト構造、デラフォサイト構造のグループから選択される結晶構造を有することを特徴とする請求項1又は2に記載の情報記録再生装置。
  8. 前記記録層は、50nm以下の厚さを有することを特徴とする請求項1又は2に記載の情報記録再生装置。
  9. 前記積層構造の一端に接続され、第一の方向に延びる第一の導電線と、前記積層構造の他端に接続され、前記第一方向に交差する第二の方向に伸びる第二の導電線とをさらに具備し、前記第一の導電線と前記第二の導電線との間に前記電圧又は前記電流を与えて前記記録層の状態を変化させることを特徴とする請求項1に記載の情報記録再生装置。
JP2010505229A 2008-04-01 2008-04-01 情報記録再生装置 Expired - Fee Related JP4792125B2 (ja)

Applications Claiming Priority (1)

Application Number Priority Date Filing Date Title
PCT/JP2008/056499 WO2009122572A1 (ja) 2008-04-01 2008-04-01 情報記録再生装置

Publications (2)

Publication Number Publication Date
JPWO2009122572A1 JPWO2009122572A1 (ja) 2011-07-28
JP4792125B2 true JP4792125B2 (ja) 2011-10-12

Family

ID=41134992

Family Applications (1)

Application Number Title Priority Date Filing Date
JP2010505229A Expired - Fee Related JP4792125B2 (ja) 2008-04-01 2008-04-01 情報記録再生装置

Country Status (4)

Country Link
US (1) US8431920B2 (ja)
JP (1) JP4792125B2 (ja)
TW (1) TWI406407B (ja)
WO (1) WO2009122572A1 (ja)

Families Citing this family (5)

* Cited by examiner, † Cited by third party
Publication number Priority date Publication date Assignee Title
US9070876B2 (en) * 2011-03-18 2015-06-30 Nec Corporation Variable resistance element and semiconductor storage device
US8711601B2 (en) * 2011-12-28 2014-04-29 Industrial Technology Research Institute Resistive random access memory cell and resistive random access memory module
JP5798052B2 (ja) * 2012-01-31 2015-10-21 株式会社東芝 記憶装置
US8664632B2 (en) * 2012-01-31 2014-03-04 Kabushiki Kaisha Toshiba Memory device
TWI572074B (zh) * 2015-02-04 2017-02-21 力晶科技股份有限公司 電阻式隨機存取記憶體及其製造方法

Citations (2)

* Cited by examiner, † Cited by third party
Publication number Priority date Publication date Assignee Title
WO2005101420A1 (en) * 2004-04-16 2005-10-27 Matsushita Electric Industrial Co. Ltd. Thin film memory device having a variable resistance
JP2006140412A (ja) * 2004-11-15 2006-06-01 Sony Corp 記憶素子及び記憶装置

Family Cites Families (6)

* Cited by examiner, † Cited by third party
Publication number Priority date Publication date Assignee Title
US5825046A (en) * 1996-10-28 1998-10-20 Energy Conversion Devices, Inc. Composite memory material comprising a mixture of phase-change memory material and dielectric material
JP3974756B2 (ja) * 2001-06-05 2007-09-12 株式会社日本触媒 金属酸化物系粒子の製法
KR100906056B1 (ko) * 2002-03-19 2009-07-03 파나소닉 주식회사 정보 기록매체와 그 제조 방법
US7719875B2 (en) * 2003-03-18 2010-05-18 Kabushiki Kaisha Toshiba Resistance change memory device
US7326950B2 (en) * 2004-07-19 2008-02-05 Micron Technology, Inc. Memory device with switching glass layer
US7733684B2 (en) * 2005-12-13 2010-06-08 Kabushiki Kaisha Toshiba Data read/write device

Patent Citations (2)

* Cited by examiner, † Cited by third party
Publication number Priority date Publication date Assignee Title
WO2005101420A1 (en) * 2004-04-16 2005-10-27 Matsushita Electric Industrial Co. Ltd. Thin film memory device having a variable resistance
JP2006140412A (ja) * 2004-11-15 2006-06-01 Sony Corp 記憶素子及び記憶装置

Also Published As

Publication number Publication date
JPWO2009122572A1 (ja) 2011-07-28
TW201003909A (en) 2010-01-16
US8431920B2 (en) 2013-04-30
WO2009122572A1 (ja) 2009-10-08
US20110062407A1 (en) 2011-03-17
TWI406407B (zh) 2013-08-21

Similar Documents

Publication Publication Date Title
JP5351144B2 (ja) 情報記録再生装置
JP4792107B2 (ja) 情報記録再生装置
JP5216847B2 (ja) 情報記録再生装置
JP4792008B2 (ja) 情報記録再生装置
JP4792007B2 (ja) 情報記録再生装置
JP4792009B2 (ja) 情報記録再生装置
JP4792006B2 (ja) 情報記録再生装置
JP4908555B2 (ja) 情報記録再生装置
JPWO2009122569A1 (ja) 情報記録再生装置
KR20070062937A (ko) 데이터 판독/기입 디바이스
JP4791948B2 (ja) 情報記録再生装置
JP4792125B2 (ja) 情報記録再生装置
JP2008251108A (ja) 情報記録再生装置
JP4792108B2 (ja) 情報記録再生装置
JP4977158B2 (ja) 情報記録再生装置
JPWO2009116139A1 (ja) 情報記録再生装置
WO2009122571A1 (ja) 情報記録再生装置
JP2008276904A (ja) 情報記録再生装置
JP2012138512A (ja) 情報記録再生装置
JP2008251107A (ja) 情報記録再生装置
JP2008251126A (ja) 情報記録再生装置

Legal Events

Date Code Title Description
A131 Notification of reasons for refusal

Free format text: JAPANESE INTERMEDIATE CODE: A131

Effective date: 20110308

A521 Request for written amendment filed

Free format text: JAPANESE INTERMEDIATE CODE: A523

Effective date: 20110509

TRDD Decision of grant or rejection written
A01 Written decision to grant a patent or to grant a registration (utility model)

Free format text: JAPANESE INTERMEDIATE CODE: A01

Effective date: 20110628

A01 Written decision to grant a patent or to grant a registration (utility model)

Free format text: JAPANESE INTERMEDIATE CODE: A01

A61 First payment of annual fees (during grant procedure)

Free format text: JAPANESE INTERMEDIATE CODE: A61

Effective date: 20110722

FPAY Renewal fee payment (event date is renewal date of database)

Free format text: PAYMENT UNTIL: 20140729

Year of fee payment: 3

LAPS Cancellation because of no payment of annual fees