JP4649755B2 - 太陽熱利用装置 - Google Patents

太陽熱利用装置 Download PDF

Info

Publication number
JP4649755B2
JP4649755B2 JP2001089461A JP2001089461A JP4649755B2 JP 4649755 B2 JP4649755 B2 JP 4649755B2 JP 2001089461 A JP2001089461 A JP 2001089461A JP 2001089461 A JP2001089461 A JP 2001089461A JP 4649755 B2 JP4649755 B2 JP 4649755B2
Authority
JP
Japan
Prior art keywords
evaporator
air temperature
collector
solar
inlet
Prior art date
Legal status (The legal status is an assumption and is not a legal conclusion. Google has not performed a legal analysis and makes no representation as to the accuracy of the status listed.)
Expired - Fee Related
Application number
JP2001089461A
Other languages
English (en)
Other versions
JP2002286323A (ja
Inventor
敏 今林
龍太 近藤
吉継 西山
Current Assignee (The listed assignees may be inaccurate. Google has not performed a legal analysis and makes no representation or warranty as to the accuracy of the list.)
Panasonic Corp
Panasonic Holdings Corp
Original Assignee
Panasonic Corp
Matsushita Electric Industrial Co Ltd
Priority date (The priority date is an assumption and is not a legal conclusion. Google has not performed a legal analysis and makes no representation as to the accuracy of the date listed.)
Filing date
Publication date
Application filed by Panasonic Corp, Matsushita Electric Industrial Co Ltd filed Critical Panasonic Corp
Priority to JP2001089461A priority Critical patent/JP4649755B2/ja
Publication of JP2002286323A publication Critical patent/JP2002286323A/ja
Application granted granted Critical
Publication of JP4649755B2 publication Critical patent/JP4649755B2/ja
Anticipated expiration legal-status Critical
Expired - Fee Related legal-status Critical Current

Links

Images

Classifications

    • YGENERAL TAGGING OF NEW TECHNOLOGICAL DEVELOPMENTS; GENERAL TAGGING OF CROSS-SECTIONAL TECHNOLOGIES SPANNING OVER SEVERAL SECTIONS OF THE IPC; TECHNICAL SUBJECTS COVERED BY FORMER USPC CROSS-REFERENCE ART COLLECTIONS [XRACs] AND DIGESTS
    • Y02TECHNOLOGIES OR APPLICATIONS FOR MITIGATION OR ADAPTATION AGAINST CLIMATE CHANGE
    • Y02EREDUCTION OF GREENHOUSE GAS [GHG] EMISSIONS, RELATED TO ENERGY GENERATION, TRANSMISSION OR DISTRIBUTION
    • Y02E10/00Energy generation through renewable energy sources
    • Y02E10/40Solar thermal energy, e.g. solar towers
    • Y02E10/44Heat exchange systems

Landscapes

  • Heat-Pump Type And Storage Water Heaters (AREA)

Description

【0001】
【発明の属する技術分野】
本発明は、晴天日は太陽熱を、天気の悪い日は外気熱を熱源にして運転されるヒートポンプによる給湯、あるいは暖房を行う太陽熱利用装置に関する。
【0002】
【従来の技術】
従来、この種の太陽熱利用装置としては、例えば、特開昭59−107150号公報、あるいは、実開昭61−7768号公報に記載されているような太陽熱利用装置があった。図12、図13は、前記公報に記載された従来の太陽熱を利用した太陽熱温水器を示すものである。
【0003】
図12において、1はヒートポンプ回路と熱交換して温水を貯める貯湯タンク、2は冷媒戻り管、3は圧縮機、4は貯湯タンク1の下部に配置した凝縮器、5は冷媒往管2aに設けた絞り、6は蒸発器で、集熱フィン7を有する、8は集熱熱交換器部で、閉構造とした集熱室9を有し、その太陽側をガラス板10で封止し、集熱室9内には蒸発器6と送風機11を配置し、ダンパー12、13で外気と開閉できる構成としている。
【0004】
また、図13において、集熱熱交換器部8は、外箱14の太陽光受光面にガラス板10、外箱内を表側と裏側に仕切るように配置した集熱板15、集熱板15の表面側の手前に開口した空気導入口16、空気導入口16に対し反対側の空気のリターン口17、空気導入口16近傍の外箱14の裏面に開口した排気口18、排気口18の内側に送風機11とヒートポンプ装置の蒸発器6を配設した構成としている。
【0005】
【発明が解決しようとする課題】
しかしながら、図12に示す従来の構成では、ヒートポンプの蒸発器6の全面で太陽熱を受ける構成であり、必要な集熱面積全体に蒸発器6を広げて配置する必要があるため、蒸発器6の面積が大きくなりヒートポンプの冷媒封入量が増大するばかりでなく、空気熱源のみの場合の必要風量が通常のヒートポンプの場合に比べ数倍になり、送風機11の駆動動力が増大するといった課題を有していた。
【0006】
また、図13に示す従来の構成では、集熱板15で太陽熱により空気を加熱して、その加熱昇温した空気をヒートポンプの蒸発器6に送る構成のため、蒸発器6は通常のヒートポンプの場合と同等の大きさで良いといった利点はあるが、日射量が多くなると必要以上に加熱能力が増大するといった課題を有していた。
【0007】
本発明は、前記従来の課題を解決するもので、太陽熱を受け取る蒸発器を小さくし、かつ効率の良い加熱運転のできる太陽熱利用装置を提供することを目的とする。
【0008】
【課題を解決するための手段】
本発明は上記課題を解決するために、太陽熱集熱器と、能力可変圧縮機を有したヒートポンプ回路と、前記太陽熱集熱器を通過した空気と熱交換する前記ヒートポンプ回路の蒸発器と、前記太陽熱集熱器の入口の空気温度を検知する集熱器入口空気温度センサーと、前記蒸発器の出口空気温度を検知する蒸発器出口空気温度センサーと、蒸発器出口空気温度を集熱器入口空気温度と略同一とするように前記能力可変圧縮機の能力設定を行う圧縮機能力可変制御手段とを備えた太陽熱利用装置としたものである。
【0009】
これによって、ヒートポンプ回路の蒸発器で直接日射を受ける必要がないために、蒸発器を通常のヒートポンプ回路のものと同等の大きさに小さくできる。また、蒸発器出口空気温度を集熱器入口空気温度と略同一とするように圧縮機の能力、つまり回転数設定を行うことにより、集熱器で受けた太陽熱の全量がヒートポンプ回路の蒸発器で熱交換され、蒸発器への供給空気の温度が高くなることで蒸発温度が高くなり、ヒートポンプの運転効率の良い加熱運転ができる。
【0010】
【発明の実施の形態】
請求項1に記載の発明は、太陽熱集熱器と、能力可変圧縮機を有したヒートポンプ回路と、前記太陽熱集熱器を通過した空気と熱交換する前記ヒートポンプ回路の蒸発器と、前記太陽熱集熱器の入口空気温度を検知する集熱器入口空気温度センサーと、蒸発器の出口空気温度を検知する蒸発器出口空気温度センサーと、蒸発器出口空気温度を集熱器入口空気温度と略同一とするように前記能力可変圧縮機の能力設定を行う圧縮機能力可変制御手段とを備えたものである。
【0011】
上記実施の形態において、ヒートポンプ回路の蒸発器で直接日射を受ける必要がないために、蒸発器を通常のヒートポンプ回路のものと同等の大きさに小さくできる。また、蒸発器出口空気温度を集熱器入口空気温度と略同一とするように圧縮機の回転数設定を行うことにより、集熱器で受けた太陽熱の全量がヒートポンプ回路の蒸発器で熱交換され、蒸発器への供給空気の温度が高くなることで蒸発温度が高くなり、ヒートポンプの運転効率の良い加熱運転ができる。
【0012】
請求項2に記載の発明は、請求項1の記載において、圧縮機能力可変制御手段を、圧縮機回転数設定値が最低回転数を下回る場合には、予め設定した圧縮機回転数に従って圧縮機を運転させる構成としたものである。
【0013】
上記実施の形態において、ヒートポンプ回路で受け取るべき太陽熱集熱器からの熱量が不足することを検知して、日射量が少ないか、または全くない場合でも、必要な加熱能力、効率の良い最適な状態における圧縮機の回転数を予め設定して運転させることができるため、ヒートポンプ回路の加熱能力を確保して、かつ効率の良い加熱運転ができる。
【0014】
請求項3に記載の発明は、請求項1の記載において、太陽熱量検知手段を備え、圧縮機能力可変制御手段は前記太陽熱量検知手段による太陽熱量が所定値を下回る場合には、予め設定した圧縮機回転数としたものである。
【0015】
上記実施の形態において、太陽熱量を検出して日射量が少ないか、または全くない場合でも、必要な加熱能力、効率の良い最適な状態における圧縮機の回転数を予め設定して運転させることができるため、ヒートポンプ回路の加熱能力を確保して、かつ効率の良い加熱運転ができる。
【0016】
請求項4に記載の発明は、請求項2または請求項3の記載において、圧縮機能力可変制御手段は予め設定した圧縮機回転数を、ヒートポンプの最大加熱負荷に見合った固定の圧縮機回転数とした構成とすることにより、日射量が少ないか、または全くない場合でも、必要な加熱能力を効率の良いヒートポンプ回路で確保できる。
【0017】
請求項5に記載の発明は、請求項2または請求項3の記載において、蒸発器の入口空気温度を検知する蒸発器入口空気温度センサーを備え、圧縮機能力可変制御手段は予め設定した圧縮機回転数を、前記蒸発器入口空気温度センサーの検知する蒸発器入口空気温度を基に設定される圧縮機回転数としたものである。
【0018】
上記実施の形態において、ヒートポンプの加熱能力と効率(COP)が蒸発器入口空気温度と圧縮機回転数で決まる特性を利用して、予め計測されたデーターに基づいて、蒸発器入口空気温度を基に、必要な加熱能力、効率の良い最適な状態における圧縮機の回転数を設定して運転させることができるため、日射量が少ないか、または全くない場合でも、ヒートポンプの加熱能力を確保してかつ、効率の良い加熱運転ができる。
【0019】
請求項6に記載の発明は、請求項2または請求項3の記載において、蒸発器の入口空気温度T3を検知する蒸発器入口空気温度センサーと、前記蒸発器の出口空気温度T2を検知する蒸発器出口空気温度センサーとを備え、圧縮機能力可変制御手段は予め設定した圧縮機回転数を、前記蒸発器入口空気温度センサーの検知する蒸発器入口空気温度T3と前記蒸発器出口空気温度センサーの検知する蒸発器出口空気温度T2との温度差T3−T2が予め設定した所定の温度差となる圧縮機回転数としたものである。
【0020】
上記実施の形態において、蒸発器の出入口空気温度差と風量で蒸発器の熱交換量、すなわち、ヒートポンプ回路の加熱能力が決まる特性を利用し、所定の蒸発器出入口空気温度差を必要な加熱量を得るための値に設定しておくことで、外気温度、日射量に関係なく、必要な加熱能力が得られる。また、少ない日射量でも、蒸発器入口空気温度が上昇することで所定の温度差とするために、圧縮機の回転数を落とすことになり、蒸発温度が上昇してヒートポンプの成績係数(効率)が高くなる。従って、日射量が少ないか、または全くない場合でも、ヒートポンプ回路の加熱能力を確保して、かつ効率の良い加熱運転ができる。
【0021】
請求項7に記載の発明は、請求項2または請求項3の記載において、蒸発器の入口空気温度を検知する蒸発器入口空気温度センサーと、蒸発器の入口冷媒温度を検知する蒸発器入口冷媒温度センサーとを備え、圧縮機能力可変制御手段は予め設定した圧縮機回転数を、前記蒸発器入口空気温度センサーの検知する蒸発器入口空気温度T3と前記蒸発器入口冷媒温度センサーの検知する蒸発器入口冷媒温度T4との温度差T3−T4が予め設定した所定の温度差となる圧縮機回転数としたものである。
【0022】
上記実施の形態において、蒸発器の入口空気温度と蒸発器入口冷媒温度との温度差で蒸発器の熱交換量、すなわち、ヒートポンプの加熱能力が決まる特性を利用し、前記予め設定した所定の温度差を必要な加熱量を得るための値に設定しておくことで、外気温度、日射量に関係なく、必要な加熱能力が得られる。
【0023】
また、少ない日射量でも、蒸発器入口空気温度が上昇することで、前記所定の温度差とするために、圧縮機の回転数を落とすことになり、蒸発器温度が上昇してヒートポンプ回路の成績係数(効率)が高くなる。従って、日射量が少ないか、または全くない場合でも、ヒートポンプ回路の加熱能力を確保して、かつ効率の良い加熱運転ができる。
【0024】
請求項8に記載の発明は、請求項3の記載において、太陽熱集熱器の集熱器出口空気温度T5を検知する集熱器出口空気温度センサーを設け、太陽熱量検知手段は集熱器入口空気温度T1と集熱器出口空気温度T5との集熱器出入口空気温度差を比較する集熱器出入口空気温度差比較手段を有する構成としたものである。
【0025】
上記実施の形態において、太陽熱量と直接関連する太陽熱集熱器の温度上昇値を利用することで、確実な制御ができる。また、集熱器入口空気温度センサーと集熱器出口空気温度センサーは他の制御機能と共用できるために、部品の共用化によるコストダウンの効果がある。
【0026】
請求項9に記載の発明は、請求項1〜請求項8のいずれか一項の記載において、太陽熱集熱器と前記蒸発器とを隣接して設けたもので、太陽熱集熱器から蒸発器までの通路における熱損失、通風抵抗が無くなり、熱交換効率の向上と送風機の動力低減による省エネルギー効果がある。
【0027】
請求項10に記載の発明は、請求項1〜請求項9のいずれか一項の記載において、蒸発器の空気入口に、外気を吸入する開閉可能な開閉手段と、前記開閉手段の開閉を制御する開閉制御手段とを設けたものである。
【0028】
上記実施の形態において、必要に応じて、太陽熱集熱器をバイパスし、通風抵抗を低減して送風手段の省電力化を実現する。従って、太陽熱集熱器の大面積化、あるいは太陽熱集熱器面を流れる空気流路を長くして太陽熱を多量に集熱する設計において、送風手段の小型化、省電力化を実現する。特に、日射量が少ない場合に蒸発器の通過風量を確保してヒ−トポンプ運転の効率向上を図れる。
【0029】
請求項11に記載の発明は、請求項1〜請求項10のいずれか一項の記載において、送風手段により起こる空気流が、送風手段のモータ、太陽熱集熱器、蒸発器の順に通過するように、前記送風手段と太陽熱集熱器と蒸発器を設置したものである。
【0030】
上記実施の形態において、送風手段の放熱を太陽熱集熱器から蒸発器へ送られる空気へ受熱させて蒸発器で熱交換させるので送風手段に必要な電力を冷媒の加熱に有効に利用する太陽熱利用装置とすることができる。
【0031】
【実施例】
以下、本発明の実施例について図面を参照しながら説明する。なお、以下の各実施例において、同じ構成および同じ作用効果を奏するものについては同一符号を付して詳細な説明を省略し、異なる部分を中心に説明する。
【0032】
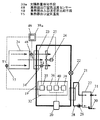
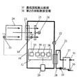
(実施例1)
図1は本発明の実施例1における太陽熱利用装置を示す構成図である。図1において、19はヒートポンプ回路で、能力可変圧縮機20、凝縮器21、絞り22、蒸発器23により構成する。24は蒸発器23の風上側に配設した太陽熱集熱器、25は太陽熱集熱器24から蒸発器23へと空気を搬送する送風手段、26は送風手段25を駆動するモータ、27は貯水タンク、28は貯水タンク27の水を凝縮器21と熱交換するように循環させる水回路、29は水回路28に配設した循環ポンプ、30、31は貯水タンク27へ水を供給し、湯を搬出する供給搬出配管、32は能力可変圧縮機20の圧縮機回転数を可変制御するマイクロコンピュータ等で構成する圧縮機能力可変制御手段で、温度比較部35と、第1の回転数設定部36とを有する。33は集熱器入口空気温度T1を検知する集熱器入口空気温度センサー、34は蒸発器出口空気温度T2を検知する蒸発器出口空気温度センサーである。前記温度比較部35は、集熱器入口空気温度T1と蒸発器出口空気温度T2とを比較する。前記第1の回転数設定部36は集熱器入口空気温度T1と蒸発器出口空気温度T2とを温度比較部35で比較し、この比較に基いて蒸発器出口空気温度T2が集熱器入口空気温度T1と略同一となるように能力可変圧縮機20の回転数を設定するもので、温度比較部35と第1の回転数設定部36とで圧縮機能力可変制御手段32を構成するものである。
【0033】
以上のように構成された太陽熱利用装置について、以下その動作と作用を説明する。まず、送風手段25を作動させて外部から吸引した空気を、太陽熱集熱器24、蒸発器23の順に点線矢印のように通過させる。そして、通過の過程で太陽熱集熱器24で昇温された空気は、蒸発器23を通過する際に能力可変圧縮機20によりヒートポンプ回路19を循環する冷媒に熱を与える。
【0034】
そして、蒸発器23で熱を受けた冷媒は、能力可変圧縮機20で加圧昇温され、凝縮器21において冷媒を凝縮させることによって、貯水タンク27から循環ポンプ29で循環された循環水を加熱して、貯水タンク27に温水を蓄えることができる。この温水を供給搬出配管30、31より取り出して給湯、あるいは、暖房に使用することができる。
【0035】
このように装置が運転している際に圧縮機能力可変制御手段32の温度比較部35において、集熱器入口空気温度センサー33の検知した集熱器入口空気温度T1と蒸発器入口冷媒温度センサー35の検知した蒸発器入口冷媒温度T2とが比較され、蒸発器入出口空気温度T2が集熱器入口空気温度T1よりも低い場合には、第1の回転数設定部36で能力可変圧縮機20の回転数を小さい方向へ移行させる。
【0036】
また逆に、蒸発器出口空気温度T2が集熱器入口空気温度T1よりも高い場合には、第1の回転数設定部36で能力可変圧縮機20の回転数を大きい方向へ移行させる。このようにして、蒸発器出口空気温度T2を集熱器入口空気温度T1と略同一となるように能力可変圧縮機20の回転数を制御する。
【0037】
従って、蒸発器出口空気温度T2を集熱器入口空気温度T1と略同一にすることにより、太陽熱集熱器24で受けた太陽熱の全熱量がヒートポンプ回路19の蒸発器23で熱交換されることになり、また蒸発器23への供給空気の温度も高くなることで蒸発温度が高くなり、ヒートポンプ回路19の効率(COP)を飛躍的に大きくできる。
【0038】
以上のように本実施例の発明においては、太陽熱集熱器24と、能力可変圧縮機20を有したヒートポンプ回路19と、太陽熱集熱器24を通過した空気と熱交換するヒートポンプ回路19の蒸発器23と、圧縮機能力可変制御手段32を備えた構成とすることにより、ヒートポンプの蒸発器23で直接日射を受ける必要がないために、蒸発器23を通常のヒートポンプ回路のものと同等の大きさに小さくできる。
【0039】
また、圧縮機能力可変制御手段32に温度比較部35と第1の回転数設定部36を設け、蒸発器出口空気温度T2を集熱器入口空気温度T1と略同一になるように能力可変圧縮機20の回転数設定を行うことにより、太陽熱集熱器24で受けた太陽熱の全熱量がヒートポンプ回路19の蒸発器23で熱交換されることになり、また蒸発器23への供給空気の温度も高くなることで蒸発温度が高くなり、ヒートポンプ回路19の効率(COP)を飛躍的に大きくできる。
【0040】
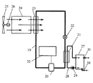
(実施例2)
図2は本発明の実施例2における太陽熱利用装置を示す構成図である。この実施例の発明は、曇天日または雨天日で太陽の日射量が少ない、または無い場合でもヒートポンプ回路の加熱能力を確保するため、最低回転数比較部と第2の回転数設定部とを、図1に示す実施例1の圧縮機能力可変制御手段に加えた点で図1に示す実施例1の発明と異なり、それ以外は同じ内容である。
【0041】
図2において、圧縮機能力可変制御手段32は、温度比較部35、第1の回転数設定部36に加えて、更に能力可変圧縮機20の回転数と比較する基準値の最低回転数を記憶している最低回転数比較部37と、予め設定した圧縮機回転数、例えばヒートポンプ回路19の最大加熱負荷に見合った固定の圧縮機回転数を設定した第2の回転数設定部38とを備えている。
【0042】
以上のように構成された太陽熱利用装置において、その動作と作用は実施例1で説明したと同じように、能力可変圧縮機20によりヒートポンプ回路19を循環する冷媒が蒸発器23を通過する際に、太陽熱集熱器24で昇温された空気に加熱されて蒸発温度が高くなるとともに、圧縮機能力可変制御手段32の温度比較部35と第1の回転数設定部36により、蒸発器出口空気温度T2を集熱器入口空気温度T1と略同一になるように能力可変圧縮機20の回転数が設定されている。
【0043】
そして更に、第1の回転数設定部36で設定された圧縮機回転数設定値を最低回転数比較部37において最低回転数と比較し、前記最低回転数を下回る場合には、第2の回転数設定部38で予め設定した圧縮機回転数に従って能力可変圧縮機20を運転させるのである。
【0044】
すなわち、第1の回転数設定部36で設定された圧縮機回転数が最低回転数を下回るということは、太陽の日射量が少なくなり、太陽熱集熱器24での集熱量が少なくなり、ヒートポンプ回路19で受け取るべき太陽熱集熱器24からの熱量が不足していることを示しており、ヒートポンプ回路19の加熱能力が不足することになる。
【0045】
従って、必要な加熱能力が確保できるように圧縮機能力可変制御手段32により第2の回転数設定部38で予め設定した圧縮機回転数に切り替えて能力可変圧縮機20を運転させるものである。
【0046】
以上のように本実施例の発明は、ヒートポンプ回路19で受け取るべき太陽熱集熱器24からの熱量が不足することを検知して、曇天日または雨天日で日射量が少ないか、または全くない場合でも、必要な加熱能力、効率の良い最適な状態における能力可変圧縮機20の回転数を予め設定して運転させることができるため、ヒートポンプ回路19の加熱能力を確保してかつ、効率の良い加熱運転ができる。
【0047】
また、第2の回転数設定部38で予め設定した圧縮機回転数をヒートポンプの最大加熱負荷に見合った固定の圧縮機回転数に設定しているので、曇天日または雨天日で太陽の日射量が少ないか、または全く無い場合でも、確実に必要な加熱能力を効率の良いヒートポンプ回路で確保できる。
【0048】
(実施例3)
図3は本発明の実施例3における太陽熱利用装置を示す構成図である。本実施例の発明は、曇天日または雨天日で太陽の日射量が少ない、または無い場合でもヒートポンプ回路の加熱能力を確保するため、太陽熱量検知手段を設け、かつ太陽熱量比較手段を圧縮機能力可変制御手段に加えた点で図2に示す実施例2の発明と異なり、それ以外は同じ内容である。
【0049】
図3において、39は例えば日射計等の太陽熱量検知手段である。圧縮機能力可変制御手段32は、温度比較部35、第1の回転数設定部36、第2の回転数設定部38に加えて、更に前記太陽熱量検知手段39で検出された太陽熱量と比較する基準値である予め設定した所定値を記憶している太陽熱量比較手段40を備えている。
【0050】
以上のように構成された太陽熱利用装置において、その動作と作用は実施例1で説明したと同じように、能力可変圧縮機20によりヒートポンプ回路19を循環する冷媒が蒸発器23を通過する際に、太陽熱集熱器24で昇温された空気に加熱されて蒸発温度が高くなるとともに、圧縮機能力可変制御手段32の温度比較部35と第1の回転数設定部36により、蒸発器出口空気温度T2を集熱器入口空気温度T1と略同一になるように能力可変圧縮機20の回転数が設定されている。
【0051】
そして、太陽熱量検知手段39で検知された太陽熱量を、太陽熱量比較手段40において予め設定した所定値と比較し、検知された太陽熱量が前記所定値を下回る場合は、第2の回転数設定部38で予め設定した圧縮機回転数に従って能力可変圧縮機20を運転させる。すなわち、前記の太陽熱量が所定値を下回る場合には、太陽熱集熱器24での集熱量が少なくなり、ヒートポンプ回路19で受け取るべき太陽熱集熱器24からの熱量が不足していることを示しており、ヒートポンプの加熱能力が不足する。
【0052】
従って、必要な加熱能力が確保できるように圧縮機能力可変制御手段32により、予め設定した圧縮機回転数に切り替えて能力可変圧縮機20を運転させるものである。つまり、太陽熱量を検出して日射量が少ないか、または全くない場合でも、必要な加熱能力、効率の良い最適な状態における能力可変圧縮機20の回転数を予め設定して運転させることができるため、ヒートポンプ回路の加熱能力を確保してかつ、効率の良い加熱運転ができる。
【0053】
また、第2の回転数設定部38では、予め設定した圧縮機回転数をヒートポンプの最大加熱負荷に見合った固定の圧縮機回転数に設定しているので、曇天日または雨天日で日射量が少ないか、または全くない場合でも、確実に必要な加熱能力を効率の良いヒートポンプで確保できる。
【0054】
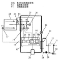
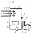
(実施例4)
図4は本発明の実施例4における太陽熱利用装置を示す構成図で、図5は能力可変圧縮機を用いたヒートポンプの一般的な特性を説明する特性図である。本実施例の発明は、曇天日または雨天日で太陽の日射量が少ない、または無い場合でもヒートポンプ回路の加熱能力を確保するため、蒸発器入口空気温度センサーを設け、かつ圧縮機能力可変制御手段の第2の回転数設定部に回転数演算部の機能を持たせた点で図2に示す実施例2の発明と異なり、それ以外は同じ内容である。
【0055】
図4において、41は蒸発器23の蒸発器入口空気温度T3を検知するための蒸発器入口空気温度センサーである。圧縮機能力可変制御手段32は、温度比較部35、第1の回転数設定部36、最低回転数比較部37に加えて、更に前記蒸発器入口空気温度センサー41の検知する蒸発器入口空気温度T3を基に圧縮機回転数を演算するテーブル付きの回転数演算部42を有する第2の回転数設定部38aを備えている。すなわち、回転数演算部42は必要な加熱能力と効率の良い最適な状態における能力可変圧縮機20の回転数を演算するため、前記蒸発器入口空気温度センサー41の検知する蒸発器入口空気温度T3を基に図5に示すヒートポンプの一般特性に従い、蒸発器入口空気温度T3が低い時には能力可変圧縮機20の回転数を大きくし、蒸発器入口空気温度T3が高い時は能力可変圧縮機20の回転数を小さく設定するテーブルを備えている。
【0056】
以上のように構成された太陽熱利用装置において、その動作と作用は実施例1で説明したと同じように、能力可変圧縮機20によりヒートポンプ回路19を循環する冷媒が蒸発器23を通過する際に、太陽熱集熱器24で昇温された空気に加熱されて蒸発温度が高くなるとともに、圧縮機能力可変制御手段32の温度比較部35と第1の回転数設定部36により、蒸発器出口空気温度T2を集熱器入口空気温度T1と略同一になるように能力可変圧縮機20の回転数が設定されている。
【0057】
そして、ヒートポンプ回路19で受け取るべき太陽熱集熱器24からの熱量が不足すると、第1の回転数設定部36で設定された圧縮機回転数が最低回転数比較部37の最低回転数を下回り、第2の回転数設定部38aに移行する。
【0058】
圧縮機回転数設定が第2の回転数設定部38aに移行したら、第2の回転数設定部38aの回転数演算部42で、予め計測されたデーターに基づいて、蒸発器入口空気温度センサー41の検知した蒸発器入口空気温度T3を基に、圧縮機回転数を演算して能力可変圧縮機20を運転制御する。
【0059】
すなわち、回転数演算部42では、次のように演算する。ヒートポンプの一般特性として、図5に示すように、蒸発器入口空気温度T3が高くなると加熱能力、効率(COP)ともに大きくなり、また、圧縮機20の回転数が大きくなると、加熱能力は大きくなるが、効率は小さくなる特性を有している。例えば、必要加熱能力が一定であると設定した場合、図5に示すように、蒸発器入口空気温度T3が低い時には圧縮機20の回転数を大きくし、蒸発器入口空気温度T3が高い時は圧縮機20の回転数を小さく設定することにより、必要な加熱能力と効率の良い最適な状態における圧縮機20の回転数を設定して運転させることができる。
【0060】
以上のように、本実施例の発明においては、第2の回転数設定部38aの予め設定した圧縮機回転数を、蒸発器23の蒸発器入口空気温度を検知する蒸発器入口空気温度センサー41を備えて、前記蒸発器入口空気温度センサー41の検知する温度を基に設定される所定の回転数で圧縮機20を運転制御する構成としたものである。これにより、ヒートポンプ回路19の加熱能力と効率(COP)が蒸発器入口空気温度と圧縮機回転数で決まる特性を利用して、予め計測されたデーターに基づいて、蒸発器入口空気温度を基に、必要な加熱能力、効率の良い最適な状態における圧縮機20の回転数を設定して運転させることができるため、日射量が少ないか、または全くない場合でも、ヒートポンプの加熱能力を確保してかつ、効率の良い加熱運転ができる。
【0061】
(実施例5)
図6は本発明の実施例5における太陽熱利用装置を示す構成図である。本実施例の発明は、曇天日または雨天日で太陽の日射量が少ない、または無い場合でもヒートポンプ回路の加熱能力を確保するため、蒸発器入口空気温度センサーと蒸発器出口空気温度センサーとを設け、かつ圧縮機能力可変制御手段の第2の回転数設定部を、前記両センサーの検知した温度差と記憶している所定の温度差を比較する温度差比較部と、回転数設定部とで構成した点で図2に示す実施例2の発明と異なり、それ以外は同じ内容である。
【0062】
図6において、圧縮機能力可変制御手段32は、温度比較部35、第1の回転数設定部36に加えて、更に蒸発器入口空気温度センサー41の検知する蒸発器入口空気温度T3と蒸発器出口空気温度センサー34の検知する蒸発器出口空気温度T2との温度差T3−T2を、予め設定し記憶している所定の温度差と比較する温度差比較部43と、前記温度差T3−T2を所定の温度差となるように能力可変圧縮機20の回転数を制御する回転数設定部44とで構成した第2の回転数設定部38bを備えている。
【0063】
以上のように構成された太陽熱利用装置において、その動作と作用は実施例1で説明したと同じように、能力可変圧縮機20によりヒートポンプ回路19を循環する冷媒が蒸発器23を通過する際に、太陽熱集熱器24で昇温された空気に加熱されて蒸発温度が高くなるとともに、圧縮機能力可変制御手段32の温度比較部35と第1の回転数設定部36により、蒸発器出口空気温度T2を集熱器入口空気温度T1と略同一になるように能力可変圧縮機20の回転数が設定されている。
【0064】
そして、ヒートポンプ回路19で受け取るべき太陽熱集熱器24からの熱量が不足すると、圧縮機回転数設定が第2の回転数設定部38bに移行し、第2の回転数設定部38bの温度差比較部43において、蒸発器入口空気温度センサー41の検知する蒸発器入口空気温度T3と蒸発器出口空気温度センサー34の検知する蒸発器出口空気温度T2との温度差T3−T2を回転数設定部44が記憶している予め設定した所定の温度差と比較する。
【0065】
そして、前記回転数設定部44は温度差T3−T2が所定の温度差よりも大きい場合には、能力可変圧縮機20の回転数を小さい方向へ移行させ、また温度差T3−T2が所定の温度差よりも小さい場合には、能力可変圧縮機20の回転数を大きい方向へ移行させることで、前記温度差T3−T2を所定の温度差となるように能力可変圧縮機20の回転数を制御するのである。
【0066】
従って、ヒートポンプ回路19の風量が一定であり、蒸発器23の入口、出口の空気温度差T3―T2が一定であれば、蒸発器23での熱交換量が一定であり、すなわち、ヒートポンプ回路19の加熱能力も一定となるもので、例えば、必要加熱量に応じた蒸発器23の入口、出口の空気温度差を所定の温度差として予め設定しておけば、温度差T3−T2を所定の温度差となるように能力可変圧縮機20の回転数を制御することで、常に必要加熱量が得られる。
【0067】
なお、風量が変わる場合は、その風量に応じた温度差を所定の温度差として設定すればよい。
【0068】
以上のように本実施例の発明においては、予め設定した圧縮機回転数を、蒸発器23の蒸発器入口空気温度を検知する蒸発器入口空気温度センサー41と、蒸発器23の蒸発器出口空気温度を検知する蒸発器出口空気温度センサー34を備えて、蒸発器入口空気温度センサー41の検知する温度T3と蒸発器出口空気温度センサー34の検知する温度T2との温度差T3−T2が予め設定した所定の温度差となるごとく圧縮機回転数を制御する構成としたものである。
【0069】
これにより、蒸発器23の出入口空気温度差と風量で蒸発器の熱交換量、すなわち、ヒートポンプ回路の加熱能力が決まる特性を利用し、所定の蒸発器出入口空気温度差を必要な加熱量を得るための値に設定しておくことで、外気温度、日射量に関係なく、必要な加熱能力が得られる。
【0070】
従って、日射量が少ないか、または全くない場合でも、ヒートポンプの加熱能力を確保してかつ、効率の良い加熱運転ができる。
【0071】
(実施例6)
図7は本発明の実施例6における太陽熱利用装置を示す構成図である。本実施例の発明は、曇天日または雨天日で太陽の日射量が少ない、または無い場合でもヒートポンプ回路の加熱能力を確保するため、蒸発器入口空気温度と蒸発器入口冷媒温度との温度差を、記憶している所定の温度差と比較する温度差比較部と、この比較に基いて前記温度差が前記所定の温度差になるように圧縮機の回転数を設定する回転数設定部とで構成する第2の回転数設定部を、圧縮機能力可変制御手段を設けた点で図6に示す実施例5の発明と異なり、それ以外は同じ内容である。
【0072】
図7において、圧縮機能力可変制御手段32は、温度比較部35、第1の回転数設定部36に加えて、更に蒸発器入口空気温度センサー41の検知する蒸発器入口空気温度T3と蒸発器入口冷媒温度センサー45の検知する蒸発器入口冷媒温度T4との温度差T3−T4を、予め設定して記憶した所定の温度差と比較する温度差比較部46と、前記温度差T3−T4を所定の温度差となるように能力可変圧縮機20の回転数を制御する回転数設定部47とで構成した第2の回転数設定部38cを備えている。
【0073】
以上のように構成された太陽熱利用装置において、その動作と作用は実施例1で説明したと同じように、能力可変圧縮機20によりヒートポンプ回路19を循環する冷媒が蒸発器23を通過する際に、太陽熱集熱器24で昇温された空気に加熱されて蒸発温度が高くなるとともに、圧縮機能力可変制御手段32の温度比較部35と第1の回転数設定部36により、蒸発器出口空気温度T2を集熱器入口空気温度T1と略同一になるように能力可変圧縮機20の回転数が設定されている。
【0074】
そして、ヒートポンプ回路19で受け取るべき太陽熱集熱器24からの熱量が不足すると、圧縮機回転数設定が第2の回転数設定部38cに移行する。次に、第2の回転数設定部38cの温度差比較部46において、蒸発器入口空気温度センサー41の検知した蒸発器入口空気温度T3と蒸発器入口冷媒温度センサー45の検知した蒸発器入口冷媒温度T4との温度差T3−T4を、記憶している予め設定した所定の温度差と比較する。
【0075】
そして、回転数設定部47は前記温度差T3−T4が所定の温度差よりも大きい場合には、能力可変圧縮機20の回転数を小さい方向へ移行させ、前記温度差T3−T4が所定の温度差よりも小さい場合には、能力可変圧縮機20の回転数を大きい方向へ移行させることで、前記温度差T3−T4を所定の温度差となるように能力可変圧縮機20の回転数を制御する。
【0076】
従って、蒸発器23の外側の温度(蒸発器入口空気温度T3)と蒸発器23の内側の温度(蒸発器入口冷媒温度T4)との温度差が一定であれば、蒸発器23での熱交換量が一定であり、すなわち、ヒートポンプ回路19の加熱能力も一定となるもので、例えば、必要加熱量に応じた蒸発器入口空気温度T3と蒸発器入口冷媒温度T4との温度差を所定の温度差として予め設定しておけば、温度差T3−T4を所定の温度差となるように能力可変圧縮機20の回転数を制御することで常に必要加熱量が得られる。
【0077】
以上のように、本実施例の発明においては、予め設定した圧縮機回転数を、蒸発器23の蒸発器入口空気温度T3を検知する蒸発器入口空気温度センサー41と、蒸発器23の蒸発器入口冷媒温度T4を検知する蒸発器入口冷媒温度センサー45とを備えて、蒸発器入口空気温度センサー41の検知した温度T3と蒸発器入口冷媒温度センサー45の検知した温度T4との温度差T3−T4が予め設定した所定の温度差となるように能力可変圧縮機20の回転数を回転数設定部47で制御する構成としたものである。
【0078】
これにより、蒸発器23の蒸発器入口空気温度T3と蒸発器23の蒸発器入口冷媒温度T4との温度差T3−T4で蒸発器23の熱交換量、すなわち、ヒートポンプ回路19の加熱能力が決まる特性を利用し、前記予め設定した所定の温度差を必要な加熱量を得るための値に設定しておくことで、外気温度、日射量に関係なく、必要な加熱能力が得られる。
【0079】
従って、曇天日または雨天日で日射量が少ないか、または全くない場合でも、ヒートポンプの加熱能力を確保してかつ、効率の良い加熱運転ができる。
【0080】
(実施例7)
図8は本発明の実施例7における太陽熱利用装置を示す構成図である。本実施例の発明は、集熱器出口空気温度センサーを設け、かつ図3に示す実施例3の太陽日射量を直接に検出する太陽熱量検出手段を、集熱器入口空気温度センサーの検出する温度と集熱器出口空気温度センサーの検出する温度とを比較する集熱器出入口空気温度差比較手段で兼ねた点が実施例3の発明と異なり、それ以外の内容は同じである。
【0081】
図8において、48は太陽熱集熱器24の出口の空気温度T5を検知する集熱器出口空気温度センサーである。太陽熱量検知手段39aは、集熱器入口空気温度センサー33の検知する集熱器入口空気温度T1と、集熱器出口空気温度センサー48の検知する集熱器出口空気温度T5との集熱器出入口温度差を比較する集熱器出入口空気温度差比較手段49で構成する。
【0082】
以上のように構成された太陽熱利用装置において、その動作と作用は実施例3で説明したと同じように、能力可変圧縮機20によりヒートポンプ回路19を循環する冷媒が蒸発器23を通過する際に、太陽熱集熱器24で昇温された空気に加熱されて蒸発温度が高くなるとともに、圧縮機能力可変制御手段32の温度比較部35と第1の回転数設定部36により、蒸発器出口空気温度T2を集熱器入口空気温度T1と略同一になるように能力可変圧縮機20の回転数が設定されている。
【0083】
そして、太陽熱量検知手段39aで検知された太陽熱量を、すなわち集熱器入口空気温度センサー33の検知した集熱器入口空気温度T1と、集熱器出口空気温度センサー48の検知した集熱器出口空気温度T5とを集熱器出入口温度差比較手段49で比較した集熱器出入口温度差を、太陽熱量比較手段40において予め設定した所定値と比較し、検知された太陽熱量(集熱器出入口温度差)が前記所定値を下回る場合は、第2の回転数設定部38で予め設定した圧縮機回転数に従って能力可変圧縮機20を運転させる。すなわち、前記太陽熱量が所定値を下回る場合には、太陽熱集熱器24での集熱量が少なくなり、ヒートポンプ回路19で受け取るべき太陽熱集熱器24からの熱量が不足していることを示しており、ヒートポンプの加熱能力が不足する。
【0084】
従って、必要な加熱能力が確保できるように圧縮機能力可変制御手段32により、予め設定した圧縮機回転数に切り替えて能力可変圧縮機20を運転させるものである。
【0085】
一般に太陽日射量を受けて集熱器出入口空気温度差が生じるもので、日射量、すなわち、太陽熱量と集熱器出入口空気温度差は相関性がある。実際は太陽熱集熱器24に熱容量があるために、集熱器出入口空気温度差の変化は日射量変化に対してかなり遅れて変化する。この特性は、時定数が大きなヒートポンプサイクルの圧縮機回転数の急激な変化を避けるのに適している。
【0086】
以上のように、本実施例の発明においては、太陽熱量検知手段39aを、太陽熱集熱器24の入口の空気温度を検知する集熱器入口空気温度センサー33と、太陽熱集熱器24の出口の空気温度を検知する集熱器出口空気温度センサー48と、集熱器出入口空気温度差を比較する集熱器出入口空気温度差比較手段49とで構成したので、太陽熱量と直接関連する太陽熱集熱器24の温度上昇値を利用することで、確実な制御ができる。また、集熱器入口空気温度センサー33、集熱器出口空気温度センサー48は他の制御機能と共用できるために、部品の共用化によるコストダウンの効果がある。
【0087】
(実施例8)
図9は本発明の実施例8における太陽熱利用装置を示す構成図である。本実施例の発明は、蒸発器の熱交換効率等の向上を図るため、ヒートポンプ回路の蒸発器と太陽熱集熱器を隣接して配設した点が、図1〜図8に示す実施例1〜実施例7の各発明と異なり、それ以外の内容は同じである。
【0088】
図9において、太陽熱集熱器24とヒートポンプ回路19の蒸発器23は隣接して設置した構成としている。図中、53は点線で示すガイド筒で、太陽熱集熱器24から蒸発器23への空気の流れを案内するものである。
【0089】
以上のように構成された太陽熱利用装置において、その動作と作用は実施例1で説明したと同じように、能力可変圧縮機20によりヒートポンプ回路19を循環する冷媒が蒸発器23を通過する際に、ガイド筒53に案内されて流れ太陽熱集熱器24で昇温された空気に加熱され蒸発温度が高くなるとともに、圧縮機能力可変制御手段32により、蒸発器出口空気温度T2を集熱器入口空気温度T1と略同一になるように能力可変圧縮機20の回転数を制御している。
【0090】
そして、太陽熱集熱器24と蒸発器23は隣接することで、太陽熱集熱器24と蒸発器23の間の距離が短くなり、接続部(前記距離)での熱損失、通風抵抗が無くなる。
【0091】
以上のように本実施例の発明においては、太陽熱集熱器24と蒸発器を隣接して設置した構成としたことにより、太陽熱集熱器24から蒸発器23までの間における熱損失、通風抵抗が軽減され、熱交換効率の向上と送風手段25の動力低減による省エネルギー効果が生じる。
【0092】
また、太陽熱集熱器24と蒸発器23を例えば一体に構成すると、装置の小型軽量化を図ることができるばかりでなく、空気を蒸発器23へ導く通路が不要となるため、装置の低コスト化と施工性を向上させることができる。
【0093】
(実施例9)
図10は本発明の実施例9における太陽熱利用装置を示す構成図である。本実施例の発明は、ヒートポンプ回路の運転効率等を高めるため、蒸発器と太陽熱集熱器の間の通路に、日射量に応じて外気導入を制御する開閉手段を設けた点が、図1〜図9に示す実施例1〜実施例8の各発明と異なり、それ以外の内容は同じである。
【0094】
図10において、50は蒸発器23の空気入口の近傍におけるガイド筒53に設けたバイパス吸込部、51はバイパス吸込部50の開閉を行う開閉手段、52は開閉手段51の開閉を制御する開閉制御手段で、太陽日射量が多い場合には開閉手段51を開放から閉鎖へ切換え、太陽日射量が少ない曇天日、あるいは雨天日の場合には開閉手段51を閉鎖から開放へ切換える制御を行うものである。
【0095】
以上のように構成された太陽熱利用装置において、その動作と作用は実施例1で説明したと同じように、能力可変圧縮機20によりヒートポンプ回路19を循環する冷媒が蒸発器23を通過する際に、ガイド筒53に案内されて流れ太陽熱集熱器24で昇温された空気に加熱され蒸発温度が高くなるとともに、圧縮機能力可変制御手段32により、蒸発器出口空気温度T2を集熱器入口空気温度T1と略同一になるように能力可変圧縮機20の回転数を制御している。
【0096】
そして、最初に太陽日射量が多い場合には開閉制御手段52が開閉手段51を開放から閉鎖へ切換えて、開閉手段51がバイパス吸込部50を閉鎖する。そのため、外気は唯一、太陽熱集熱器24へ流入し、この外気の空気は外気温より大幅な高温空気に加熱されて蒸発器23へ流れ、蒸発器23を流れるヒ−トポンプ回路19の冷媒を蒸発ガス化させる。
【0097】
次に、太陽日射量が少ない曇天日、あるいは雨天日の場合には開閉制御手段52が開閉手段51を閉鎖から開放へ切換えて、開閉手段51がバイパス吸込部50を開放し、送風手段25の吸引力によって、バイパス吸込部50から多量の外気が蒸発器23の入口へ吸引される。そして、太陽熱集熱器24から流入してきた空気と合流して蒸発器23へ流れる。
【0098】
この場合、太陽日射量が少ないため、太陽熱集熱器24を通過する空気の温度上昇は少なく、合流して蒸発器23の入口へ流入する空気の温度は外気温度と殆ど同じである。そして、蒸発器23の空気入口近傍のバイパス吸込部50から外気を導入するため、通風抵抗が少なく、蒸発器23の通過風量が増加してヒ−トポンプ回路19の運転効率が高くなる。
【0099】
従って、太陽日射量が多い場合には、高温空気をそのまま小風量で蒸発器23に流して高効率化を図り、太陽日射量が少ない曇天日、あるいは雨天日の場合には、集熱ユニットの外郭をなすガイド筒53のバイパス吸込部50から大風量を蒸発器23へ流して高効率化を図ることができる。また、太陽日射量が多い場合にバイパス吸込部50を閉鎖するため、外気風速が大きい時にバイパス吸込部50から自然風が集熱ユニット内へ流入することがないため、太陽熱で温めた高温空気の温度低下を防止できる。
【0100】
以上のように本実施例の発明においては、蒸発器23の空気入口に、外気を吸入するための開閉が可能な開閉手段51と、開閉手段51の開閉を制御する開閉制御手段52を備えた構成とすることにより、必要に応じて太陽熱集熱器24をバイパスし、通風抵抗を低減して送風手段25の省電力化を実現する。従って、太陽熱集熱器24の大面積化、あるいは太陽熱集熱器24面を流れる空気流路を長くして太陽熱を多量に集熱する設計において、送風手段25の小型化、省電力化を実現できる。特に、日射量が少ない場合に蒸発器23の通過風量を確保してヒ−トポンプ運転の効率向上を図れる。
【0101】
(実施例10)
図11は本発明の実施例10における太陽熱利用装置を示す構成図である。本実施例の発明は、ヒートポンプ回路の運転効率等を高めるため、送風手段による空気流を、送風手段、太陽熱集熱器、蒸発器の順に流して送風手段のモータの熱を蒸発器の加熱に活用すようにした点が、図1〜図10に示す実施例1〜実施例9の各発明と異なり、それ以外の内容は同じである。
【0102】
図11において、送風手段25のファンにより生じる空気流が、送風手段25のファンを駆動するモータ26、太陽熱集熱器24、蒸発器23の順に空気が流れるように、前記送風手段25、太陽熱集熱器24、蒸発器23を配設した構成としている。
【0103】
以上のように構成された太陽熱利用装置において、その動作と作用は実施例1で説明したと同じように、能力可変圧縮機20によりヒートポンプ回路19を循環する冷媒が蒸発器23を通過する際に、太陽熱集熱器24で昇温された空気に加熱され蒸発温度が高くなるとともに、圧縮機能力可変制御手段32により、蒸発器出口空気温度T2を集熱器入口空気温度T1と略同一になるように能力可変圧縮機20の回転数が制御される。
【0104】
そして、送風手段25を駆動するモータ26は電力を消費するため、モータ自身が発熱し高温となる。しかし、モータ26は送風手段25によって送風される空気に曝されているので、モータ26が消費した電力は熱となって空気へ伝熱される。モータ26の熱を受熱した空気は、太陽集熱器24で加熱され一段と温度上昇し蒸発器23で冷媒と熱交換するので、本実施例の構成により、モータ26で消費した電力を冷媒の加熱に利用することができる。
【0105】
以上のように本実施例の発明においては、空気が送風手段25、太陽熱集熱器24、蒸発器23の順に通過するように設置した構成とすることにより、送風手段26の放熱を太陽熱集熱器24から蒸発器23へ送られる空気へ受熱させて蒸発器23で熱交換させるので送風手段25に必要な電力を冷媒の加熱に有効に利用して運転効率の高い装置とすることができる。
【0106】
【発明の効果】
以上の説明から明らかなように請求項1〜請求項11に記載の発明によれば、日射量、外気温度に影響されずに必要な加熱能力を確保してかつ、効率の良い加熱運転ができる。
【図面の簡単な説明】
【図1】本発明の実施例1における太陽熱利用装置を示す構成図
【図2】同実施例2における太陽熱利用装置を示す構成図
【図3】同実施例3における太陽熱利用装置示す構成図
【図4】同実施例4における太陽熱利用装置を示す構成図
【図5】ヒートポンプ回路の一般的な特性を説明する特性図
【図6】本発明の実施例5における太陽熱利用装置を示す構成図
【図7】同実施例6における太陽熱利用装置を示す構成図
【図8】同実施例7における太陽熱利用装置を示す構成図
【図9】同実施例8における太陽熱利用装置を示す構成図
【図10】同実施例9における太陽熱利用装置を示す構成図
【図11】同実施例10における太陽熱利用装置を示す構成図
【図12】従来の太陽熱利用装置を示す構成図
【図13】従来の太陽熱利用装置を示す構成図
【符号の説明】
19 ヒートポンプ回路
20 能力可変圧縮機
23 蒸発器
24 太陽熱集熱器
25 送風手段
32 圧縮機能力可変制御手段
33 集熱器入口空気温度センサー
34 蒸発器出口空気温度センサー
35 温度比較部
36 第1の回転数設定部
37 最低回転数比較部
38、38a、38b、38c 第2の回転数設定部
39、39a 太陽熱量検知手段
40 太陽熱量比較手段
41 蒸発器入口空気温度センサー
42 回転数演算部
43、46 温度差比較部
45 蒸発器入口冷媒温度センサー
44、47 回転数設定部
48 集熱器出口空気温度センサー
49 集熱器出入口空気温度差比較手段
51 開閉手段
52 開閉制御手段

Claims (11)

  1. 太陽熱集熱器と、能力可変圧縮機を有したヒートポンプ回路と、前記太陽熱集熱器を通過した空気と熱交換する前記ヒートポンプ回路の蒸発器と、前記太陽熱集熱器の入口の空気温度を検知する集熱器入口空気温度センサーと、前記蒸発器の出口空気温度を検知する蒸発器出口空気温度センサーと、蒸発器出口空気温度を集熱器入口空気温度と略同一とするように前記能力可変圧縮機の能力設定を行う圧縮機能力可変制御手段とを備えたことを特徴とする太陽熱利用装置。
  2. 圧縮機能力可変制御手段は、圧縮機回転数設定値が最低回転数を下回る場合には、予め設定した圧縮機回転数に従って圧縮機を運転させることを特徴とする請求項1に記載の太陽熱利用装置。
  3. 太陽熱量検知手段を備え、圧縮機能力可変制御手段は太陽熱量検知手段による太陽熱量が所定値を下回る場合には、予め設定した圧縮機回転数としたことを特徴とする請求項1に記載の太陽熱利用装置。
  4. 圧縮機能力可変制御手段は予め設定した圧縮機回転数を、ヒートポンプの最大加熱負荷に見合った固定の圧縮機回転数としたことを特徴とする請求項2または請求項3に記載の太陽熱利用装置。
  5. 蒸発器の入口空気温度を検知する蒸発器入口空気温度センサーを備え、圧縮機能力可変制御手段は予め設定した圧縮機回転数を、前記蒸発器入口空気温度センサーの検知する温度を基に設定した圧縮機回転数としたことを特徴とする請求項2または請求項3に記載の太陽熱利用装置。
  6. 蒸発器の入口空気温度T3を検知する蒸発器入口空気温度センサーと、前記蒸発器の出口空気温度T2を検知する蒸発器出口空気温度センサーとを備え、圧縮機能力可変制御手段は予め設定した圧縮機回転数を、前記蒸発器入口空気温度センサーの検知する蒸発器入口空気温度T3と前記蒸発器出口空気温度センサーの検知する蒸発器出口空気温度T2との温度差T3−T2が予め設定した所定の温度差となる圧縮機回転数としたことを特徴とする請求項2または請求項3に記載の太陽熱利用装置。
  7. 蒸発器の入口空気温度を検知する蒸発器入口空気温度センサーと、蒸発器の入口冷媒温度を検知する蒸発器入口冷媒温度センサーとを備え、圧縮機能力可変制御手段は予め設定した圧縮機回転数を、前記蒸発器入口空気温度センサーの検知する蒸発器入口空気温度T3と前記蒸発器入口冷媒温度センサーの検知する蒸発器入口冷媒温度T4との温度差T3−T4が予め設定した所定の温度差となる圧縮機回転数としたことを特徴とする請求項2または請求項3に記載の太陽熱利用装置。
  8. 太陽熱集熱器の集熱器出口空気温度T5を検知する集熱器出口空気温度センサーを設け、太陽熱量検知手段は集熱器入口空気温度T1と集熱器出口空気温度T5との集熱器出入口空気温度差を比較する集熱器出入口空気温度差比較手段を有する請求項3に記載の太陽熱利用装置。
  9. 太陽熱集熱器と蒸発器とを隣接して設けたことを特徴とする請求項1〜請求項8のいずれか一項に記載の太陽熱利用装置。
  10. 蒸発器の空気入口に、外気を吸入する開閉可能な開閉手段と、前記開閉手段の開閉を制御する開閉制御手段とを設けたことを特徴とする請求項1〜請求項9のいずれか一項に記載の太陽熱利用装置。
  11. 送風手段により起こる空気流が、送風手段のモータ、太陽熱集熱器、蒸発器の順に通過するように、前記送風手段と前記太陽熱集熱器と前記蒸発器を設置したことを特徴とする請求項1〜請求項10のいずれか一項に記載の太陽熱利用装置。
JP2001089461A 2001-03-27 2001-03-27 太陽熱利用装置 Expired - Fee Related JP4649755B2 (ja)

Priority Applications (1)

Application Number Priority Date Filing Date Title
JP2001089461A JP4649755B2 (ja) 2001-03-27 2001-03-27 太陽熱利用装置

Applications Claiming Priority (1)

Application Number Priority Date Filing Date Title
JP2001089461A JP4649755B2 (ja) 2001-03-27 2001-03-27 太陽熱利用装置

Publications (2)

Publication Number Publication Date
JP2002286323A JP2002286323A (ja) 2002-10-03
JP4649755B2 true JP4649755B2 (ja) 2011-03-16

Family

ID=18944385

Family Applications (1)

Application Number Title Priority Date Filing Date
JP2001089461A Expired - Fee Related JP4649755B2 (ja) 2001-03-27 2001-03-27 太陽熱利用装置

Country Status (1)

Country Link
JP (1) JP4649755B2 (ja)

Families Citing this family (2)

* Cited by examiner, † Cited by third party
Publication number Priority date Publication date Assignee Title
CN112976985B (zh) * 2019-12-12 2022-11-11 杭州三花研究院有限公司 汽车空调系统的控制方法和控制装置
KR102936148B1 (ko) * 2024-04-03 2026-03-10 주식회사 대신에스앤비 태양열 가열기 연계 난방용 히트펌프 시스템

Family Cites Families (21)

* Cited by examiner, † Cited by third party
Publication number Priority date Publication date Assignee Title
JPS58217160A (ja) * 1982-06-10 1983-12-17 松下電器産業株式会社 ヒ−トポンプ温水装置
JPS5996524A (ja) * 1982-11-25 1984-06-04 Sharp Corp 薄膜磁気ヘツド
JPS59107150A (ja) * 1982-12-08 1984-06-21 株式会社 システム・ホ−ムズ 給湯装置
JPS59212646A (ja) * 1983-05-16 1984-12-01 Mitsubishi Electric Corp 太陽熱コレクタ−
JPS59221565A (ja) * 1983-05-31 1984-12-13 三菱電機株式会社 ソ−ラ−ヒ−トポンプ給湯装置
US4507936A (en) * 1983-08-19 1985-04-02 System Homes Company Ltd. Integral solar and heat pump water heating system
JPS60133368A (ja) * 1983-12-19 1985-07-16 Dai Ichi Pure Chem Co Ltd 免疫測定方法
JPS60155843A (ja) * 1984-01-25 1985-08-15 Hitachi Ltd 配水管内蓄熱による空調制御装置
JPS60233455A (ja) * 1984-05-07 1985-11-20 Matsushita Electric Ind Co Ltd 蓄熱材利用集熱システム
JPS611951A (ja) * 1984-06-14 1986-01-07 Matsushita Electric Works Ltd 簡易型エア−コレクタ
JPS617768A (ja) * 1984-06-22 1986-01-14 Fuji Xerox Co Ltd 原稿読取装置用読取領域指定装置
JPS6069466A (ja) * 1984-07-30 1985-04-20 株式会社日立製作所 ヒ−トポンプ式暖房装置
JPH0621714B2 (ja) * 1984-08-03 1994-03-23 富士重工業株式会社 エンジン・ヒ−トポンプ装置
JPS6159154A (ja) * 1984-08-28 1986-03-26 Fuji Heavy Ind Ltd エンジン・ヒ−トポンプ装置
JPS6172962A (ja) * 1984-09-18 1986-04-15 Sharp Corp 太陽熱集熱装置
JPS61114055A (ja) * 1984-11-08 1986-05-31 Matsushita Electric Ind Co Ltd 太陽熱集熱装置
JPH024166A (ja) * 1988-06-21 1990-01-09 Daikin Ind Ltd 液体冷却装置の温度制御装置
JPH07332738A (ja) * 1994-06-02 1995-12-22 Matsushita Seiko Co Ltd ファンコンベクタ
JP3334660B2 (ja) * 1998-05-19 2002-10-15 三菱電機株式会社 冷凍サイクルの制御装置およびその制御方法
JP2001041574A (ja) * 1999-08-03 2001-02-16 Matsushita Electric Ind Co Ltd 給湯機
JP4639521B2 (ja) * 2001-05-15 2011-02-23 パナソニック株式会社 太陽熱利用装置

Also Published As

Publication number Publication date
JP2002286323A (ja) 2002-10-03

Similar Documents

Publication Publication Date Title
CN113865322B (zh) 一种烘干机组控制方法及烘干系统
CN114857662B (zh) 一种多联机空调系统及其控制方法
CN107255411A (zh) 一种多功能热泵烘干装置
CN115597331B (zh) 高温烘干机及其控制方法
CN111879072A (zh) 一种温室型多压缩机热泵烘干装置及分段干燥方法
CN111676675A (zh) 热泵干衣机及热泵干衣机的控制方法
CN109378550A (zh) 汽车空调器和新能源汽车
CN201347512Y (zh) 装有变频调速风机控制温度的工业干衣机
JP4639521B2 (ja) 太陽熱利用装置
WO2021213530A1 (zh) 热泵干衣机及热泵干衣机的控制方法
JP4649755B2 (ja) 太陽熱利用装置
CN208835236U (zh) 汽车空调器和新能源汽车
JP4649754B2 (ja) 太陽熱利用装置
JP2003050056A (ja) 太陽光熱利用装置
CN210773094U (zh) 一种多模式热回收型热泵除湿烘干一体机
CN210486442U (zh) 一种变负荷除湿热泵烘干系统
JP2009095483A (ja) 洗濯乾燥機
CN206989667U (zh) 多功能热泵烘干装置
JPH10141730A (ja) 熱交換換気装置
CN205893749U (zh) 干衣机
CN215490932U (zh) 一种可调除湿风量的热泵烘干系统
CN117128612A (zh) 一种化霜不停机空调及其控制方法
CN111707058B (zh) 一种多热源自适应物料烘干系统及物料烘干房
KR101294677B1 (ko) 세탁기 건조시스템
JP3997560B2 (ja) エンジンヒートポンプ式空調装置

Legal Events

Date Code Title Description
A621 Written request for application examination

Free format text: JAPANESE INTERMEDIATE CODE: A621

Effective date: 20080204

RD01 Notification of change of attorney

Free format text: JAPANESE INTERMEDIATE CODE: A7421

Effective date: 20080312

RD01 Notification of change of attorney

Free format text: JAPANESE INTERMEDIATE CODE: A7421

Effective date: 20091119

A977 Report on retrieval

Free format text: JAPANESE INTERMEDIATE CODE: A971007

Effective date: 20100401

TRDD Decision of grant or rejection written
A01 Written decision to grant a patent or to grant a registration (utility model)

Free format text: JAPANESE INTERMEDIATE CODE: A01

Effective date: 20101116

A01 Written decision to grant a patent or to grant a registration (utility model)

Free format text: JAPANESE INTERMEDIATE CODE: A01

A61 First payment of annual fees (during grant procedure)

Free format text: JAPANESE INTERMEDIATE CODE: A61

Effective date: 20101129

FPAY Renewal fee payment (event date is renewal date of database)

Free format text: PAYMENT UNTIL: 20131224

Year of fee payment: 3

LAPS Cancellation because of no payment of annual fees