JP4635448B2 - 燃料電池解体方法 - Google Patents

燃料電池解体方法 Download PDF

Info

Publication number
JP4635448B2
JP4635448B2 JP2004029769A JP2004029769A JP4635448B2 JP 4635448 B2 JP4635448 B2 JP 4635448B2 JP 2004029769 A JP2004029769 A JP 2004029769A JP 2004029769 A JP2004029769 A JP 2004029769A JP 4635448 B2 JP4635448 B2 JP 4635448B2
Authority
JP
Japan
Prior art keywords
fuel cell
separators
separator
pair
electrode
Prior art date
Legal status (The legal status is an assumption and is not a legal conclusion. Google has not performed a legal analysis and makes no representation as to the accuracy of the status listed.)
Expired - Fee Related
Application number
JP2004029769A
Other languages
English (en)
Other versions
JP2005222818A (ja
Inventor
弘 鈴木
Current Assignee (The listed assignees may be inaccurate. Google has not performed a legal analysis and makes no representation or warranty as to the accuracy of the list.)
Toyota Motor Corp
Original Assignee
Toyota Motor Corp
Priority date (The priority date is an assumption and is not a legal conclusion. Google has not performed a legal analysis and makes no representation as to the accuracy of the date listed.)
Filing date
Publication date
Application filed by Toyota Motor Corp filed Critical Toyota Motor Corp
Priority to JP2004029769A priority Critical patent/JP4635448B2/ja
Publication of JP2005222818A publication Critical patent/JP2005222818A/ja
Application granted granted Critical
Publication of JP4635448B2 publication Critical patent/JP4635448B2/ja
Anticipated expiration legal-status Critical
Expired - Fee Related legal-status Critical Current

Links

Images

Classifications

    • YGENERAL TAGGING OF NEW TECHNOLOGICAL DEVELOPMENTS; GENERAL TAGGING OF CROSS-SECTIONAL TECHNOLOGIES SPANNING OVER SEVERAL SECTIONS OF THE IPC; TECHNICAL SUBJECTS COVERED BY FORMER USPC CROSS-REFERENCE ART COLLECTIONS [XRACs] AND DIGESTS
    • Y02TECHNOLOGIES OR APPLICATIONS FOR MITIGATION OR ADAPTATION AGAINST CLIMATE CHANGE
    • Y02EREDUCTION OF GREENHOUSE GAS [GHG] EMISSIONS, RELATED TO ENERGY GENERATION, TRANSMISSION OR DISTRIBUTION
    • Y02E60/00Enabling technologies; Technologies with a potential or indirect contribution to GHG emissions mitigation
    • Y02E60/30Hydrogen technology
    • Y02E60/50Fuel cells

Landscapes

  • Fuel Cell (AREA)

Description

本発明は、燃料電池解体方法に関する。
従来、燃料電池としては、電解質の両面に電極が配置された電極アセンブリと、この電極アセンブリの周囲に配設されたシール層と、電極アセンブリを両面から挟み込んだ状態で前記シール層を介して接着され一方の電極側に燃料ガス通路が他方の電極側に酸化ガス通路が形成された一対のセパレータと、を備えたものが知られている。この種の燃料電池では、燃料ガス通路に燃料ガスとして水素を供給すると共に酸化ガス通路に酸化ガスとしてエアを供給すると、燃料ガス通路に面する電極(アノード)で水素がプロトンと電子に分かれ、そのうちのプロトンが電解質を通ってもう一方の電極(カソード)へ移動し、電子は外部回路を通ってカソードへ移動し、カソードでエア中の酸素とプロトンと電子とが反応して水が生成する。この反応により起電力が生じる。ここで、シール層は、両セパレータを接着する接着剤の層であり、各電極の外周部分で酸素と水素が直接接触するのを防ぐ役割を果たしている。
ところで、使用済みの燃料電池から高価な電極アセンブリ(特に貴金属触媒を含む電極)を回収したり、使用済みの燃料電池を分別して廃棄したり、使用済みの燃料電池の電極アセンブリの性能を評価したりするために、燃料電池を解体したい場合がある。このため、例えば特許文献1では、燃料電池のシール層とセパレータとの間に線状部材を設けておき、燃料電池を解体するときにはこの線状部材を外方向へ引っ張ることで線状部材によりシール層とセパレータとを剥離させるものが提案されている。
特開2002−151112号公報
しかしながら、特許文献1では、線状部材によりシール層とセパレータとの間に燃料電池の内側から外側へ向かう力が付与されてシール層とセパレータとが剥離するものの、この方向に大きな力を加えることは容易ではないため、例えば線状部材がシール層に固く接着されていて動かなかったり線状部材が切れてしまったりすることがあり、燃料電池を確実に解体するのが難しいという問題があった。
本発明は、燃料電池を解体する必要が生じたときに確実に解体することのできる燃料電池解体方法を提供することを目的とする。
本発明は、上述の目的の少なくとも一部を達成するために以下の手段を採った。
本発明は、電解質の両面に電極が配置された電極アセンブリの周囲にシール部が配設され該電極アセンブリを両面から挟み込む一対のセパレータが前記シール部を介して接着された燃料電池を解体する方法であって、
前記一対のセパレータの少なくとも一方のセパレータの外面又は前記一対のセパレータの間隙に前記燃料電池の外側から高エネルギ体を照射又は噴射することにより前記燃料電池の解体を助長する解体助長ステップ、
を含むものである。
この燃料電池解体方法によれば、一対のセパレータの少なくとも一方のセパレータの外面又は一対のセパレータの間隙に燃料電池の外側から高エネルギ体を照射又は噴射するため、比較的大きなエネルギをセパレータの外面又はセパレータの間隙に付与しすい。したがって、燃料電池を確実に解体することができる。
なお、本発明は、どのタイプの燃料電池でも適用可能であり、例えば固体電解質膜形(高分子電解質形)、固体酸化物形、溶融炭酸塩形、リン酸形、アルカリ水溶液形等の燃料電池に適用可能である。
本発明の燃料電池解体方法において、前記解体助長ステップでは、前記一対のセパレータの少なくとも一方のセパレータの外面のうち前記電極の外周の外側に対応する箇所(例えば前記電極の外周と前記シール部の内周との間に対応する箇所や前記シール部に対応する箇所)に前記高エネルギ体を照射又は噴射してもよい。こうすれば、照射又は噴射される高エネルギ体によって電極アセンブリの電極がダメージを受けるおそれが少ない。
本発明の燃料電池解体方法において、前記解体助長ステップでは、前記一対のセパレータの少なくとも一方のセパレータの外面のうち前記電極の外周と前記シール部の内周との間に対応する箇所に前記高エネルギ体を噴射又は照射してもよい。こうすれば、作業者が工具を使ってセパレータの外面やセパレータ同士の間隙に外力を付与するのに比べて、作業負担が軽くて済む。ここで、高エネルギ体を照射又は噴射するにあたり、レーザビームを照射してもよいし、高圧縮流体を噴射してもよいし、セパレータよりも高硬度の粒子を噴射してもよい。なお、レーザとしては、例えばYAGレーザ、ルビーレーザなどの固体レーザ、ガリウムヒ素レーザなどの半導体レーザ、炭酸レーザ、ヘリウムネオンレーザ、アルゴンレーザ、エキシマレーザなどの気体レーザなどが挙げられるが、セパレータの材質に応じて適宜選択すればよい。高圧縮流体としては、例えば、圧縮空気などの圧縮気体や高圧水などの高圧液体のほか、硅砂、金属粒、ガラス粒、セラミック粒などの研磨材を加えた圧縮気体や高圧液体などが挙げられるが、これもセパレータの材質に応じて適宜選択すればよい。高硬度の粒子としては、例えば、アルミナセラミック粒や炭化珪素セラミック粒などのセラミック粒や鋼鉄粒などの金属粒が挙げられるが、これもセパレータの材質に応じて適宜選択すればよい。
次に、本発明を実施するための最良の形態を実施例を用いて以下に説明する。
[第1実施例]
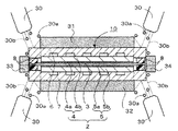
図1は、第1実施例の燃料電池10の概略構成を表す説明図で(a)は平面図、(b)は(a)のA−A断面図である。
本実施例の燃料電池10は、固体高分子型燃料電池であって、主として、固体電解質膜3の両面に電極4,5が配置された膜電極アセンブリ(Membrane Electrode Assembly、以下MEAという)2と、このMEA2の周囲に配設されたシール部8と、MEA2を両面から挟み込んだ状態でシール部8と接着された一対のセパレータ6,7とを備えている。この燃料電池10は、単セルと呼ばれるものであり起電力が0.6〜0.8V程度である。このため、例えば車両の駆動モータの供給電源として使用する場合には、多数の燃料電池10を緊密に積層することで数百Vの直流電源とする。
MEA2は、固体電解質膜3を二つの電極、つまり燃料極であるアノード4と酸素極であるカソード5とで挟みこんだものである。本実施例のMEA2は、固体電解質膜3の面積がアノード4やカソード5の面積よりも大きい。ここで、固体電解質膜3は、湿潤状態で良好なプロトン伝導性を有する固体高分子材料で作製された膜であり、具体的にはフッ素系樹脂により形成された膜(デュポン社製のナフィオン膜等)などが挙げられる。また、アノード4及びカソード5は、それぞれ触媒電極4a,5aとガス拡散電極4b,5bとによって構成されている。触媒電極4a,5aは、固体電解質膜3に接触する側に位置し、白金微粒子を担持させた導電性カーボンブラックにより形成されている。一方、ガス拡散電極4b,5bは、触媒電極4a,5aに積層され、炭素繊維からなる糸で織成したカーボンクロスにより形成されている。なお、触媒電極4a,5aに含まれる白金は、水素をプロトンと電子に分けるのを促進したり酸素とプロトンと電子から水を生成する反応を促進する作用を有するものであるが、同様の作用を有するものであれば白金以外のものを用いてもよい。また、ガス拡散電極4b,5bは、カーボンクロスのほか、炭素繊維からなるカーボンペーパーまたはカーボンフェルトによって形成してもよく、十分なガス拡散性および導電性を有していればよい。
一対のセパレータ6,7は、それぞれガス不透過の発熱性導体、本実施例ではカーボンを圧縮してガス不透過とした成形カーボンにより形成されているが、ステンレス鋼などの金属により形成されていてもよい。両セパレータ6,7は、燃料ガスを供給するための燃料ガス供給孔6a,7aと、燃料ガスを排出するための燃料ガス排出孔6b,7bと、酸化ガスを供給するための酸化ガス供給孔6c,7cと、酸化ガスを排出するための酸化ガス排出孔6d,7dと、冷媒(例えば冷却液)を供給するための冷媒供給孔6e,7eと、冷媒を排出するための冷媒排出孔6f,7fとを備えている。また、一方のセパレータ6には、MEA2のアノード4と接触する面に燃料ガスを通過させる燃料ガス通路6gが形成され、他方の面に冷媒を通過させる冷媒通路(図示略)が形成されている。このうち、燃料ガス通路6gは複数の凹溝で構成され燃料ガス供給孔6aや燃料ガス排出孔6bには通じているが他の孔には通じておらず、冷媒通路は冷媒供給孔6eや冷媒排出孔6fには通じているが他の孔には通じていない。もう一方のセパレータ7には、MEA2のカソード5と接触する面に酸化ガスを通過させる酸化ガス通路7gが形成され、他方の面に冷媒を通過させる冷媒通路(図示略)が形成されている。このうち、酸化ガス通路7gは複数の凹溝で構成され酸化ガス供給孔7cや酸化ガス排出孔7dには通じているが他の孔には通じておらず、冷媒通路は冷媒供給孔7eと冷媒排出孔7fには通じているが他の孔には通じていない。
シール部8は、MEA2の固体電解質膜3のうちアノード4やカソード5が設けられていない外周部分の全周にわたって接着剤(例えばエポキシ系接着剤)を固化することにより形成した層である。このシール部8は、固体電解質膜3とセパレータ6によって囲まれる燃料ガスが存在する空間をシールすると共に固体電解質膜3とセパレータ7によって囲まれる酸化ガスが存在する空間をシールしている。なお、シール部8には、セパレータ6,7に設けられた各孔6a〜6f,7a〜7fの位置に合わせて貫通孔が設けられている。また、シール部8は、ガスケットで形成されていてもよい。
次に、燃料電池10の発電について説明する。燃料電池10を発電させるには、燃料電池10の外部から、燃料ガス供給孔6a,7aに燃料ガスとして加湿した水素を供給すると共に酸化ガス供給孔6c,7cに酸化ガスとしてエアを供給する。すると、水素は燃料ガス供給孔6aから燃料ガス通路6gを経て燃料ガス排出孔6bへと流れたあと外部へ排出され、エアは酸化ガス供給孔7cから酸化ガス通路7gを経て酸化ガス排出孔7dへと流れたあと外部へ排出される。そして、燃料ガス通路6gを通過する水素は、アノード4のガス拡散電極4bで拡散されて触媒電極4aに至り、この触媒電極4aでプロトンと電子に分かれる。このうちプロトンは湿潤状態の固体電解質膜3を伝導してカソード5に移動し、電子は図示しない外部回路を通ってカソードに移動する。また、酸化ガス通路7gを通過するエアは、カソード5のガス拡散電極5bで拡散されて触媒電極5aに至る。そして、カソード5でプロトンと電子とエア中の酸素とが反応して水が生成し、この反応により起電力が生じる。また、燃料電池10を発電に適した温度域(例えば70〜80℃)に維持するために、外部から冷媒供給孔6e,7eへ冷媒を供給する。この冷媒は、セパレータ6,7に設けられた図示しない冷媒通路を経て冷媒排出孔6f,7fから排出され、図示しない熱交換器で低温化されたあと再び冷媒供給孔6e,7eへ供給される。なお、MEA2の固体電解質膜3はプロトンを伝導する役割を果たすほか、燃料電池10の内部でエアと水素とが直接接触するのを防ぐ隔離膜としての役割も果たしている。また、シール部8は、MEA2の外周部分でエアと水素とが混合するのを防止すると共に、これらのガスが燃料電池10の外部へ漏れ出すのを防止している。
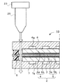
次に、この燃料電池10を解体する必要が生じたときの解体手順について図2及び図3に基づいて説明する。図2及び図3は、燃料電池10にレーザ照射するときの様子を表す斜視図及び断面図である。ここでは、XY平面をなすテーブル面21と、このテーブル面21の上方をXY方向に移動するキャリッジ23と、このキャリッジ23に取り付けられたレーザ照射装置25とを備えたレーザ加工装置20を用いて、燃料電池10の解体を助長する。まず、テーブル面21上に燃料電池10を位置決めして固定する。このテーブル面21には、燃料電池10のアウトラインを囲むように4つの位置決めブロック21aが突設されているため、この4つの位置決めブロック21aに内接するように燃料電池10を配置することにより位置決めして固定する。次に、図示しないレーザ発振器から発振されたレーザビームをレーザ照射装置25から燃料電池10のセパレータ6の外面に照射する。ここで、キャリッジ23は、燃料電池10のセパレータ6の外面のうちMEA2の電極4,5の外周ラインとシール部8の内周ラインとの間に対応する箇所をトレースラインTとしこのトレースラインT上をレーザ照射装置25がレーザ照射するように移動していく。なお、キャリッジ23の移動制御は図示しないコントローラによって行われる。また、レーザ出力は、レーザビームの照射された部分が一対のセパレータ6,7及び固体電解質膜3を貫通するように調整されている。この結果、燃料電池10の全周にわたってセパレータ6,7がMEA2の電極4,5の外周ラインとシール部8の内周ラインとの間で切断された状態となる。その後、作業者はセパレータ6を取り外してMEA2(電極4,5の外周ライン付近で切断されたもの)を取り出して回収する。
以上詳述した第1実施例によれば、燃料電池10の外側からセパレータ6の外面にレーザビームを照射してエネルギを付与するため、例えば特許文献1のように燃料電池の内側から外側に向かう力を付与する場合に比べて、比較的大きなエネルギをセパレータ6の外面に付与しすい。したがって、燃料電池10を確実に解体することができる。また、セパレータ6の外面のうちMEA2の電極4,5の外周ラインとシール部8の内周ラインとの間に対応するトレースラインTに沿ってレーザビームを照射するため、レーザビームによってMEA2の電極4,5がダメージを受けるおそれが少ない。更に、レーザビームを利用するため、作業者が工具を使ってセパレータ6の外面に外力を付与するのに比べて作業負担が軽くて済むし作業騒音も小さい。
なお、上述した第1実施例では、燃料電池10の外側からセパレータ6の外面にレーザビームを照射したが、レーザビームの代わりに高圧縮流体として高圧水を噴射してもよい。即ち、レーザ照射装置25の代わりに高圧水噴射ノズルをキャリッジ23に取り付け、セパレータ6の外面のトレースラインTに沿って高圧水を噴射してセパレータ6,7及び固体電解質膜3を切断してもよい。この場合も第1実施例と同様の効果が得られる。ただし、セパレータ6,7の材質によっては高圧水だけでは切断できないこともあるので、そのときには高圧水に硅砂、金属粒、ガラス粒、セラミック粒などの研磨材を加えてもよい。
また、上述した第1実施例では、燃料電池10を固定しておきレーザ照射装置25をXY方向に移動させたが、レーザ照射装置25を固定しておき燃料電池10をXY方向に移動させてもよい。あるいは、レーザ照射装置25を手動で移動させてもよい。
更に、上述した第1実施例では、レーザ出力をセパレータ6,7及び固体電解質膜3を貫通するように調整したが、セパレータ6と固体電解質膜3を貫通するがセパレータ7は貫通しないように調整してもよい。この場合も、セパレータ6を取り外してMEA2(電極4,5の外周ラインで切断されたもの)を回収することができる。
更にまた、上述した第1実施例では、セパレータ6の外面のうちMEA2の電極4,5の外周ラインとシール部8の内周ラインとの間に対応するトレースラインTにレーザビームを照射したが、セパレータ6の外面のうちシール部8に対応する箇所をトレースラインとしてレーザビームを照射してもよい。この場合、レーザビームによる切断が終了したあとセパレータ6,7にシール部8の一部が付着していたとしても、シール部8の全体が付着している場合に比べて接着面積が小さいので接着力が低くなり、作業者が工具等を利用すれば容易且つ確実にセパレータ6を取り外すことができる。
そしてまた、上述した第1実施例では、燃料電池10の上方からセパレータ6の外面にレーザビームを照射したが、燃料電池10の側方から一対のセパレータ6,7の間隙つまりシール部8にレーザビームを照射してもよい。例えば、燃料電池10の側方からセパレータ6と固体電解質膜3との間のシール部8に燃料電池10の全周にわたってレーザビームを照射したあと、セパレータ7と固体電解質膜3との間のシール部8に燃料電池10の全周にわたってレーザビームを照射してもよい。この場合も、第1実施例と同様の効果が得られる。なお、この場合、MEA2の電極4,5にレーザビームが達しないように調整することが好ましい。
[第2実施例]
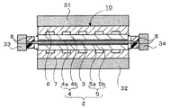
第2実施例は、第1実施例と同様の燃料電池10を別の方法により解体を助長する一例である。ここでは、燃料電池10の構成や発電動作についての説明は、第1実施例と同じであるため省略する。燃料電池10を解体する必要が生じたときの解体手順について図4〜図6に基づいて説明する。図4は燃料電池10にショットブラストを行うときの様子を表す断面図、図5はショットブラストを行ったあとの様子を表す断面図、図6はブラスト加工後にMEAを取り出す様子を表す断面図である。まず、電極4,5と同じ面積の保護ブロック31,32で一対のセパレータ6,7を両面から挟み込む。これにより、保護ブロック31,32がセパレータ6,7のうち電極4,5に対応する面積部分を覆う。また、一対のセパレータ6,7の間隙を覆うことのできる厚さの保護ブロック33,34を燃料電池10の全周に配置する。これにより、保護ブロック33,34がセパレータ6,7の間隙を全周にわたって覆う。これらの保護ブロック31〜34は、後述する高硬度粒子30aよりも硬度の高い材料で形成されている。次に、燃料電池10のうち保護ブロック31〜34で覆われていない部分にブラストガン30の噴射口を向けて、この噴射口から高硬度粒子30aを含む圧縮空気30bを噴射する。このブラストガン30は、カーボン製のセパレータ6,7よりも硬度の高い粒子(高硬度粒子)30aと図示しないエアコンプレッサからの圧縮空気30bとが内部に供給されるように構成され、両者を混合した状態で噴射口から噴射する。そして、噴射された高硬度粒子30aは、圧縮空気30bによって高速化され高いエネルギを持った状態でセパレータ6,7と衝突する。また、圧縮空気30bの圧力は、高速化された高硬度粒子30aがセパレータ6,7と衝突したときにその衝突箇所を破壊することのできる値に設定されている。したがって、セパレータ6,7のうちブラストガン30から噴射された高硬度粒子30aが衝突した箇所は次々と破壊されていく。そして、燃料電池10のうち保護ブロック31〜34で覆われていない部分のすべてに高硬度粒子30aを噴射していく。すると、図5に示すようにセパレータ6,7は電極4,5に対応する面積部分を残して破壊された状態となる。その後、図6に示すように保護ブロック31〜34を除去し、セパレータ6,7を取り外してMEA2(固体電解質膜3の外周にシール部8が残存しているもの)を取り出して回収する。
以上詳述した第2実施例によれば、燃料電池10の外側からセパレータ6,7の外面に高速化した高硬度粒子30aを高エネルギ体として噴射するため、例えば特許文献1のように燃料電池の内側から外側に向かう力を付与する場合に比べて、比較的大きなエネルギをセパレータ6,7の外面に付与しすい。したがって、燃料電池10を確実に解体することができる。また、セパレータ6,7の外面のうちMEA2の電極4,5の外周ラインよりも外側に高硬度粒子30aを噴射するため、高硬度粒子30aによってMEA2の電極4,5がダメージを受けるおそれが少ないし、作業者が工具を使ってセパレータ6,7の外面に外力を付与するのに比べて作業負担が軽くて済む。
なお、上述した第1、第2実施例では固体電解質膜形(高分子電解質形)の燃料電池について説明したが、他のタイプの燃料電池、例えば固体酸化物形、溶融炭酸塩形、リン酸形、アルカリ水溶液形等の燃料電池についても同様にして本発明を適用することができる。また、シール部8やガスケット60,70の材質は、シール性が確保できるものであれば特に限定されないが、例えばエンジニアリングプラスチック、エポキシ樹脂、フェノール樹脂、ポリイミド樹脂、フッ素樹脂(PTFEやPFAなど)、不飽和ポリエステル樹脂、ポリプロピレンなどが挙げられる。
本発明は上述した実施例に何ら限定されることはなく、本発明の技術的範囲に属する限り種々の態様で実施し得ることはいうまでもない。
燃料電池の概略構成を表す説明図であり、(a)は平面図、(b)はA−A断面図である。 燃料電池にレーザ照射するときの様子を表す斜視図である。 燃料電池にレーザ照射するときの様子を表す断面図である。 燃料電池にショットブラストを行うときの様子を表す断面図である。 燃料電池にショットブラストを行ったあとの様子を表す断面図である。 ブラスト加工後にMEAを取り出すときの様子を表す断面図である。
符号の説明
2…MEA、3…固体電解質膜、4…アノード(電極)、4a…触媒電極、4b…ガス拡散電極、5…カソード(電極)、5a…触媒電極、5b…ガス拡散電極、6…セパレータ、6a…燃料ガス供給孔、6b…燃料ガス排出孔、6c…酸化ガス供給孔、6d…酸化ガス排出孔、6e…冷媒供給孔、6f…冷媒排出孔、6g…燃料ガス通路、6h…突堤、6i…ガスケット挿入溝、6k…ガスケット挿入溝、7…セパレータ、7a…燃料ガス供給孔、7b…燃料ガス排出孔、7c…酸化ガス供給孔、7d…酸化ガス排出孔、7e…冷媒供給孔、7f…冷媒排出孔、7g…酸化ガス通路、8…シール部、10…燃料電池、20…レーザ加工装置、21…テーブル面、21a…位置決めブロック、23…キャリッジ、25…レーザ照射装置、30…ブラストガン、30a…高硬度粒子、30b…圧縮空気、31〜34…保護ブロック。

Claims (7)

  1. 電解質の両面に電極が配置された電極アセンブリの周囲にシール部が配設され該電極アセンブリを両面から挟み込む一対のセパレータが前記シール部を介して接着された燃料電池を解体する方法であって、
    前記一対のセパレータの少なくとも一方のセパレータの外面又は前記一対のセパレータの間隙に前記燃料電池の外側からエネルギ体を照射又は噴射することにより前記燃料電池の解体を助長する解体助長ステップ、
    を含む燃料電池解体方法。
  2. 前記解体助長ステップでは、前記一対のセパレータの少なくとも一方のセパレータの外面のうち前記電極の外周の外側に対応する箇所に前記エネルギ体を照射又は噴射する、請求項1記載の燃料電池解体方法。
  3. 前記解体助長ステップでは、前記一対のセパレータの少なくとも一方のセパレータの外面のうち前記電極の外周と前記シール部の内周との間に対応する箇所に前記エネルギ体を噴射又は照射する、請求項1記載の燃料電池解体方法。
  4. 前記解体助長ステップでは、前記一対のセパレータの少なくとも一方のセパレータの外面のうち前記シール部に対応する箇所に前記エネルギ体を噴射又は照射する、請求項1記載の燃料電池解体方法。
  5. 前記解体助長ステップでは、前記一対のセパレータの少なくとも一方のセパレータの外面に前記燃料電池の外側からレーザビームを照射する、請求項1〜4のいずれか記載の燃料電池解体方法。
  6. 前記解体助長ステップでは、前記一対のセパレータの少なくとも一方のセパレータの外面に前記燃料電池の外側から高圧縮流体を噴射する、請求項1〜4のいずれか記載の燃料電池解体方法。
  7. 前記解体助長ステップでは、前記一対のセパレータの少なくとも一方のセパレータの外面に前記燃料電池の外側から該セパレータよりも高硬度の粒子を噴射する、請求項1〜のいずれか記載の燃料電池解体方法。
JP2004029769A 2004-02-05 2004-02-05 燃料電池解体方法 Expired - Fee Related JP4635448B2 (ja)

Priority Applications (1)

Application Number Priority Date Filing Date Title
JP2004029769A JP4635448B2 (ja) 2004-02-05 2004-02-05 燃料電池解体方法

Applications Claiming Priority (1)

Application Number Priority Date Filing Date Title
JP2004029769A JP4635448B2 (ja) 2004-02-05 2004-02-05 燃料電池解体方法

Publications (2)

Publication Number Publication Date
JP2005222818A JP2005222818A (ja) 2005-08-18
JP4635448B2 true JP4635448B2 (ja) 2011-02-23

Family

ID=34998283

Family Applications (1)

Application Number Title Priority Date Filing Date
JP2004029769A Expired - Fee Related JP4635448B2 (ja) 2004-02-05 2004-02-05 燃料電池解体方法

Country Status (1)

Country Link
JP (1) JP4635448B2 (ja)

Family Cites Families (4)

* Cited by examiner, † Cited by third party
Publication number Priority date Publication date Assignee Title
JPS5669155A (en) * 1979-11-12 1981-06-10 Daiken Trade & Industry Manufacture of smoothly planed board with uneven pattern
AU2002210302A1 (en) * 2000-11-08 2002-05-21 Fuelcell Energy, Ltd. Fuel cell interconnect
JP2002151112A (ja) * 2000-11-10 2002-05-24 Nissan Motor Co Ltd 燃料電池およびその分解方法
JP2003306382A (ja) * 2002-04-10 2003-10-28 Unitika Ltd アモルファスカーボン成形体及びその製造方法

Also Published As

Publication number Publication date
JP2005222818A (ja) 2005-08-18

Similar Documents

Publication Publication Date Title
CN1209839C (zh) 带有整体密封边缘的薄膜电极单元及其制造方法
JP4779346B2 (ja) 燃料電池解体方法
JP2005166624A (ja) 燃料電池、その分解方法およびそのセパレータ
CN105027340B (zh) 用于燃料电池的双极性板、燃料电池以及用于制造双极性板的方法
EP2916376A1 (en) Cell module and fuel cell stack
JP2007214101A (ja) 電解質膜−電極接合体およびその製造方法
CN105518918A (zh) 燃料电池
JP2005209624A (ja) 燃料電池分解方法及び燃料電池
JP4635448B2 (ja) 燃料電池解体方法
US8105726B2 (en) Fuel cell separator, method of manufacturing fuel cell separator, and fuel cell
JP2006100267A (ja) 固体高分子電解質膜電極接合体及び固体高分子形燃料電池
JP6569582B2 (ja) 燃料電池用セパレータの製造方法
CA2478210C (en) Method for inerting the anodes of fuel cells
JP2008135295A (ja) 固体高分子形燃料電池用ガス拡散層要素、固体高分子形燃料電池およびその製造方法
JP4411968B2 (ja) 燃料電池解体方法及び燃料電池
JP2019185922A (ja) 燃料電池セルの製造方法
JPS63119155A (ja) 扁平形電池の製造方法
JP2007048568A (ja) 燃料電池の膜・電極接合体,燃料電池および膜・電極接合体の製造方法
JP7677486B2 (ja) 燃料電池用のセパレータ及びその製造方法
US20240250279A1 (en) Electrochemical cell and method for producing an electrochemical cell
JP6055007B2 (ja) 膜電極接合体の製造方法
JP2007329083A (ja) 燃料電池
JP2014139884A (ja) 燃料電池用金属セパレータ
JP6467788B2 (ja) レーザ加工装置およびレーザ加工方法
CN100446313C (zh) 燃料电池拆卸方法和燃料电池

Legal Events

Date Code Title Description
A621 Written request for application examination

Free format text: JAPANESE INTERMEDIATE CODE: A621

Effective date: 20061020

A977 Report on retrieval

Free format text: JAPANESE INTERMEDIATE CODE: A971007

Effective date: 20100531

A131 Notification of reasons for refusal

Free format text: JAPANESE INTERMEDIATE CODE: A131

Effective date: 20100706

A521 Request for written amendment filed

Free format text: JAPANESE INTERMEDIATE CODE: A523

Effective date: 20100806

TRDD Decision of grant or rejection written
A01 Written decision to grant a patent or to grant a registration (utility model)

Free format text: JAPANESE INTERMEDIATE CODE: A01

Effective date: 20101026

A01 Written decision to grant a patent or to grant a registration (utility model)

Free format text: JAPANESE INTERMEDIATE CODE: A01

A61 First payment of annual fees (during grant procedure)

Free format text: JAPANESE INTERMEDIATE CODE: A61

Effective date: 20101108

FPAY Renewal fee payment (event date is renewal date of database)

Free format text: PAYMENT UNTIL: 20131203

Year of fee payment: 3

R151 Written notification of patent or utility model registration

Ref document number: 4635448

Country of ref document: JP

Free format text: JAPANESE INTERMEDIATE CODE: R151

FPAY Renewal fee payment (event date is renewal date of database)

Free format text: PAYMENT UNTIL: 20131203

Year of fee payment: 3

LAPS Cancellation because of no payment of annual fees