JP4626652B2 - 弾性波フィルタ装置 - Google Patents
弾性波フィルタ装置 Download PDFInfo
- Publication number
- JP4626652B2 JP4626652B2 JP2007529186A JP2007529186A JP4626652B2 JP 4626652 B2 JP4626652 B2 JP 4626652B2 JP 2007529186 A JP2007529186 A JP 2007529186A JP 2007529186 A JP2007529186 A JP 2007529186A JP 4626652 B2 JP4626652 B2 JP 4626652B2
- Authority
- JP
- Japan
- Prior art keywords
- acoustic wave
- filter device
- wave filter
- surface acoustic
- ground potential
- Prior art date
- Legal status (The legal status is an assumption and is not a legal conclusion. Google has not performed a legal analysis and makes no representation as to the accuracy of the status listed.)
- Active
Links
Images
Classifications
-
- H—ELECTRICITY
- H03—ELECTRONIC CIRCUITRY
- H03H—IMPEDANCE NETWORKS, e.g. RESONANT CIRCUITS; RESONATORS
- H03H9/00—Networks comprising electromechanical or electro-acoustic elements; Electromechanical resonators
- H03H9/46—Filters
- H03H9/64—Filters using surface acoustic waves
- H03H9/6406—Filters characterised by a particular frequency characteristic
- H03H9/6409—SAW notch filters
-
- H—ELECTRICITY
- H03—ELECTRONIC CIRCUITRY
- H03H—IMPEDANCE NETWORKS, e.g. RESONANT CIRCUITS; RESONATORS
- H03H9/00—Networks comprising electromechanical or electro-acoustic elements; Electromechanical resonators
- H03H9/02—Details
- H03H9/05—Holders or supports
- H03H9/0538—Constructional combinations of supports or holders with electromechanical or other electronic elements
- H03H9/0542—Constructional combinations of supports or holders with electromechanical or other electronic elements consisting of a lateral arrangement
Landscapes
- Physics & Mathematics (AREA)
- Acoustics & Sound (AREA)
- Surface Acoustic Wave Elements And Circuit Networks Thereof (AREA)
Description
(発明の効果)
2〜4…共通接続点
11…弾性表面波フィルタチップ
12…圧電基板
12a〜12f…電極ランド
13a〜13f…バンプ
14…パッケージ基板
14a〜14e…電極ランド
15…IDT電極
16,17…反射器
21…弾性表面波フィルタ装置
22…圧電基板
24…パッケージ基板
24a〜24h…電極ランド
31…弾性表面波フィルタチップ
32…圧電基板
33,34…容量電極
43…弾性表面波フィルタチップ
44…パッケージ基板
42a〜42f…ボンディングワイヤー
44a〜44e…電極ランド
45…圧電基板
51…弾性表面波フィルタチップ
52…圧電基板
53a〜53e…電極ランド
C14…コンデンサ
L11〜L13…インダクタンス
La…共通インダクタンス
Lb…インダクタンス
Lc…寄生インダクタンス
Ld1,Ld2…インダクタンス
Le…寄生インダクタンス分
P1〜P4…弾性波共振子
P11〜P14…弾性波共振子
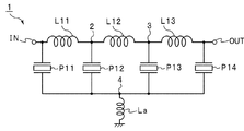
図2において、実線Aは弾性表面波フィルタ装置1の減衰量−周波数特性を示す。また、破線B、実線C及び二点鎖線Dは、それぞれ、弾性波共振子P11,P12,P13のインピーダンス−周波数特性を示し、他方、一点鎖線Eは第3の弾性波共振子P14のインピーダンス−周波数特性を示す。
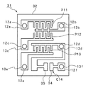
図3は、本実施形態の弾性表面波フィルタ装置1に用いられる弾性表面波フィルタチップ11を示す模式的平面図である。この弾性表面波フィルタチップ11は、矩形の圧電基板12を有する。図3では、圧電基板12が模式的平面図で示されているが、ここでは、圧電基板12の下面に形成されている電極が透視して図示されている。これは、圧電基板12は図示の向きのまま図4に示すパッケージ基板14上に実装されることにより図5(b)に略図的断面図で示す弾性表面波フィルタ装置1の主要部分が構成されることによる。
Claims (7)
- トラップ帯域と、該トラップ帯域の低域側に位置している通過帯域とを有する弾性波フィルタ装置であって、
入力端と出力端との間において直列に接続されている複数のインダクタと、
前記入力端または出力端と、グラウンド電位との間の少なくとも一方に接続されており、トラップ帯域で容量性である容量素子と、
前記入力端または出力端とグラウンド電位との間において、前記容量素子が接続されていない場合に接続されている第1の弾性波共振子と、
互いに隣り合っている前記インダクタンス間の接続点とグラウンド電位との間に接続された第2の弾性波共振子とを備え、
前記の第2の弾性波共振子の共振周波数が前記トラップ帯域内の周波数とされており、
前記容量素子の容量と、前記容量素子に一端が接続されている前記インダクタとの並列共振周波数が前記トラップ帯域内に位置していることを特徴とする、弾性波フィルタ装置。 - 前記容量素子が、前記第2の弾性波共振子の共振周波数よりも共振周波数が高く、前記トラップ帯域及び通過帯域において容量性である第3の弾性波共振子である、請求項1に記載の弾性波フィルタ装置。
- 圧電基板をさらに備え、前記圧電基板上において前記第2の弾性波共振子が構成されている、請求項1または2に記載の弾性波フィルタ装置。
- 前記容量素子が、前記圧電基板に形成されている、請求項3に記載の弾性波フィルタ装置。
- 1つのGNDランドを有するパッケージをさらに備え、前記容量素子及び弾性波共振子のグラウンド電位に接続される端子の全てが、前記GNDランドに電気的に接続されている、請求項3または4に記載の弾性波フィルタ装置。
- 前記容量素子及び前記弾性波共振子のグラウンド電位に接続される端子が、前記圧電基板上に設けられた複数の電極に接続されており、該複数の電極がバンプ接合またはワイヤー接合により、パッケージの前記GNDランドに接続されている、請求項5に記載の弾性波フィルタ装置。
- 前記容量素子及び弾性波共振子のGND電位に接続される端子が、前記圧電基板上に設けられた一つの電極に接続されており、該一つの電極が、前記パッケージのGNDランドに電気的に接続されている、請求項5に記載の弾性波フィルタ装置。
Applications Claiming Priority (3)
| Application Number | Priority Date | Filing Date | Title |
|---|---|---|---|
| JP2005224075 | 2005-08-02 | ||
| JP2005224075 | 2005-08-02 | ||
| PCT/JP2006/310674 WO2007015331A1 (ja) | 2005-08-02 | 2006-05-29 | 弾性波フィルタ装置 |
Publications (2)
| Publication Number | Publication Date |
|---|---|
| JPWO2007015331A1 JPWO2007015331A1 (ja) | 2009-02-19 |
| JP4626652B2 true JP4626652B2 (ja) | 2011-02-09 |
Family
ID=37708614
Family Applications (1)
| Application Number | Title | Priority Date | Filing Date |
|---|---|---|---|
| JP2007529186A Active JP4626652B2 (ja) | 2005-08-02 | 2006-05-29 | 弾性波フィルタ装置 |
Country Status (2)
| Country | Link |
|---|---|
| JP (1) | JP4626652B2 (ja) |
| WO (1) | WO2007015331A1 (ja) |
Families Citing this family (5)
| Publication number | Priority date | Publication date | Assignee | Title |
|---|---|---|---|---|
| WO2007094139A1 (ja) * | 2006-02-13 | 2007-08-23 | Murata Manufacturing Co., Ltd. | Sawフィルタ装置 |
| JP4835814B2 (ja) * | 2010-03-01 | 2011-12-14 | 株式会社村田製作所 | 弾性波フィルタ装置 |
| JP6411288B2 (ja) | 2015-06-09 | 2018-10-24 | 太陽誘電株式会社 | ラダー型フィルタ、分波器およびモジュール |
| WO2022227347A1 (zh) * | 2021-04-26 | 2022-11-03 | 安徽安努奇科技有限公司 | 带阻滤波器与多频带阻滤波器 |
| US12040780B2 (en) | 2021-04-26 | 2024-07-16 | Anhui Anuki Technologies Co., Ltd. | Band-stop filter and multi-frequency band-stop filter |
Family Cites Families (7)
| Publication number | Priority date | Publication date | Assignee | Title |
|---|---|---|---|---|
| JP3445811B2 (ja) * | 1992-09-14 | 2003-09-08 | 株式会社日立製作所 | 高周波回路装置および無線機 |
| JP3229072B2 (ja) * | 1993-06-14 | 2001-11-12 | 株式会社日立製作所 | 弾性表面波装置 |
| JPH0998056A (ja) * | 1995-09-29 | 1997-04-08 | Toshiba Corp | 弾性表面波装置 |
| JP2000101388A (ja) * | 1998-09-22 | 2000-04-07 | Oki Electric Ind Co Ltd | 弾性表面波フィルタパッケージ |
| WO2000030252A1 (en) * | 1998-11-13 | 2000-05-25 | Matsushita Electric Industrial Co., Ltd. | Surface acoustic wave filter |
| JP2004129238A (ja) * | 2002-09-10 | 2004-04-22 | Matsushita Electric Ind Co Ltd | 帯域阻止型フィルタ、フィルタ装置、アンテナ共用器、通信機器 |
| US6879224B2 (en) * | 2002-09-12 | 2005-04-12 | Agilent Technologies, Inc. | Integrated filter and impedance matching network |
-
2006
- 2006-05-29 JP JP2007529186A patent/JP4626652B2/ja active Active
- 2006-05-29 WO PCT/JP2006/310674 patent/WO2007015331A1/ja not_active Ceased
Also Published As
| Publication number | Publication date |
|---|---|
| JPWO2007015331A1 (ja) | 2009-02-19 |
| WO2007015331A1 (ja) | 2007-02-08 |
Similar Documents
| Publication | Publication Date | Title |
|---|---|---|
| JP6752287B2 (ja) | 弾性波フィルタ、弾性波デバイス、分波器および通信装置 | |
| US8710940B2 (en) | Elastic wave device having a capacitive electrode on the piezoelectric substrate | |
| JP5482972B1 (ja) | 弾性波フィルタ装置及びデュプレクサ | |
| US7479848B2 (en) | Acoustic wave filter device | |
| US9998098B2 (en) | Band pass filter and duplexer | |
| JP2010011300A (ja) | 共振器、該共振器を用いるフィルタ及びデュプレクサ | |
| JP4640502B2 (ja) | Sawフィルタ装置 | |
| CN102067447A (zh) | 弹性边界波装置 | |
| CN108476016A (zh) | 高频模块 | |
| JPWO2017110993A1 (ja) | 高周波モジュール | |
| KR102329364B1 (ko) | 탄성파 필터 장치, 복합 필터 장치 및 멀티플렉서 | |
| JP2012175438A (ja) | ノッチフィルタ | |
| JP6750528B2 (ja) | 弾性波フィルタ装置 | |
| JP3856428B2 (ja) | 弾性表面波素子および弾性表面波装置 | |
| JP4626652B2 (ja) | 弾性波フィルタ装置 | |
| JPWO2007023643A1 (ja) | 弾性波フィルタ | |
| JP6766945B2 (ja) | 弾性波装置及びその製造方法 | |
| JP3981590B2 (ja) | 弾性表面波フィルタ素子、弾性表面波フィルタ素子用ベース基板及び弾性表面波フィルタ素子を備える弾性表面波装置 | |
| US20180083600A1 (en) | Elastic wave apparatus | |
| KR102829481B1 (ko) | 필터 장치 | |
| WO2017208856A1 (ja) | 弾性波フィルタ装置 | |
| JP3697308B2 (ja) | 弾性表面波装置 | |
| CN116210155B (zh) | 多工器 | |
| US20240283429A1 (en) | Filter device | |
| WO2024106269A1 (ja) | フィルタ、モジュール及び通信装置 |
Legal Events
| Date | Code | Title | Description |
|---|---|---|---|
| A131 | Notification of reasons for refusal |
Free format text: JAPANESE INTERMEDIATE CODE: A131 Effective date: 20100629 |
|
| A521 | Request for written amendment filed |
Free format text: JAPANESE INTERMEDIATE CODE: A523 Effective date: 20100806 |
|
| TRDD | Decision of grant or rejection written | ||
| A01 | Written decision to grant a patent or to grant a registration (utility model) |
Free format text: JAPANESE INTERMEDIATE CODE: A01 Effective date: 20101012 |
|
| A01 | Written decision to grant a patent or to grant a registration (utility model) |
Free format text: JAPANESE INTERMEDIATE CODE: A01 |
|
| A61 | First payment of annual fees (during grant procedure) |
Free format text: JAPANESE INTERMEDIATE CODE: A61 Effective date: 20101025 |
|
| FPAY | Renewal fee payment (event date is renewal date of database) |
Free format text: PAYMENT UNTIL: 20131119 Year of fee payment: 3 |
|
| R150 | Certificate of patent or registration of utility model |
Ref document number: 4626652 Country of ref document: JP Free format text: JAPANESE INTERMEDIATE CODE: R150 Free format text: JAPANESE INTERMEDIATE CODE: R150 |
