JP4608403B2 - 光走査装置およびそれを用いた画像形成システム - Google Patents

光走査装置およびそれを用いた画像形成システム Download PDF

Info

Publication number
JP4608403B2
JP4608403B2 JP2005270805A JP2005270805A JP4608403B2 JP 4608403 B2 JP4608403 B2 JP 4608403B2 JP 2005270805 A JP2005270805 A JP 2005270805A JP 2005270805 A JP2005270805 A JP 2005270805A JP 4608403 B2 JP4608403 B2 JP 4608403B2
Authority
JP
Japan
Prior art keywords
scanning
optical
plane
image
scanning device
Prior art date
Legal status (The legal status is an assumption and is not a legal conclusion. Google has not performed a legal analysis and makes no representation as to the accuracy of the status listed.)
Expired - Fee Related
Application number
JP2005270805A
Other languages
English (en)
Other versions
JP2007079482A (ja
Inventor
進 菊地
Current Assignee (The listed assignees may be inaccurate. Google has not performed a legal analysis and makes no representation or warranty as to the accuracy of the list.)
Samsung Electronics Co Ltd
Original Assignee
Samsung Electronics Co Ltd
Priority date (The priority date is an assumption and is not a legal conclusion. Google has not performed a legal analysis and makes no representation as to the accuracy of the date listed.)
Filing date
Publication date
Application filed by Samsung Electronics Co Ltd filed Critical Samsung Electronics Co Ltd
Priority to JP2005270805A priority Critical patent/JP4608403B2/ja
Publication of JP2007079482A publication Critical patent/JP2007079482A/ja
Application granted granted Critical
Publication of JP4608403B2 publication Critical patent/JP4608403B2/ja
Anticipated expiration legal-status Critical
Expired - Fee Related legal-status Critical Current

Links

Images

Landscapes

  • Laser Beam Printer (AREA)
  • Mechanical Optical Scanning Systems (AREA)
  • Facsimile Scanning Arrangements (AREA)

Description

本発明は、光走査装置およびそれを用いた画像形成システムに関する。
従来、例えば、複写機、レーザプリンタなどの画像形成システムにおいて、色分解された画像信号に基づき、複数の走査ビームを変調して、露光走査を行い、複数色の画像を形成してそれらを重ね合わせることによりフルカラー画像を形成するものが知られている。
例えば、特許文献1には、4つのレーザビームを、2つの回転多面鏡で偏向して、感光ドラム上で露光走査することにより4色の画像を形成し、それらを重ね合わせてフルカラー画像を形成するカラー画像形成装置が記載されている。
特公平4−51829号公報(図1、4)
しかしながら、上記のような従来の光走査装置およびそれを用いた画像形成システムには、以下のような問題があった。
特許文献1に記載の技術では、回転多面鏡およびそれを駆動するモータを共用することができるものの、光源およびfθレンズなどの走査光学系を別個に備えるので、部品点数が多くなるとともに、装置が大型化するという問題がある。
本発明は、上記のような問題に鑑みてなされたものであり、簡素かつ小型の構成で複数ビームの露光走査を行う光走査装置およびそれを用いた画像形成システムを提供することを目的とする。
上記の課題を解決するために、本発明の光走査装置は、
光ビームを発生するビーム光源と、該ビーム光源から出射された光ビームにより感光体に対して露光走査を行うために一定走査面内で前記光ビームを主走査方向に偏向走査する光偏向器とを有する光走査装置であって、
前記光偏向器で偏向された光ビームを、その偏向角(以下、走査画角という)の複数の範囲に応じて異なる方向に導いて、前記光偏向器で偏向された光ビームにより形成される走査面を複数の相異なる走査面に分割する走査面分割手段を備える構成とする。さらに、
該走査面分割手段で分割された複数の走査面をそれぞれ折り返して、対応する複数の相異なる感光体に導いて各々像面を形成させる複数の折り返しミラーを備え、
前記複数の折り返しミラーにより、複数の走査面を走査されるそれぞれの光ビームが前記複数の相異なる感光体のうちの対応する感光体の表面上に互いに平行な走査線をなして主走査され、前記複数の互いに平行な走査線を含む平面は、前記主走査方向と直交する副走査方向に平行であり、かつそれぞれの前記走査線の主走査方向の走査幅が前記副走査方向から見て略重なり合う位置関係に形成される。
また、本発明の画像形成システムは、本発明の光走査装置を用いて、多ビームの露光走査を行い、画像を形成する構成とする。
この発明によれば、本発明の光走査装置を用いるので、本発明の光走査装置と同様の作用効果を備える。
本発明の光走査装置およびそれを用いた画像形成システムによれば、1つの偏向走査によりビーム光源を共通使用して複数の露光走査を行うことができるので、複数ビームにより露光走査を行う場合に簡素かつ小型の構成とすることができるという効果を奏する。
以下では、本発明の実施の形態について添付図面を参照して説明する。すべての図面において、実施形態が異なる場合であっても、同一または相当する部材には同一の符号を付し、共通する説明は省略する。
[第1の実施形態]
本発明の第1の実施形態に係る光走査装置について説明する。
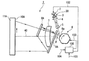
図1、2、3は、本発明の第1の実施形態に係る光走査装置の概略構成について説明するためのそれぞれ上面視、正面視、裏面視の模式的な構成説明図である。図4は、本発明の第1の実施形態に係る光走査装置の光学レイアウト図である。ここで、各図において、光線は一部を除いて軸上主光線のみを記載している。また、図3では、光偏向器に入射するまでの光路を紙面内に展開して図示している。
本実施形態の光走査装置1は、図1に示すように、例えば、画像形成システムの一部に用いられる光記録媒体である感光体11A、11Bなどの表面に、それぞれ像面10A、10Bを一致させ、それぞれの上で露光走査を行う2ビームの光走査装置である。その概略構成は、制御部100、レーザ光源2、コリメートレンズ3、ビーム整形スリット4、シリンドリカルレンズ5、ポリゴンスキャナ6、fθレンズ7、走査面分割ミラー8A、8B、および折り返しミラー9A、9Bからなる。
制御部100は、光走査装置1の制御全般を行うもので、少なくとも、レーザ光源2、ポリゴンスキャナ6、同期検知センサ14と電気的に接続され、外部から入力される情報信号101に基づいてレーザ光源2を駆動するレーザ駆動信号102、ポリゴンスキャナ6をON/OFF制御するとともに、ON時に等角速度で回転せしめるポリゴンスキャナ駆動信号103を、それぞれレーザ光源2、ポリゴンスキャナ6に対して送出するとともに、後述する同期検知センサ14から同期検知信号104の供給を受けて走査開始位置の同期制御を行うものである。
レーザ光源2は、感光体11A、11Bに対して十分な感度を有する波長光からなるレーザビーム30を出射するためのもので、例えば半導体レーザからなる。レーザ光源2は、制御部100から送出されてきたレーザ駆動信号102に基づいて駆動する。これにより、レーザ光源2から情報信号101に基づいて変調されたレーザビーム30が出射される。
コリメートレンズ3は、レーザ光源2から出射されたレーザビーム30を略平行光に集光する光学素子である。
ビーム整形スリット4は、コリメートレンズ3により略平行光とされたレーザビーム30を、像面10A、10B上で主走査方向、副走査方向に適宜の結像スポット径にするために、レーザビーム30のビーム形状を整形する部材である。ビーム整形スリット4には、後述するfθレンズ7、シリンドリカルレンズ5の光学特性に応じて、遮光板上に適宜の大きさを有する楕円状、矩形状、長円状などの開口が形成された部材を採用することができる。
なお、以下では、誤解の恐れがないかぎり、主走査方向および副走査方向を広義の意味に用い、走査位置での方向に限らず、各光路に直交する断面の2方向を参照する場合にも用いることにする。すなわち、その光路に沿って進んで像面に到達するときに、像面で主走査方向、副走査方向に一致する方向を、光路上のどの位置でもそれぞれ主走査方向、副走査方向と称する。
シリンドリカルレンズ5は、ビーム整形スリット4を透過したレーザビーム30を主走査方向に延びる線状に結像するための光学素子である。
ポリゴンスキャナ6は、シリンドリカルレンズ5を透過した主走査方向に略平行で、副走査方向に結像されたレーザビーム30を主走査方向に偏向するものであり、本実施形態では、不図示のモータ軸上に6角形のポリゴンミラーが設けられ、制御部100からポリゴンスキャナ駆動信号103の供給を受けて、図1の矢印方向に一定角速度で回転するものである。
シリンドリカルレンズ5の位置は、レーザビーム30を偏向するポリゴンミラー面6a上に略焦点位置が一致するように調整されている。
fθレンズ7は、ポリゴンスキャナ6により偏向され、等角度走査されるレーザビーム30を、一定の像面10A、10B上で等速走査するためのfθ特性を備える走査光学系である。
また、fθレンズ7は、副走査方向には、ポリゴンミラー面6aの面倒れの影響を低減する、いわゆる面倒れ補正を行うために、主走査方向と異なるパワーを備え、レーザビーム30を偏向するポリゴンミラー面6aと、像面10A、10Bとが共役の位置関係になっている。
fθレンズ7は、fθ特性を備える結像光学系であれば、適宜の光学面を備えたレンズまたは適宜の光学面を組み合わせたレンズ群を好適に採用することができる。
本実施形態では、アナモフィックレンズ面を有する単玉レンズから構成されている。
fθレンズ7は、図4に示すように、レーザビーム30の有効走査半画角±θmaxとして、光軸40を中心として、像高±H=±f・θmaxの範囲を走査する走査光学系を形成している。
ここで、像高の符号は、光軸40に関してレーザ光源2の位置する側を正方向とする。
走査面分割ミラー8A、8Bは、fθレンズ7を透過したレーザビーム30を走査画角に応じてそれぞれ異なる方向に偏向し、レーザビーム30の走査面を複数に分割する反射ミラーであり、走査面分割手段の一実施形態をなすものである。
走査面分割ミラー8Aは、走査画角θが次式を満足する範囲で、レーザビーム30を図2においてfθレンズ7の上側に向けて斜めに偏向する反射ミラーである。
θ≦θ≦θmax ・・・(1)
ここで、θは、0°近傍の一定走査画角である。
走査面分割ミラー8Bは、走査画角θが次式を満足する範囲で、レーザビーム30を図2においてfθレンズ7の下側に向けて斜めに偏向する反射ミラーである。
−θmax≦θ≦θ ・・・(2)
ここで、走査画角θ、θは、略等しい値であり、かつθ<θである。
折り返しミラー9A、9Bは、図2に示すように、それぞれ走査面分割ミラー8A、8Bにより偏向されたレーザビーム30を偏向して、その走査線が距離Lだけ離れた平行線となり、かつ図1、3に示すように、各走査線の走査幅が副走査方向から見て略重なり合う位置関係となるようにするための光路折り曲げ手段である。このため、像面10A、10Bは、同一平面上にある。また、本実施形態では、各走査線の走査幅が副走査方向から見て重なり合う範囲を大きくとるために、それぞれの像面における走査範囲は、光軸40に対して略対称となっている。
すなわち、光走査装置1は、前記走査面分割手段で分割された複数の走査面をそれぞれ折り返す複数の折り返しミラーを備え、該複数の折り返しミラーにより、前記複数の走査面を走査されるそれぞれの光ビームが一定の平面上に互いに平行な走査線をなして主走査され、かつそれぞれの主走査方向の走査幅が前記主走査方向と直交する副走査方向から見て略重なり合う位置関係に形成される光走査装置となっている。
このため、各走査線により露光走査された走査線の画像を重ね合わせる画像形成システムに好適な光走査装置となる。
また、光走査装置1は、前記走査面分割手段が、2つ設けられ、それぞれの分割後の光路が、分割前の走査面を挟む位置関係に設けられた光走査装置となっている。
このように配置することにより、像面10A、10Bを離して配置することが容易となり、感光体11A、11Bおよびそのまわりの作像手段などを配置するスペースを確保しやすくなるという利点がある。
さらに、本実施形態のように、折り返しミラー9A、9Bをfθレンズ7と重なり合う位置関係に配置することにより、fθレンズ7の上下のスペースを有効利用することができ、コンパクトな装置を構成することができるという利点がある。すなわち、走査光学系を挟んで互いに反対側の位置に折り返しミラーを配置して、走査光学系と重なり合う位置関係とすることにより、走査光学系の上下方向のスペースを有効利用することができ、コンパクトな装置とすることができるという利点がある。
光走査装置1は、それぞれの走査線の走査開始位置の同期制御を行うために、図3に示すように、折り曲げミラー12、同期検知レンズ13、および同期検知センサ14を備えている。
折り曲げミラー12は、fθレンズ7を透過したレーザビーム30のうち、走査画角が−θ(ただし、θ>θmax)の光を偏向し、同期検知手段に導くためのものである。
同期検知レンズ13は、折り曲げミラー12により光路を折り曲げられたレーザビーム30が、同期検知手段により精度よく検知されるために、結像位置やスポット径の大きさを調整するための集光光学素子である。
同期検知センサ14は、同期検知レンズ13により集光されたレーザビーム30が走査画角−θに対応する所定像高に到来したことを検知して同期検知信号104を発生するための同期検知手段である。例えば、細長い矩形状の受光面を有するPINフォトダイオードとそれに接続された同期検知信号発生回路などからなる。
同期検知センサ14は、制御部100と電気的に接続され、制御部100に同期検知信号104を送出できるようになっている。
すなわち、光走査装置1は、前記露光走査の走査開始位置の同期制御を行うための単数の同期検知手段を備え、該同期検知手段の同期検知信号を、前記複数の走査面の露光走査の同期制御に共通使用するようになっている。
そのため、同期検知手段を複数の露光走査に兼用することができるので、部品点数を削減することができるという利点がある。
また、同期検知手段を1つしか用いないので、同期検知を行うための走査画角範囲が少なくて済むので、有効画像幅を広く取ることができるという利点もある。
次に、本実施形態の光走査装置1の動作について光路に沿って説明する。
情報信号101が制御部100に送出されると、制御部100からレーザ駆動信号102がレーザ光源2に送出され、情報信号101に基づいて変調されたレーザビーム30が出射される。出射されたレーザビーム30は、コリメートレンズ3により略平行光とされ、ビーム整形スリット4に入射し、ビーム整形スリット4の形状により断面形状が整形された略平行光として、シリンドリカルレンズ5に入射される。
シリンドリカルレンズ5を透過したレーザビーム30は、副走査方向に集光され、ポリゴンスキャナ6のポリゴンミラー面6a上の点P(図4参照)に入射し、主走査方向に延びる線状に結像される。
一方、ポリゴンスキャナ6は、制御部100によりレーザ光源2の発振開始に先立って回転が開始され、一定角速度で回転する。
そのため、レーザビーム30が入射すると、レーザビーム30を少なくとも走査画角−θ〜+θmaxの範囲で、一定角速度で繰り返し偏向走査する。
走査画角−θのレーザビーム30は、非画像域にあり、図3に示すように、fθレンズ7により主走査方向および副走査方向に集光され、折り曲げミラー12により偏向され、同期検知レンズ13を透過して、所定のスポット径とされ、同期検知センサ14に導かれる。
同期検知センサ14の位置は光路レイアウトの上では、図4の点Aの像高に相当する。すなわち、f・θ=H+Hである。
そして、レーザビーム30が同期検知センサ14により受光されると、同期検知信号104が生成され、制御部100に送出される。
一方、走査画角θが式(2)を満足する範囲では、fθレンズ7を透過したレーザビーム30は、光学レイアウト上で点Bから点Dまで等速走査する(図4参照)。
また、走査画角θが式(1)を満足する範囲では、fθレンズ7を透過したレーザビーム30は、光学レイアウト上で点Eから点Gまで等速走査する(図4参照)。
実際に形成される光路では、走査画角θが式(2)の範囲では、レーザビーム30は走査面分割ミラー8Bにより偏向され、さらに折り返しミラー9Bにより折り返されて、正面視(図2参照)で逆Z字状にコンパクトに折り畳まれた光路を形成して、像面10Bに到達し図2の紙面垂直方向に等速走査される。
また、走査画角θが式(1)の範囲では、レーザビーム30は走査面分割ミラー8Aにより偏向され、さらに折り返しミラー9Aにより折り返されて、正面視(図2参照)でZ字状にコンパクトに折り畳まれた光路を形成して、像面10Aに到達し図2の紙面垂直方向に等速走査される。
像面10A、10B上では、それぞれのレーザビーム30が主走査方向および副走査方向に所定のスポット径で結像される。これらのスポット径は、ビーム整形スリット4の開口形状とfθレンズ7の焦点距離により決まり、予め画像形成システムが必要とする露光画素の大きさに応じて設定されている。
また、副走査方向には、ポリゴンミラー面6aの偏向点と像面とがそれぞれ共役のため、面倒れ補正がなされており、ポリゴンミラー面6aの面倒れ誤差があっても、副走査方向の走査位置がずれることなく、すべてのポリゴンミラー面6aに対して略同一の走査線上を走査する。
このようにして、レーザビーム30は、光路が折り畳まれていない場合には、図4に示すように、同一の走査線上を点Bから点Gまで、像高±Hの間で等速走査されるところ、走査面分割ミラー8A、8Bにより、幅約Hの2つの走査区間に分割され、さらに、折り返しミラー9A、9Bにより、異なる像面10A、10B上に折り返される。
像面10A、10Bの位置は、折り返しミラー9A、9Bの配置に依存するが、本実施形態では、それぞれの走査線が互いに平行に配置され、しかも走査範囲が光軸40に対して略対称とされている。
例えば、像面10Aは、図4に示すように、平面視では、直線EGの中点Fが光軸40上の点fに位置された直線egの位置に配置される。また、特に図示しないが、同様に像面10Bは、直線BDの中点Cが点fと略同位置移動して、直線egと略重なる位置に配置される。
ここで、像面10A、10B上の走査線の主走査方向の位置は、同期制御により書き込み位置を補正することができるので、補正限度内でずれていてもよい。
次に、光走査装置1を用いた露光走査の制御について説明する。
図5は、本発明の第1の実施形態に係る光走査装置の露光走査の制御について説明するためのタイミングチャートである。
ポリゴンスキャナ6が回転すると、各ポリゴンミラー面6aにより、走査画角−θの方向に偏向されたレーザビーム30が、折り曲げミラー12、同期検知レンズ13を介して、同期検知センサ14に入射し、同期検知信号104を発生する。
例えば、図5に示すように、あるポリゴンミラー面6aの偏向により、時刻tで同期検知信号104が発生し、隣接するポリゴンミラー面6aの偏向により時刻tで次の同期検知信号104が発生するものとし、画角±θmaxで走査される時間は、時刻TからTまでとする。
光走査装置1は、時刻TからTの間に、像面10B、10A上に、すなわち感光体11B、11A上にそれぞれ1本ずつ走査線を描く。それぞれの露光に用いる情報信号101を情報信号B、Aとする。
そのため、制御部100は、時刻tの同期検知信号104が発生すると、レーザビーム30を消灯し、Δt=t−tだけ遅延して、情報信号Bに応じたレーザ駆動信号102を発生し、同様にΔt=t−tだけ遅延して、情報信号Aに応じたレーザ駆動信号102を発生する。
ここで、遅延時間Δt、Δtを調整することにより、情報信号B、Aの書き出し位置を調整する同期制御を行うことができる。
副走査方向に関しては、情報信号Aで露光された走査線は、情報信号Bで露光された走査線に対して、ΔtAB=t−tだけ遅延され、距離Lだけ離れた位置に書き込まれる。したがって、感光体11Bの走査線と感光体11Aの走査線とを重ね合わせるには、次式を満足すればよい。
L/V+ΔtAB=m/(n・N) ・・・(3)
ここで、Vは、感光体11A、11Bの共通線速、Nはポリゴンスキャナ6の回転数、nはポリゴンミラー面6aの面数、mは正の整数を表す。
このように、本実施形態の光走査装置1は、露光した走査線を重ね合わせる画像形成システムの露光ユニットとして用いることができる。
また、本実施形態の光走査装置1によれば、1つのレーザ光源2であっても、走査面分割ミラー8A、8Bにより走査面を2分割して2つの異なる像面上に走査線を形成するので、多ビームの露光走査を行うことができる。
そのため、光ビームの数に比べてビーム光源を低減することができるので、ビーム光源やその駆動手段などの部品点数を低減することができるので製作コストを低減でき、しかもコンパクトな構成とすることができる。
また、本実施形態では、走査面分割ミラー8A、8Bをfθレンズ7の後の配置するので、1つの走査光学系で多ビームの露光走査を行う構成にもなっている。すなわちビーム光源と走査光学系とをともに共通使用している例になっている。
また、本来は、1本の走査線を形成する走査を複数の走査線に分割するので、既存の広幅の走査光学系を利用して、それより幅の狭い多ビームの光走査装置を容易に形成することができるという利点がある。例えば、汎用的なA3縦送り幅の走査光学系を、A5縦送り幅の2ビーム走査光学系に転用することができる。
次に、本実施形態の変形例について説明する。
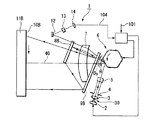
図6は、本発明の第1の実施形態の変形例の光走査装置の概略構成について説明するための正面視の模式的な構成説明図である。ここで、光線は一部を除いて軸上主光線のみを記載している。また、光偏向器に入射するまでの光路は紙面内に展開して図示している。
本変形例の光走査装置20は、上記実施形態の光走査装置1の走査面分割ミラー8B、折り返しミラー9Bに代えて、それぞれ走査面分割ミラー8C、折り返しミラー9Cを備えるものである。以下、上記の実施形態と異なる点を中心に説明する。
走査面分割ミラー8Cは、走査画角θが式(2)を満足する範囲で、fθレンズ7を透過したレーザビーム30を、図6に示すように、正面視で走査面分割ミラー8Aの偏向方向と同じ側の斜め方向に偏向するものである。
折り返しミラー9Cは、走査面分割ミラー8Cで偏向されたレーザビーム30を折り返して、像面10Aに形成される走査線と平行で、距離Lだけ離れた走査線を像面10C上に形成する。そのため、像面10C上には、感光体11Aと平行に配置された感光体11Cを設け、その表面を露光走査することができる。
光走査装置20は、像面10A、10Cが、fθレンズ7に対して同方向に形成される点が、光走査装置1と異なる。すなわち、本変形例は、前記走査面分割手段が、2つ設けられ、それぞれの分割後の光路が、分割前の走査面に関して同方向となる位置関係に設けられた光走査装置となっている。
本変形例によれば、走査面分割手段により分割後の光路の間に、fθレンズ7などの部材を挟むことがないので、光走査装置1に比べて離間距離Lをより小さく設定することができるという利点がある。
[第2の実施形態]
本発明の第2の実施形態に係る画像形成システムについて説明する。
図7は、本発明の第2の実施形態に係る画像形成システムの概略構成について説明するための正面視の模式的な構成説明図である。
本実施形態の画像形成システム200は、本発明の第1の実施形態に係る光走査装置を2つ用いて4ビームの露光走査を行うことにより4色画像を形成して、それらを重ね合わせてフルカラー画像を形成するものである。
画像形成システム200の概略構成は、例えば、イエロー、マゼンタ、シアン、ブラックの色成分に色分解された情報信号に基づいて変調され、適宜のスポットに集光された4つのレーザビーム30Y、30M、30C、30Kを、互いに平行な走査線として出射する露光部201と、それぞれのレーザビーム30Y、30M、30C、30Kの露光情報に基づいて各色の画像を形成し、それらを転写紙23上に転写し、定着する作像部202とからなる。
露光部201は、本発明の第1の実施形態の光走査装置1と同様の構成を有する光走査装置1A、1Bを互いに位置合わせして配置したものを用いて構成される。光走査装置1Aはレーザビーム30Y、30Mを出射し、光走査装置1Bはレーザビーム30C、30Kを出射する。
作像部202は、4ビーム露光により、フルカラー画像が形成できれば、どのような作像装置を用いてもよいが、本実施形態では、電子写真を用いた4ドラムのタンデム型の作像装置を用いている。
すなわち、転写紙23を搬送するために一方向に回転される無端ベルトからなる転写搬送ベルトユニット21に沿って、搬送方向の上流側から、画像形成ユニット15Y、15M、15C、15Kが等間隔に配置されている。そして、転写搬送ベルトユニット21の搬送方向の下流側に、熱ローラ定着を行うための定着ユニット22と転写紙23を排紙するための排紙トレイ24が設けられている。
画像形成ユニット15Y(15M、15C、15K)は、レーザビーム30Y(30M、30C、30K)を露光して、静電潜像を形成する感光体ドラム16、感光体ドラム16を均一帯電させる帯電器17、静電潜像を現像するための現像器18Y(18M、18C、18K)、現像されたトナー像を転写紙23に転写する転写器19からなる。
現像器18Y、18M、18C、18Kは、それぞれイエロー、マゼンタ、シアン、ブラックに対応するカラートナーを、帯電させるとともにそれぞれの感光体ドラム16上に形成された静電潜像に応じて感光体ドラム16上に付着させる手段であり、例えば、1成分現像、2成分現像などどのような周知技術を用いてもよい。
これらの転写搬送ベルトユニット21に対する配置位置は、色分解された情報信号に応じて、レーザビーム30Y、30M、30C、30Kをそれぞれ適宜時間だけ遅延させて照射したとき、それぞれの走査線により形成されるトナー像が、転写紙23上で同一線上に転写することができるような位置関係に配置されている。
なお、特に図示しないが、画像形成システム200は、上記構成要素をそれぞれ制御して画像形成動作を行うための全体制御部や、給紙ユニットなどは当然に備えている。
画像形成システム200によれば、色分解された情報信号により変調されたレーザビーム30Y、30M、30C、30Kをそれぞれ適宜遅延させて照射し、それぞれ画像形成ユニット15Y、15M、15C、15Kの感光体ドラム16上に静電潜像を形成し、各色のトナーで現像して、転写紙23上に重ね合わせて転写し、定着ユニット22で定着して、フルカラー画像を形成することができる。
すなわち、本発明の第1の実施形態に係る光走査装置を備えることにより、多ビームの露光走査を行い、画像を形成することを特徴とする画像形成システムとなっている。
そのため、第1の実施形態に係る光走査装置と同様の作用効果を備える。
なお、上記の説明では、1つのビーム光源から出射された光ビームを走査面分割手段により2つに分割する場合の例で説明したが、分割する数は2つに限定されず、3つ以上であってもよい。例えば、4つに分割して、1つのビーム光源により4ビーム走査を行う光走査装置を形成してもよい。
また、上記の説明では、走査面分割手段により分割された後の光路をそれぞれ1つの折り返しミラーにより折り返す例で説明したが、必要に応じてより多くの折り返しミラーにより折り返してもよい。
また、上記の説明では、折り返しミラーで折り返された後の像面がそれぞれの走査線が平行となる場合について説明したが、色重ねする画像形成システムに用いる光走査装置でなければ、必ずしも平行としなくてもよい。
また、同様に、副走査方向に走査範囲が重なり合うように配置しなくてもよい。
例えば、互いに関係のない光記録媒体にそれぞれ別個の露光走査を行うような場合、それぞれの走査線の位置は、レイアウト上の都合により適宜の位置関係に配置すればよい。
また、上記の説明では、異なる像面が、異なる光記憶媒体上に形成される例で説明したが、走査線の位置が重ならなければ、同一の光記憶媒体上の異なる位置に走査線が形成されるように光ビームが折り返されるようにしてもよい。
例えば、1つの感光体ドラムなどの上に副走査方向に画素ピッチまたは画素ピッチの整数倍で走査する多ビームの光走査装置を形成してもよい。この場合、多ビーム走査により高速化された単色の画像形成システムを構成することができる。
また、上記の説明では、走査光学系が単玉レンズである場合について説明したが、走査光学系をレンズ群から構成してもよい。その場合、走査面分割手段は、走査光学系の後段に配置してもよく、走査光学系内のレンズ間の光路上に配置してもよい。後者の場合、走査面分割手段の後段に配置される、走査光学系のレンズまたはレンズ群は、走査面分割手段で分割される光路の像面ごとに複数設ける必要があるが、ビーム光源と走査面分割手段との間に配置された走査光学系のレンズまたはレンズ群は各光ビームに共通使用されるものである。
このような走査光学系の例として、球面のfθレンズと像面近傍に配置される長尺シリンドリカルレンズからなる走査光学系を挙げることができる。この場合、走査面分割手段はfθレンズと長尺シリンドリカルレンズとの間に配置することができる。
また、上記の説明では、本発明の光走査装置は、画像形成システムに好適に用いることができるものとして説明したが、本発明の光走査装置の用途は、画像形成システムには限定されない。
また、上記の説明では、光偏向器と走査面分割手段との間に走査光学系を含む例で説明したが、露光走査に必要な走査画角やスポット径などの光学特性によっては、走査光学系を含まない構成としてもよい。また、走査光学系を含むとしてもfθ特性を備えない走査光学系であってもよい。
また、上記の説明では、同期検知手段を複数の露光走査において共通使用する場合の例で説明したが、走査面分割手段で分割された後の光路上にそれぞれ同期検知手段を設けてそれぞれの走査線ごとに同期制御を行うようにしてもよい。
この場合、同期検知信号からの遅延時間をそれぞれ短く設定することができるので、遅延時間を高精度に設定することができるという利点がある。
また、上記に説明したすべての構成要素は、技術的に可能であれば、本発明の技術的思想の範囲で、適宜組み合わせて実施することができる。例えば、第2の実施形態の画像形成システムの光走査装置として第1の実施形態の変形例の光走査装置は当然に採用することができる。
ここで、上記実施形態の用語と特許請求の範囲の用語との対応関係について名称が異なる場合について説明する。
レーザ光源2、ポリゴンスキャナ6は、それぞれビーム光源、光偏向器の一実施形態である。レーザビーム30は、光ビームに対応する。走査面分割ミラー8A、8B、8Cは、それぞれ走査面分割手段の一実施形態である。
同期検知センサ14は、同期検知手段の一実施形態である。
本発明の第1の実施形態に係る光走査装置の概略構成について説明するための上面視の模式的な構成説明図である。 本発明の第1の実施形態に係る光走査装置の概略構成について説明するための正面視の模式的な構成説明図である。 本発明の第1の実施形態に係る光走査装置の概略構成について説明するための裏面視の模式的な構成説明図である。 本発明の第1の実施形態に係る光走査装置の光学レイアウト図である。 本発明の第1の実施形態に係る光走査装置の露光走査の制御について説明するためのタイミングチャートである。 本発明の第1の実施形態の変形例の光走査装置の概略構成について説明するための正面視の模式的な構成説明図である。 本発明の第2の実施形態に係る画像形成システムの概略構成について説明するための正面視の模式的な構成説明図である。
符号の説明
1、1A、1B、20 光走査装置
2 レーザ光源(ビーム光源)
3 コリメートレンズ
4 ビーム整形スリット
5 シリンドリカルレンズ
6 ポリゴンスキャナ(光偏向器)
6a ポリゴンミラー面
7 fθレンズ
8A、8B、8C 走査面分割ミラー(走査面分割手段)
9A、9B、9C 折り返しミラー
10A、10B、10C 像面
11A、11B、11C 感光体
14 同期検知センサ(同期検知手段)
30 レーザビーム
100 制御部
101 情報信号
102 レーザ駆動信号
104 同期検知信号
200 画像形成システム
201 露光部
202 作像部

Claims (4)

  1. 光ビームを発生するビーム光源と、該ビーム光源から出射された光ビームにより感光体に対して露光走査を行うために一定走査面内で前記光ビームを主走査方向に偏向走査する光偏向器とを有する光走査装置であって、
    前記光偏向器で偏向された光ビームを、その偏向角(以下、走査画角という)の複数の範囲に応じて異なる方向に導いて、前記光偏向器で偏向された光ビームにより形成される走査面を複数の相異なる走査面に分割する走査面分割手段と、
    該走査面分割手段で分割された複数の走査面をそれぞれ折り返して、対応する複数の相異なる感光体に導いて各々像面を形成させる複数の折り返しミラーを備え、
    前記複数の折り返しミラーにより、複数の走査面を走査されるそれぞれの光ビームが前記複数の相異なる感光体のうちの対応する感光体の表面上に互いに平行な走査線をなして主走査され、前記複数の互いに平行な走査線を含む平面は、前記主走査方向と直交する副走査方向に平行であり、かつそれぞれの前記走査線の主走査方向の走査幅が前記副走査方向から見て略重なり合う位置関係に形成されることを特徴とする光走査装置。
  2. 前記走査面分割手段が、2つ設けられ、それぞれの分割後の光路が、分割前の走査面を挟む位置関係に設けられたことを特徴とする請求項1に記載の光走査装置。
  3. 前記露光走査の走査開始位置の同期制御を行うための単数の同期検知手段を備え、
    該同期検知手段の同期検知信号を、前記複数の走査面の露光走査の同期制御に共通使用することを特徴とする請求項1または2に記載の光走査装置。
  4. 請求項1乃至3のいずれかに記載の光走査装置を用いて、多ビームの露光走査を行い、画像を形成することを特徴とする画像形成システム。
JP2005270805A 2005-09-16 2005-09-16 光走査装置およびそれを用いた画像形成システム Expired - Fee Related JP4608403B2 (ja)

Priority Applications (1)

Application Number Priority Date Filing Date Title
JP2005270805A JP4608403B2 (ja) 2005-09-16 2005-09-16 光走査装置およびそれを用いた画像形成システム

Applications Claiming Priority (1)

Application Number Priority Date Filing Date Title
JP2005270805A JP4608403B2 (ja) 2005-09-16 2005-09-16 光走査装置およびそれを用いた画像形成システム

Publications (2)

Publication Number Publication Date
JP2007079482A JP2007079482A (ja) 2007-03-29
JP4608403B2 true JP4608403B2 (ja) 2011-01-12

Family

ID=37939810

Family Applications (1)

Application Number Title Priority Date Filing Date
JP2005270805A Expired - Fee Related JP4608403B2 (ja) 2005-09-16 2005-09-16 光走査装置およびそれを用いた画像形成システム

Country Status (1)

Country Link
JP (1) JP4608403B2 (ja)

Families Citing this family (2)

* Cited by examiner, † Cited by third party
Publication number Priority date Publication date Assignee Title
US8663772B2 (en) 2007-03-19 2014-03-04 Ricoh Company, Ltd. Minute structure and information recording medium
JP6070157B2 (ja) * 2012-12-18 2017-02-01 株式会社リコー 画像形成装置及び画像形成方法

Family Cites Families (2)

* Cited by examiner, † Cited by third party
Publication number Priority date Publication date Assignee Title
JPS5895361A (ja) * 1981-12-01 1983-06-06 Canon Inc カラー画像形成装置
JPH01166015A (ja) * 1987-12-22 1989-06-29 Canon Inc 光走査記録装置

Also Published As

Publication number Publication date
JP2007079482A (ja) 2007-03-29

Similar Documents

Publication Publication Date Title
JP4921896B2 (ja) 光走査装置及び画像形成装置
US8077368B2 (en) Optical scanning apparatus and image forming apparatus
US8026941B2 (en) Light scanning unit and image forming apparatus comprising the same
JP2009069507A (ja) 光走査装置、および画像形成装置
JP2006259336A (ja) 光走査装置および画像形成装置
JP4360075B2 (ja) 画像形成装置
JP2007147826A (ja) 光書込装置、光書込方法、画像形成装置及び画像形成方法
JP4963399B2 (ja) 画像形成装置
KR101940294B1 (ko) 광 주사 장치 및 이를 채용한 화상 형성 장치
US9288366B2 (en) Optical scanning device and image forming apparatus
JP2010175996A (ja) 光走査装置及び画像形成装置
JP4608403B2 (ja) 光走査装置およびそれを用いた画像形成システム
JP4526331B2 (ja) 光走査装置及び画像形成装置
JPH1020608A (ja) カラー画像形成装置
JP2013076995A (ja) 光走査装置及び画像形成装置
JP5022945B2 (ja) 光書込装置及び画像形成装置
JP5173355B2 (ja) 光学走査装置
JP4715418B2 (ja) 光走査装置及び画像形成装置
JP2008076586A (ja) 走査光学装置及び画像形成装置
JP2012194367A (ja) 光走査装置及び画像形成装置
JP4898605B2 (ja) 光書込装置及び画像形成装置
JP4744117B2 (ja) 光走査装置および画像形成装置
JP2019211570A (ja) 光走査装置及び画像形成装置
JP2014174330A (ja) 光走査装置および画像形成装置
JP2011095383A (ja) 光走査装置および画像形成装置

Legal Events

Date Code Title Description
A621 Written request for application examination

Free format text: JAPANESE INTERMEDIATE CODE: A621

Effective date: 20080829

RD02 Notification of acceptance of power of attorney

Free format text: JAPANESE INTERMEDIATE CODE: A7422

Effective date: 20090515

RD04 Notification of resignation of power of attorney

Free format text: JAPANESE INTERMEDIATE CODE: A7424

Effective date: 20090706

RD04 Notification of resignation of power of attorney

Free format text: JAPANESE INTERMEDIATE CODE: A7424

Effective date: 20090707

A131 Notification of reasons for refusal

Free format text: JAPANESE INTERMEDIATE CODE: A131

Effective date: 20100601

A521 Request for written amendment filed

Free format text: JAPANESE INTERMEDIATE CODE: A523

Effective date: 20100901

TRDD Decision of grant or rejection written
A01 Written decision to grant a patent or to grant a registration (utility model)

Free format text: JAPANESE INTERMEDIATE CODE: A01

Effective date: 20100928

A01 Written decision to grant a patent or to grant a registration (utility model)

Free format text: JAPANESE INTERMEDIATE CODE: A01

A61 First payment of annual fees (during grant procedure)

Free format text: JAPANESE INTERMEDIATE CODE: A61

Effective date: 20101008

R150 Certificate of patent or registration of utility model

Free format text: JAPANESE INTERMEDIATE CODE: R150

FPAY Renewal fee payment (event date is renewal date of database)

Free format text: PAYMENT UNTIL: 20131015

Year of fee payment: 3

R250 Receipt of annual fees

Free format text: JAPANESE INTERMEDIATE CODE: R250

R250 Receipt of annual fees

Free format text: JAPANESE INTERMEDIATE CODE: R250

R250 Receipt of annual fees

Free format text: JAPANESE INTERMEDIATE CODE: R250

R250 Receipt of annual fees

Free format text: JAPANESE INTERMEDIATE CODE: R250

R250 Receipt of annual fees

Free format text: JAPANESE INTERMEDIATE CODE: R250

LAPS Cancellation because of no payment of annual fees