JP4570859B2 - Relay welding detection device and relay welding detection method - Google Patents

Relay welding detection device and relay welding detection method

Info

Publication number
JP4570859B2
JP4570859B2 JP2003352828A JP2003352828A JP4570859B2 JP 4570859 B2 JP4570859 B2 JP 4570859B2 JP 2003352828 A JP2003352828 A JP 2003352828A JP 2003352828 A JP2003352828 A JP 2003352828A JP 4570859 B2 JP4570859 B2 JP 4570859B2
Authority
JP
Japan
Prior art keywords
relay
state
predetermined
welding
value
Prior art date
Legal status (The legal status is an assumption and is not a legal conclusion. Google has not performed a legal analysis and makes no representation as to the accuracy of the status listed.)
Expired - Fee Related
Application number
JP2003352828A
Other languages
Japanese (ja)
Other versions
JP2005116485A (en
Inventor
彰吾 町田
Current Assignee (The listed assignees may be inaccurate. Google has not performed a legal analysis and makes no representation or warranty as to the accuracy of the list.)
Subaru Corp
Original Assignee
Fuji Jukogyo KK
Priority date (The priority date is an assumption and is not a legal conclusion. Google has not performed a legal analysis and makes no representation as to the accuracy of the date listed.)
Filing date
Publication date
Application filed by Fuji Jukogyo KK filed Critical Fuji Jukogyo KK
Priority to JP2003352828A priority Critical patent/JP4570859B2/en
Publication of JP2005116485A publication Critical patent/JP2005116485A/en
Application granted granted Critical
Publication of JP4570859B2 publication Critical patent/JP4570859B2/en
Anticipated expiration legal-status Critical
Expired - Fee Related legal-status Critical Current

Links

Images

Classifications

    • YGENERAL TAGGING OF NEW TECHNOLOGICAL DEVELOPMENTS; GENERAL TAGGING OF CROSS-SECTIONAL TECHNOLOGIES SPANNING OVER SEVERAL SECTIONS OF THE IPC; TECHNICAL SUBJECTS COVERED BY FORMER USPC CROSS-REFERENCE ART COLLECTIONS [XRACs] AND DIGESTS
    • Y02TECHNOLOGIES OR APPLICATIONS FOR MITIGATION OR ADAPTATION AGAINST CLIMATE CHANGE
    • Y02TCLIMATE CHANGE MITIGATION TECHNOLOGIES RELATED TO TRANSPORTATION
    • Y02T10/00Road transport of goods or passengers
    • Y02T10/60Other road transportation technologies with climate change mitigation effect
    • Y02T10/62Hybrid vehicles
    • YGENERAL TAGGING OF NEW TECHNOLOGICAL DEVELOPMENTS; GENERAL TAGGING OF CROSS-SECTIONAL TECHNOLOGIES SPANNING OVER SEVERAL SECTIONS OF THE IPC; TECHNICAL SUBJECTS COVERED BY FORMER USPC CROSS-REFERENCE ART COLLECTIONS [XRACs] AND DIGESTS
    • Y02TECHNOLOGIES OR APPLICATIONS FOR MITIGATION OR ADAPTATION AGAINST CLIMATE CHANGE
    • Y02TCLIMATE CHANGE MITIGATION TECHNOLOGIES RELATED TO TRANSPORTATION
    • Y02T10/00Road transport of goods or passengers
    • Y02T10/60Other road transportation technologies with climate change mitigation effect
    • Y02T10/7072Electromobility specific charging systems or methods for batteries, ultracapacitors, supercapacitors or double-layer capacitors

Landscapes

  • Hybrid Electric Vehicles (AREA)
  • Keying Circuit Devices (AREA)
  • Electric Propulsion And Braking For Vehicles (AREA)
  • Testing Electric Properties And Detecting Electric Faults (AREA)

Description

本発明は、リレー溶着検出装置及びリレー溶着検出方法に関し、特に、バッテリと負荷回路とを接続するリレーの溶着を検出するためのリレー溶着検出装置及びリレー溶着検出方法に関する。   The present invention relates to a relay welding detection device and a relay welding detection method, and more particularly to a relay welding detection device and a relay welding detection method for detecting welding of a relay connecting a battery and a load circuit.

従来より、高電圧のバッテリ等からモータ等への電力供給を制御するためにリレーが一般に使用されている。例えば、電気自動車、ハイブリッド自動車等において、高電圧のバッテリから高電圧系回路部品への電力供給を制御するために、バッテリと高電圧系回路部品との間にリレーを設け、高電圧系回路部品とバッテリとの接続及び開放は、車両制御状態に応じてリレーにより行われる。   Conventionally, a relay is generally used to control power supply from a high voltage battery or the like to a motor or the like. For example, in an electric vehicle, a hybrid vehicle, etc., in order to control power supply from a high voltage battery to a high voltage system circuit component, a relay is provided between the battery and the high voltage system circuit component, and the high voltage system circuit component The connection and release of the battery and the battery are performed by a relay according to the vehicle control state.

このような場合、リレーは過電流等の原因により溶着することがあるので、そのリレーの溶着を検出するために、各リレーに直列に接続されたフォトカプラと、リレーの開放時にフォトダイオードが点灯しているか否かを検出するための回路とを有する溶着検出回路をリレーに付加することによって、リレーの溶着検出を行っている。   In such a case, the relay may be welded due to an overcurrent or the like. Therefore, in order to detect the welding of the relay, the photocoupler connected in series with each relay and the photodiode lights up when the relay is opened. The welding detection of the relay is performed by adding a welding detection circuit having a circuit for detecting whether or not the relay is operating to the relay.

しかし、リレーの溶着検出専用の溶着検出回路を付加することは、コスト、設置スペース等の問題があるため、このような問題を解決するために、特別な回路等の機器を付加せずに、リレーの故障を診断する方法が提案されている(例えば、特許文献1参照)。
特開平10-144194号公報( 段落番号13から20、図1から図4)
However, adding a welding detection circuit dedicated for relay welding detection has problems such as cost and installation space, so in order to solve such problems, without adding equipment such as a special circuit, A method of diagnosing a relay failure has been proposed (see, for example, Patent Document 1).
JP-A-10-144194 (paragraph numbers 13 to 20, FIGS. 1 to 4)

その提案によれば、特別な回路等の機器を付加せずに、リレーが故障しているか否かは診断できるものの、その提案では、バッテリの+(プラス)側リレーと−(マイナス)側リレーのどちらが溶着故障しているかということを特定することができなかった。+(プラス)側リレーと−(マイナス)側リレーのどちらが溶着しているかが判明できれば、修理等の対応を迅速に行うことができる。   According to the proposal, although it is possible to diagnose whether or not the relay has failed without adding a device such as a special circuit, in the proposal, the + (plus) side relay and the-(minus) side relay of the battery are proposed. It was not possible to identify which of the two had a welding failure. If it becomes clear which of the + (plus) side relay and the-(minus) side relay is welded, it is possible to quickly perform repairs and the like.

そこで、本発明は、溶着検出回路等の専用の回路を付加することなく、バッテリの+側、−側のどちらのリレーが故障しているかを診断できる溶着検出装置を提供することを目的とする。   SUMMARY OF THE INVENTION Accordingly, an object of the present invention is to provide a welding detection device capable of diagnosing whether the relay on the + side or the − side of the battery has failed without adding a dedicated circuit such as a welding detection circuit. .

本発明のリレー溶着検出装置は、負荷回路とバッテリの間に接続され、該バッテリの+側に接続される+側リレーと、前記バッテリの−側に接続される−側リレーの溶着を検出する装置であって、前記+側リレーと前記−側リレーが共にオン、かつ前記+側リレーに並列に設けられる、プリチャージリレーとプリチャージ用抵抗器からなる直列回路の前記プリチャージリレーがオフの状態から、前記+側リレーと前記プリチャージリレーがオフ、かつ前記−側リレーがオンの状態である第1の状態に変更する第1の状態変更手段と、前記第1の状態における前記負荷回路側の電圧値が、予め決められた第1の時間経過後において予め決められた第1の値以上変化しない場合に、前記+側リレーを溶着と判定する第1の溶着判定手段と、前記第1の状態から、前記+側リレーと前記−側リレーがオフ、かつ前記プリチャージリレーがオンの状態である第2の状態に変更する第2の状態変更手段と、前記第2の状態における前記負荷回路側の電圧値が、予め決められた第2の時間経過後において予め決められた第2の値以上変化しない場合に、前記−側リレーを溶着と判定する第2の溶着判定手段とを有する。 Relay welding detecting device of the present invention is connected between the load circuit and the battery, and the + side relays being connected to the positive side of the battery, the battery - are connected to the side - detecting the welding of the side relay The positive-side relay and the negative-side relay are both on, and the pre-charge relay of a series circuit including a pre-charge relay and a pre-charging resistor provided in parallel to the positive-side relay is off. The first state changing means for changing from the state to the first state in which the + side relay and the precharge relay are off and the-side relay is on, and the load in the first state A first welding determination means for determining that the + side relay is welded when a voltage value on the circuit side does not change more than a predetermined first value after elapse of a predetermined first time; and First Second state changing means for changing from the state to the second state in which the + side relay and the-side relay are off and the precharge relay is on, and the load in the second state A second welding determination means for determining that the negative relay is welded when the voltage value on the circuit side does not change by a predetermined second value after a predetermined second time has elapsed; .

本発明によれば、溶着検出回路等の専用の回路を付加することなく、バッテリの+側、−側のどちらのリレーが故障しているかを診断できる溶着検出装置を実現することができる。   ADVANTAGE OF THE INVENTION According to this invention, the welding detection apparatus which can diagnose whether the relay of + side or-side of a battery has failed can be implement | achieved, without adding dedicated circuits, such as a welding detection circuit.

以下、図面を参照して本発明の実施の形態に係るリレー溶着検出装置を説明する。
(第1の実施の形態)
図1は、第1の実施の形態に係わる車両の駆動系の構成を示す構成図である。
本実施の形態に係る車両は、エンジンとモータとを併用するパラレルハイブリッド式の車両であり、図1に示すように、エンジン1と、エンジン1の起動及び発電・動力アシストを担う第1のモータ2(以下、単にモータ2という)と、エンジン1の出力軸1aにモータ2を介して連結されるプラネタリギヤユニット3と、このプラネタリギヤユニット3の機能を制御し、発進・後進時の駆動力源になるとともに減速エネルギの回収を担う第2のモータ4(以下、単にモータ4という)と、変速及びトルク増幅を行なって走行時の動力変換機能を担う動力変換機構5とを基本構成とする駆動系を備えている。
Hereinafter, a relay welding detection apparatus according to an embodiment of the present invention will be described with reference to the drawings.
(First embodiment)
FIG. 1 is a configuration diagram showing the configuration of a vehicle drive system according to the first embodiment.
The vehicle according to the present embodiment is a parallel hybrid vehicle that uses both an engine and a motor. As shown in FIG. 1, the engine 1 and the first motor that is responsible for starting the engine 1 and for generating power and assisting power. 2 (hereinafter simply referred to as the motor 2), the planetary gear unit 3 connected to the output shaft 1a of the engine 1 via the motor 2, and the functions of the planetary gear unit 3 are controlled to serve as a driving force source for starting and reverse driving. And a drive system having a basic configuration of a second motor 4 (hereinafter simply referred to as the motor 4) responsible for recovery of deceleration energy and a power conversion mechanism 5 that performs speed change and torque amplification to perform a power conversion function during traveling. It has.

プラネタリギヤユニット3は、サンギヤ3a、このサンギヤ3aに噛合するピニオンを回転自在に支持するキャリア3b、ピニオンと噛合するリングギヤ3cを有するシングルピニオン式のプラネタリギヤである。また、動力変換機構5としては、歯車列を組み合わせた変速機や流体トルクコンバータを用いた変速機等を用いることが可能であるが、入力軸5aに軸支されるプライマリプーリ5bと出力軸5cに軸支されるセカンダリプーリ5dとの間に駆動ベルト5eを巻装してなるベルト式無段変速機(CVT)を採用することが望ましく、本実施の形態においては、以下、動力変換機構5をCVT5として説明する。   The planetary gear unit 3 is a single-pinion planetary gear having a sun gear 3a, a carrier 3b that rotatably supports a pinion that meshes with the sun gear 3a, and a ring gear 3c that meshes with the pinion. Further, as the power conversion mechanism 5, a transmission using a combination of gear trains, a transmission using a fluid torque converter, or the like can be used. However, a primary pulley 5b and an output shaft 5c that are supported by the input shaft 5a. It is desirable to employ a belt-type continuously variable transmission (CVT) formed by winding a drive belt 5e between the secondary pulley 5d and the secondary pulley 5d. In the present embodiment, hereinafter, a power conversion mechanism 5 is used. Will be described as CVT5.

すなわち、本実施の形態におけるハイブリッド自動車の駆動系では、エンジン1の出力軸1aとCVT5の入力軸5aとの間にプラネタリギヤユニット3が配置されている。このプラネタリギヤユニット3のリングギヤ3cがエンジン1の出力軸1aに一方のモータ2を介して結合されるとともに、キャリア3bがCVT5の入力軸5aに結合され、サンギヤ3aに他方のモータ4が連結されている。そして、CVT5の出力軸5cに減速歯車列6を介してデファレンシャル機構7が連設され、このデファレンシャル機構7に駆動軸8を介して前輪或いは後輪の駆動輪9が連設される。   That is, in the hybrid vehicle drive system in the present embodiment, planetary gear unit 3 is arranged between output shaft 1a of engine 1 and input shaft 5a of CVT 5. The ring gear 3c of the planetary gear unit 3 is coupled to the output shaft 1a of the engine 1 via one motor 2, the carrier 3b is coupled to the input shaft 5a of the CVT 5, and the other motor 4 is coupled to the sun gear 3a. Yes. A differential mechanism 7 is connected to the output shaft 5 c of the CVT 5 via a reduction gear train 6, and front wheels or rear wheel drive wheels 9 are connected to the differential mechanism 7 via a drive shaft 8.

モータ2、4は、インバータ10に接続され、インバータ10にバッテリ11が接続されている。バッテリ11の負荷回路であるインバータ10は、モータ2、4からの交流電力の供給を受け、バッテリ11の充電を行ったり、バッテリ11からの直流電力の供給を受け、モータ2,4を駆動させる。   The motors 2 and 4 are connected to an inverter 10, and a battery 11 is connected to the inverter 10. The inverter 10 which is a load circuit of the battery 11 receives supply of AC power from the motors 2 and 4 and charges the battery 11 or receives supply of DC power from the battery 11 and drives the motors 2 and 4. .

バッテリ11のプラス側(以下、+側と略す)は、メインリレーの+側リレー12を介して、インバータ10に接続されている。バッテリ11のマイナス側(以下、−側と略す)は、メインリレーの−側リレー13を介して、インバータ10に接続されている。さらに、+側リレー12に並列にプリチャージリレー14が接続されている。 Positive side of the battery 11 (hereinafter, referred to as + side) through the + side relay 1 2 of the main relay is connected to the inverter 10. The negative side (hereinafter, abbreviated as “−”) of the battery 11 is connected to the inverter 10 via the negative relay 13 of the main relay. Further, a precharge relay 14 is connected in parallel to the + side relay 12.

+側リレー12、−側リレー13及びプリチャージリレー14のオン・オフの制御は、車両制御ユニット15によって行われる。インバータ10の制御は、インバータ制御ユニット16によって行われる。インバータ制御ユニット16へは、インバータ10の端子電圧を測定する電圧計17の出力信号が入力され、さらに、インバータ制御ユニット16は、車両制御ユニット15とデータ通信を行う。従って、インバータ制御ユニット16は、電圧計17の出力と車両の制御状態に応じて、直流と交流間の変換の制御、モータの回転数の制御等を行う。なお、電圧計17は、直接電圧を測定する通常の電圧計でもよいし、電圧を光量等に変換して間接的に電圧を測定する装置でもよい。   The vehicle control unit 15 controls on / off of the + side relay 12, the − side relay 13, and the precharge relay 14. The inverter 10 is controlled by the inverter control unit 16. An output signal of a voltmeter 17 that measures the terminal voltage of the inverter 10 is input to the inverter control unit 16, and the inverter control unit 16 performs data communication with the vehicle control unit 15. Therefore, the inverter control unit 16 performs control of conversion between direct current and alternating current, control of the rotational speed of the motor, and the like according to the output of the voltmeter 17 and the control state of the vehicle. The voltmeter 17 may be a normal voltmeter that directly measures a voltage, or may be an apparatus that indirectly measures a voltage by converting the voltage into a light amount or the like.

車両制御ユニット15は、中央処理装置(以下、CPUという)と、読み出し専用メモリ(ROM)と、ランダムアクセスメモリ(RAM)と、種々のインターフェースを有する。ROMに記憶された予め決められたプログラムが、CPUによって実行されることによって、後述する溶着検出を含む種々の機能を、車両制御ユニット15は実現することができる。   The vehicle control unit 15 includes a central processing unit (hereinafter referred to as a CPU), a read only memory (ROM), a random access memory (RAM), and various interfaces. By executing a predetermined program stored in the ROM by the CPU, the vehicle control unit 15 can realize various functions including welding detection described later.

なお、プリチャージリレー14は、バッテリ11とインバータ10の接続時に+側リレー12に急激に高電圧が印加されるのを防ぐために、+側リレー12をオンする前にオンされるリレーである。プリチャージリレー14と直列にプリチャージ用の抵抗器18が接続される。そのプリチャージリレー14と抵抗器18からなる直列回路が、+側リレー12に並列に設けられる。よって、+側リレー12をオンするときは、まずプリチャージリレー14をオンし、その後、+側リレー12がオンするので、+側リレー12に急激に高電圧が印加されることを防ぐことができる。   The precharge relay 14 is a relay that is turned on before the + side relay 12 is turned on in order to prevent a high voltage from being suddenly applied to the + side relay 12 when the battery 11 and the inverter 10 are connected. A precharge resistor 18 is connected in series with the precharge relay 14. A series circuit including the precharge relay 14 and the resistor 18 is provided in parallel to the + side relay 12. Therefore, when the + side relay 12 is turned on, the precharge relay 14 is first turned on, and then the + side relay 12 is turned on, so that a high voltage is not suddenly applied to the + side relay 12. it can.

また、エンジン1、2つのモータ2,4、CVT5は、車両制御ユニット15によって集中制御される。この車両制御ユニット15は、エンジン1、2つのモータ2,4、CVT5の作動状態やバッテリ11の状態を監視し、ドライバによるイグニッションキーの操作、アクセルペダルやブレーキペダルの踏み込み操作、ステアリングの操舵等の情報に基づいて、エンジン1の制御、インバータ10を介してのモータ2,4の駆動及びバッテリ11の充電制御、CVT5の変速比や供給油圧の制御等を行う。   The engine 1, the two motors 2, 4, and the CVT 5 are centrally controlled by the vehicle control unit 15. The vehicle control unit 15 monitors the operating state of the engine 1, the two motors 2, 4 and the CVT 5, and the state of the battery 11, and operates the ignition key by the driver, depressing the accelerator pedal and the brake pedal, steering the steering, etc. Based on the information, the engine 1 is controlled, the motors 2 and 4 are driven through the inverter 10, the battery 11 is charged, the gear ratio of the CVT 5 and the supply hydraulic pressure are controlled.

以上の構成による駆動系では、前述したように、エンジン1及びモータ2をプラネタリギヤユニット3のリングギヤ3cへ結合するとともにサンギヤ3aにモータ4を結合してキャリア3bから出力を得るようにし、さらに、キャリア3bからの出力をCVT5によって変速及びトルク増幅して駆動輪9に伝達するようにしているため、2つのモータ2,4は発電と駆動力供給との両方に使用することができ、比較的小出力のモータを使用することができる
次に、本実施の形態に関わるリレー溶着検出方法について、説明する。
In the drive system configured as described above, as described above, the engine 1 and the motor 2 are coupled to the ring gear 3c of the planetary gear unit 3, and the motor 4 is coupled to the sun gear 3a to obtain an output from the carrier 3b. Since the output from 3b is shifted and amplified by the CVT 5 and transmitted to the drive wheels 9, the two motors 2 and 4 can be used for both power generation and drive power supply and are relatively small. An output motor can be used. Next, a relay welding detection method according to the present embodiment will be described.

リレーの溶着検出は、車両の停止時、言い換えれば、イグニッションキーをオフにしたときに、車両制御ユニット15によって行われる。より具体的には、リレーの溶着検出は、バッテリ11と高電圧系回路であるインバータ10との接続を切るとき(バッテリ11とインバータ10が接続されている状態から切断するとき)に行われる。そして、インバータ10の端子電圧が落ちきってしまう前に、リレーを所定の制御シーケンスでオン及びオフの制御を行いながら、リレーの溶着検出を行う。リレーの溶着検出は、車両制御ユニット15のCPUが、ROMに記憶されたリレー溶着検出プログラムを実行することによって行われる。
ちなみに、車両のエンジン始動時、言い換えれば、イグニッションキーをオンにしたときは、−側リレー13、プリチャージリレー14、そして+側リレー12の順でオンし、その後プリチャージリレー14がオフする。これによって、バッテリ11からの電力供給が開始される。
The detection of relay welding is performed by the vehicle control unit 15 when the vehicle is stopped, in other words, when the ignition key is turned off. More specifically, the welding detection of the relay is performed when the connection between the battery 11 and the inverter 10 that is a high voltage system circuit is disconnected (when the battery 11 and the inverter 10 are disconnected from the connected state). Then, before the terminal voltage of the inverter 10 drops, the welding of the relay is detected while the relay is turned on and off in a predetermined control sequence. Relay welding detection is performed by the CPU of the vehicle control unit 15 executing a relay welding detection program stored in the ROM.
Incidentally, when the vehicle engine is started, in other words, when the ignition key is turned on, the -side relay 13, the precharge relay 14, and the + side relay 12 are turned on in this order, and then the precharge relay 14 is turned off. As a result, power supply from the battery 11 is started.

図2及び図3を用いて、溶着検出のための処理について説明する。
図2は、溶着検出時の、+側リレー12、−側リレー13及びプリチャージリレー14のリレー制御シーケンスを説明するための図である。図3は、溶着検出処理の流れの例を示すフローチャートである。
車両が運転状態であるとき、高電圧系回路であるインバータ10とバッテリ11は接続状態にあるので、図2の高電圧系回路接続状態に示すように、各リレーは、+側リレー12と−側リレー13はオンで、プリチャージリレー14はオフの状態である。
The process for detection of welding will be described with reference to FIGS.
FIG. 2 is a diagram for explaining a relay control sequence of the + side relay 12, the −side relay 13 and the precharge relay 14 when welding is detected. FIG. 3 is a flowchart showing an example of the flow of welding detection processing.
When the vehicle is in an operating state, the inverter 10 and the battery 11 that are high voltage system circuits are in a connected state. Therefore, as shown in the high voltage system circuit connected state in FIG. The side relay 13 is on and the precharge relay 14 is off.

ドライバーがイグニッションキーを回して車両制御を停止したとき(以下、車両制御停止時という)に、図3の処理が実行される。
車両制御停止時、まず、車両制御ユニット15から+側リレー12にオフの制御信号を出力することによって、メインリレーの+側リレー12をオフする(ステップ(以下、Sと略す)1)ことによって、リレーの接続状態を変更する。このとき、図2の溶着判定状態(1)に示すように、各リレーは、+側リレー12はオフで、−側リレー13はオンのままであり、プリチャージリレー14はオフの状態(以下、第1の状態ともいう)のままである。
When the driver turns the ignition key to stop vehicle control (hereinafter referred to as vehicle control stop), the processing of FIG. 3 is executed.
When the vehicle control is stopped, the vehicle control unit 15 first outputs an off control signal to the + side relay 12 to turn off the + side relay 12 of the main relay (step (hereinafter abbreviated as S) 1). Change the relay connection status. At this time, as shown in the welding determination state (1) in FIG. 2, in each relay, the + side relay 12 is off, the − side relay 13 remains on, and the precharge relay 14 is off (hereinafter referred to as “relay determination state”). , Also referred to as the first state).

次に、第1の状態において、電圧計17が出力する電圧値が、予め設定された閾値TH1a以下になったか否かを判定する(S2)。+側リレー12が溶着していると、電圧制御ユニット15からの制御信号によって、+側リレー12はオフしようとしても、電圧計17が出力する電圧値は、時間の経過と共に低下しない。従って、電圧計17が出力する電圧値が、予め決められた時間経過後において、電圧低下による予め決められた値以上の変化がなければ、+側リレー12は溶着していると判定され、S2でNOとなり、異常処理を行い(S3)、処理は終了する。なお、S3の処理の後は、図3において点線の矢印で示すように、S4の処理へ移行してもよい。
側リレー12が溶着していなければ、電圧制御ユニット15からの制御信号によって、+側リレー12はオフすなわち開放するので、電圧計17が出力する電圧値は、時間の経過と共に低下する。従って、電圧計17が出力する電圧値が、予め決められた時間経過後において、電圧低下により予め決められた値以上の変化があれば、+側リレー12は溶着していないと判定され、S2でYESとなり、S4の処理へ移行する。
Next, in the first state, it is determined whether or not the voltage value output from the voltmeter 17 is equal to or lower than a preset threshold value TH1a (S2). When the + side relay 12 is welded, the voltage value output from the voltmeter 17 does not decrease with time even if the + side relay 12 is about to be turned off by the control signal from the voltage control unit 15. Therefore, if the voltage value output from the voltmeter 17 does not change more than a predetermined value due to a voltage drop after a predetermined time has elapsed, it is determined that the + side relay 12 is welded, NO is determined in S2, an abnormal process is performed (S3), and the process ends. Note that after the process of S3, the process may proceed to the process of S4 as shown by the dotted arrow in FIG.
If + have side relay 12 is welded, the control signal from the voltage control unit 15, the + side relay 12 since the off or open, the voltage value output from the voltmeter 17, decreases with time. Therefore, the voltage value output from the voltmeter 17, after a predetermined time has elapsed, if there is a predetermined value or more changes the voltage drop, positive side relay 12 is determined not to be welded, YES in S2, and the process proceeds to S4.

次に、S4において、−側リレー13をオフし、プリチャージリレー14をオンにする(S4)ことによって、リレーの接続状態を変更する。このとき、図2の溶着判定状態(2)に示すように、各リレーは、+側リレー12はオフのままで、−側リレー13はオフで、プリチャージリレー14はオンの状態(以下、第2の状態ともいう)のままである。   Next, in S4, the negative relay 13 is turned off and the precharge relay 14 is turned on (S4), thereby changing the connection state of the relay. At this time, as shown in the welding determination state (2) in FIG. 2, in each relay, the + side relay 12 remains off, the − side relay 13 is off, and the precharge relay 14 is on (hereinafter, (Also called the second state).

次に、第2の状態において、電圧計13が出力する電圧値が、予め決められた時間内に予め設定された閾値TH1b以下になったか否かを判定する(S5)。−側リレー13が溶着していると、電圧制御ユニット15からの制御信号によって、−側リレー13はオフしようとしても、電圧計17が出力する電圧値は、時間の経過と共に低下しない。従って、電圧計17が出力する電圧値が、予め決められた時間経過後において、電圧低下により予め決められた値(この値は、上述したS3における予め決められた値と同じでもよいし、異なってもよい)以上の変化がなければ、−側リレー13は溶着していると判定され、S5でNOとなり、異常処理を行い(S6)、処理は終了する。 Next, in the second state, it is determined whether or not the voltage value output from the voltmeter 13 has become equal to or less than a preset threshold TH 1b within a predetermined time (S5). When the negative relay 13 is welded, the voltage value output from the voltmeter 17 does not decrease with time even if the negative relay 13 is turned off by a control signal from the voltage control unit 15. Therefore, the voltage value output from the voltmeter 17 is a value determined in advance by a voltage drop after a predetermined time has elapsed (this value may be the same as or different from the predetermined value in S3 described above). If the above change does not occur, it is determined that the negative relay 13 is welded, NO is determined in S5, an abnormal process is performed (S6), and the process ends.

なお、S3及びS6の異常処理においては、溶着状態を車両に搭載された警告表示部に警告表示を行う、異常の内容(溶着故障)を示す故障コードを車両制御ユニット15内の不揮発性メモリの所定の記憶領域に記録する等の処理が行われる。車両のメンテナンスマンが、車両のチェック、メンテナンス等を行うとき、どのリレーが溶着しているかを、警告表示部における表示、あるいは不揮発性メモリのデータに基づく故障診断装置等における表示によって、知ることができれば、感電等の事故の未然防止に繋がる。さらに、異常処理において、次にイグニッションキーがオンになっても、メインリレーへのオン信号が出力されないように、リレーの制御が制限されるようにしてもよい。   In the abnormality process of S3 and S6, a failure code indicating the content of the abnormality (welding failure) is displayed in the warning display unit mounted on the vehicle in the welding state, and the failure code indicating the failure state is stored in the nonvolatile memory in the vehicle control unit 15. Processing such as recording in a predetermined storage area is performed. When a vehicle maintenance man performs vehicle check, maintenance, etc., it can know which relay is welded by displaying on a warning display unit or a failure diagnosis device based on data in a nonvolatile memory. If possible, it will help prevent accidents such as electric shock. Further, in the abnormality processing, the relay control may be limited so that the ON signal to the main relay is not output even if the ignition key is turned on next time.

−側リレー13が溶着していなければ、電圧制御ユニット15からの制御信号によって、−側リレー13はオフすなわち開放するので、電圧計17が出力する電圧値は、時間の経過と共に低下する。従って、予め決められた時間経過後において、電圧計17が出力する電圧値に、電圧低下による予め決められた値以上の変化があれば、−側リレー13は溶着していないと判定され、S5でYESとなり、S7の処理へ移行する。   If the -side relay 13 is not welded, the -side relay 13 is turned off, that is, opened by a control signal from the voltage control unit 15, so that the voltage value output from the voltmeter 17 decreases with time. Therefore, if the voltage value output from the voltmeter 17 changes more than a predetermined value due to a voltage drop after a predetermined time has elapsed, it is determined that the negative relay 13 is not welded, and S5 Yes, and the process proceeds to S7.

S7では、+側リレー12と−側リレー13が共に、溶着していないので、正常処理を行う。この正常処理は、何も実行しなくてもよいが、正常であった旨のデータ、例えば時刻データと共に正常であることを示すコードを、車両制御ユニット15の不揮発性メモリ等に記録するようにしてもよい。 In S7, since both the + side relay 12 and the -side relay 13 are not welded, normal processing is performed. This normal processing does not have to be executed, but data indicating that it is normal, for example, a code indicating normality together with time data is recorded in the nonvolatile memory of the vehicle control unit 15 or the like. May be.

そして、処理は終了し、その結果、全リレー、すなわち+側リレー12、−側リレー13及びプリチャージリレー14を接続状態にする制御信号は出力されないので、溶着しているリレーを除き、全リレーは開放状態になる。
従って、メインリレーの+側リレー12と−側リレー13のいずれが溶着故障しているかを検出することができる。特に、+側リレーは溶着し易いため、+側リレーが−側リレーよりも先にチェックされる。
Then, the process ends, and as a result, all relays, that is, control signals for connecting the + side relay 12, the − side relay 13 and the precharge relay 14 are not output. Becomes open.
Thus, the main relay + side relay 1 2 - it is possible to detect which of the side relay 13 is welded failure. In particular, since the + side relay is easily welded, the + side relay is checked before the − side relay.

なお、上述した閾値TH1aとTH1bは、溶着判定時間を短くするように調整して設定される。
さらになお、インバータによっては、電圧低下に応じて、強制的に放電する機能を有するものがあるが、そのような機能を有するインバータの場合は、溶着判定中は、放電を停止させるように制御してもよい。
The threshold values TH1a and TH1b described above are adjusted and set so as to shorten the welding determination time.
Furthermore, some inverters have a function of forcibly discharging in response to a voltage drop. In the case of an inverter having such a function, control is performed so that the discharge is stopped during welding determination. May be.

以上のように、本実施の形態に係るハイブリッド車両には、メインのバッテリを高電圧系回路に接続するためのリレーである、+側リレー12、−側リレー13、プリチャージリレー14と、これらのリレーを制御する制御手段である車両制御ユニット15と、インバータ10の端子電圧(高電圧系回路側の電圧)を検出する手段である電圧計17とが含まれる。車両制御ユニット15には、リレー溶着を検出する手段であるプログラムが含まれる。そして、車両制御ユニット15は、各リレーを所定のシーケンスで制御することによって、バッテリを高電圧系回路に接続した状態(+側リレー12と−側リレー13が共にオンの状態)から、第1の状態、第2の状態、そして全てのリレーがオフの状態まで、状態を変更し、その間、インバータ10の端子電圧値を検出しながら、リレーの溶着検出を行う。具体的には、図2に示すリレー制御シーケンスに従って、+側リレー、−側リレー及びプリチャージリレーの接続及び開放をシーケンス制御し、かつインバータの端子電圧が、予め決められた時間経過後、予め設定された閾値以下になっているか否かを判定することによって、メインリレーの+側リレーと−側リレーのどちらが故障しているかを診断する。 As described above, the hybrid vehicle according to the present embodiment includes the + side relay 12, the − side relay 13, the precharge relay 14, which are relays for connecting the main battery to the high voltage system circuit, and these. The vehicle control unit 15 which is a control means for controlling the relay of the inverter 10 and the voltmeter 17 which is a means for detecting the terminal voltage (voltage on the high voltage system circuit side) of the inverter 10 are included. The vehicle control unit 15 includes a program that is a means for detecting relay welding. Then, the vehicle control unit 15 controls each relay in a predetermined sequence, so that the battery is connected to the high voltage system circuit (the + side relay 12 and the −side relay 13 are both turned on) from the first state. In this state, the second state, and until all the relays are turned off, the state is changed, and the welding of the relay is detected while detecting the terminal voltage value of the inverter 10 during that time. Specifically, according to the relay control sequence shown in FIG. 2, the sequence control of the connection and release of the + side relay, the − side relay and the precharge relay is performed, and the terminal voltage of the inverter is set in advance after a predetermined time has elapsed. by determining whether or not it is below the set threshold, the + side relays of the main relay - diagnosing either side relay has failed.

よって、本実施の形態によれば、溶着検出回路等の検出専用部品を追加することなく、メインリレーの+側リレーと−側リレーのいずれが溶着故障しているかを検出することができる。 Therefore, according to this embodiment, without adding detection dedicated parts such as welding detection circuit, the + side relays of the main relay - either side relay can detect whether the welded failure.

(第2の実施の形態)
第2の実施の形態では、状態変更後、負荷回路側の電圧値が、予め決められた時間経過後において予め決められた値以上変化したか否かの判断を、第1の実施の形態におけるリレー制御シーケンスを用いながら、高電圧系回路側の電圧値の変化量を検出し、その変化量が予め決められた閾値以上であったか否かによって行うことによって、リレーの溶着が検出される。具体的には、図3のS2及びS5の判断ブロックにおいて、第1の実施の形態における判断内容に代えて、予め決められた時間内における溶着判定直前の電圧計17の検出電圧値からの変化量を算出し、その変化量が、予め決められ閾値以上であった否かを判定することによって、リレーの溶着判定を行う。
なお、以下に説明する第2から第5の実施の形態における車両駆動系の構成は、第1の実施の形態の図1の構成と同じであり、リレー溶着判定のリレー制御のシーケンスは、図2に示すシーケンスと同じであり、さらに、溶着判定の処理の流れも図3の処理と同じであるので、これらの説明は省略し、異なる事項のみを説明する。
(Second Embodiment)
In the second embodiment, after the state change, the determination as to whether or not the voltage value on the load circuit side has changed by a predetermined value or more after a predetermined time has passed is made in the first embodiment. While using the relay control sequence, the amount of change in the voltage value on the high voltage system circuit side is detected, and whether or not the amount of change is equal to or greater than a predetermined threshold value is detected, so that welding of the relay is detected. Specifically, in the determination blocks of S2 and S5 in FIG. 3, instead of the determination contents in the first embodiment, the change from the detected voltage value of the voltmeter 17 immediately before the welding determination within a predetermined time. calculating the amount of the change amount, by determining whether was above a predetermined threshold, it performs the weld decision-relay.
The configuration of the vehicle drive system in the second to fifth embodiments described below is the same as the configuration of FIG. 1 of the first embodiment, and the relay control sequence for relay welding determination is shown in FIG. 2 is the same as the sequence shown in FIG. 2, and the flow of the welding determination process is also the same as the process of FIG. 3. Therefore, these descriptions are omitted, and only different items are described.

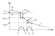
図4を用いて、第2の実施の形態に係る溶着検出方法について詳細に説明する。
図4は、電圧計の検出電圧すなわち高電圧系回路側の電圧が時間の経過と共に変化する様子の例を示す図である。図4に示すように、車両制御ユニット15が、図2のリレー制御シーケンスに従って、+側リレー12をオフする時(以下、t1時という)までは、図2における高電圧系回路接続状態であり、溶着判定直前の電圧計17によって検出された電圧(インバータ10の端子電圧)vの値は、V1である。バッテリ11の出力電圧は、定格値VTと完全に一致しておらず、かつ予め決められた許容範囲RV内で変動する。+側リレー12が溶着していない場合に、第1の状態に変更すると、すなわち+側リレー12をオフすると、t1時後検出電圧vは徐々に低下する。
The welding detection method according to the second embodiment will be described in detail with reference to FIG.
FIG. 4 is a diagram showing an example of how the detection voltage of the voltmeter, that is, the voltage on the high voltage system circuit side changes with time. As shown in FIG. 4, until the vehicle control unit 15 turns off the + side relay 12 according to the relay control sequence of FIG. 2 (hereinafter referred to as t1), the high voltage system circuit connection state in FIG. The value of the voltage (terminal voltage of the inverter 10) v detected by the voltmeter 17 immediately before the welding determination is V1. The output voltage of the battery 11 does not completely match the rated value VT, and fluctuates within a predetermined allowable range RV. If the + side relay 12 is not welded and the state is changed to the first state, that is, if the + side relay 12 is turned off, the detection voltage v gradually decreases after t1.

上述した第1の実施の形態では、予め決められた時間T1が経過した時(以下、t2時という)において、電圧計17の検出電圧vが、予め決められた閾値TH1a以下になったか否かが判断される。
本第2の実施の形態では、t1時から予め決められた時間T1が経過したt2時における、溶着判定直前の電圧計17の検出電圧値V1からの変化量dV1が、予め決められた閾値TH2a以上であるか否かを判定する。そして、溶着判定状態(1)直前の電圧計17の検出電圧値V1からの変化量dV1が、予め決められた閾値TH2a以上のときは、+側リレー12は、溶着していないと判定し、予め決められた閾値TH2a以上でないときは、+側リレー12は、溶着していると判定される。
In the first embodiment described above, whether or not the detected voltage v of the voltmeter 17 has become equal to or less than a predetermined threshold TH1a when a predetermined time T1 has elapsed (hereinafter referred to as t2). Is judged.
In the second embodiment, the change amount dV1 from the detected voltage value V1 of the voltmeter 17 immediately before the welding determination at time t2 when a predetermined time T1 has elapsed from time t1 is a predetermined threshold TH2a. It is determined whether it is above. When the amount of change dV1 from the detected voltage value V1 of the voltmeter 17 immediately before the welding determination state (1) is equal to or greater than a predetermined threshold TH2a, it is determined that the + side relay 12 is not welded. When the threshold value TH2a is not greater than or equal to the predetermined threshold value TH2a, it is determined that the positive relay 12 is welded.

同様に、−側リレー13についても、溶着判定状態(2)直前の時(以下、t3時という)の電圧計17の検出電圧値V2からの変化量dV2が、t3時から予め決められた時間T2が経過した時(以下、t4時という)において、予め決められた閾値TH2b以上であるか否かに基づいて、−側リレー13が、溶着しているか否かを判定する。
これらの判定のために、上述した図2のフローチャートにおけるS2とS5において、変化量を演算して求め、予め決められた閾値との比較が行われ、予め決められた閾値以上でなければ、S2又はS5においてNOとなって、異常処理が実行される。S2とS5の両方において、変化量が予め決められた閾値以上であれば、YESとなって、正常処理が実行される。異常処理においては、溶着状態を警告すると共に、リレーの接続を禁止し車両を停止する等の処理が行われる。
Similarly, for the negative relay 13, the amount of change dV2 from the detected voltage value V2 of the voltmeter 17 immediately before the welding determination state (2) (hereinafter referred to as t3) is a predetermined time from t3. When T2 has elapsed (hereinafter referred to as t4), it is determined whether or not the negative relay 13 is welded based on whether or not the threshold TH2b is equal to or greater than a predetermined threshold value TH2b.
For these determinations, the amount of change is calculated and calculated in S2 and S5 in the flowchart of FIG. 2 described above, and compared with a predetermined threshold value. Alternatively, NO is determined in S5, and the abnormality process is executed. In both S2 and S5, if the amount of change is equal to or greater than a predetermined threshold value, the determination is YES and normal processing is executed. In the abnormal processing, processing such as warning of the welding state and prohibition of connection of the relay to stop the vehicle is performed.

従って、本第2の実施の形態によれば、第1の実施の形態と同様に、溶着検出回路等の検出専用部品を追加することなく、メインリレーの+側リレーと−側リレーのいずれが溶着故障しているかを検出することができる。加えて、溶着判定直前の電圧計の検出電圧値を基準に、変化量を求めて、溶着判定しているので、溶着検出の精度の向上、及び判定時間の短縮化を図ることができる。 Therefore, according to this second embodiment, like the first embodiment, without adding detection dedicated parts such as welding detection circuit, the + side relays of the main relay - either side relay It is possible to detect whether or not welding has failed. In addition, since the amount of change is obtained based on the detected voltage value of the voltmeter immediately before the welding determination and the welding determination is made, it is possible to improve the accuracy of the welding detection and shorten the determination time.

(第3の実施の形態)
第3の実施の形態では、状態変更後、負荷回路側の電圧値が、予め決められた時間経過後において予め決められた値以上変化したか否かの判断を、第1の実施の形態におけるリレー制御シーケンスを用いながら、予め決められた値からの高電圧系回路側の電圧値の変化量を検出し、その変化量が予め決められた閾値以上であったか否かを判定することによって、リレーの溶着を検出する。具体的には、図3のS2及びS5の判断ブロックにおいて、第1の実施の形態における判断内容に代えて、予め決められた時間内における予め決められた値からの変化量を算出し、その変化量が、予め決められら閾値以上であった否かを判定することによって、リレーの溶着判定を行う。
図4を用いて、第3の実施の形態に係る溶着判定方法について詳細に説明する。
図4において、VTは、予め決められた値、例えば、バッテリ11の定格出力値である。第2の実施の形態では、溶着判定直前の電圧計17の検出電圧値V1からの変化量dV1を用いていたが、第3の実施の形態では、バッテリ11の定格出力値等の予め決められた値VTからの変化量dVTを用いる。図4に示すように、t2時において、変化量dVTが、予め決められた閾値TH3a以上になったか否かが判断される。変化量dVTが、予め決められた閾値TH3a以上のときは、+側リレー12は、溶着していないと判定し、予め決められた閾値TH3a以上でないときは、+側リレー12は、溶着していると判定される。
(Third embodiment)
In the third embodiment, after the state change, the determination as to whether or not the voltage value on the load circuit side has changed by a predetermined value or more after a predetermined time has passed is made in the first embodiment. By using the relay control sequence, the amount of change in the voltage value on the high voltage system circuit side from a predetermined value is detected, and it is determined whether the amount of change is equal to or greater than a predetermined threshold. Detects welding. Specifically, in the determination blocks of S2 and S5 in FIG. 3, instead of the determination contents in the first embodiment, the amount of change from a predetermined value within a predetermined time is calculated. By determining whether or not the amount of change is equal to or greater than a predetermined threshold value, relay welding is determined.
The welding determination method according to the third embodiment will be described in detail with reference to FIG.
In FIG. 4, VT is a predetermined value, for example, a rated output value of the battery 11. In the second embodiment, the amount of change dV1 from the detected voltage value V1 of the voltmeter 17 immediately before the welding determination is used, but in the third embodiment, the rated output value of the battery 11 and the like are determined in advance. The amount of change dVT from the measured value VT is used. As shown in FIG. 4, at t2, it is determined whether or not the change amount dVT is equal to or greater than a predetermined threshold value TH3a. When the change amount dVT is equal to or greater than a predetermined threshold TH3a, it is determined that the + side relay 12 is not welded. When the change amount dVT is not equal to or greater than the predetermined threshold TH3a, the + side relay 12 is welded. It is determined that

同様に、−側リレー13についても、変化量dVTが、t4時において、予め決められた閾値TH3b以上であるか否かに基づいて、−側リレー13が、溶着しているか否かを判定する。
従って、本第3の実施の形態によれば、第1の実施の形態と同様に、溶着検出回路等の検出専用部品を追加することなく、メインリレーの+側リレーと−側リレーのいずれが溶着故障しているかを検出することができる。加えて、予め決められた値を基準に、変化量を求めて、溶着判定しているので、溶着検出の精度の向上、及び判定時間の短縮化を図ることができる。
Similarly, with respect to the negative relay 13, whether or not the negative relay 13 is welded is determined based on whether or not the change amount dVT is equal to or greater than a predetermined threshold TH3b at t4. .
Therefore, according to the third embodiment, as in the first embodiment, any of the positive side relay and the negative side relay of the main relay can be used without adding a dedicated detection part such as a welding detection circuit. It is possible to detect whether a welding failure has occurred. In addition, since the amount of change is obtained based on a predetermined value and welding is determined, the accuracy of welding detection can be improved and the determination time can be shortened.

(第4の実施の形態)
第4の実施の形態では、状態変更後、負荷回路側の電圧値が、予め決められた時間経過後において予め決められた値以上変化したか否かの判断を、第1の実施の形態におけるリレー制御シーケンスを用いながら、高電圧系回路側の電圧値の変化量を検出し、溶着判定直前の高電圧系回路側の電圧値に対する変化量の割合が予め決められた閾値以上であったか否かを判定することによって、リレーの溶着を検出する。具体的には、図3のS2及びS5の判断ブロックにおいて、第1の実施の形態における判断内容に代えて、溶着判定直前の高電圧系回路側の電圧値に対する、予め決められた時間内における高電圧系回路側の電圧値の変化量の割合を算出し、その割合が、予め決められた閾値以上であったか否かを判定することによって、リレーの溶着判定を行う。
図4を用いて、第4の実施の形態に係る溶着判定方法について詳細に説明する。
第2及び第3の実施の形態では、溶着判定直前の電圧計17の検出電圧値V1からの変化量dV1あるいは予め決められた値VTからの変化量dVTを用いていたが、第4の実施の形態では、溶着判定直前の高電圧計回路側の電圧値V1と、変化量との比率を用いる。すなわち、t2時において、溶着判定直前の高電圧計回路側の電圧値V1と、変化量dV1との比率dV1/V1が、予め決められた閾値TH4a以上になったか否かが判断される。比率dV1/V1が、予め決められた閾値TH4a以上のときは、+側リレー12は、溶着していないと判定し、予め決められた閾値TH3a以上でないときは、+側リレー12は、溶着していると判定される。
(Fourth embodiment)
In the fourth embodiment, after the state change, whether or not the voltage value on the load circuit side has changed by a predetermined value or more after a predetermined time has elapsed is determined in the first embodiment. Whether or not the amount of change in the voltage value on the high voltage system circuit side is detected using the relay control sequence, and the ratio of the change amount to the voltage value on the high voltage system circuit side immediately before the welding determination is greater than or equal to a predetermined threshold value. Is detected to detect welding of the relay. Specifically, in the determination blocks of S2 and S5 in FIG. 3, in place of the determination contents in the first embodiment, the voltage value on the high voltage system circuit side immediately before the welding determination is within a predetermined time. The ratio of the amount of change in the voltage value on the high voltage system circuit side is calculated, and it is determined whether or not the ratio is equal to or greater than a predetermined threshold value, thereby performing relay welding determination.
The welding determination method according to the fourth embodiment will be described in detail with reference to FIG.
In the second and third embodiments, the change amount dV1 from the detection voltage value V1 of the voltmeter 17 immediately before the welding determination or the change amount dVT from the predetermined value VT is used. In this embodiment, the ratio between the voltage value V1 on the high voltmeter circuit side immediately before the welding determination and the amount of change is used. That is, at time t2, it is determined whether the ratio dV1 / V1 between the voltage value V1 on the high voltmeter circuit side immediately before the welding determination and the change amount dV1 is equal to or greater than a predetermined threshold TH4a. When the ratio dV1 / V1 is equal to or greater than a predetermined threshold TH4a, it is determined that the + side relay 12 is not welded. When the ratio dV1 / V1 is not equal to or greater than the predetermined threshold TH3a, the + side relay 12 is It is determined that it is welded.

同様に、−側リレー13についても、溶着判定直前の高電圧計回路側の電圧値V2と、変化量dV2との比率dV2/V2が、t4時において、予め決められた閾値TH4b以上であるか否かに基づいて、−側リレー13が、溶着しているか否かを判定する。
従って、本第4の実施の形態によれば、第1の実施の形態と同様に、溶着検出回路等の検出専用部品を追加することなく、メインリレーの+側リレーと−側リレーのいずれが溶着故障しているかを検出することができる。加えて、溶着判定直前の電圧計の検出電圧値に対する変化量の比率を求めて、溶着判定しているので、溶着検出の精度の向上、及び判定時間の短縮化を図ることができる。
Similarly, for the negative relay 13, whether the ratio dV2 / V2 between the voltage value V2 on the high voltmeter circuit immediately before the welding determination and the variation dV2 is equal to or greater than a predetermined threshold TH4b at t4. Based on whether or not, it is determined whether or not the negative relay 13 is welded.
Therefore, according to the fourth embodiment, like the first embodiment, without adding detection dedicated parts such as welding detection circuit, the + side relays of the main relay - either side relay It is possible to detect whether or not welding has failed. In addition, since the ratio of the change amount with respect to the detected voltage value of the voltmeter immediately before the welding determination is obtained and the welding determination is made, it is possible to improve the accuracy of the welding detection and shorten the determination time.

(第5の実施の形態)
第5の実施の形態では、状態変更後、負荷回路側の電圧値が、予め決められた時間経過後において予め決められた値以上変化したか否かの判断を、第1の実施の形態におけるリレー制御シーケンスを用いながら、高電圧系回路側の電圧値の変化量を検出し、予め決められた値に対するその変化量の割合が予め決められた閾値以上であったか否かを判定することによって、リレーの溶着を検出する。具体的には、図3のS2及びS5の判断ブロックにおいて、第1の実施の形態における判断内容に代えて、予め決められた時間内における予め決められた値に対する高電圧系回路側の電圧値の変化量の割合を算出し、その割合が、予め決められ閾値以上であった否かを判定することによって、リレーの溶着判定を行う。
図4を用いて、第5の実施の形態に係る溶着判定方法について詳細に説明する。
第4の実施の形態では、溶着判定直前の電圧計17の検出電圧値V1に対する変化量dV1の割合を用いているが、第5の実施の形態では、予め決められた値に対する変化量の割合を用いる。すなわち、t2時において、バッテリの定格出力等の予め決められた値VTと、変化量dVTとの比率dVT/VTが、予め決められた閾値TH5a以上になったか否かが判断される。比率dVT/VTが、予め決められた閾値TH5a以上のときは、+側リレー12は、溶着していないと判定し、予め決められた閾値TH5a以上でないときは、+側リレー12は、溶着していると判定される。
(Fifth embodiment)
In the fifth embodiment, after the state change, the determination as to whether or not the voltage value on the load circuit side has changed by a predetermined value or more after the lapse of a predetermined time is made in the first embodiment. By detecting the amount of change of the voltage value on the high voltage system circuit side while using the relay control sequence, and determining whether the ratio of the amount of change with respect to the predetermined value is equal to or greater than a predetermined threshold, Detects relay welding. Specifically, in the determination blocks of S2 and S5 in FIG. 3, instead of the determination content in the first embodiment, the voltage value on the high voltage system circuit side with respect to a predetermined value within a predetermined time The ratio of the amount of change is calculated, and it is determined whether or not the ratio is equal to or greater than a predetermined threshold value, thereby performing relay welding determination.
The welding determination method according to the fifth embodiment will be described in detail with reference to FIG.
In the fourth embodiment, the ratio of the change amount dV1 to the detected voltage value V1 of the voltmeter 17 immediately before the welding determination is used, but in the fifth embodiment, the ratio of the change amount to a predetermined value. Is used. That is, at time t2, it is determined whether or not the ratio dVT / VT between the predetermined value VT such as the rated output of the battery and the amount of change dVT is equal to or greater than a predetermined threshold TH5a. When the ratio dVT / VT is equal to or greater than a predetermined threshold TH5a, it is determined that the + side relay 12 is not welded. When the ratio dVT / VT is not equal to or greater than the predetermined threshold TH5a, the + side relay 12 is It is determined that it is welded.

同様に、−側リレー13についても、予め決められた値に対する変化量の割合が、予め決められた閾値以上であるか否かに基づいて、−側リレー13が、溶着しているか否かを判定する。なお、割合としては、予め決められた値VTに対する、t1時からt4時間における変化量dVT1の比率dVT1/VT、あるいは予め決められた値VTに対する、t3時からt4時間における変化量dVT2の比率dVT2/VTを用いてもよい。
従って、本第5の実施の形態によれば、第1の実施の形態と同様に、溶着検出回路等の検出専用部品を追加することなく、メインリレーの+側リレーと−側リレーのいずれが溶着故障しているかを検出することができる。加えて、予め決められた値を基準に対する変化量の比率を求めて、溶着判定しているので、溶着検出の精度の向上、及び判定時間の短縮化を図ることができる。
Similarly, for the negative relay 13, whether the negative relay 13 is welded or not is determined based on whether or not the ratio of the change amount to the predetermined value is equal to or greater than a predetermined threshold. judge. As a ratio, the ratio dVT1 / VT of the change dVT1 from t1 to t4 with respect to the predetermined value VT, or the ratio dVT2 of the change dVT2 from t3 to t4 with respect to the predetermined value VT / VT may be used.
Therefore, according to the fifth embodiment, as in the first embodiment, any of the positive side relay and the negative side relay of the main relay can be used without adding a detection-dedicated component such as a welding detection circuit. It is possible to detect whether a welding failure has occurred. In addition, since a welding ratio is determined by obtaining a ratio of a change amount with respect to a predetermined value as a reference, it is possible to improve the accuracy of welding detection and shorten the determination time.

(第6の実施の形態)
第6の実施の形態では、状態変更後、負荷回路側の電圧値が、予め決められた時間経過後において予め決められた値以上変化したか否かの判断を、第1の実施の形態におけるリレー制御シーケンスを用いながら、バッテリの電圧を検出する手段を設け、そのバッテリ電圧値と、高電圧系回路側の電圧値とを用いて、溶着判定を行う。具体的には、図3の判定処理中のS2及びS5において、第1の実施の形態における判断内容に代えて、バッテリ11の電圧値と、高電圧系回路側の電圧値との差が演算して求められ、その差あるいはその差のバッテリ電圧値に対する割合が、予め決められた値以上か否かによって、溶着判定を行う。
図5は、第6の実施の形態に係わる車両の駆動系の構成を示す構成図であり、図1の構成と同じ構成要素については、同一の符号を付し説明は省略する。図5において、19は、電圧計であり、バッテリ11の出力電圧を測定する。20は、バッテリ電圧測定ユニットであり、電圧計19が測定したバッテリ電圧値のデータを、データ通信により車両制御ユニット15に送信する。
(Sixth embodiment)
In the sixth embodiment, after the state change, it is determined whether or not the voltage value on the load circuit side has changed by a predetermined value or more after a predetermined time elapses. A means for detecting the voltage of the battery is provided while using the relay control sequence, and welding determination is performed using the battery voltage value and the voltage value on the high voltage system circuit side. Specifically, in S2 and S5 during the determination process of FIG. 3, the difference between the voltage value of the battery 11 and the voltage value on the high voltage system circuit side is calculated instead of the determination contents in the first embodiment. The welding determination is performed depending on whether the difference or the ratio of the difference to the battery voltage value is equal to or greater than a predetermined value.
FIG. 5 is a block diagram showing the configuration of a vehicle drive system according to the sixth embodiment. The same components as those in FIG. 1 are denoted by the same reference numerals, and description thereof is omitted. In FIG. 5, reference numeral 19 denotes a voltmeter that measures the output voltage of the battery 11. Reference numeral 20 denotes a battery voltage measurement unit that transmits battery voltage value data measured by the voltmeter 19 to the vehicle control unit 15 by data communication.

第6の実施の形態においても、図2のリレー制御シーケンスが用いられ、+側リレー12、−側リレー13及びプリチャージリレー14が、そのリレー制御シーケンスに従って制御される。そして、バッテリ11の電圧値BVと高電圧系回路側の電圧値vとの差dBV、あるいはその差dBVのバッテリ電圧値BVに対する割合dBV/BVが、予め決められた閾値以上か否かによって、溶着判定を行う。   Also in the sixth embodiment, the relay control sequence of FIG. 2 is used, and the + side relay 12, the −side relay 13 and the precharge relay 14 are controlled according to the relay control sequence. The difference dBV between the voltage value BV of the battery 11 and the voltage value v on the high voltage system circuit side, or the ratio dBV / BV of the difference dBV to the battery voltage value BV is greater than or equal to a predetermined threshold value. Perform welding determination.

図4のt2時において、差dBVが予め決められた閾値TH6a以上になったか否か、あるいは割合dB/BVが予め決められた閾値TH7a以上になったか否かが判断される。差dBVが予め決められた閾値TH6a以上のとき、あるいは割合dBV/BVが予め決められた閾値TH7a以上のときは、+側リレー12は、溶着していないと判定し、差dBVが予め決められた閾値TH6a以上でないとき、あるいは割合dB/BVが予め決められた閾値TH7a以上でないときは、+側リレー12は、溶着していると判定される。 At t2 in FIG. 4, it is determined whether or not the difference dBV is equal to or greater than a predetermined threshold TH6a, or whether the ratio dB / BV is equal to or greater than a predetermined threshold TH7a. When the difference dBV is greater than or equal to the predetermined threshold TH6a, or when the ratio dBV / BV is greater than or equal to the predetermined threshold TH7a, it is determined that the + side relay 12 is not welded, and the difference dBV is predetermined. When the threshold value TH6a is not greater than or equal to or when the ratio dB / BV is not equal to or greater than the predetermined threshold value TH7a, it is determined that the + side relay 12 is welded.

同様に、−側リレー13についても、差dBV又は割合dBV/BVが、t4時において、予め決められた閾値TH6b以上又は予め決められた閾値TH7b以上であるか否かに基づいて、−側リレー13が、溶着しているか否かを判定する。
従って、本第6の実施の形態によれば、他の実施の形態と同様に、溶着検出回路等の検出専用部品を追加することなく、メインリレーの+側リレーと−側リレーのいずれが溶着故障しているかを検出することができる。加えて、バッテリ電圧との差、あるいはその差のバッテリ電圧に対する比率を求めて、溶着判定しているので、溶着検出の精度の向上を図ることができる。

Similarly, for the negative relay 13, the difference dBV or the ratio dBV / BV is based on whether or not the negative threshold TH6b is equal to or higher than a predetermined threshold TH6b or higher than a predetermined threshold TH7b at t4. 13 determines whether or not it is welded.
Therefore, according to the sixth embodiment, as with the other embodiments, without adding a detection dedicated parts such as welding detection circuit, the main relay + side relays and - is any side relay It is possible to detect whether a welding failure has occurred. In addition, since the welding determination is performed by obtaining the difference from the battery voltage or the ratio of the difference to the battery voltage, the accuracy of welding detection can be improved.

以上のように、上述した第1から第6の実施の形態によれば、溶着検出専用の検出回路を設けることなく、予め決められたリレー制御シーケンスによるリレーをオン及びオフ制御を行い、負荷回路側の電圧値を測定することによって、+側リレーと−側リレーのいずれが溶着しているかを検出することができる。特に、上述した第1から第6の実施の形態では、制御装置、すなわち車両制御ユニットにおけるプログラムに、上述した溶着判定の処理を実行するためのプログラムを追加するだけでよいので、実装も容易である。   As described above, according to the above-described first to sixth embodiments, the load circuit is configured to perform on / off control of a relay according to a predetermined relay control sequence without providing a detection circuit dedicated to welding detection. By measuring the voltage value on the side, it is possible to detect which of the + side relay and the − side relay is welded. In particular, in the above-described first to sixth embodiments, it is only necessary to add a program for executing the above-described welding determination process to the program in the control device, that is, the vehicle control unit. is there.

なお、以上の実施の形態では、パラレルハイブリッド方式の車両の例で説明したが、上述したリレーの溶着を検出する方法は、シリーズハイブリッド方式、あるいはシリーズ・パラレルハイブリッド方式の車両においても、さらに、ハイブリッド方式でない、電気自動車にも適用できるものである。   In the above embodiment, the parallel hybrid type vehicle has been described as an example. However, the method for detecting the welding of the relay described above is applicable to a series hybrid type or a series / parallel hybrid type vehicle. It can be applied to an electric vehicle that is not a system.

本発明は、上述した実施の形態に限定されるものではなく、本発明の要旨を変えない範囲において、種々の変更、改変等が可能である。   The present invention is not limited to the above-described embodiments, and various changes and modifications can be made without departing from the scope of the present invention.

本発明の第1の実施の形態に係わる車両の駆動系の構成を示す構成図である。It is a block diagram which shows the structure of the drive system of the vehicle concerning the 1st Embodiment of this invention. リレー制御シーケンスの例を説明するための図である。It is a figure for demonstrating the example of a relay control sequence. 溶着検出処理の流れの例を示すフローチャートである。It is a flowchart which shows the example of the flow of a welding detection process. 高電圧系回路側の電圧が時間の経過と共に変化する様子の例を示す図である。It is a figure which shows the example of a mode that the voltage by the side of a high voltage system circuit changes with progress of time. 第6の実施の形態に係わる車両の駆動系の構成を示す構成図である。It is a block diagram which shows the structure of the drive system of the vehicle concerning 6th Embodiment.

符号の説明Explanation of symbols

1・・・1ンジン、2、4・・・モータ、3・・・プラネタリギヤユニット、5・・・動力変換機構、6・・・減速歯車列、7・・・デファレンシャル機構、8・・・駆動軸、9・・・駆動輪、10・・・インバータ、11・・・バッテリ、12・・・+側リレー、13・・・−側リレー、14・・・プリチャージリレー、15・・・車両制御ユニット、16・・・インバータ制御ユニット、17、19・・・電圧計、18・・・抵抗器、20・・・バッテリ電圧測定ユニット
代理人 弁理士 伊 藤 進
DESCRIPTION OF SYMBOLS 1 ... 1 engine, 2, 4 ... Motor, 3 ... Planetary gear unit, 5 ... Power conversion mechanism, 6 ... Reduction gear train, 7 ... Differential mechanism, 8 ... Drive Axis, 9 ... drive wheels, 10 ... inverter, 11 ... battery, 12 ... + side relay, 13 ...- side relay, 14 ... precharge relay, 15 ... vehicle Control unit, 16 ... Inverter control unit, 17, 19 ... Voltmeter, 18 ... Resistor, 20 ... Battery voltage measuring unit agent Patent attorney Susumu Ito

Claims (7)

負荷回路とバッテリの間に接続され、該バッテリの+側に接続される+側リレーと、前記バッテリの−側に接続される−側リレーの溶着を検出する装置であって、
前記+側リレーと前記−側リレーが共にオン、かつ前記+側リレーに並列に設けられる、プリチャージリレーとプリチャージ用抵抗器からなる直列回路の前記プリチャージリレーがオフの状態から、前記+側リレーと前記プリチャージリレーがオフ、かつ前記−側リレーがオンの状態である第1の状態に変更する第1の状態変更手段と、
前記第1の状態における前記負荷回路側の電圧値が、予め決められた第1の時間経過後において予め決められた第1の値以上変化しない場合に、前記+側リレーを溶着と判定する第1の溶着判定手段と、
前記第1の状態から、前記+側リレーと前記−側リレーがオフ、かつ前記プリチャージリレーがオンの状態である第2の状態に変更する第2の状態変更手段と、
前記第2の状態における前記負荷回路側の電圧値が、予め決められた第2の時間経過後において予め決められた第2の値以上変化しない場合に、前記−側リレーを溶着と判定する第2の溶着判定手段とを有することを特徴とするリレー溶着検出装置。
Is connected between the load circuit and the battery, and the + side relays being connected to the positive side of the battery, the battery - are connected to the side - a device for detecting the welding of the side relay,
From the state in which the precharge relay of the series circuit composed of a precharge relay and a precharge resistor, which is provided in parallel with the + side relay and the + side relay, is off, the + First state changing means for changing to a first state in which the side relay and the precharge relay are off and the -side relay is on;
Determining a voltage value of the load circuit side in the first state, when no change predetermined first value or more and the first time after the predetermined, and welding the positive side relay First welding determination means;
A second state changing means for changing from the first state to a second state in which the + side relay and the -side relay are off and the precharge relay is on;
When the voltage value on the load circuit side in the second state does not change more than a predetermined second value after a predetermined second time has elapsed, the negative relay is determined to be welded. And a welding determination unit.
負荷回路とバッテリの間に接続され、該バッテリの+側に接続される+側リレーと、前記バッテリの−側に接続される−側リレーの溶着を検出する方法であって、
前記+側リレーと前記−側リレーが共にオン、かつ前記+側リレーに並列に設けられる、プリチャージリレーとプリチャージ用抵抗器からなる直列回路の前記プリチャージリレーがオフの状態から、前記+側リレーと前記プリチャージリレーがオフ、かつ前記−側リレーがオンの状態である第1の状態に変更し、
前記第1の状態における前記負荷回路側の電圧値が、予め決められた第1の時間経過後において予め決められた第1の値以上変化しない場合に、前記+側リレーを溶着と判定し、
前記第1の状態から、前記+側リレーと前記−側リレーがオフ、かつ前記プリチャージリレーがオンの状態である第2の状態に変更し、
前記第2の状態における前記負荷回路側の電圧値が、予め決められた第2の時間経過後において予め決められた第2の値以上変化しない場合に、前記−側リレーを溶着と判定することを特徴とするリレー溶着検出方法。
Is connected between the load circuit and the battery, and the + side relays being connected to the positive side of the battery, the battery - are connected to the side - a method of detecting the welding of the side relay,
From the state in which the precharge relay of the series circuit composed of a precharge relay and a precharge resistor, which is provided in parallel with the + side relay and the + side relay, is off, the + Change to a first state where the side relay and the precharge relay are off and the -side relay is on,
Voltage value of the load circuit side in the first state, when no change the first value greater than or equal to a predetermined at the first time after the predetermined, the + side relay determines that welding ,
The first state is changed to a second state in which the + side relay and the − side relay are turned off and the precharge relay is turned on,
When the voltage value on the load circuit side in the second state does not change more than a predetermined second value after elapse of a predetermined second time, the negative relay is determined to be welded. A relay welding detection method characterized by the above.
ハイブリッド車両におけるモータ駆動用のインバータとバッテリの間に接続され、該バッテリの+側に接続される+側リレーと、前記バッテリの−側に接続される−側リレーの溶着を検出する装置であって、
前記ハイブリッド車両におけるエンジン停止指令に基づいて、前記+側リレーと前記−側リレーが共にオン、かつ前記+側リレーに並列に設けられる、プリチャージリレーとプリチャージ用抵抗器からなる直列回路の前記プリチャージリレーがオフの状態から、前記+側リレーと前記プリチャージリレーがオフ、かつ前記−側リレーがオンの状態である第1の状態に変更する第1の状態変更手段と、
前記第1の状態における前記負荷回路側の電圧値が、予め決められた第1の時間経過後において予め決められた第1の値以上変化しない場合に、前記+側リレーを溶着と判定する第1の溶着判定手段と、
前記第1の状態から、前記+側リレーと前記−側リレーがオフ、かつ前記プリチャージリレーがオンの状態である第2の状態に変更する第2の状態変更手段と、
前記第2の状態における前記負荷回路側の電圧値が、予め決められた第2の時間経過後において予め決められた第2の値以上変化しない場合に、前記−側リレーを溶着と判定する第2の溶着判定手段とを有することを特徴とするリレー溶着検出装置。
Is connected between the inverter and the battery for driving the motor in a hybrid vehicle, the + side relays being connected to the positive side of the battery, the battery - are connected to the side - an apparatus for detecting welding of the side relay There,
Based on an engine stop command in the hybrid vehicle, the + side relay and the − side relay are both turned on, and the parallel circuit is provided in parallel with the + side relay. A first state changing means for changing from a state in which the precharge relay is off to a first state in which the + side relay and the precharge relay are off and the -side relay is on;
Determining a voltage value of the load circuit side in the first state, when no change predetermined first value or more and the first time after the predetermined, and welding the positive side relay First welding determination means;
A second state changing means for changing from the first state to a second state in which the + side relay and the -side relay are off and the precharge relay is on;
When the voltage value on the load circuit side in the second state does not change more than a predetermined second value after a predetermined second time has elapsed, the negative relay is determined to be welded. And a welding determination unit.
ハイブリッド車両におけるモータ駆動用のインバータとバッテリの間に接続され、該バッテリの+側に接続される+側リレーと、前記バッテリの−側に接続される−側リレーの溶着を検出する方法であって、
前記ハイブリッド車両における車両制御停止指令に基づいて、前記+側リレーと前記−側リレーが共にオン、かつ前記+側リレーに並列に設けられる、プリチャージリレーとプリチャージ用抵抗器からなる直列回路の前記プリチャージリレーがオフの状態から、前記+側リレーと前記プリチャージリレーがオフ、かつ前記−側リレーがオンの状態である第1の状態に変更し、
前記第1の状態における前記負荷回路側の電圧値が、予め決められた第1の時間経過後において予め決められた第1の値以上変化しない場合に、前記+側リレーを溶着と判定し、
前記第1の状態から、前記+側リレーと前記−側リレーがオフ、かつ前記プリチャージリレーがオンの状態である第2の状態に変更し、
前記第2の状態における前記負荷回路側の電圧値が、予め決められた第2の時間経過後において予め決められた第2の値以上変化しない場合に、前記−側リレーを溶着と判定することを特徴とするリレー溶着検出方法。
Is connected between the inverter and the battery for driving the motor in a hybrid vehicle, the + side relays being connected to the positive side of the battery, the battery - are connected to the side - in the method for detecting the welding of the side relay There,
Based on a vehicle control stop command in the hybrid vehicle, a series circuit including a precharge relay and a precharge resistor, in which both the + side relay and the − side relay are turned on and provided in parallel to the + side relay. The precharge relay is changed from the off state to the first state in which the + side relay and the precharge relay are off and the-side relay is on.
Voltage value of the load circuit side in the first state, when no change the first value greater than or equal to a predetermined at the first time after the predetermined, the + side relay determines that welding ,
The first state is changed to a second state in which the + side relay and the − side relay are turned off and the precharge relay is turned on,
When the voltage value on the load circuit side in the second state does not change more than a predetermined second value after elapse of a predetermined second time, the negative relay is determined to be welded. A relay welding detection method characterized by the above.
前記第1の状態における前記負荷回路側の電圧値が、予め決められた第1の時間経過後において予め決められた第1の値以上変化したか否かは、前記第1の状態における前記負荷回路側の電圧値が、予め決められた第1の閾値以下になったか否かによって判断されることを特徴とする請求項1又は請求項3に記載のリレー溶着検出装置。   Whether or not the voltage value on the load circuit side in the first state has changed by a predetermined first value or more after a predetermined first time has elapsed is determined by the load in the first state. The relay welding detection apparatus according to claim 1 or 3, wherein the voltage determination on the circuit side is determined based on whether or not the voltage value is equal to or less than a predetermined first threshold value. 前記第1の状態における前記負荷回路側の電圧値が、予め決められた第1の時間経過後において予め決められた第1の値以上変化したか否かは、前記第1の状態に変更する直前における前記負荷回路側の電圧値又は予め決められた値からの前記第1の状態における前記負荷回路側の電圧値の変化量、あるいは、前記第1の状態に変更する直前における前記負荷回路側の電圧値又は予め決められた値に対する前記第1の状態における前記負荷回路側の電圧値の割合が、予め決められた第2の閾値以上であるか否かによって判断されることを特徴とする請求項1又は請求項3に記載のリレー溶着検出装置。   Whether the voltage value on the load circuit side in the first state has changed by a predetermined first value or more after the first predetermined time has elapsed is changed to the first state. The voltage value on the load circuit side immediately before or the amount of change in the voltage value on the load circuit side in the first state from a predetermined value, or the load circuit side immediately before changing to the first state Or a ratio of the voltage value on the load circuit side in the first state with respect to a predetermined voltage value or a predetermined value is determined by whether or not a ratio is equal to or higher than a predetermined second threshold value. The relay welding detection apparatus according to claim 1 or 3. 前記第1の状態における前記負荷回路側の電圧値が、予め決められた第1の時間経過後において予め決められた第1の値以上変化したか否かは、前記第1の状態における前記バッテリの出力値と前記負荷回路側の電圧値との差、あるいは、前記第1の状態における前記バッテリの出力値に対する前記第1の状態における前記負荷回路側の電圧値の割合が、予め決められた第3の閾値以上であるか否かによって判断されることを特徴とする請求項1又は請求項3に記載のリレー溶着検出装置。   Whether or not the voltage value on the load circuit side in the first state has changed by a predetermined first value or more after a predetermined first time has elapsed is determined by whether or not the battery in the first state Or the ratio of the voltage value on the load circuit side in the first state to the output value of the battery in the first state is determined in advance. The relay welding detection device according to claim 1, wherein the relay welding detection device is determined based on whether or not the third threshold value is exceeded.
JP2003352828A 2003-10-10 2003-10-10 Relay welding detection device and relay welding detection method Expired - Fee Related JP4570859B2 (en)

Priority Applications (1)

Application Number Priority Date Filing Date Title
JP2003352828A JP4570859B2 (en) 2003-10-10 2003-10-10 Relay welding detection device and relay welding detection method

Applications Claiming Priority (1)

Application Number Priority Date Filing Date Title
JP2003352828A JP4570859B2 (en) 2003-10-10 2003-10-10 Relay welding detection device and relay welding detection method

Publications (2)

Publication Number Publication Date
JP2005116485A JP2005116485A (en) 2005-04-28
JP4570859B2 true JP4570859B2 (en) 2010-10-27

Family

ID=34543629

Family Applications (1)

Application Number Title Priority Date Filing Date
JP2003352828A Expired - Fee Related JP4570859B2 (en) 2003-10-10 2003-10-10 Relay welding detection device and relay welding detection method

Country Status (1)

Country Link
JP (1) JP4570859B2 (en)

Cited By (4)

* Cited by examiner, † Cited by third party
Publication number Priority date Publication date Assignee Title
KR101407735B1 (en) 2012-09-28 2014-06-27 한국단자공업 주식회사 Electric vehicle and method for detecting status of PRA pre-charge resistor in the same
WO2015137006A1 (en) * 2014-03-11 2015-09-17 三菱重工オートモーティブサーマルシステムズ株式会社 On-state malfunction detection device and method therefor
WO2020105995A1 (en) * 2018-11-22 2020-05-28 주식회사 엘지화학 Device and method for checking whether contactor provided in ess is fused
WO2022114559A1 (en) * 2020-11-27 2022-06-02 주식회사 엘지에너지솔루션 Relay state management device and operation method therefor

Families Citing this family (12)

* Cited by examiner, † Cited by third party
Publication number Priority date Publication date Assignee Title
JP4305462B2 (en) 2006-03-09 2009-07-29 トヨタ自動車株式会社 Vehicle drive power supply system
JP4845779B2 (en) * 2007-03-12 2011-12-28 株式会社日立製作所 DC output circuit with failure detection function
JP4900267B2 (en) * 2008-02-01 2012-03-21 トヨタ自動車株式会社 Method for determining welding of power supply device and relay
US7966110B2 (en) * 2008-03-05 2011-06-21 GM Global Technology Operations LLC High-voltage vehicle fault detection method and apparatus
US8421409B2 (en) 2008-09-19 2013-04-16 Toyota Jidosha Kabushiki Kaisha Noncontact power receiving apparatus for electrically-powered vehicle and vehicle including the same
FR2948461B1 (en) * 2009-07-24 2011-07-01 Renault Sa METHOD FOR DIAGNOSING THE OPERATION OF A DEVICE FOR CUTTING AND CONNECTING A BATTERY TO A MOTOR VEHICLE EDGE NETWORK
JP2012005174A (en) * 2010-06-14 2012-01-05 Toyota Motor Corp Electric power supply apparatus of vehicle
JP5796445B2 (en) * 2011-10-05 2015-10-21 アイシン精機株式会社 Vehicle power supply device
US9434261B2 (en) 2011-10-17 2016-09-06 Robert Bosch Gmbh Welded contactor checking systems and methods
JP6417892B2 (en) * 2014-11-21 2018-11-07 三菱自動車工業株式会社 Contactor failure determination method and contactor failure determination device
KR101664745B1 (en) 2015-09-25 2016-10-24 현대자동차주식회사 Method for detecting fusion of relay of battery
JP6906182B2 (en) * 2016-09-07 2021-07-21 パナソニックIpマネジメント株式会社 Power storage system

Family Cites Families (2)

* Cited by examiner, † Cited by third party
Publication number Priority date Publication date Assignee Title
JP3769843B2 (en) * 1996-11-07 2006-04-26 日産自動車株式会社 High-voltage relay diagnostic device for electric vehicles
JP2003102101A (en) * 2001-09-25 2003-04-04 Suzuki Motor Corp Power supply control device for electric vehicles

Cited By (7)

* Cited by examiner, † Cited by third party
Publication number Priority date Publication date Assignee Title
KR101407735B1 (en) 2012-09-28 2014-06-27 한국단자공업 주식회사 Electric vehicle and method for detecting status of PRA pre-charge resistor in the same
WO2015137006A1 (en) * 2014-03-11 2015-09-17 三菱重工オートモーティブサーマルシステムズ株式会社 On-state malfunction detection device and method therefor
JP2015173019A (en) * 2014-03-11 2015-10-01 三菱重工オートモーティブサーマルシステムズ株式会社 On-failure detection device and method thereof
WO2020105995A1 (en) * 2018-11-22 2020-05-28 주식회사 엘지화학 Device and method for checking whether contactor provided in ess is fused
US11307255B2 (en) 2018-11-22 2022-04-19 Lg Energy Solution, Ltd. Device and method for checking whether contactor provided in ESS is welded
WO2022114559A1 (en) * 2020-11-27 2022-06-02 주식회사 엘지에너지솔루션 Relay state management device and operation method therefor
US12276700B2 (en) 2020-11-27 2025-04-15 Lg Energy Solution, Ltd. Relay state management apparatus and operating method thereof

Also Published As

Publication number Publication date
JP2005116485A (en) 2005-04-28

Similar Documents

Publication Publication Date Title
JP4570859B2 (en) Relay welding detection device and relay welding detection method
JP6417892B2 (en) Contactor failure determination method and contactor failure determination device
JP5450144B2 (en) Power supply device for vehicle and vehicle equipped with this power supply device
JP3926519B2 (en) Hybrid vehicle
US8194367B2 (en) Accumulation device
JP2009227044A (en) Deteriorated state decision method and device for electricity accumulation device in hybrid construction machine
JPH0919003A (en) Deterioration discriminating device for capacitor in motor-driven vehicle
WO2008126629A1 (en) Electric vehicle
JP6992426B2 (en) Vehicle charging device
JP4981773B2 (en) Industrial vehicle clutch failure diagnosis method and apparatus
JP5109743B2 (en) Power system, control method therefor, and vehicle
CN102485544B (en) Torque sensor fault detection device and method
JP5515834B2 (en) Drive device
CN108515879A (en) A kind of electric vehicle shift control system and its control method
JP2013207926A (en) Braking control device
CN113386733B (en) Hybrid vehicle drive system
JP2007089241A (en) Power supply circuit abnormality detection device
CN103101439A (en) Electric vehicle and method of diagnosing current sensor
JP6077762B2 (en) Hydraulic abnormality diagnosis and control method for hybrid vehicle transmission
JP2009060695A (en) Alarm apparatus for hybrid electric vehicle
JP2004303691A (en) Relay welding determination apparatus and welding determination method
JP2016116276A (en) Battery protection device
JP6121821B2 (en) Power system
JP2022124404A (en) Control device for vehicle
JP2002345101A (en) Drive motor controller for auxiliary motor car

Legal Events

Date Code Title Description
A621 Written request for application examination

Free format text: JAPANESE INTERMEDIATE CODE: A621

Effective date: 20061005

A977 Report on retrieval

Free format text: JAPANESE INTERMEDIATE CODE: A971007

Effective date: 20090220

A131 Notification of reasons for refusal

Free format text: JAPANESE INTERMEDIATE CODE: A131

Effective date: 20090310

A521 Request for written amendment filed

Free format text: JAPANESE INTERMEDIATE CODE: A523

Effective date: 20090507

A131 Notification of reasons for refusal

Free format text: JAPANESE INTERMEDIATE CODE: A131

Effective date: 20091201

A521 Request for written amendment filed

Free format text: JAPANESE INTERMEDIATE CODE: A523

Effective date: 20100128

TRDD Decision of grant or rejection written
A01 Written decision to grant a patent or to grant a registration (utility model)

Free format text: JAPANESE INTERMEDIATE CODE: A01

Effective date: 20100803

A01 Written decision to grant a patent or to grant a registration (utility model)

Free format text: JAPANESE INTERMEDIATE CODE: A01

A61 First payment of annual fees (during grant procedure)

Free format text: JAPANESE INTERMEDIATE CODE: A61

Effective date: 20100811

FPAY Renewal fee payment (event date is renewal date of database)

Free format text: PAYMENT UNTIL: 20130820

Year of fee payment: 3

R150 Certificate of patent or registration of utility model

Ref document number: 4570859

Country of ref document: JP

Free format text: JAPANESE INTERMEDIATE CODE: R150

Free format text: JAPANESE INTERMEDIATE CODE: R150

R250 Receipt of annual fees

Free format text: JAPANESE INTERMEDIATE CODE: R250

R250 Receipt of annual fees

Free format text: JAPANESE INTERMEDIATE CODE: R250

S531 Written request for registration of change of domicile

Free format text: JAPANESE INTERMEDIATE CODE: R313531

R350 Written notification of registration of transfer

Free format text: JAPANESE INTERMEDIATE CODE: R350

R250 Receipt of annual fees

Free format text: JAPANESE INTERMEDIATE CODE: R250

R250 Receipt of annual fees

Free format text: JAPANESE INTERMEDIATE CODE: R250

S533 Written request for registration of change of name

Free format text: JAPANESE INTERMEDIATE CODE: R313533

R350 Written notification of registration of transfer

Free format text: JAPANESE INTERMEDIATE CODE: R350

R250 Receipt of annual fees

Free format text: JAPANESE INTERMEDIATE CODE: R250

R250 Receipt of annual fees

Free format text: JAPANESE INTERMEDIATE CODE: R250

R250 Receipt of annual fees

Free format text: JAPANESE INTERMEDIATE CODE: R250

R250 Receipt of annual fees

Free format text: JAPANESE INTERMEDIATE CODE: R250

R250 Receipt of annual fees

Free format text: JAPANESE INTERMEDIATE CODE: R250

R250 Receipt of annual fees

Free format text: JAPANESE INTERMEDIATE CODE: R250

LAPS Cancellation because of no payment of annual fees