JP4544014B2 - レーザ装置およびファイバカップリングモジュール - Google Patents
レーザ装置およびファイバカップリングモジュール Download PDFInfo
- Publication number
- JP4544014B2 JP4544014B2 JP2005121255A JP2005121255A JP4544014B2 JP 4544014 B2 JP4544014 B2 JP 4544014B2 JP 2005121255 A JP2005121255 A JP 2005121255A JP 2005121255 A JP2005121255 A JP 2005121255A JP 4544014 B2 JP4544014 B2 JP 4544014B2
- Authority
- JP
- Japan
- Prior art keywords
- optical fiber
- laser
- isolator
- laser beam
- fiber
- Prior art date
- Legal status (The legal status is an assumption and is not a legal conclusion. Google has not performed a legal analysis and makes no representation as to the accuracy of the status listed.)
- Expired - Fee Related
Links
Images
Landscapes
- Optical Couplings Of Light Guides (AREA)
- Semiconductor Lasers (AREA)
Description
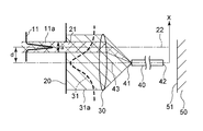
ただし、Pfは半導体レーザエミッタ10へ反射される出力比率;fi(x)およびfr(x)は、それぞれ入力レーザビームおよびフィードバック光の遠距離エネルギ分布;aはアパーチャ21の直径;dはアパーチャ21の中心軸22と光ファイバ40の光学軸43との間の距離;およびxは光学軸43からの半径方向距離である。
Z1: 〜4mm
Z2: 〜8mm
Z3:〜16mm
d: 3mm
アパーチャ21(クリアアパーチャ):〜0.2mm(遅軸)×〜1.8mm(速軸)
非球面レンズ30: 有効焦点距離8mm、アパーチャ8mm
ここで、Z1は光学系620の出射表面からアイソレータ20までの距離;Z2は光学系620の出射表面から非球面レンズ30までの距離;Z3は非球面レンズ30から光ファイバ40の入口端面までの距離;およびdはアパーチャ21の中心軸と光ファイバ40の中心軸の間の距離である。
Claims (15)
- レーザ光源から出射されたレーザ光線を光ファイバを通して前記レーザ光線による処理の対象物の表面に入射するにあたり、前記レーザ光源から出射された前記レーザ光線を前記光ファイバへカップリングするためのファイバカップリングモジュールであって、
前記レーザ光源と前記光ファイバとの間に配置され、前記レーザ光源からのレーザ光線を通過させる開口を有するアイソレータと、
前記アイソレータと前記光ファイバとの間に配置され、前記開口を通過したレーザ光線を前記光ファイバへ導く光学素子とを備え、
前記レーザ光線による処理の対象物の表面で反射され、前記光ファイバ及び前記光学素子を通して前記アイソレータに入射した光が主要部分となるフィードバック光の一部が前記アイソレータにより遮蔽されるように、前記アイソレータの開口と前記光ファイバとがずれて配置されている
ファイバカップリングモジュール。 - 前記レーザ光線を生成するレーザ光源と、
前記対象物へ前記レーザ光線を送るための光ファイバとをさらに具備する請求項1記載のファイバカップリングモジュール。 - 前記光学素子は、前記光ファイバへカップリングする前記開口を通過したレーザ光線を集束するためのレンズを含む請求項1記載のファイバカップリングモジュール。
- 前記アイソレータの開口が、前記レーザ光源から出射されたレーザ光線の一部を選択する請求項1記載のファイバカップリングモジュール。
- 前記レーザ光源が、ブロードエリア・ダイオードレーザである請求項1記載のファイバカップリングモジュール。
- 前記レーザ光源が、レーザアレイである請求項1記載のファイバカップリングモジュール。
- 前記光ファイバが、マルチモード光ファイバである請求項1記載のファイバカップリングモジュール。
- 前記光ファイバが、前記レーザ光源に近い側で傾斜端面を有する請求項1記載のファイバカップリングモジュール。
- 前記アイソレータが、前記フィードバック光を反射するための鏡面を有する請求項1記載のファイバカップリングモジュール。
- 前記アイソレータが複数の開口を有する請求項1記載のファイバカップリングモジュール。
- 前記アイソレータの開口が、円形のタイプである請求項1記載のファイバカップリングモジュール。
- 前記アイソレータの開口が、スリットのタイプである請求項1記載のファイバカップリングモジュール。
- 前記アイソレータの開口の中心軸と前記光ファイバの光学軸とがずれて配置されている請求項1記載のファイバカップリングモジュール。
- 前記アイソレータの開口の中心軸と前記光学素子の光学軸とがずれて配置されている請求項1記載のファイバカップリングモジュール。
- レーザ光源から出射されたレーザ光線を光ファイバを通して前記レーザ光線による処理の対象物の表面に入射するにあたり、前記レーザ光源から出射された前記レーザ光線を前記光ファイバへカップリングするためのファイバカップリングモジュールを含むレーザ装置において、
前記ファイバカップリングモジュールは、
前記レーザ光源と前記光ファイバとの間に配置され、前記レーザ光源からのレーザ光線を通過させる開口を有するアイソレータと、
前記アイソレータと前記光ファイバとの間に配置され、前記開口を通過したレーザ光線を前記光ファイバへ導く光学素子とを備え、
前記レーザ光線による処理の対象物の表面で反射され、前記光ファイバ及び前記光学素子を通して前記アイソレータに入射した光が主要部分となるフィードバック光の一部が前記アイソレータにより遮蔽されるように、前記アイソレータの開口と前記光ファイバとがずれて配置されている
レーザ装置。
Priority Applications (2)
| Application Number | Priority Date | Filing Date | Title |
|---|---|---|---|
| JP2005121255A JP4544014B2 (ja) | 2005-04-19 | 2005-04-19 | レーザ装置およびファイバカップリングモジュール |
| US11/629,458 US20080203838A1 (en) | 2004-10-07 | 2005-09-14 | Dynamic Bearing Device |
Applications Claiming Priority (1)
| Application Number | Priority Date | Filing Date | Title |
|---|---|---|---|
| JP2005121255A JP4544014B2 (ja) | 2005-04-19 | 2005-04-19 | レーザ装置およびファイバカップリングモジュール |
Publications (2)
| Publication Number | Publication Date |
|---|---|
| JP2006301195A JP2006301195A (ja) | 2006-11-02 |
| JP4544014B2 true JP4544014B2 (ja) | 2010-09-15 |
Family
ID=37469568
Family Applications (1)
| Application Number | Title | Priority Date | Filing Date |
|---|---|---|---|
| JP2005121255A Expired - Fee Related JP4544014B2 (ja) | 2004-10-07 | 2005-04-19 | レーザ装置およびファイバカップリングモジュール |
Country Status (1)
| Country | Link |
|---|---|
| JP (1) | JP4544014B2 (ja) |
Families Citing this family (5)
| Publication number | Priority date | Publication date | Assignee | Title |
|---|---|---|---|---|
| US8007401B2 (en) | 2007-05-02 | 2011-08-30 | Nissan Motor Co., Ltd. | Hybrid vehicle drive control apparatus and method |
| JP7461870B2 (ja) | 2018-02-14 | 2024-04-04 | 古河電気工業株式会社 | 半導体レーザモジュール |
| JP7154057B2 (ja) * | 2018-07-26 | 2022-10-17 | 京セラSoc株式会社 | 半導体レーザモジュール |
| JP7141972B2 (ja) * | 2019-03-20 | 2022-09-26 | 京セラSoc株式会社 | 半導体レーザ光源 |
| CN113376766A (zh) * | 2021-05-21 | 2021-09-10 | 中国人民解放军战略支援部队航天工程大学 | 一种空间光激光器的光路合束及光纤耦合装置 |
Family Cites Families (10)
| Publication number | Priority date | Publication date | Assignee | Title |
|---|---|---|---|---|
| JPH04238308A (ja) * | 1991-01-22 | 1992-08-26 | Mitsubishi Electric Corp | 半導体レーザ装置 |
| JPH05288966A (ja) * | 1992-04-13 | 1993-11-05 | Sumitomo Electric Ind Ltd | 発光素子 |
| JPH07281062A (ja) * | 1994-04-12 | 1995-10-27 | Nippon Sheet Glass Co Ltd | 半導体レーザモジュール |
| JPH0980274A (ja) * | 1995-09-14 | 1997-03-28 | Nec Corp | 半導体レーザモジュール |
| JP3355270B2 (ja) * | 1996-02-05 | 2002-12-09 | アルプス電気株式会社 | 発光モジュール |
| JPH10135571A (ja) * | 1996-10-25 | 1998-05-22 | Hitachi Metals Ltd | 半導体レーザの集光光学系 |
| JP4098918B2 (ja) * | 1999-04-27 | 2008-06-11 | 富士フイルム株式会社 | 画像記録装置 |
| JP3694432B2 (ja) * | 1999-12-28 | 2005-09-14 | シャープ株式会社 | 双方向光通信器及び双方向光通信装置 |
| JP3834178B2 (ja) * | 2000-01-13 | 2006-10-18 | シャープ株式会社 | 双方向光通信器および双方向光通信装置 |
| JP2002243987A (ja) * | 2001-02-13 | 2002-08-28 | Sony Corp | 光結合装置 |
-
2005
- 2005-04-19 JP JP2005121255A patent/JP4544014B2/ja not_active Expired - Fee Related
Also Published As
| Publication number | Publication date |
|---|---|
| JP2006301195A (ja) | 2006-11-02 |
Similar Documents
| Publication | Publication Date | Title |
|---|---|---|
| JP3589299B2 (ja) | ビーム整形装置 | |
| US9256073B2 (en) | Optical cross-coupling mitigation system for multi-wavelength beam combining systems | |
| US11287574B2 (en) | Optical fiber bundle with beam overlapping mechanism | |
| US11604340B2 (en) | Optical cross-coupling mitigation systems for wavelength beam combining laser systems | |
| JP7488445B2 (ja) | 光源ユニット | |
| US11757258B2 (en) | Light source device and direct diode laser system | |
| CA2329089C (en) | Fiber grating feedback stabilization of broad area laser diode | |
| JP2005537643A (ja) | 半導体レーザ装置 | |
| US7251260B2 (en) | Wavelength-locked fiber-coupled diode-laser bar | |
| US7251259B2 (en) | Wavelength locked fiber-coupled diode-laser bar | |
| JP4544014B2 (ja) | レーザ装置およびファイバカップリングモジュール | |
| US6529657B2 (en) | Angle selective side-pumping of fiber amplifiers and lasers | |
| KR102271640B1 (ko) | 광섬유 레이저 어셈블리 | |
| US7376168B2 (en) | Semiconductor laser device | |
| WO1998015994A1 (en) | External cavity micro laser apparatus | |
| CN100524983C (zh) | 半导体激光器装置 | |
| JP2006147879A (ja) | 半導体レーザ装置 | |
| CN118091966B (zh) | 一种复合光斑激光输出装置 | |
| WO2020202757A1 (ja) | レーザモジュール及びファイバレーザ装置 | |
| JP2020120000A (ja) | 光源ユニット | |
| WO2006104034A1 (ja) | 外部共振型半導体レーザ | |
| US20240113488A1 (en) | Suppression of undesired wavelengths in laser light | |
| JP2000284133A (ja) | 光ファイバーおよび半導体レーザモジュール | |
| US20060104329A1 (en) | Apparatus for diode laser beam quality control | |
| JPH0774417A (ja) | 光ファイバを用いた固体レーザ装置 |
Legal Events
| Date | Code | Title | Description |
|---|---|---|---|
| RD03 | Notification of appointment of power of attorney |
Free format text: JAPANESE INTERMEDIATE CODE: A7423 Effective date: 20060808 |
|
| A621 | Written request for application examination |
Free format text: JAPANESE INTERMEDIATE CODE: A621 Effective date: 20080313 |
|
| A977 | Report on retrieval |
Free format text: JAPANESE INTERMEDIATE CODE: A971007 Effective date: 20100202 |
|
| A131 | Notification of reasons for refusal |
Free format text: JAPANESE INTERMEDIATE CODE: A131 Effective date: 20100330 |
|
| A521 | Request for written amendment filed |
Free format text: JAPANESE INTERMEDIATE CODE: A523 Effective date: 20100524 |
|
| TRDD | Decision of grant or rejection written | ||
| A01 | Written decision to grant a patent or to grant a registration (utility model) |
Free format text: JAPANESE INTERMEDIATE CODE: A01 Effective date: 20100608 |
|
| A01 | Written decision to grant a patent or to grant a registration (utility model) |
Free format text: JAPANESE INTERMEDIATE CODE: A01 |
|
| A61 | First payment of annual fees (during grant procedure) |
Free format text: JAPANESE INTERMEDIATE CODE: A61 Effective date: 20100621 |
|
| FPAY | Renewal fee payment (event date is renewal date of database) |
Free format text: PAYMENT UNTIL: 20130709 Year of fee payment: 3 |
|
| FPAY | Renewal fee payment (event date is renewal date of database) |
Free format text: PAYMENT UNTIL: 20130709 Year of fee payment: 3 |
|
| LAPS | Cancellation because of no payment of annual fees |
