JP4516552B2 - 弁制御機構 - Google Patents

弁制御機構 Download PDF

Info

Publication number
JP4516552B2
JP4516552B2 JP2006249486A JP2006249486A JP4516552B2 JP 4516552 B2 JP4516552 B2 JP 4516552B2 JP 2006249486 A JP2006249486 A JP 2006249486A JP 2006249486 A JP2006249486 A JP 2006249486A JP 4516552 B2 JP4516552 B2 JP 4516552B2
Authority
JP
Japan
Prior art keywords
swing arm
valve
pin
drive
cam
Prior art date
Legal status (The legal status is an assumption and is not a legal conclusion. Google has not performed a legal analysis and makes no representation as to the accuracy of the status listed.)
Expired - Fee Related
Application number
JP2006249486A
Other languages
English (en)
Other versions
JP2008038889A (ja
Inventor
達全 劉
潘祥 解
Current Assignee (The listed assignees may be inaccurate. Google has not performed a legal analysis and makes no representation or warranty as to the accuracy of the list.)
Industrial Technology Research Institute ITRI
Original Assignee
Industrial Technology Research Institute ITRI
Priority date (The priority date is an assumption and is not a legal conclusion. Google has not performed a legal analysis and makes no representation as to the accuracy of the date listed.)
Filing date
Publication date
Application filed by Industrial Technology Research Institute ITRI filed Critical Industrial Technology Research Institute ITRI
Publication of JP2008038889A publication Critical patent/JP2008038889A/ja
Application granted granted Critical
Publication of JP4516552B2 publication Critical patent/JP4516552B2/ja
Expired - Fee Related legal-status Critical Current
Anticipated expiration legal-status Critical

Links

Images

Classifications

    • FMECHANICAL ENGINEERING; LIGHTING; HEATING; WEAPONS; BLASTING
    • F01MACHINES OR ENGINES IN GENERAL; ENGINE PLANTS IN GENERAL; STEAM ENGINES
    • F01LCYCLICALLY OPERATING VALVES FOR MACHINES OR ENGINES
    • F01L1/00Valve-gear or valve arrangements, e.g. lift-valve gear
    • F01L1/26Valve-gear or valve arrangements, e.g. lift-valve gear characterised by the provision of two or more valves operated simultaneously by same transmitting-gear; peculiar to machines or engines with more than two lift-valves per cylinder
    • F01L1/267Valve-gear or valve arrangements, e.g. lift-valve gear characterised by the provision of two or more valves operated simultaneously by same transmitting-gear; peculiar to machines or engines with more than two lift-valves per cylinder with means for varying the timing or the lift of the valves
    • FMECHANICAL ENGINEERING; LIGHTING; HEATING; WEAPONS; BLASTING
    • F01MACHINES OR ENGINES IN GENERAL; ENGINE PLANTS IN GENERAL; STEAM ENGINES
    • F01LCYCLICALLY OPERATING VALVES FOR MACHINES OR ENGINES
    • F01L1/00Valve-gear or valve arrangements, e.g. lift-valve gear
    • F01L1/02Valve drive
    • F01L1/04Valve drive by means of cams, camshafts, cam discs, eccentrics or the like
    • F01L1/08Shape of cams
    • FMECHANICAL ENGINEERING; LIGHTING; HEATING; WEAPONS; BLASTING
    • F01MACHINES OR ENGINES IN GENERAL; ENGINE PLANTS IN GENERAL; STEAM ENGINES
    • F01LCYCLICALLY OPERATING VALVES FOR MACHINES OR ENGINES
    • F01L13/00Modifications of valve-gear to facilitate reversing, braking, starting, changing compression ratio, or other specific operations
    • F01L13/0015Modifications of valve-gear to facilitate reversing, braking, starting, changing compression ratio, or other specific operations for optimising engine performances by modifying valve lift according to various working parameters, e.g. rotational speed, load, torque
    • F01L13/0036Modifications of valve-gear to facilitate reversing, braking, starting, changing compression ratio, or other specific operations for optimising engine performances by modifying valve lift according to various working parameters, e.g. rotational speed, load, torque the valves being driven by two or more cams with different shape, size or timing or a single cam profiled in axial and radial direction
    • FMECHANICAL ENGINEERING; LIGHTING; HEATING; WEAPONS; BLASTING
    • F01MACHINES OR ENGINES IN GENERAL; ENGINE PLANTS IN GENERAL; STEAM ENGINES
    • F01LCYCLICALLY OPERATING VALVES FOR MACHINES OR ENGINES
    • F01L1/00Valve-gear or valve arrangements, e.g. lift-valve gear
    • F01L1/34Valve-gear or valve arrangements, e.g. lift-valve gear characterised by the provision of means for changing the timing of the valves without changing the duration of opening and without affecting the magnitude of the valve lift
    • F01L1/344Valve-gear or valve arrangements, e.g. lift-valve gear characterised by the provision of means for changing the timing of the valves without changing the duration of opening and without affecting the magnitude of the valve lift changing the angular relationship between crankshaft and camshaft, e.g. using helicoidal gear
    • F01L1/3442Valve-gear or valve arrangements, e.g. lift-valve gear characterised by the provision of means for changing the timing of the valves without changing the duration of opening and without affecting the magnitude of the valve lift changing the angular relationship between crankshaft and camshaft, e.g. using helicoidal gear using hydraulic chambers with variable volume to transmit the rotating force
    • F01L2001/34423Details relating to the hydraulic feeding circuit
    • F01L2001/34426Oil control valves
    • F01L2001/3443Solenoid driven oil control valves

Landscapes

  • Engineering & Computer Science (AREA)
  • Mechanical Engineering (AREA)
  • General Engineering & Computer Science (AREA)
  • Valve Device For Special Equipments (AREA)

Description

本発明は一種の弁制御機構、特に一種の油回路と構造設計の簡素化により、弁に3種類以上の開閉パターンを提供する、一種の弁制御機構に関わるものである。
近年、石油価格の暴騰により、エンジンの燃費性能が非常に重視されている。研究資料によると、弁可変制御機構技術の重要性は非常に高い。その技術は気筒休止(cylinder deactivation)、エンジンの小型化(downsize)など多種の技術基礎である。
弁揚程の変更は、以下の方法を通じて、燃費低減の効果を実現できる、
1.高または低弁揚程、エンジンの回転速度の高低に従い、最適化に設計された二つの吸気弁揚程は、エンジンが高速回転のとき、高揚程に切り換えて吸気効率を向上し馬力を増大させ、省エネ効果を実現する。そして、中低回転速度のとき、低揚程に切り換えて、吸気の流速を増加し、カム軸のトルクを下げて、安定したアイドル運転燃焼により、省エネ効果を実現する。この類の代表的な技術は本田社のシビックとアコードなどの車種に使用されている。このほか、BMW社のValve Tronicシリーズは、弁揚程連続可変技術を駆使し、エンジン回転速度の最適化を実現する、
2.二つの吸気弁に高低揚程を行う。その目的は、低い回転速度のとき、一つの弁のみが吸気を担ぐ、気筒内部に強いスワール(swirl)を形成し、燃焼の改善により、省エネ効果を実現する。一方、高速回転のとき、二つの吸気弁とも高揚程状態に切り換える。代表的な車種は本田社のCB400F。しかし、中低速回転のとき、燃料が弁のダイアフラムに堆積し、空気燃料比率の不正確とカーボン堆積の欠点があるため、一つの吸気弁を高揚程に設定し、もう一つの吸気弁を低揚程に設定することで防止する、
3.すべての弁揚程を締め切る。容積が大きいエンジンまたは混合動力エンジンが低回転のとき、一部の気筒の弁揚程を締め切ることにより、気筒休止ときのポンピングロス(pumping loss)の軽減を図る。この種の技術の代表的な技術は本田社のインサイト。
公知技術は前記の目的を達成するため、さまざまな弁揚程の制御技術が開発されている。特許文献1において、ピン機構の切り替えによる弁揚程の制御技術が開示されている。この種の技術における弁揚程の種類は片方の弁を閉めるか、または一方を高揚程に、もう一方を低揚程に制御する。さらに、特許文献2において、一種のカムと揺腕をそれぞれ3つ設けて、高−高の組み合わせと中−低の組み合わせ、2種類の弁揚程制御を行う。このほか、特許文献3において、一種のカムと揺腕をそれぞれ3つ設けて、二つの弁を制御し、高−高の組み合わせ、または高−低の組み合わせ、もしくは中−低の組み合わせ、3種類の弁揚程制御を行う。
前記した公知技術は、多種の組み合わせの揚程を形成できる。しかしながら、一つのエンジンにおいて、高速回転馬力、中速回転スワール、気筒休止並びにエンジンストップなどの場面に合わせた弁揚程制御ができない。よって、一種の弁制御機構により、公知技術の不足点を補完する必要がある。
米国特許4523550号明細書 米国特許4727831号明細書 米国特許4887563号明細書
気筒に備える二つの吸気弁を高−高揚程、高−低揚程、および弁休止の組み合わせにより、一つのエンジンにおいて、高速回転のとき大きい馬力、中低速回転のとき、スワールおよび気筒休止合制御を図る、一種の弁制御機構を提供することを本発明の主な目的である。
切り替えピンと油回路は3本以下、油回路を制御する電磁弁は2個以下を設け、気筒に備える二つの吸気弁に高−高揚程、高−低揚程およびバルブ休止を制御する、一種の弁制御機構を提供することを本発明の次の目的である。
切り替えピンと油回路を制御することにより、吸気弁揚程制御機構の簡素化およびコスト軽減を図る、一種の弁制御機構を提供することを本発明のもう一つの目的である。
前記の目的を達成するため、本発明の弁制御機構は、弁の制御により、高−高揚程、高−低揚程、およびバルブ休止など3種類以上の開閉パターンを形成できる。該弁制御機構はさらに、3本以下の油回路と2個以下の電磁弁を設けて、3種類の揚程変化を実現する。
本発明の弁制御機構は、第1弁揺腕と第2弁揺腕をそれぞれ第1弁と第2弁に連結する。第1駆動揺腕を該第1弁揺腕の一端に設け、該第1駆動揺腕は第1カムの駆動により、
運動を開始する。第2駆動揺腕を該第2弁揺腕の一端に設け、該第2駆動揺腕は第2カムの駆動により運動を開始する。第1連結ユニットは選択により、該第1駆動揺腕と該第1弁揺腕を連結するか、または該第1弁揺腕と第2弁揺腕を連結できる。第2連結ユニットは選択により、該第2駆動揺腕と該第2弁揺腕とを連結させるか分離させる。
該第1連結ユニットまたは該第2連結ユニットは、弾性体と油圧駆動素子より構成する切り替えピン、該切り替えピンは開放ピンまたは閉鎖ピンのいずれを選択できることが好ましい。このほか、該第1連結ユニットまたは該第2連結ユニットは二方向油圧駆動ピンであっても良い。
本発明の弁制御機構は、第1弁揺腕と第2弁揺腕をそれぞれ第1弁と第2弁に連結し、
該第1弁揺腕は、第1カムの駆動により運動を開始する。駆動揺腕を該第1弁揺腕と第2弁揺腕の間に設け、該駆動揺腕は第2カムの駆動により運動を開始する。第1連結ユニットを設け、該第1連結ユニットにより該駆動揺腕と該第1弁揺腕との連結、または該駆動揺腕と該第1弁揺腕との分離を選択できる。第2連結ユニットを設け、該第2連結ユニットにより該駆動揺腕と該第2弁揺腕との連結または分離を選択できる。
該第1弁揺腕と該第1カムとの間に、動力伝達ユニットを該第1弁揺腕に設け、該第1弁揺腕は該第1カムの伝達動力を受け入れることが好ましい。該動力伝達ユニットはさらに円筒体を設け、第1貫通孔と限流孔を設けて、該第1貫通孔と該限流孔との間に収容空間を設ける。ノックピンを該第1貫通孔に設け、該ノックピンの一端と該第1カムに合わせて設ける。該ノックピンは該第1貫通孔内部にて滑り移動を可能とする。油回路制御ユニットを設け、該限流孔に連結する該油回路制御ユニットは油体を該収容空間に流入させるか、または該収容空間の油体の放出を選択できる。
該第1弁揺腕と該第1カムとの間に、動力伝達ユニットを設け、該第1弁揺腕は該第1カムの伝達動力を受け入れることが好ましい。該動力伝達ユニットはさらに、台座を設け、第1収容空間、第2収容空間、および液体を提供するための液体圧力管線を設ける。該1ノックピンを該第1収容空間内部に設け、該1ノックピンの底部に、第1弾性体を設ける。該第1ノックピンの一端に凹み部を設ける。第2ノックピンを該第2収容空間内部に設け、その一端は該油圧回路に連結し、該第2ノックピンはさらに、第2弾性体に連結する。該第2ノックピンの一端は該液体と該第2弾性体の働きにより、該凹み部に締結するか、または離れるかを選択できる。
請求項1の発明は、第1弁揺腕、第2弁揺腕、第1駆動揺腕、第2駆動揺腕、第1連結ユニット、第2連結ユニットを含み、
該第1弁揺腕は第1弁に、該第2弁揺腕は第2弁にそれぞれ連結し、
該第1駆動揺腕は該第1弁揺腕の一端に設け、該第1駆動揺腕は、第1カムの駆動により運動を開始し、
該第2駆動揺腕は該第2弁揺腕の一端に設け、該第2駆動揺腕は、第2カムの駆動により運動を開始し、
該第1連結ユニットは、該第1駆動揺腕と該第1弁揺腕を連結するか、または該第1弁揺腕を該第2弁揺腕と連結するかを選択でき、
第2連結ユニットは、該第2駆動揺腕と該第2弁揺腕を連結するか分離するかを選択できることを特徴とする弁制御機構としている。
請求項2の発明は、該第1連結ユニットは弾性体と油圧駆動素子より構成する切り替えピン、または双方向油圧駆動ピンのいずれを選択でき、該切り替えピンは閉鎖ピンと開放ピンのいずれが選択可能であることを特徴とする請求項1記載のバルブ制御機構としている。
請求項3の発明は、該第2連結ユニットは弾性体と油圧駆動素子より構成する切り替えピン、または双方向油圧駆動ピンのいずれを選択でき、該切り替えピンは閉鎖ピンと開放ピンのいずれが選択可能であることを特徴とする請求項1記載のバルブ制御機構としている。
請求項4の発明は、第1弁に接続されて第1カムにより駆動される第1弁揺腕と、第2弁に接続された第2弁揺腕と、
該第1弁揺腕と該第2弁揺腕の間に設置されて、第2カムの駆動により駆動される駆動揺腕と、
選択的に該駆動揺腕を該第1弁揺腕と連結或いは分離させる第1連結ユニットと、
選択的に該駆動揺腕を該第2弁揺腕と連結或いは分離させる第2連結ユニットと、
を包含したバルブ制御機構において、
該第1弁揺腕に動力伝達ユニットを設け、該第1弁揺腕は該第1カムの伝動力を受け入れ、該動力伝達ユニットはさらに円筒体を有し、第1貫通孔と限流孔を設け、該第1貫通孔と限流孔との間に収容空間を設け、
ノックピンは該第1貫通孔内部に設け、該ノックピンの一端は該第1カムに合わせて設け、該ノックピンは第1貫通孔内部に移動でき、
油路制御ユニットは該限流孔に連結し、該油路制御ユニットは油体を該収容空間に流入と放出を選択操作できることを特徴とする弁制御機構としている。
請求項5の発明は、第1弁に接続されて第1カムにより駆動される第1弁揺腕と、第2弁に接続された第2弁揺腕と、
該第1弁揺腕と該第2弁揺腕の間に設置されて、第2カムの駆動により駆動される駆動揺腕と、
選択的に該駆動揺腕を該第1弁揺腕と連結或いは分離させる第1連結ユニットと、
選択的に該駆動揺腕を該第2弁揺腕と連結或いは分離させる第2連結ユニットと、
を包含したバルブ制御機構において、
該第1弁揺腕に動力伝達ユニットを設けて、第1弁揺腕より該第1カムの伝動力を受け入れ、該動力伝達ユニットはさらに、台座、第1ノックピン及び第2ノックピンを含み、該台座は第1収容空間、第2収容空間および液体を提供するための油圧回路を備え、
該第1ノックピンは該第1収容空間に内設し、該第1ノックピンの底部はさらに第1弾性体を設け、該第1ノックピンの一端に凹み部を設け、
該第2ノックピンは該第2収容空間に内設し、その一部は該油圧回路に連結し、該第2ノックピンの底部はさらに該第2弾性体に連結し、該第2ノックピンの一端は該液体と該第2弾性体の働きにより、該凹み部に締結するか、または引き離すことを選択できることを特徴とする弁制御機構としている。
本発明は弁制御機構、気筒に備える二つの吸気弁を高−高揚程、高−低揚程、および弁休止の組み合わせにより、一つのエンジンにおいて、高速回転のとき大きい馬力、中低速回転のとき、スワールおよび気筒休止合制御を図る。切り替えピンと油回路は3本以下、油回路を制御する電磁弁は2個以下を設け、気筒に備える二つの吸気弁に高−高揚程、高−低揚程およびバルブ休止を制御する。切り替えピンと油回路を制御することにより、吸気弁揚程制御機構の簡素化およびコスト軽減を図る。
本発明の弁制御機構は、弁の制御により、高−高揚程、高−低揚程および弁休止の組み合わせパターンを形成し、一つのエンジンにおいて、高速回転の大馬力、中低速回転スワール流と弁休止に応じて、3種類以上の弁揚程パターンを提供できる。該弁制御機構はさらに、3本以下の油回路と2個以下の電磁弁を設けて、3種類の揚程変化を実現する。
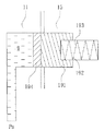
図1に示すものは、本発明の弁制御機構の実施例1の概略図である。該弁制御機構1は主に、第1弁揺腕13、第2弁揺腕14、第1駆動揺腕12、第2駆動揺腕15、第1連結ユニット18および第2連結ユニットより構成する。該第1弁揺腕13は第1弁10に連結し、該第2弁揺腕14は、該第2弁11に連結する。該第1弁10と該第2弁11はエンジン気筒(図示しない)のバルブで、該第1弁10と該第2弁11との開閉により、エンジンの吸気量を制御できる。該第1弁10と該第2弁11とエンジンとの配置は、公知技術のため、ここでの説明を省略する。
該第1駆動揺腕12は該第1弁揺腕13の一端に設け、第1駆動揺腕12は第1カム16の駆動により運動を開始する。該第2駆動揺腕15は該第2弁揺腕14の一端に設け、第2駆動揺腕15は第2カム17の駆動により運動を開始する。該第1カム16と該第2カム17は、カムシャフト(図示しない)の駆動により回動する。本実施例において、該第1カム16は低揚程カム(mid cam)であり、該第2カム17は高揚程カム(high cam)である。すなわち、該第1カム16により、該第1駆動揺腕12の運動行程は該第2カム17より形成する行程により、該第2駆動揺腕15の運動行程より小さく発生する。該第1連結ユニット18は、該第1駆動揺腕12と該第1弁揺腕13との連結、または該第1弁揺腕13と該第2弁揺腕14との連結を選択できる。本実施例において、該第1連結ユニット18は二方向油圧駆動ピンを設ける。該第2連結ユニット19は、該第2駆動揺腕15と該第2弁揺腕14との連結、または該第2駆動揺腕15と該第2弁揺腕14との分離を選択できる。本実施例において、該第2連結ユニットは、閉鎖ピンを用いる。
図3と図4を合わせて参照する。そのうち、図3は本発明の二方向油圧駆動ピンの概略図であり、図4は本発明の閉鎖ピンの概略図である。図3において、該二方向油圧駆動ピンの内部に収容空間180を設け、該収容空間180にピン体181を内設しピン体181の両側にオイルシート182を設ける。油回路Pc、Pbは該収容空間180に連絡する。これにより、油回路PbまたはPcの作動により、油体9より該ピン体181を該収容空間180の両端に移動させ、該第1駆動揺腕と該第1弁揺腕、および該第1弁揺腕と第2弁揺腕との連結を選択できる。図7を参照する。油回路Pc作動により、Pcの油圧がPbより高いとき、ピン体181は右側に移動し、該第1弁揺腕13と第2弁揺腕14に連結される。一方、該油回路Pbの作動により、Pbの油圧がPcより高いとき、ピン体181は左側に移動し、該第1駆動揺腕12と該第1弁揺腕13に連結される。
図4に示すとおり、該閉鎖ピンはピン体191を有し、その内部に収容空間192を設ける。該収容空間192内部に弾性体193を設け、その一端はピン体191の内壁に連結し、他端は側面に取り付ける。該閉鎖ピンの一端に油回路Paを設ける。該閉鎖ピンの作動方式は、油回路Paより油体9を該閉鎖ピンに供給したとき、該ピン体191は油体9の押さえ力量により、オイルシート194を閉鎖ピンの他端(右側)に移動して、該ピン体191内部の弾性体193を圧迫し、弾性回復力を蓄積する。油回路Paに油体9が供給されないとき、該ピン体191に働く油圧は消える。このとき、該ピン体191内部の弾性体193で蓄積された弾性回復力を開放し、ピン体191を他端(左側)に移動させる。図1に示すとおり、該閉鎖ピン191を移動させ、該第2駆動揺腕15と該第2弁揺腕14との連結、または該第2駆動揺腕15と該第2弁揺腕14との分離を選択できる。
図2に示すものは、本発明の弁制御機構の実施例1の油回路制御の概略図である。該油回路制御ユニット4は、油回路Pa、Pb、Pc制御のために備える。2個の四口二位直動型電磁切換弁40、41を使用する。そのうち、A、Bは作動管線の継ぎ口であり、油回路Pa、Pb、Pcに連結する。Pは圧力源の継ぎ口であり、ポンプ42に連結する。Tは液体排出の継ぎ口であり、燃料タンク槽43に連結する。Yは制御弁の制御接点である。
図5に示すとおり、Pa、Pb、Pcの油回路を制御し、該第1連結ユニット18と該第2連結ユニット19をさまざまな組み合わせにより、該第1弁10と第2弁11の弁体に異なる揚程パターンを形成できる。図1の例において、該第1連結ユニット18は該第1弁揺腕13および該第2弁揺腕14に連結し、該第2連結ユニット19は該第2弁揺腕14と該第2駆動揺腕15に連結する。該第1カム16が回転し、該第1駆動揺腕12に接触したとき、該第1連結ユニット18は該第1駆動揺腕12に接触していないため、該第1駆動揺腕12は単独に運動する。
一方、該第2カム17が回転するとき、該第2駆動揺腕15は該第2連結ユニット19を介して、該第2弁揺腕14に連結する。該第2弁揺腕14はさらに、該第1連結ユニット18を介して、該第1弁揺腕13に連結する。これにより、該第2カム17は該第2駆動揺腕15を伝動したとき、該第2駆動揺腕15は第2連結ユニット18、第一連結ユニット18を介して、該第1弁揺腕13、第2弁揺腕14を駆動する。該第2カム17は高揚程カム(high cam)のため、該第1弁10と該第2弁11は高揚程の開度を形成する。同じ原理で、他の運動行程の組み合わせは図5に示すとおり、弁10、11とも高揚程のとき、エンジンは高回転の馬力を形成する。弁10、11とも休止状態のとき、気筒休止状態となる。弁10と弁11がそれぞれ低揚程と高揚程のとき、エンジンは中速回転のスワール状態またはエンジン休止状態となる。
図6に示すものは、本発明の弁制御機構の実施例2の概略図である。該弁制御機構2は主に、第1弁揺腕22、第2弁揺腕24、駆動揺腕23、第1連結ユニット25、第2連結ユニット27および動力伝達ユニット26を備える。該第1弁揺腕22は第1弁20に連結し、該第1弁揺腕22は第1カム28の駆動により運動を開始する。該第2弁揺腕24は第2弁21に連結し、該第2弁21の開閉を制御する。該第1弁20および該第2弁21はエンジン気筒に設けて、吸気量の開閉機構を制御する。該第1弁20と該第2弁21とエンジンとの配置は、公知技術のため、ここでの説明を省略する。該駆動揺腕23は該第1弁揺腕22と該第2弁揺腕24の間に設け、該駆動揺腕23は第2カム29の駆動により運動を開始する。該第1カム28と該第2カム29は、カムシャフト(図示しない)の駆動により回転する。本実施例において、該第1カム28は低揚程カム(mid cam)であり、該第2カム29は高揚程カム(high cam)である。すなわち、該第1カム28により、該第1駆動揺腕22の運動行程は該第2カム29より形成する行程により、該第2駆動揺腕27の運動行程より小さく発生する。
該第1連結ユニット25は、該駆動揺腕23と該第1弁揺腕22との連結、または該駆動揺腕23と該第2弁揺腕22との分離を選択できる。本実施例において、該第1連結ユニット25は、開放ピンを用いる。図7に示すものは、本発明の開放ピンの概略図である。該開放ピンに収容空間250を内設し、該収容空間250にピン体252を収容する。
該収容空間250の一端は油回路Pbに連結し、該ピン体252と棒体251に連結する。該棒体251は該収容空間250より該開放ピン外部に延ばしておく。棒体251の一端に係止め部材254を設け、該係止め部材254と該開放ピンの間に、弾性体253を該棒体251に装入する。
油回路Pbの油圧働きが該ピン体252に伝達したとき、ピン体252を左側に移動し、該棒体251を移動して、該弾性体253を圧縮し、弾性回復力を蓄積する。油回路Pbの油圧が消えたとき、弾性体253の弾性回復力により、該ピン体252を右側に移動させる。図6を参照する。油回路Pbと該弾性体253を作動させ、該開放ピンを制御し、該駆動揺腕23と該第1駆動揺腕22との連結、または該駆動揺腕23と該第1弁揺腕22との分離を選択できる。該第2連結ユニット27は、該駆動揺腕23と該第2弁揺腕24との連結、または該駆動揺腕23と該第2弁揺腕24との分離を選択できる。本実施例において、該第2連結ユニット27は、閉鎖ピンを用いる。該閉鎖ピンの動作原理はい図4に示すとおりである。ここにて説明を省略する。
図8に示すものは、本発明の動力伝達ユニットの実施例1の概略図である。該動力伝達ユニット26は該第1弁揺腕(図示しない)に設け、円筒体260、ノックピン265および油回路制御ユニット(図示しない)を有する。該円筒体260に第1貫通孔262と限流孔264を設け、該第1貫通孔262と該限流孔264との間に収容空間261を設ける。該ノックピン265は該第1貫通孔262内部に設け、該ノックピン265の一端は該第1カム28に合わせて設ける。該ノックピン265は第1貫通孔262内部に移動できる。
該油回路制御ユニットは該限流孔264に連結し、該油回路制御ユニットは該収容空間261に油体9を提供することにより、該ノックピン265を上方に移動させるか、または該収容空間261内部の油体9を解放して、ノックピン265を下方に移動させる。ノックピン265が上方に移動した後、該第1カム28よりの駆動力により、該第1弁揺腕13を連動して移動させる。該限流孔264の径は適切なサイズを設けることにより、該第1カム28と該ノックピン265と接触しても、該収容空間261内部の油体流出は緩やかのため、該動力伝達ユニットは収容空間内部の油体の圧縮不可特性により、きわめて良い剛性が得られる。一例として、2mm以下の限流孔は200Nのカム駆動力を担ぐことができる。油体を放出すると、ノックピン265は下向きとなり、該第1弁揺腕13は第1カム28の伝動力を受けることができない。本実施例において、該油回路制御ユニットは、たとえば図9の実施態様がる。ただし、この限りでない。
図9に示すものは、本発明の弁制御機構の実施例2の油回路制御の概略図である。該油回路制御ユニット5は、油回路Pa、Pb、Pc制御のために備える。2個の四口二位直動型電磁切換弁50、51を使用する。そのうち、A、Bは作動管線の継ぎ口であり、油回路Pa、Pb、Pcに連結する。Pは圧力源の継ぎ口であり、ポンプ52に連結する。
Tは液体排出の継ぎ口であり、燃料タンク槽53に連結する。Yは制御弁の制御接点である。
図10に示すとおり、Pa、Pb、Pcの油回路を制御し、該第1連結ユニット18と該第2連結ユニット19をさまざまな組み合わせにより、該第1弁10と第2弁11の弁体に異なる揚程パターンを形成できる。図6と図8を合わせて参照する。該動力伝達ユニット26は、油路Pcより油圧が供給されたため、ノックピン265は上方に移動する。
該第1連結ユニット25は該第1弁揺腕22と該駆動揺腕23と分離して設け、該第2連結ユニット27は該第2弁揺腕24と該駆動揺腕23を連結して設ける。前記の状態において、第1カム28(低揚程)が回動し、該動力伝達ユニット26に接触したとき、動力は該第1弁揺腕22に伝達される。ただし、該駆動揺腕23は該第1弁揺腕22に接触していないため、該第1弁揺腕22は単独に運動しながら、該第1弁20を連動し、低揚程開度を駆動する。
該第2カム29(高揚程)が回動し、該駆動揺腕23は該第2連結ユニット27と該第2弁揺腕24に連結する。このとき、該第2カム29により該駆動揺腕23に連動したとき、該駆動揺腕23は該第2連結ユニット27を介して、該第2弁揺腕24を駆動し、該第2弁21の開度を操作する。該第2カム29は高揚程カムのため、該第2弁21は高揚程の開度を形成する。同じ原理の運動行程の組み合わせは、図10に示す。
図11に示すものは、本発明の弁制御機構の実施例2の概略図である。該弁制御機構3は主に、第1弁揺腕32、第2弁揺腕34、駆動揺腕33、第1連結ユニット35、第2連結ユニット37および動力伝達ユニット36を備える。該第1弁揺腕32は第1弁30に連結し、該第1弁揺腕32は第1カム38の駆動により運動を開始する。該第2弁揺腕34は第2弁31に連結し、該第2弁31の開閉を制御する。該駆動揺腕33は該第1弁揺腕32と該第2弁揺腕34の間に設け、該駆動揺腕33は第2カム33の駆動により運動を開始する。該第1カム38、該第2カム39、該第1弁揺腕32、第2弁揺腕34、該駆動揺腕33、該第1連結ユニット35、および該第2連結ユニット37との接続関係は、図6に同じ。ここにて説明を省略する。
図12に示すものは、本発明の動力伝達ユニットの実施例2の概略図である。該動力伝達ユニット36は該第1弁揺腕32に設け、台座360、ノックピン361および第2ノックピン362を設ける。該台座360は第1収容空間363、第2収容空間365および油体9を提供するための油圧回路367を備える。該第1ノックピン361は、該第1収容空間363に内設し、該第1ノックピン361の底部はさらに第1弾性体364を設ける。該第1ノックピン361の一端に凹み部3611を設ける。該第2ノックピン362は該第2収容空間365に設け、その一部は該油圧回路367に連結し、該油圧回路と図11の油路Pcと連結する。該第2ノックピン362の底部に、第2弾性体366に連結し、該第2ノックピン362の一端は該液体と該第2弾性体366の働きにより、該凹み部3611への締結または切り離す選択できる。
引き続き、該動力伝達ユニット36の動作を説明する。該第1弾性体364は外力の働きが状態のとき、該第1ノックピン361を押して、上方に移動させる。このとき、該油圧回路367の油圧が消えたとき、該第2弾性体366は外力がないため、第2弾性体366は該第2ノックピン362を前側に押して、該第2ノックピン362の端部3621を該凹み部3611に装入する。該第2ノックピン362を該凹み部3611に装入することにより、該第1ノックピン361を上方位置に取り付けて、該第1ノックピン361は該第1カム38に接触し、該第1カム38の動力を受けて、該第1弁揺腕32を連動して回動する。油圧回路367より油圧が供給されると、その油圧は該第2ノックピン362を右側に押して、該第2ノックピン362の端部3621を該凹み部3611より引き離す。このため、該第1カム38と該第1ノックピン361と接触するとき、該第1ノックピン361は該第2ノックピン362によって、支えられていないため、該第1カム38の伝動力は該第1弾性体364によって、吸収されて、動力は該第1弁揺腕32に伝達されない。
図13に示すものは、本発明の弁制御機構の実施例3の油回路制御の概略図である。該油回路制御ユニット6は、油回路Pa、Pb、Pc制御のために備える。2個の四口二位直動型電磁切換弁61、62を使用する。そのうち、Aは作動管線の継ぎ口であり、油回路Pa、Pb、Pcに連結する。Pは圧力源の継ぎ口であり、ポンプ62に連結する。Tは液体排出の継ぎ口であり、燃料タンク槽63に連結する。Yは制御弁の制御接点である。
図14に示すとおり、Pa、Pb、Pcの油回路を制御し、該第1連結ユニット18と該第2連結ユニット19をさまざまな組み合わせにより、該第1弁10と第2弁11の弁体に異なる揚程パターンを形成できる。図11と図12を合わせて参照する。該動力伝達ユニット36は油圧回路Pcに供給圧がないため、該第1ノックピン361は上向き位置に維持する。該第1連結ユニット35に油路Pbよりの油圧供給がないため、該第1弁揺腕32と該駆動揺腕33を分離し、該第2連結ユニット37に油路Paよりの油圧供給がないため、該第2弁揺腕34と該駆動揺腕33を連結する。前記の状態において、第1カム38(低揚程)が回動し、該動力伝達ユニット36に接触したとき、動力は該第1弁揺腕32に伝達される。ただし、該第1弁揺腕32に接触していないため、該第1弁揺腕32は単独に運動しながら、該第1弁30を連動し、低揚程開度を駆動する。
該第2カム39(高揚程)が回動し、該駆動揺腕33は該第2連結ユニット37と該第2弁揺腕34に連結する。このとき、該第2カム39により該駆動揺腕33に連動したとき、該駆動揺腕33は該第2連結ユニット37を介して、該第2弁揺腕34を駆動し連動する。該第2カム39は高揚程カムのため、該第2弁31は高揚程の開度を形成する。同じ原理の運動行程の組み合わせは、図14に示す。
前記のとおり、本発明の構造、特徴並びに各実施例を詳細説明しており、本発明の切り替えピン機構は、二つの切り替え弁と三つの油回路を介して、3種類以上の開閉パターンを形成できる。その目的並びに効果は実施進歩性が豊富のほか、産業上の利用価値もきわめて高い。市場でいままでにない運用に当たる。よって、特許法の精神に照らして、本発明は発明特許の用件に合致している。
本発明の弁制御機構の実施例1の概略図である。 本発明の弁制御機構の実施例1の油回路制御の概略図である。 本発明の二方向油圧駆動ピンの概略図である。 本発明の閉鎖ピンの概略図である。 本発明の弁制御機構の実施例1の弁揚程の組み合わせ概略図である。 本発明の弁制御機構の実施例2の概略図である。 本発明の開放ピンの概略図である。 本発明の駆動ユニットの実施例1の概略図である。 本発明の弁制御機構の実施例2の油回路制御の概略図である。 本発明の弁制御機構の実施例2の弁組み合わせ概略図である。 本発明の弁制御機構の実施例3の概略図である。 本発明の駆動ユニットの実施例2の概略図である。 本発明の弁制御機構の実施例3の油回路制御の概略図である。 本発明の弁制御機構の実施例3の弁揚程の組み合わせ概略図である。
1 弁制御機構
10 第1弁
11 第2弁
12 第1駆動揺腕
13 第1弁揺腕
14 第2弁揺腕
15 第2駆動揺腕
16 第1カム
17 第2カム
18 第1連結ユニット
180 収容空間
181 ピン体
182 オイルシート
19 第2連結ユニット
191 ピン体
192 収容空間
193 弾性部材
194 オイルシート
2 弁制御機構
20 第1弁
21 第2弁
22 第1弁揺腕
23 駆動揺腕
24 第1弁揺腕
25 第1連結ユニット
250 収容空間
251 棒体
252 ピン体
253 弾性部材
254 係止め部材
26 動力伝達ユニット
260 円筒体
261 収容空間
262 第1貫通孔
264 限流孔
265 ノックピン
27 第2連結ユニット
28 第1カム
29 第2カム
3 弁制御機構
30 第1弁
31 第2弁
32 第1弁揺腕
33 駆動揺腕
34 第1弁揺腕
35 第1連結ユニット
36 動力伝達ユニット
360 台座
361 第1ノックピン
3611 凹み部
362 第2ノックピン
3621 端部
363 第1収容空間
347 第1弾性体
365 第2収容空間
366 第2弾性体
367 油圧経路
37 第2連結ユニット
38 第1カム
39 第2カム
4、5、6 油回路制御ユニット
40、41、50、51、60、61 直動形電磁切換弁
42、52、62 ポンプ
43、53、63 燃料タンク
9 油体
Pa、Pb、Pc 油回路

Claims (5)

  1. 第1弁揺腕、第2弁揺腕、第1駆動揺腕、第2駆動揺腕、第1連結ユニット、第2連結ユニットを含み、
    該第1弁揺腕は第1弁に、該第2弁揺腕は第2弁にそれぞれ連結し、
    該第1駆動揺腕は該第1弁揺腕の一端に設け、該第1駆動揺腕は、第1カムの駆動により運動を開始し、
    該第2駆動揺腕は該第2弁揺腕の一端に設け、該第2駆動揺腕は、第2カムの駆動により運動を開始し、
    該第1連結ユニットは、該第1駆動揺腕と該第1弁揺腕を連結するか、または該第1弁揺腕を該第2弁揺腕と連結するかを選択でき、
    第2連結ユニットは、該第2駆動揺腕と該第2弁揺腕を連結するか分離するかを選択できることを特徴とする弁制御機構。
  2. 該第1連結ユニットは弾性体と油圧駆動素子より構成する切り替えピン、または双方向油圧駆動ピンのいずれを選択でき、該切り替えピンは閉鎖ピンと開放ピンのいずれが選択可能であることを特徴とする請求項1記載のバルブ制御機構。
  3. 該第2連結ユニットは弾性体と油圧駆動素子より構成する切り替えピン、または双方向油圧駆動ピンのいずれを選択でき、該切り替えピンは閉鎖ピンと開放ピンのいずれが選択可能であることを特徴とする請求項1記載のバルブ制御機構。
  4. 第1弁に接続されて第1カムにより駆動される第1弁揺腕と、第2弁に接続された第2弁揺腕と、
    該第1弁揺腕と該第2弁揺腕の間に設置されて、第2カムの駆動により駆動される駆動揺腕と、
    選択的に該駆動揺腕を該第1弁揺腕と連結或いは分離させる第1連結ユニットと、
    選択的に該駆動揺腕を該第2弁揺腕と連結或いは分離させる第2連結ユニットと、
    を包含したバルブ制御機構において、
    該第1弁揺腕に動力伝達ユニットを設け、該第1弁揺腕は該第1カムの伝動力を受け入れ、該動力伝達ユニットはさらに円筒体を有し、第1貫通孔と限流孔を設け、該第1貫通孔と限流孔との間に収容空間を設け、
    ノックピンは該第1貫通孔内部に設け、該ノックピンの一端は該第1カムに合わせて設け、該ノックピンは第1貫通孔内部に移動でき、
    油路制御ユニットは該限流孔に連結し、該油路制御ユニットは油体を該収容空間に流入と放出を選択操作できることを特徴とする弁制御機構。
  5. 第1弁に接続されて第1カムにより駆動される第1弁揺腕と、第2弁に接続された第2弁揺腕と、
    該第1弁揺腕と該第2弁揺腕の間に設置されて、第2カムの駆動により駆動される駆動揺腕と、
    選択的に該駆動揺腕を該第1弁揺腕と連結或いは分離させる第1連結ユニットと、
    選択的に該駆動揺腕を該第2弁揺腕と連結或いは分離させる第2連結ユニットと、
    を包含したバルブ制御機構において、
    該第1弁揺腕に動力伝達ユニットを設けて、第1弁揺腕より該第1カムの伝動力を受け入れ、該動力伝達ユニットはさらに、台座、第1ノックピン及び第2ノックピンを含み、該台座は第1収容空間、第2収容空間および液体を提供するための油圧回路を備え、
    該第1ノックピンは該第1収容空間に内設し、該第1ノックピンの底部はさらに第1弾性体を設け、該第1ノックピンの一端に凹み部を設け、
    該第2ノックピンは該第2収容空間に内設し、その一部は該油圧回路に連結し、該第2ノックピンの底部はさらに該第2弾性体に連結し、該第2ノックピンの一端は該液体と該第2弾性体の働きにより、該凹み部に締結するか、または引き離すことを選択できることを特徴とする弁制御機構。
JP2006249486A 2006-08-08 2006-09-14 弁制御機構 Expired - Fee Related JP4516552B2 (ja)

Applications Claiming Priority (1)

Application Number Priority Date Filing Date Title
TW095128974A TWI310804B (en) 2006-08-08 2006-08-08 Valve actuation mechansim

Publications (2)

Publication Number Publication Date
JP2008038889A JP2008038889A (ja) 2008-02-21
JP4516552B2 true JP4516552B2 (ja) 2010-08-04

Family

ID=39049341

Family Applications (1)

Application Number Title Priority Date Filing Date
JP2006249486A Expired - Fee Related JP4516552B2 (ja) 2006-08-08 2006-09-14 弁制御機構

Country Status (3)

Country Link
US (1) US7721690B2 (ja)
JP (1) JP4516552B2 (ja)
TW (1) TWI310804B (ja)

Cited By (1)

* Cited by examiner, † Cited by third party
Publication number Priority date Publication date Assignee Title
CN109312645A (zh) * 2016-04-21 2019-02-05 伊顿智能动力有限公司 配气机构组件

Families Citing this family (7)

* Cited by examiner, † Cited by third party
Publication number Priority date Publication date Assignee Title
TWI394887B (zh) * 2010-01-20 2013-05-01 Kwang Yang Motor Co Engine valve control device
DE102010036941B4 (de) * 2010-08-11 2012-09-13 Sauer-Danfoss Gmbh & Co. Ohg Verfahren und Vorrichtung zur Ermittlung des Zustands eines elektrisch angesteuerten Ventils
US10400691B2 (en) 2013-10-09 2019-09-03 Tula Technology, Inc. Noise/vibration reduction control
US9399964B2 (en) 2014-11-10 2016-07-26 Tula Technology, Inc. Multi-level skip fire
US11236689B2 (en) 2014-03-13 2022-02-01 Tula Technology, Inc. Skip fire valve control
US10662883B2 (en) 2014-05-12 2020-05-26 Tula Technology, Inc. Internal combustion engine air charge control
WO2015175286A1 (en) * 2014-05-12 2015-11-19 Tula Technology, Inc. Internal combustion engine using variable valve lift and skip fire control

Family Cites Families (20)

* Cited by examiner, † Cited by third party
Publication number Priority date Publication date Assignee Title
AU551310B2 (en) * 1983-06-06 1986-04-24 Honda Giken Kogyo Kabushiki Kaisha Valve actuating mechanism
US4523550A (en) * 1983-09-22 1985-06-18 Honda Giken Kogyo Kabushiki Kaisha Valve disabling device for internal combustion engines
JPS6117107U (ja) * 1984-07-06 1986-01-31 トヨタ自動車株式会社 内燃機関の動弁機構
JPS6131610A (ja) * 1984-07-24 1986-02-14 Honda Motor Co Ltd 内燃機関の弁作動休止装置
JPS62121811A (ja) * 1985-07-31 1987-06-03 Honda Motor Co Ltd 内燃機関の動弁装置
JPS63100210A (ja) * 1986-10-16 1988-05-02 Honda Motor Co Ltd 内燃機関の動弁装置
US4887563A (en) * 1986-10-16 1989-12-19 Honda Giken Kogyo Kabushiki Kaisha Valve operating apparatus for an internal combustion engine
JPS63147909A (ja) * 1986-10-23 1988-06-20 Honda Motor Co Ltd 内燃機関の弁作動特性可変制御装置
JPH01155010A (ja) * 1987-12-12 1989-06-16 Fuji Heavy Ind Ltd 内燃機関の動弁装置
JPH0633712A (ja) * 1992-07-17 1994-02-08 Mitsubishi Motors Corp 可変バルブタイミング機構付き動弁系構造
JP2936981B2 (ja) * 1993-12-17 1999-08-23 三菱自動車工業株式会社 可変バルブ機構付き内燃機関
JP3253045B2 (ja) * 1994-08-25 2002-02-04 本田技研工業株式会社 多気筒内燃機関の動弁装置
JP3319883B2 (ja) * 1994-08-31 2002-09-03 本田技研工業株式会社 内燃機関の動弁装置
DE19519601C2 (de) * 1995-05-29 1997-04-03 Daimler Benz Ag Ventilantriebssytem für eine mehrzylindrige Brennkraftmaschine
JP3938339B2 (ja) 2001-07-26 2007-06-27 本田技研工業株式会社 内燃機関の動弁制御装置
JP4050571B2 (ja) * 2002-08-08 2008-02-20 本田技研工業株式会社 内燃機関の動弁装置
TWI222488B (en) 2002-12-17 2004-10-21 Mitsubishi Motors Corp Valve system of internal combustion engine
US6966285B1 (en) 2004-07-21 2005-11-22 General Motors Corporation Engine valve actuation control and method
JP4286235B2 (ja) * 2005-04-20 2009-06-24 株式会社オティックス 内燃機関の可変動弁機構
JP4535932B2 (ja) * 2005-05-09 2010-09-01 本田技研工業株式会社 エンジンの動弁装置

Cited By (3)

* Cited by examiner, † Cited by third party
Publication number Priority date Publication date Assignee Title
CN109312645A (zh) * 2016-04-21 2019-02-05 伊顿智能动力有限公司 配气机构组件
CN109312645B (zh) * 2016-04-21 2021-09-03 伊顿智能动力有限公司 配气机构组件
US11976577B2 (en) 2016-04-21 2024-05-07 Eaton Intelligent Power Limited Valve train assembly

Also Published As

Publication number Publication date
US20080035082A1 (en) 2008-02-14
TW200809076A (en) 2008-02-16
TWI310804B (en) 2009-06-11
US7721690B2 (en) 2010-05-25
JP2008038889A (ja) 2008-02-21

Similar Documents

Publication Publication Date Title
CN101929365B (zh) 柴油机液压式自适应气门正时可变系统与控制方法
US7721690B2 (en) Valve actuation mechanism
CN103388502B (zh) 一种全可变电液气阀驱动装置
CN108590799A (zh) 一种液压驱动的全可变配气机构
KR100820694B1 (ko) 가변 밸브 리프트 장치
CN107842408B (zh) 一种可变气门升程机构、控制气门升程的方法及发动机
JP4787785B2 (ja) 可変動弁機構
JP4286235B2 (ja) 内燃機関の可変動弁機構
CN102966390B (zh) 引擎的可变汽门扬程机构
CN101163865B (zh) 内燃机阀机构
CN201100150Y (zh) 一种发动机的气门驱动配气装置
CN201269121Y (zh) 可变阀扬程机构的切换结构
CN204900006U (zh) 可实现无极可变气门升程和可变气门正时的气门传动组
CN100547230C (zh) 阀门控制机构
TWI479076B (zh) Engine variable valve lift mechanism
CN105781661B (zh) 发动机进气门回程可控装置及设有该装置的配气系统
CN105156167B (zh) 汽车发动机压缩式制动缓速系统
CN214170643U (zh) 可变汽门正时装置
CN201100148Y (zh) 一种发动机的气门配气装置
CN211008803U (zh) 三气门顶置双凸轮轴发动机配气系统
CN101550848B (zh) 阀门控制机构
JP5634696B2 (ja) 内燃機関の制御装置
CN202091046U (zh) 汽车发动机电控气门驱动机构
CN105179091B (zh) 汽车发动机压缩式缓速系统
CN201100149Y (zh) 一种发动机的气门配气机构

Legal Events

Date Code Title Description
A131 Notification of reasons for refusal

Free format text: JAPANESE INTERMEDIATE CODE: A131

Effective date: 20090428

A601 Written request for extension of time

Free format text: JAPANESE INTERMEDIATE CODE: A601

Effective date: 20090728

A602 Written permission of extension of time

Free format text: JAPANESE INTERMEDIATE CODE: A602

Effective date: 20090731

A521 Request for written amendment filed

Free format text: JAPANESE INTERMEDIATE CODE: A523

Effective date: 20090828

A131 Notification of reasons for refusal

Free format text: JAPANESE INTERMEDIATE CODE: A131

Effective date: 20091201

A601 Written request for extension of time

Free format text: JAPANESE INTERMEDIATE CODE: A601

Effective date: 20100301

A602 Written permission of extension of time

Free format text: JAPANESE INTERMEDIATE CODE: A602

Effective date: 20100304

A521 Request for written amendment filed

Free format text: JAPANESE INTERMEDIATE CODE: A523

Effective date: 20100331

TRDD Decision of grant or rejection written
A01 Written decision to grant a patent or to grant a registration (utility model)

Free format text: JAPANESE INTERMEDIATE CODE: A01

Effective date: 20100427

A01 Written decision to grant a patent or to grant a registration (utility model)

Free format text: JAPANESE INTERMEDIATE CODE: A01

A61 First payment of annual fees (during grant procedure)

Free format text: JAPANESE INTERMEDIATE CODE: A61

Effective date: 20100514

R150 Certificate of patent or registration of utility model

Ref document number: 4516552

Country of ref document: JP

Free format text: JAPANESE INTERMEDIATE CODE: R150

Free format text: JAPANESE INTERMEDIATE CODE: R150

FPAY Renewal fee payment (event date is renewal date of database)

Free format text: PAYMENT UNTIL: 20130521

Year of fee payment: 3

R250 Receipt of annual fees

Free format text: JAPANESE INTERMEDIATE CODE: R250

R250 Receipt of annual fees

Free format text: JAPANESE INTERMEDIATE CODE: R250

R250 Receipt of annual fees

Free format text: JAPANESE INTERMEDIATE CODE: R250

R250 Receipt of annual fees

Free format text: JAPANESE INTERMEDIATE CODE: R250

R250 Receipt of annual fees

Free format text: JAPANESE INTERMEDIATE CODE: R250

R250 Receipt of annual fees

Free format text: JAPANESE INTERMEDIATE CODE: R250

R250 Receipt of annual fees

Free format text: JAPANESE INTERMEDIATE CODE: R250

R250 Receipt of annual fees

Free format text: JAPANESE INTERMEDIATE CODE: R250

LAPS Cancellation because of no payment of annual fees