JP4498024B2 - 光学式エンコーダ - Google Patents

光学式エンコーダ Download PDF

Info

Publication number
JP4498024B2
JP4498024B2 JP2004177407A JP2004177407A JP4498024B2 JP 4498024 B2 JP4498024 B2 JP 4498024B2 JP 2004177407 A JP2004177407 A JP 2004177407A JP 2004177407 A JP2004177407 A JP 2004177407A JP 4498024 B2 JP4498024 B2 JP 4498024B2
Authority
JP
Japan
Prior art keywords
signal
amplitude
scale
center voltage
value
Prior art date
Legal status (The legal status is an assumption and is not a legal conclusion. Google has not performed a legal analysis and makes no representation as to the accuracy of the status listed.)
Expired - Fee Related
Application number
JP2004177407A
Other languages
English (en)
Other versions
JP2006003126A5 (ja
JP2006003126A (ja
Inventor
暁生 熱田
正彦 井垣
Current Assignee (The listed assignees may be inaccurate. Google has not performed a legal analysis and makes no representation or warranty as to the accuracy of the list.)
Canon Inc
Original Assignee
Canon Inc
Priority date (The priority date is an assumption and is not a legal conclusion. Google has not performed a legal analysis and makes no representation as to the accuracy of the date listed.)
Filing date
Publication date
Application filed by Canon Inc filed Critical Canon Inc
Priority to JP2004177407A priority Critical patent/JP4498024B2/ja
Priority to US11/152,412 priority patent/US7348544B2/en
Priority to CN2005100779524A priority patent/CN1712902B/zh
Publication of JP2006003126A publication Critical patent/JP2006003126A/ja
Publication of JP2006003126A5 publication Critical patent/JP2006003126A5/ja
Application granted granted Critical
Publication of JP4498024B2 publication Critical patent/JP4498024B2/ja
Anticipated expiration legal-status Critical
Expired - Fee Related legal-status Critical Current

Links

Images

Classifications

    • GPHYSICS
    • G01MEASURING; TESTING
    • G01DMEASURING NOT SPECIALLY ADAPTED FOR A SPECIFIC VARIABLE; ARRANGEMENTS FOR MEASURING TWO OR MORE VARIABLES NOT COVERED IN A SINGLE OTHER SUBCLASS; TARIFF METERING APPARATUS; MEASURING OR TESTING NOT OTHERWISE PROVIDED FOR
    • G01D5/00Mechanical means for transferring the output of a sensing member; Means for converting the output of a sensing member to another variable where the form or nature of the sensing member does not constrain the means for converting; Transducers not specially adapted for a specific variable
    • G01D5/26Mechanical means for transferring the output of a sensing member; Means for converting the output of a sensing member to another variable where the form or nature of the sensing member does not constrain the means for converting; Transducers not specially adapted for a specific variable characterised by optical transfer means, i.e. using infrared, visible, or ultraviolet light
    • G01D5/32Mechanical means for transferring the output of a sensing member; Means for converting the output of a sensing member to another variable where the form or nature of the sensing member does not constrain the means for converting; Transducers not specially adapted for a specific variable characterised by optical transfer means, i.e. using infrared, visible, or ultraviolet light with attenuation or whole or partial obturation of beams of light
    • G01D5/34Mechanical means for transferring the output of a sensing member; Means for converting the output of a sensing member to another variable where the form or nature of the sensing member does not constrain the means for converting; Transducers not specially adapted for a specific variable characterised by optical transfer means, i.e. using infrared, visible, or ultraviolet light with attenuation or whole or partial obturation of beams of light the beams of light being detected by photocells
    • G01D5/36Forming the light into pulses
    • G01D5/366Particular pulse shapes

Landscapes

  • Physics & Mathematics (AREA)
  • General Physics & Mathematics (AREA)
  • Optical Transform (AREA)

Description

本発明は、変位測定や角度測定に用いられる光学式エンコーダに関するものである。
光学式エンコーダは基本的に、第1の光学格子が形成されたメインスケールと、これに対向して配置され第2の光学格子が形成されたインデックススケールと、メインスケールに光を照射する光源と、メインスケールの光学格子を透過又は反射し、更にインデックススケールの光学格子を透過した光を受光する受光素子とを備えて構成されている。
この種の光学式エンコーダにおいて、インデックススケールを兼ねて受光素子アレイを用いる方式は、既に特許文献1に提案されている。また、本発明者もこの構成のエンコーダとして、特許文献2に開示の発明を出願している。
特公平6−56304号公報 特開2003−161645号公報
この構成のエンコーダはインクリメンタル型と云われ、スケールの移動に対し、パルスの増減によりその移動量を検出することが可能である。
このインクリメンタル型の問題として、回転角度の絶対位置が分からないために、絶対位置を検出するセンサを別途必要とする問題があるが、それを回避する手段として特許文献3が開示されている。
特開平10−318790号公報
この特許文献3においては、インクリメンタル式の透過型のエンコーダにおける絶対値を検出するために、図13に示すようにスケール1に配列したスリット2の透過率を変化させ、例えばスリット2aの透過率を1とし、並列する順次のスリット2b、2c、2dの透過率を徐々に低下させている。
図14はこのスケール1を用いて、センサをスリット2の透過率が変化している部分が通過したときに得られる信号変化を示しており、センサから得られるアナログ2相信号Oa、Obは、スリット2の透過率が徐々に低下することにより振幅が低下するので、この変化を検出することによって絶対位置を検出するようになっている。
上述の従来例で示すエンコーダの絶対位置検出手段では、信号振幅を検出する方法として、得られるエンコーダ信号の1周期よりも十分に細かいタイミングでサンプリングし、そこから得られる信号のピークとバレイの電圧を求めなければならず、この処理のために高速なAD変換器など規模の大きな回路が必要となる。また、スケールに透過率の異なる部分を正確に製作する必要があり、実際の振幅変化もかなりのばらつきが発生する問題がある。
本発明の目的は、上述の問題点を解消し、簡単な構成で不連続部分が得られるスケール構成とし、環境変化の影響を受けることのない信号や信号処理を用いて、スケールに付した不連続部分の位置を原点として安定して検出することを可能とする光学式エンコーダを提供することにある。
上記目的を達成するための本発明に係る光学式エンコーダは、所定の間隔の光学格子が形成され、前記光学格子の一部に光学的な不連続部分が設けられたスケールと、該スケールに対して相対移動可能に設けられ、光源から照射された光束を前記スケールを介して受光する複数の受光素子を1セグメントとし、複数の前記セグメントを有し、複数の前記セグメント間の互いに対応する位置からは同位相の出力が得られるよう前記光学格子のピッチに関係付けして配設した受光素子アレイと、前記受光素子アレイから得られる電気信号に基づいてインクリメンタル信号を得る信号処理回路とを有する光学式エンコーダにおいて、前記信号処理回路は、前記インクリメンタル信号として互いに位相が90°ずれた2つのアナログ信号と、前記2つのアナログ信号と位相が等しく、前記アナログ信号の2値化された信号である2つのデジタル信号とを出力し、少なくとも一方のデジタル信号のパルスエッジのタイミングで得られる前記一方のデジタル信号と位相が90°ずれた前記アナログ信号の値に基づいて、前記位相が90°ずれたアナログ信号の振幅又は中心電圧を求め、前記不連続部材が前記受光素子アレイを通過するときに前記振幅又は前記中心電圧の変化を検出し、該変化が発生したときの位置に基づいて原点を検出することを特徴とする。
本発明に係る光学式エンコーダによれば、絶対位置検出を行う際にアナログエンコーダ信号振幅の変化点或いは中心電圧の変化点を検出することにより、スケールの不連続部分の位置を検出することを可能とし、スケールの絶対位置を簡素な電気回路により検出することができる。
本発明を図示の実施例に基づいて詳細に説明する。
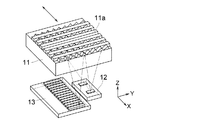
図1は反射型スケールの形状をマイクロルーフミラーアレイとした光学式エンコーダの構成図である。従来では、発光部と受光部とがスケールを挟んで対向して設置された所謂透過型の構成であったが、本実施例1では反射型の構成とされている。また、スケール11の形状をマイクロルーフミラーアレイを用いた構成とすることにより、光の利用効率を向上させている。このマイクロルーフミラーアレイについては、特許文献4に開示されている。
特開2002−323347号公報
移動体であるスケール11の片側には、発光部12、複数の受光素子を列状に配置した受光部13が固定して配置されている。発光部12で発光した光は、細かい間隔の反射部と非反射部を持つスケール11で反射して図2の受光部13の受光素子の列上に明暗の分布を与える。この構成は特にスケール11がマイクロルーフミラーアレイを用いた構成ではなく、単に反射部と非反射部を持つ構成であれば、信号レベルは異なるものの、同様な光の明暗の分布が受光部13上に形成され、エンコーダ信号を得ることができる。
従来のスケールでは前述したように、不連続部分として透過率が異なる部分を構成していたが、本実施例1では光束が完全に透過しない不連続部分11aがスケール11に設けられている。従来例において透過率が異なる部分を設けていたのは、完全な不完全部分を設けると信号が欠落しエラーとなってしまうため、或る程度の信号振幅が必要であったためである。
図2に示す受光部13は、4個のフォトダイオードSを1セグメントとし、複数のセグメントを有する構成とされている。13aはスケール11を介して受光部13に戻ってきた光の強度が強い部分である。通常のエンコーダでは、この光強度の強い部分13aがスケール11のピッチと或る関係で分布する。本実施例1の構成では、4つのフォトダイオードSのセグメントと同じ間隔で13aの部分が分布することになる。
本実施例1では、スケール11に不連続部分11aを設けているため、13bに示すように光強度の強い部分が抜ける現象が生ずる。しかし、この構成によれば入力光の波がスケール11の不連続部分11aに従って、完全に1つ欠落したとしても、他のフォトダイオードSの存在のために、ほぼフォトダイオードSが残っている割合での信号振幅が得られる。
図3は本実施例の回路構成図であり、フォトダイオードS1〜S4の出力はそれぞれ電流電圧変換器21に接続されている。フォトダイオードS1〜S4からはそれぞれ位相が90゜ずれた信号が出力され、フォトダイオードS1とS3、S2とS4からのそれぞれ位相が180°ずれた信号が、2個の差動増幅器22及び2個のコンパレータ23のプラス入力とマイナス入力に入力して2値化され、アナログエンコーダ信号(以下、アナログ信号と云う)A、Bと、デジタルエンコーダ信号(以下、デジタル信号と云う)DA、DBが得られる。
図4は図3の回路構成から得られた信号のタイムチャート図である。デジタル信号DA、DBはアナログ信号A、Bのゼロクロスにおいて生成されており、しかもアナログ信号A、Bは90°位相がずれているため、デジタル信号DBの立上りと立下りはアナログ信号Aの最大と最小の値になる。
従って、デジタル信号DBのパルスエッジのタイミングでアナログ信号Aの信号を取り込めば、アナログ信号Aの最大値と最小値の値が得られる。
また、アナログ信号Aの振幅は(アナログ信号Aの最大値−アナログ信号Aの最小値)から求められ、アナログ信号Aの中心電圧は、{(アナログ信号Aの最大値+アナログ信号Aの最小値)/2}から求めることができる。
図5はこの手法により得られたアナログ信号Aの振幅の波形図を示し、データは600パルス/Rで、図1に示したような不連続部分11aが1回転で1個所、図5では230番目のパルス付近に現われている。
このように、不連続部分11aが通過したとき信号振幅は低下することになるが、この低下のレベルとしては、4つのフォトダイオードS1〜S4を1セグメントとしたとき、図2では6セグメントのフォトダイオードのグループがあるのに対し、1セグメント分の信号が入力しないため、図5での信号レベルは不連続部分11aを設けないときの信号レベルと比べると5/6に低下している。
マイクロコンピュータなどの演算処理部では、図5において信号レベルが3Vを下回った場合、又は振幅値が最小値になった場合などのときに原点であると認識し、そのときの位置を記憶し、或いはコンパレータを設けてパルス信号を出力する。
このように、スケール11に不連続部分11aを設け、振幅を一方のデジタル信号DBのパルスエッジを基準に一方のアナログ信号Aをサンプリングし演算処理することで、原点位置を検出することが可能となる。
図6は本実施例1の原点検出アルゴリズムのフローチャート図である。ステップS1で原点検出を開始し、スケール11を移動させて信号を発生させる。
ステップS2でデジタル信号DBの立ち上りと立ち下りタイミングで、アナログ信号Aの信号を検出し、アナログ信号Aの最大値と最小値を求める。
ステップS3で最大値−最小値を演算して振幅を求める。
ステップS4で、振幅値が最小になる個所を検出する。
ステップS5で、振幅値が最小のパルス値のときのデジタル信号DAの立ち上り位置を原点とする。
このようにして、デジタル信号の或る特定のパルスエッジを原点位置とすることにより、再現性の良い原点位置を高精度で得ることが可能となる。
図7は実施例1において、検出不能となる場合の振幅変動の波形図を示している。スケール11に不連続部分11aを設けたにも拘らず、他の振幅変動が大きく、実施例1のような或る電圧を下廻ったとき、又は最小値となったときを計算しても、不連続部分11aを捉えられないという問題が発生することがある。
これはスケール11の汚れ、取付精度が悪いなどの原因によるものであるが、それを解消するためには、エンコーダを塵埃が侵入しない環境で使用したり、組み立て調整を厳しく行うなどの制約が生ずる。
本実施例2は振幅変動が大きくとも、スケール11の原点である不連続部分11aを検出するために、検出信号を微分して不連続部分11aが通過したときの急激な振幅変化を捉えている。
図8は図7におけるアナログ信号Aを微分した結果であり、図8(a)は全領域での微分信号の波形図、図8(b)は不連続部分11aが通過したときの振幅が急激に変化したときの微分信号の波形図を示している。
図8(a)から分かるように、スケール11の不連続部分11aが通過した個所では、微分値が大きく上下に変化している。これは実際の振幅が一瞬低下して直ちに復活するためである。図8(b)は微分値が大きく変化している個所の横軸を拡大しており、マークのある個所はエンコーダ信号の1パルスに相当する。
ここで、マイクロコンピュータなどにより微分値を検索してゆき、例えば図8(b)で微分値が−0.5を下回った個所から、+0.5を超える間の個所で、最もゼロに近い値を見付けるようにする。すると、図8(b)の点線で囲った232番目のパルス位置が原点位置として選択できる。
従って、最初に計数したパルス計数値に対し232を差し引くなどして、以後はこのパルス位置を原点に決定することが可能となる。なお、この計数のときのデジタル信号DAのエッジを原点位置とすることで、精度の良い原点位置を得ることができる。
図9は実施例3を説明するためのアナログ信号Aの出力波形図であり、従来の信号振幅ではなく、アナログ信号Aの中心電圧に着目している。図9(a)は横軸をパルス位置としたときのアナログ信号Aの振幅とその中心電圧を示し、図9(b)はスケール11の不連続部分が通過する付近のアナログ信号Aの中心電圧の変化を横軸を拡大して示している。
図9(b)から分かるように、アナログ信号Aの中心電圧はスケール11の不連続部分11aが発光部12、受光部13に入ったときにプラス側にピークを出力し、発光部12、受光部13を抜けるときにマイナス側にピークを出力する。
図10はこの現象の説明図であり、スケール11の不連続部分11aによる部分13bが受光部13の端の部分にあるとき、光が入射する部分と出射する部分で不均衡が生じ、図3の差動増幅器22で相殺していたオフセット成分が、微妙に発生している。これにより、図9(b)に示すような中心電圧の変化部が検出される。従って、図9(b)の点線でくくった個所のように、電圧変化のピークになるパルス位置を原点とすることができる。
図9(a)からも分かるように、アナログ信号Aの中心電圧は、振幅が変化しているにも拘らず殆ど変化せず、スケール11の不連続部分11aが通過するときのみ変動するため、安定して原点を検出することが可能となる。
図11は実施例4のアナログ信号Aの中心電圧とその中心電圧を微分した波形を示している。この図11において、中心電圧のピークの部分を見ると、複数のピークが存在し、中心電圧のピークを取るという前述の実施例3では、状況により異なる方の個所が求めるピーク値になってしまうという問題が発生する。
そこで本実施例4では、アナログ信号Aの中心電圧の微分値を求めると、上がり下がりを有するS字カーブになるので、上昇してから下がるときのゼロに近い個所を原点と決定することで、確実に1個所を原点位置に決定することができる。なお図11においては、個所224番目のパルス位置が原点となる。
また、ここで微分した結果の上がり下がりのゼロに近い個所が2個所あり、何れかを決められないとき、初期時にゼロに最も近い個所を原点として選択し、次の原点検出からは先の個所が持っていた値に最も近い個所を探すことにより、確実に原点位置を捉えることが可能となる。
図12はこの実施例4の原点検出アルゴリズムのフローチャート図である。ステップS11で原点検出スタートし、スケール11を移動し信号を発生させる。ステップS12においてデジタル信号DBの立ち上りと立ち下りタイミングでアナログ信号Aの信号を検出することで、アナログ信号Aの最大値と最小値を検出する。
ステップS13で{最大値+最小値}/2から中心電圧を求める。ステップS14で中心電圧値データの中心電圧が或る値以上に変化している領域のデータを微分する。
ステップS15〜S16で初期測定のときは、微分値がゼロに近いパルス位置を原点と決定し、その微分値Xを記憶する。ステップS17で、初期測定ではないときは微分値がXのときの個所を選択する。ステップS18で、得られた個所のデジタル信号DAの立ち上りの位置を原点とする。
このようにして、デジタル信号の或る特定のパルスエッジを原点位置であるとすることにより、精度の良い原点位置を得ることが可能となる。
実施例1の光学式エンコーダの構成図である。 フォトダイオードアレイのパターンと検出される光の明暗パターンとの関係図である。 処理回路の構成図である。である。 デジタル信号とアナログ信号のタイムチャート図である。 アナログ信号の振幅の波形図である。 原点検出アルゴリズムのフローチャート図である。 検出不能となる場合の振幅変動のアナログ信号の波形図である。 実施例2のアナログ信号を微分した信号の波形図である。 実施例3のアナログ信号の振幅と中心電圧の波形図である。 フォトダイオードアレイのパターンと検出される光の明暗パターンとの関係図である。 実施例4のエンコーダの中心電圧とこの中心電圧を微分した信号の波形図である。 原点検出アルゴリズムのフローチャート図である。 従来の光学式エンコーダのスケール部の構成図である。 スケールの不連続部分がセンサを通過しているときのエンコーダ信号の出力波形図である。
符号の説明
11 スケール
11a 不連続部分
12 発光部
13 受光部
21 電流電圧変換器
22 差動増幅器
23 コンパレータ
S、S1〜S4 フォトダイオード

Claims (5)

  1. 所定の間隔の光学格子が形成され、前記光学格子の一部に光学的な不連続部分が設けられたスケールと、
    該スケールに対して相対移動可能に設けられ、光源から照射された光束を前記スケールを介して受光する複数の受光素子を1セグメントとし、複数の前記セグメントを有し、複数の前記セグメント間の互いに対応する位置からは同位相の出力が得られるよう前記光学格子のピッチに関係付けして配設した受光素子アレイと、
    前記受光素子アレイから得られる電気信号に基づいてインクリメンタル信号を得る信号処理回路とを有する光学式エンコーダにおいて、
    前記信号処理回路は、前記インクリメンタル信号として互いに位相が90°ずれた2つのアナログ信号と、前記2つのアナログ信号と位相が等しく、前記アナログ信号の2値化された信号である2つのデジタル信号とを出力し、
    少なくとも一方のデジタル信号のパルスエッジのタイミングで得られる前記一方のデジタル信号と位相が90°ずれた前記アナログ信号の値に基づいて、前記位相が90°ずれたアナログ信号の振幅又は中心電圧を求め、前記不連続部材が前記受光素子アレイを通過するときに前記振幅又は前記中心電圧の変化を検出し、該変化が発生したときの位置に基づいて原点を検出することを特徴とする光学式エンコーダ。
  2. 前記不連続部分の通過は、前記振幅又は前記中心電圧の変化のピーク値の位置を求めて検出することを特徴とする請求項1に記載の光学式エンコーダ。
  3. 前記不連続部分の通過は、前記振幅又は前記中心電圧の変化の微分した結果を用いて検出することを特徴とする請求項1に記載の光学式エンコーダ。
  4. 前記不連続部分の通過は、前記振幅又は前記中心電圧の変化の微分した値のゼロクロス個所付近の個所を原点位置として検出することを特徴とする請求項1に記載の光学式エンコーダ。
  5. 前記不連続部分は、初期動作時に前記振幅又は前記中心電圧の変化の微分した値のゼロクロス付近の個所を原点位置とし、そのときの微分値を記憶し、次回に該微分記憶値に最も近い個所を原点位置と決定することことを特徴とする請求項1に記載の光学式エンコーダ。
JP2004177407A 2004-06-15 2004-06-15 光学式エンコーダ Expired - Fee Related JP4498024B2 (ja)

Priority Applications (3)

Application Number Priority Date Filing Date Title
JP2004177407A JP4498024B2 (ja) 2004-06-15 2004-06-15 光学式エンコーダ
US11/152,412 US7348544B2 (en) 2004-06-15 2005-06-14 Optical encoder with discontinuous optical grating
CN2005100779524A CN1712902B (zh) 2004-06-15 2005-06-15 光学编码器

Applications Claiming Priority (1)

Application Number Priority Date Filing Date Title
JP2004177407A JP4498024B2 (ja) 2004-06-15 2004-06-15 光学式エンコーダ

Publications (3)

Publication Number Publication Date
JP2006003126A JP2006003126A (ja) 2006-01-05
JP2006003126A5 JP2006003126A5 (ja) 2007-07-26
JP4498024B2 true JP4498024B2 (ja) 2010-07-07

Family

ID=35459538

Family Applications (1)

Application Number Title Priority Date Filing Date
JP2004177407A Expired - Fee Related JP4498024B2 (ja) 2004-06-15 2004-06-15 光学式エンコーダ

Country Status (3)

Country Link
US (1) US7348544B2 (ja)
JP (1) JP4498024B2 (ja)
CN (1) CN1712902B (ja)

Families Citing this family (22)

* Cited by examiner, † Cited by third party
Publication number Priority date Publication date Assignee Title
JP4908764B2 (ja) * 2005-02-04 2012-04-04 キヤノン株式会社 光学式エンコーダ
JP4869628B2 (ja) * 2005-05-26 2012-02-08 オリンパス株式会社 光学式エンコーダ
JP2008028025A (ja) * 2006-07-19 2008-02-07 Canon Inc 反射型センサ
JP4928206B2 (ja) * 2006-09-22 2012-05-09 キヤノン株式会社 エンコーダ
WO2008088650A1 (en) * 2007-01-11 2008-07-24 3M Innovative Properties Company Web longitudinal position sensor
EP2162705A4 (en) * 2007-06-19 2014-02-19 3M Innovative Properties Co SYSTEMS AND METHOD FOR MANUFACTURING SHIFT CALCULATIONS
CN101678977B (zh) * 2007-06-19 2012-07-11 3M创新有限公司 用于指示幅材位置的系统和方法
US20100188668A1 (en) * 2007-06-19 2010-07-29 3M Innovative Properties Company Total internal reflection displacement scale
US7965393B2 (en) 2007-07-24 2011-06-21 Mitutoyo Corporation Reference signal generating configuration for an interferometric miniature grating encoder readhead using fiber optic receiver channels
US7973941B2 (en) * 2007-07-24 2011-07-05 Mitutoyo Corporation Reference signal generating configuration for an interferometric miniature grating encoder readhead using fiber optic receiver channels
US7732754B2 (en) * 2008-04-30 2010-06-08 Avago Technologies Ecbu Ip (Singapore) Pte. Ltd. Optical encoder with amplitude correction
US7709784B2 (en) * 2008-04-30 2010-05-04 Avago Technologies Ecbu Ip (Singapore) Pte. Ltd. Optical encoder with code wheel misalignment detection and automatic gain control
US7834310B2 (en) * 2008-06-23 2010-11-16 Xerox Corporation Position encoder's signal processing method and system
JP5113000B2 (ja) * 2008-09-19 2013-01-09 株式会社ミツトヨ 光電式エンコーダ
KR101667071B1 (ko) 2008-12-29 2016-10-17 쓰리엠 이노베이티브 프로퍼티즈 컴파니 웨브 기점을 사용한 위상-고정된 웨브 위치 신호
EP2389478B1 (en) 2008-12-30 2018-01-24 3M Innovative Properties Company Apparatus and method for making fiducials on a substrate
JP5887064B2 (ja) * 2010-04-28 2016-03-16 株式会社ミツトヨ 光学式エンコーダ
EP2386832B1 (en) * 2010-05-10 2017-04-12 Mitutoyo Corporation Photoelectric encoder
JP5479255B2 (ja) * 2010-07-20 2014-04-23 キヤノン株式会社 光学式エンコーダ
JP2014098666A (ja) * 2012-11-15 2014-05-29 Canon Inc インクリメンタルエンコーダ
CN109844462B (zh) * 2016-10-25 2021-05-25 三菱电机株式会社 增量型编码器的脉冲化变换装置及脉冲化变换方法
DE112021008372T5 (de) * 2021-12-20 2024-09-12 Fanuc Corporation Steuervorrichtung für Roboter mit Mastering durch Drehmoment- oder Kraftsteuerung

Family Cites Families (21)

* Cited by examiner, † Cited by third party
Publication number Priority date Publication date Assignee Title
JPH0656304B2 (ja) 1989-09-05 1994-07-27 株式会社ミツトヨ 光電型エンコーダ
US5291133A (en) * 1992-08-24 1994-03-01 General Motors Corporation Multi-bit encoder signal conditioning circuit having common mode disturbance compensation
JP3530573B2 (ja) * 1994-04-27 2004-05-24 キヤノン株式会社 光学式変位センサ
JP3465483B2 (ja) 1996-06-26 2003-11-10 ミノルタ株式会社 エンコーダ装置
US6201239B1 (en) * 1997-01-21 2001-03-13 Olympus Optical Co., Ltd. Optical encoder
US5929789A (en) 1997-04-09 1999-07-27 Hewlett-Packrd Company Single channel incremental position encorder with incorporated reference mark
JPH10288538A (ja) * 1997-04-16 1998-10-27 Sony Corp オフセット調整方法
DE19830925A1 (de) * 1997-08-07 1999-02-11 Heidenhain Gmbh Dr Johannes Abtasteinheit für eine optische Positionsmeßeinrichtung
US6043483A (en) * 1997-12-29 2000-03-28 Radica China Limited Apparatus and method using an indexed-encoder to sense the absolute position of an object with a single set of optics
EP1003012B3 (de) * 1998-11-19 2011-04-20 Dr. Johannes Heidenhain GmbH Optische Positionsmesseinrichtung
US6396052B1 (en) * 2000-04-07 2002-05-28 Lexmark International, Inc. High precision analog encoder system
US6713756B2 (en) * 2000-05-09 2004-03-30 Olympus Corporation Optical encoder and optical rotary encoder
JP2001317963A (ja) * 2000-05-09 2001-11-16 Olympus Optical Co Ltd 光学式エンコーダ
EP1235054B1 (en) 2001-02-20 2011-09-21 Canon Kabushiki Kaisha Optical displacement detecting apparatus
US6660997B2 (en) * 2001-04-26 2003-12-09 Creo Srl Absolute position Moiré type encoder for use in a control system
JP2003161645A (ja) 2001-11-28 2003-06-06 Canon Inc 光学式エンコーダ
JP4208483B2 (ja) * 2002-05-21 2009-01-14 キヤノン株式会社 光学式エンコーダ
US7312437B2 (en) * 2002-07-02 2007-12-25 Olympus Corporation Displacement sensor, method for detecting the optimal reference position, and method for judging stability of detecting the reference position of displacement sensor
US20040262502A1 (en) * 2003-06-26 2004-12-30 Xerox Corporation Position encoder
US20050109924A1 (en) * 2003-11-26 2005-05-26 David Christenson Apparatus for encoding and indexing
EP1577645B1 (en) * 2004-03-17 2007-09-05 Canon Kabushiki Kaisha Optical encoder

Also Published As

Publication number Publication date
CN1712902B (zh) 2010-09-08
US20050274880A1 (en) 2005-12-15
US7348544B2 (en) 2008-03-25
JP2006003126A (ja) 2006-01-05
CN1712902A (zh) 2005-12-28

Similar Documents

Publication Publication Date Title
JP4498024B2 (ja) 光学式エンコーダ
US7425697B2 (en) Origin detection method for optical encoder
EP2006642A2 (en) Absolute position encoder
US20070018086A1 (en) Optical Encoder
US7391011B2 (en) Optical encoder capable of detecting absolute position
JP2003065803A (ja) 光電式エンコーダ
EP1688711B1 (en) Optical encoder
EP2803948B1 (en) Reference signal generation apparatus and reference signal generation system
US9534936B2 (en) Reference signal generation apparatus and reference signal generation system
KR0165222B1 (ko) X-y스테이지의 수직방향 변위 측정장치
JP6694722B2 (ja) 光学式エンコーダ及びその原点決定方法
EP0990870A1 (en) Position sensor
JP2000121316A (ja) 光学スケールを用いた寸法測定装置
EP2738523A2 (en) Absolute encoder and method of obtaining absolute position
JP2005291980A (ja) 光学式エンコーダ
JP2005265512A (ja) 光学式エンコーダ
JPH0933284A (ja) 光学式エンコーダ
JP2001041730A (ja) リニヤスケール
JP4945976B2 (ja) 光学式絶対値エンコーダ
JPH11271026A (ja) 光学スケールを用いた寸法測定装置
JP4693213B2 (ja) リニヤスケールにおける原点信号のピークレべルの調整装置及び調整方法
JP2003106872A (ja) リニアセンサに於ける原点検出装置及び原点検出方法
JP2012233755A (ja) 光学式エンコーダおよび光学式エンコーダの絶対位置検出方法
JPH02103415A (ja) 光電式変位検出器

Legal Events

Date Code Title Description
A521 Request for written amendment filed

Free format text: JAPANESE INTERMEDIATE CODE: A523

Effective date: 20070608

A621 Written request for application examination

Free format text: JAPANESE INTERMEDIATE CODE: A621

Effective date: 20070608

A977 Report on retrieval

Free format text: JAPANESE INTERMEDIATE CODE: A971007

Effective date: 20091021

A131 Notification of reasons for refusal

Free format text: JAPANESE INTERMEDIATE CODE: A131

Effective date: 20091110

A521 Request for written amendment filed

Free format text: JAPANESE INTERMEDIATE CODE: A523

Effective date: 20091224

RD01 Notification of change of attorney

Free format text: JAPANESE INTERMEDIATE CODE: A7421

Effective date: 20100218

TRDD Decision of grant or rejection written
A01 Written decision to grant a patent or to grant a registration (utility model)

Free format text: JAPANESE INTERMEDIATE CODE: A01

Effective date: 20100406

A01 Written decision to grant a patent or to grant a registration (utility model)

Free format text: JAPANESE INTERMEDIATE CODE: A01

A61 First payment of annual fees (during grant procedure)

Free format text: JAPANESE INTERMEDIATE CODE: A61

Effective date: 20100413

FPAY Renewal fee payment (event date is renewal date of database)

Free format text: PAYMENT UNTIL: 20130423

Year of fee payment: 3

R150 Certificate of patent or registration of utility model

Ref document number: 4498024

Country of ref document: JP

Free format text: JAPANESE INTERMEDIATE CODE: R150

Free format text: JAPANESE INTERMEDIATE CODE: R150

FPAY Renewal fee payment (event date is renewal date of database)

Free format text: PAYMENT UNTIL: 20130423

Year of fee payment: 3

FPAY Renewal fee payment (event date is renewal date of database)

Free format text: PAYMENT UNTIL: 20140423

Year of fee payment: 4

LAPS Cancellation because of no payment of annual fees