JP4457575B2 - ゼオライト化改質土の製造方法及びゼオライト化改質土の製造システム並びにゼオライト化改質土 - Google Patents
ゼオライト化改質土の製造方法及びゼオライト化改質土の製造システム並びにゼオライト化改質土 Download PDFInfo
- Publication number
- JP4457575B2 JP4457575B2 JP2003113559A JP2003113559A JP4457575B2 JP 4457575 B2 JP4457575 B2 JP 4457575B2 JP 2003113559 A JP2003113559 A JP 2003113559A JP 2003113559 A JP2003113559 A JP 2003113559A JP 4457575 B2 JP4457575 B2 JP 4457575B2
- Authority
- JP
- Japan
- Prior art keywords
- soil
- zeolitic
- modified soil
- modified
- hydrothermal synthesis
- Prior art date
- Legal status (The legal status is an assumption and is not a legal conclusion. Google has not performed a legal analysis and makes no representation as to the accuracy of the status listed.)
- Expired - Fee Related
Links
Images
Landscapes
- Treatment Of Sludge (AREA)
- Silicates, Zeolites, And Molecular Sieves (AREA)
Description
【発明の属する技術分野】
本発明は、ゼオライト化改質土の製造方法及びゼオライト化改質土の製造システム並びにゼオライト化改質土に関する。
【0002】
【従来の技術】
発生土を原料としたゼオライト製造方法として、特許文献1(特開平9−59016号公報)があげられる。
【0003】
【特許文献1】
特開平9−59016号公報
【0004】
【発明が解決しようとする課題】
特許文献1では、製造コストや改質土の付加価値向上については考慮されていない。
【0005】
本発明の第一の目的は、陽イオン交換容量(CEC値)が高く、製造コスト低減が可能なゼオライト化改質土の製造方法及びゼオライト化改質土の製造システムを提供することにある。
【0006】
本発明の第二の目的は、付加価値の高いゼオライト化改質土を提供することにある。
【0007】
【課題を解決するための手段】
本発明の第一の目的は、無焼成浄水発生土にシリカ源を含有するアルカリ剤を混合して水熱合成反応を行うことにより達成される。或いは、本発明の第二の目的は、強熱減量を指標した有機物を含有することにより達成される。
【0008】
【発明の実施の形態】
浄水場においては、取水した原水中にポリ塩化アルミニウム等のアルミニウム分を主成分とした凝集剤を注入して、原水中の粘土質等に由来する濁質分及びフミン質等に由来する有機物を凝集沈殿処理して除去することが行われている。この凝集沈殿処理において、除去された濁質分及び有機物等はアルミニウム分を多く含む汚泥として回収される。
【0009】
ところで、浄水場で発生したこの汚泥(以下、発生土と称する)の付加価値が低いため、大半は埋立て処分されているのが現状で有効に再利用されていない。しかも、例えば、水道協会雑誌(第70巻,第8号,(第803号)pp38−pp41)で知られているように発生土の処分に際し、運搬及び処分費に多大の費用を要するため、浄水場の運営管理費の低減化が困難である。
【0010】
発生土は元来のシリカ成分と共に凝集剤に由来するアルミナ分を多く含有し、結晶性アルミノケイ酸塩からなるゼオライトと成分を同一にすることから、発生土を原料として水熱合成反応によってゼオライトを製造する方法がある。
【0011】
ゼオライトは、陽イオン交換能及び吸着能等の機能性を有することから、この機能性を利用してゼオライト化した発生土を土壌改良剤,吸着剤等に利用でき、付加価値を有するゼオライト化改質土として有効利用を図ることができる。
【0012】
ここで、水熱合成反応法により発生土から有用物のゼオライトを製造するためには、ゼオライトの性能評価の基準となる陽イオン交換容量(Cation Exchange Capacity:CEC、以下、CEC値と称する)が高く、低コストであることが望まれる。
【0013】
浄水場の発生土を原料としたゼオライトの製造は、発生土とアルカリ溶液として、例えば、NaOH溶液とを加熱混合し、所定の反応温度及び反応時間を維持して行われる。これにより、発生土からのSiO2,Al2O3 の溶出の進行と、溶出SiO2,Al2O3 を基にゼオライトが水熱合成される。
【0014】
【表1】
【0015】
しかし、表1に浄水発生土の組成を示すように、有機物含有量の指標となる強熱減量からみると、ゼオライト原料となるSiO2,Al2O3 と共にフミン質等に代表される有機物が同量含まれている。このため、有機物を含有した発生土を原料として水熱合成反応を行うと、有機物の影響を受けてゼオライト化改質土のCEC値が低下する恐れがある。
【0016】
そこで、本発明者らは、ゼオライト化改質土のCEC値と有機物残留率の関係を調べるため、発生土中の有機物を焼成処理により除去することを試み、先ず、焼成温度と有機物残留率rの関係について調べた。焼成処理に伴う各焼成温度tに対する焼成減少量wを次式(1)に従って求めた。次に、発生土中の有機物残留率rは焼成減少量wが最大となる焼成温度時の焼成減少量wxを基準として、次式(2)に基づいて求めた。
【0017】
焼成減少量w(wt%)=(1−wt/wo)×100 …(1)
ここで、wo:焼成前発生土重量(g)、wt:焼成処理後の発生土重量(g)
有機物残留率r(%)=(1−w/wx)×100 …(2)
ここで、wx:最大焼成減少量(28.0wt%,800℃),w:焼成温度t時の焼成減少量(wt%)
この結果、図2に示すよう、600℃以上の温度で焼成処理すれば発生土中の有機物を除去できることを確認した。そして、ゼオライト化改質土のCEC値と有機物残留率の関係を調べるため、焼成処理した発生土(焼成温度600℃,300℃)及び無焼成発生土を原料として、反応温度90℃,反応時間8h及び固液比率0.14 の条件下でNaOH溶液(5.0mol/l)を用いて水熱合成反応を行った。
【0018】
この結果、図3にゼオライト化改質土のCEC値と有機物残留率の関係を示すように、有機物を含有しないとCEC値が向上することを確認し、浄水発生土を例えば600℃以上で焼成処理すれば、ゼオライト化改質土のCEC値を向上させることができる。
【0019】
但し、発生土中の有機物を除去するため、水熱合成反応時の反応温度よりも高い焼成温度にて発生土を焼成処理することになり、多量の熱エネルギーを必要とする。結果的に前処理に要する熱エネルギーの増大に伴い発生土からのゼオライト化改質土の製造コストが高くなる。
【0020】
本発明の実施の形態では、上述した幾つかの課題に鑑みてなされたもので、その主目的は低コストにて浄水場の発生土からのゼオライト化改質土を製造する方法を提供することにある。更に、付加価値の高いゼオライト化改質土を提供することにある。
【0021】
本発明の実施の形態では、浄水発生土からのゼオライト化改質土の製造方法において、無焼成浄水発生土にシリカ源を含有するアルカリ剤を混合して水熱合成反応を行い、前記発生土からゼオライト化改質土を得ることを特徴とする。
【0022】
本発明者らは、主目的を達成するため浄水発生土の組成とその特徴について検討した。先ず、浄水発生土からのシリカ,アルミナの溶出特性について調べた。
【0023】
図4に溶出時間に対するシリカ,アルミナ溶出率の関係を示す。溶出特性試験は、焼成(600℃/2h)処理した発生土(シリカ48wt%,アルミナ29wt%)をアルカリ溶液(NaOH:3.0mol/l)に混合して行い、(3)式に従い溶出率を求めた。なお、溶出温度は80℃に設定した。
【0024】
溶出率(%)=(Co−Ct)÷Co …(3)
ここで、Co:発生土中初期シリカ,アルミナ含有量、Ct:溶出時間経過毎の発生土中シリカ,アルミナ含有量、である。
【0025】
溶出試験の結果、発生土中のシリカ,アルミナの含有量がシリカ>アルミナの状態にあるにも関わらず、シリカ,アルミナの溶出率はアルミナ>シリカの関係となり、アルミナは溶出し易いがシリカは溶出しづらいことが分った。これは、水分及び有機物を除いた発生土の主成分はシリカとアルミナからなるが、アルミナの元は凝集剤に由来する可溶性アルミニウムであり、溶出し易い。しかして、発生土は生成過程において高温下での温度履歴を受けていないため、アルミナの溶出が更に容易となっている。
【0026】
係る事象を調べるため、焼成温度を変えて発生土を焼成し、焼成温度とシリカ,アルミナの溶出量の関係を調べてみると、図5に示すようにアルミナは焼成温度が高くなるに従い結晶化が進行して溶出量が減少し、高温下での温度履歴の影響が現れる。これに対して、シリカは800℃以下の焼成温度までは溶出量は一定となるが、800℃を超える高温下の焼成温度になると溶出量が増加し、温度履歴の現象が現れる。
【0027】
この結果、発生土の生成過程において高温下の温度履歴を受けていない発生土にあってはシリカ,アルミナの溶出量の関係がアルミナ>シリカとなることがわかった。
【0028】
このシリカ,アルミナの溶出量の差異の関係は、浄水場の発生土をゼオライト原料とした場合の固有の事象で、CEC値に対し有機物の影響があるものの、むしろ、発生土からのシリカの溶出特性がゼオライト化改質土のCEC値低下の大きな要因であることが究明された。このため、シリカの溶出が不足する状態にあっては発生土からのゼオライト化が良好に遂行されず、CEC値の低いゼオライト化改質土しか得られない。
【0029】
本発明の実施の形態では、熱エネルギー低減のため、発生土を焼成処理しないで水熱合成反応を行う際の新たな課題に対し、発生土にシリカ源を含有するアルカリ剤を混合することによって、不足するシリカ源を同時に補充するようにしたものである。シリカ源を含有するアルカリ剤としては、ケイ酸ナトリウム,ケイ酸カリウム等が用いられるが特に限定されない。
【0030】
この結果、浄水場の発生土をゼオライト化の原料とした場合、ゼオライト化に必要な発生土側からのシリカ分が不足であっても、シリカ源を含有するアルカリ剤が添加されることによって、ゼオライト化が良好に遂行される。これにより、高いCEC値を有する発生土からのゼオライト化改質土の製造方法を提供することができる。しかして、発生土中の有機物除去に伴う焼成処理を不要とし、これに伴う熱エネルギーコストを不要とするので、低コストにてCEC値の高い発生土からのゼオライト化改質土の製造方法を提供することができる。
【0031】
(実施例2)
次に、水熱合成反応時間を1hから2hとすることについて説明する。
【0032】
発生土にシリカ源を含有するアルカリ剤を混合して水熱合成反応を行う場合、発生土からのシリカの溶出速度は図4に示すようにアルミナよりも遅く、高い溶出率を得るのに約2h要することがわかった。このため、シリカ源を含有するアルカリ剤を添加しても反応時間が短いと発生土側からのシリカ源が不足し、ゼオライト化反応が良好に遂行されない。一方、反応時間が長くなると、水熱合成反応に要する熱エネルギーが増加するため、ゼオライト化改質土の製造コストが高くなる。結果的にCEC値が低くて製造コストが高いゼオライト化改質土が製造されることになる。
【0033】
この課題に対して本実施例においては、シリカ源を含有するアルカリ剤を発生土に添加して水熱合成反応を行う際の反応時間の適正化を図り、反応時間を1時間から2時間の範囲(1hから2h)とすることによって、発生土側からのシリカ源の溶出量の増加を図る一方、予めシリカ源を含有するアルカリ剤の補充によって不足シリカ源を確保するようにしたものである。これにより、シリカ源不足の影響によるゼオライト化反応の低下が抑制され、高いCEC値を有するゼオライト化改質土を製造することができる。一方、高CEC値を得るための必要最小限の反応時間範囲内とすることによって、水熱合成反応に要する熱エネルギーの低減が図れ、低コスト化のゼオライト化改質土の製造方法を提供することができる。
【0034】
(実施例3)
発生土とアルカリ剤を混合加温して100℃以下の温度領域で水熱合成反応を行うことについて説明する。
【0035】
水熱合成反応によるゼオライト合成は、非平衡状態で準安定相として結晶化することが必要で、これには前記した反応時間と共に反応温度が影響を及ぼし、適正な温度領域に維持することが重要となる。一方、反応温度を高く維持すると、付加する熱エネルギーが増加するため、ゼオライト化改質土の製造コストが高くなる不都合が生じる。このため、低温域での反応温度の適正化を図ることが望ましい。
【0036】
そこで、無焼成浄水発生土にシリカ源を含有するアルカリ剤を混合して水熱合成反応試験を行い、高CECのゼオライト化改質土が得られる適正反応温度領域について調べた。供試原料としては表2に示した発生土を用い、反応時間は一定(1h)とした。
【0037】
【表2】
【0038】
シリカ源を含有するアルカリ剤としてはケイ酸ナトリウム(Na2SiO3・9H2O)を用い、アルカリ剤添加後の発生土中のSi濃度を2.0mol/l(Si/発生土中水分+薬品同伴水分)に設定した。反応終了後、ゼオライト化改質土を乾燥した後CEC値を測定した。
【0039】
この結果、図6に示すように、反応温度を高くするに従いCEC値が向上するが、反応温度100℃を超えると逆にCEC値が低下するという新しい知見を得た。これは、反応温度が高くなると過剰な熱エネルギーの付加により、ゼオライトの結晶化工程で安定相への再配列が生じて準安定相結晶の生成が低下するため、CEC値が低下すると推測される。したがって、発生土とアルカリ剤を混合加温した状態で100℃以下の温度領域が適正温度領域となり、該温度領域に反応温度を維持することによって、低コストにて高CEC値を有するゼオライト化改質土の製造方法を提供することができる。
【0040】
(実施例4)
更にまた、ゼオライト化改質土中に強熱減量を指標とした有機物を含有していることについて説明する。
【0041】
無焼成発生土にシリカ源を含有するアルカリ剤を混合して水熱合成反応を行った場合、製品としてのゼオライト化改質土中には強熱減量を指標とした有機物が含まれ、該有機物は浄水場の取水原水中に含まれているフミン質に代表される。フミン質は所謂腐植と呼称され、腐植は土壌構造を維持するなど物理的条件の改善に効果があり、また、腐植の分解過程で窒素を放出するため施肥的効果があり、地力の維持に広範囲な効果を有する。このため、この有機物を含有するゼオライト化改質土にあっては、その利用先として土壌改良剤等に使用した場合、CEC機能による保肥効果と共に地力維持に効果を有し、付加価値の高いゼオライト化改質土を提供するができる。
【0042】
(実施例5)
より具体的に、以下、本発明に係る浄水場の発生土からのゼオライト化改質土の製造方法の実施の形態を図面に基づいて説明する。
【0043】
図7は浄水場の凝集沈殿プロセスのフローを示す。河川または湖沼等から取水された原水RWは着水井1を経て急速混和池2に導入され、ここで、ポリ塩化アルミニウム等の凝集剤3が注入されて急速混和される。急速混和池2の下流側に位置するフロック形成池4では、凝集剤3の注入に伴って形成されたマイクロフロックの成長が促される。
【0044】
その後、成長した粒径の大きなフロックは、このフロック形成池4の下流側に位置する沈殿池5で沈降分離される。ここで、沈殿池5で沈降したフロックが汚泥Sとなる。一方、沈殿池5からの沈殿水SWはろ過池6に導入され、沈殿池5で沈降分離されなかった微細なフロックは、ここでろ過分離される。ろ過水はその後、配水池(図示せず)を経て需要端に供給される。
【0045】
沈殿池5内の汚泥Sは、堆積度合いに応じて引き抜かれ汚泥濃縮槽7に導入される。ここで、汚泥Sが濃縮された後、高含水率を有する濃縮汚泥CSは脱水機8に送られ、濃縮汚泥CS中の水分が脱水される。脱水後の汚泥は発生土Srとなる。発生土Srの組成の一例は前記表1に示したように、水分が63wt%、SiO2 ,Al2O3がそれぞれ27wt%,28wt%含まれており、他に有機物含有量の指標となる強熱減量は28wt%ある。
【0046】
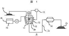
次に、図1に浄水場の発生土からのゼオライト化改質土の製造方法の工程フローを示す。脱水処理された発生土Srは、ゼオライト化改質土製造装置9の水熱合成反応手段である撹拌混合反応槽10に供給される。シリカ源を含有するアルカリ剤AL(例えば、Na2SiO3・9H2O,K2SiO3)は、供給設備15から撹拌混合反応槽10に供給される。発生土Sr及びアルカリ剤ALは撹拌混合反応槽10内の撹拌翼11によって撹拌混合されると共に、撹拌混合反応槽10外周に配設されたヒータ等の加熱手段12により撹拌混合反応槽10を介して加温される。このように、水熱合成反応の工程にシリカ源を含有するアルカリ剤を水熱合成反応手段に供給する工程が含まれる。シリカ源を含有するアルカリ剤を供給する設備を備えているので水熱合成反応工程でシリカ源を含有するアルカリ剤添加することができ、ゼオライト化を良好に遂行でき、高CEC値を有するゼオライト化改質土を提供が可能となる。
【0047】
なお、発生土Srへのアルカリ剤Alの供給量は、発生土Srの含水率及び使用薬品の含水率に基づいて、アルカリ剤供給後の発生土の液中Si濃度(mol/l)が所定濃度になるように設定される。本発明の一実施例では予め求めたSi濃度(mol/l)とゼオライト化改質土のCEC値の関係から高CEC値が得られるSi濃度(2mol/l)に設定している。
【0048】
発生土Sr及びアルカリ剤ALが混合した状態(以下、混合発生土Smと称する)での水熱合成反応時の反応温度Rtは、撹拌混合反応槽10内の温度を検出する温度調節器13及び温度検出結果に基づいて加熱手段12への出力を制御する温度調節器13により、設定した所定反応温度Rtに維持される。
【0049】
混合発生土Smは、撹拌混合反応槽10内で所定の反応温度及び反応時間にて水熱合成反応が行われる。その後、所定反応時間経過後、撹拌混合反応槽10外にゼオライト化改質土Zsとして排出される。前記水熱合成反応工程を経てゼオライト化された発生土からの改質土Zsは、必要に応じて中和処理され、その後、乾燥工程を行う乾燥機14に供給され、ここで、改質土Zs中に含有する水分が除去される。乾燥工程を経たゼオライト化改質土Zsは、必要に応じて粒径が調整される。
【0050】
なお、本実施例ではゼオライト化改質土Zsを回分式にて製造する方式を採っているが、発生土からのゼオライト化改質土の製造方法は連続方式であってもよく、特に方式が限定されるものではない。
【0051】
表3は浄水発生土を原料としたゼオライト合成の水熱合成反応の実施例を示す。
【0052】
【表3】
【0053】
本実施例の試験は、焼成処理しない表2に示した発生土を原料として反応温度120℃,反応時間2hの条件下で水熱合成反応を行い、反応終了後、混合発生土Smを室温まで冷却させて反応を停止させ、その後乾燥(105℃/4h)してゼオライト化改質土を得た。発生土に添加した薬品はシリカ源を含有するケイ酸ナトリウム(Na2SiO3・9H2O)を用い、アルカリ剤添加後の発生土の液中Na2SiO3濃度は3.5mol/lに設定した。
【0054】
比較試験1として、前記発生土にシリカ源を含有しないアルカリ剤として固形のNaOHを添加して、前記同条件(120℃/2h)にて水熱合成反応を行った。反応終了後の操作は前記操作に倣った。アルカリ剤添加後の発生土の液中NaOH濃度は3.5mol/lに設定した。
【0055】
比較試験2として、前記発生土にシリカ源を含有しないアルカリ剤として固形のCa(OH)2 を添加して、前記同条件(120℃/2h)にて水熱合成反応を行った。反応終了後の操作は前記操作に倣った。アルカリ剤添加後の発生土の液中Ca(OH)2 濃度は3.5mol/lに設定した。
【0056】
本実施例の試験及び比較試験1,2で得られたゼオライト化改質土の評価は、ショーレンベルガー法の酢酸アンモニウム浸透法によりCEC値を測定して行った。
【0057】
表3に示すように、本実施例の試験で得られたゼオライト化改質土のCEC値は、シリカ源を含有しないアルカリ剤を用いた比較試験1,2のゼオライト化改質土よりも高いCEC値を有する。
【0058】
したがって、本実施例のように浄水場の発生土を焼成処理しないでゼオライト化の原料とした場合、有機物を含有し、かつゼオライト化に必要な発生土側からのシリカ分が不足であっても、シリカ源を含有するアルカリ剤を添加することによってゼオライト化が良好に遂行され、高CEC値を有するゼオライト化改質土を提供することができる。
【0059】
(実施例6)
次に、本発明の他の実施形態において、無焼成の浄水発生土にケイ酸を含有するアルカリ剤を添加して水熱合成反応を行う場合、水熱合成反応時間を1hから2hとした。表2に示した無焼成発生土を原料とし、シリカ源を含有するケイ酸ナトリウム(Na2SiO3・H2O)を添加して反応温度80℃で水熱合成反応を行い、反応経過時間とCEC値の関係について調べた。なお、ケイ酸ナトリウム添加後の発生土の液中Si濃度は2mol/l に設定した。
【0060】
この結果、図8に示すように、反応時間が1h以下ではCEC値は低く、一方、反応時間が2h以上経過すると過剰な熱エネルギーの付加により、ゼオライト化の結晶化工程で安定相への再配列が生じて準安定相結晶の生成が低下し、CEC値が低下する傾向を示す。したがって、水熱合成反応に要する熱エネルギーを低減し、かつ高CEC値を得る必要最小限の適正反応時間範囲は1hから2hとなる。これにより、この反応時間にて水熱合成反応を行うことにより、低コストにてCEC値の高いゼオライト化改質土を提供することができる。
【0061】
本発明の実施の形態による浄水発生土からのゼオライト化改質土の製造方法によれば、発生土中の有機物除去のため焼成処理しなくとも、無焼成発生土中にシリカ源を含有するアルカリ剤を混合して水熱合成反応を行うことにより、高CEC値のゼオライト化改質土を製造することができるので、低コストにて高CEC値を有するゼオライト化改質土の製造方法を提供できる。
【0062】
(実施例7)
浄水発生土とアルカリ剤を混合して無液相のスラリー状態にして水熱合成反応を行うことについて説明する。
【0063】
浄水発生土とアルカリ剤を混合して水熱合成反応を行う場合、混合するアルカリ剤(例えば、NaOH溶液,K2SiO3溶液)の添加液量が多いと、両者の混合物は分離液相を含む混合物となる。すなわち、両者の混合物を例えば沈降分離すると、発生土とアルカリ剤の混合物とその上層に分離された液相に区分される。
【0064】
このため、水熱合成反応後、ゼオライト化改質土を回収するためには、遠心分離機等の手段によって固液分離することが望ましい。また、固液分離後の排液処理が必要となり、排液を排出基準に適合するpHに調整して系外に排出しなければならない。この結果、固液分離手段及び排液処理手段の付加に伴い、設備費が高くなる不都合が生じる。
【0065】
この課題に対して本実施例においては、浄水発生土とアルカリ剤の混合時に液相が発生しないように無液相のスラリー状態に両者を混合するようにしたもので、このスラリー状態で水熱合成反応を行うようにしたものである。これにより、水熱合成反応後のゼオライト化改質土は無液相のスラリー状態で回収されて液相分を含有しないため、反応終了後のゼオライト化改質土の回収に際し、固液分離手段を必要とせず、また、排液の発生がないため、排液処理手段も必要としない。この結果、浄水発生土とアルカリ剤を混合して水熱合成反応によりゼオライト化改質土を製造するに際して設備費の低減を図ることができる。
【0066】
更に、本実施例では、浄水発生土と該発生土に混合するアルカリ剤の固液比を6以上に保持している。
【0067】
浄水発生土とアルカリ剤を混合して無液相のスラリー状態にする場合、浄水発生土とアルカリ剤との固液比(浄水発生土g/(浄水発生土g+アルカリ液分g))を適正に調節する必要があり、固液比を適正に調節しないと分離した液相が生じる可能性がある。そこで、浄水発生土にアルカリ剤を添加して、液相が発生しない固液比について調べた。浄水発生土としては、表2に示した発生土を用い、これにアルカリ剤として、K2SiO3溶液を添加して撹拌混合し、液相発生の状態について調べた。発生土量に添加する上記アルカリ溶液量を増加させて固液比を小さくしていくと、固液比0.6以下では添加アルカリ溶液が浄水発生土の上層に液相となって現れることが観察された。この結果を固液比とアルカリ剤添加後の含水率の関係から調べて見た。なお、含水率はアルカリ剤添加後に乾燥(105℃/4h)して求めた。図9に固液比と含水率の関係を示すように、固液比0.6までは含水率は一定比率で高くなるが、0.6以上になると、発生土とアルカリ剤添加後の混合物は液相を含む状態となって前記比率よりも高くなる。
【0068】
したがって、浄水発生土とアルカリ剤を混合して水熱合成反応を行うに際して、固液比を0.6以上に保持すれば、両者の混合物には液相が発生しないので、水熱合成反応後に液相を固液分離する必要が無くなり、これに要する設備費を低減することができる。
【0069】
【発明の効果】
本発明のゼオライト化改質土の製造方法及びゼオライト化改質土の製造システムによると、陽イオン交換容量(CEC値)を高く、製造コストを低減できる。
【0070】
本発明のゼオライト化改質土によると、その付加価値を高くすることができる。
【図面の簡単な説明】
【図1】本発明の一実施例を示す浄水発生土からのゼオライト化改質土の製造方法のシステム図。
【図2】発生土の焼成温度と発生土中の有機物残留率の関係特性図。
【図3】ゼオライト化改質土のCEC値と有機物残留率の関係特性図。
【図4】アルカリ溶液に対する発生土からのシリカ,アルミナ溶出率の経時変化特性図。
【図5】発生土の焼成温度に対するシリカ,アルミナ溶出特性図。
【図6】水熱合成反応時の反応温度とゼオライト化改質土のCEC値の関係図。
【図7】本発明に係る浄水場の凝集沈殿プロセスのシステムフロー図。
【図8】水熱合成反応時の反応時間とゼオライト化改質土のCEC値の関係図。
【図9】固液比と含水率の関係を示す図。
【符号の説明】
1…着水井、2…急速混和地、3…凝集剤、4…フロック形成池、5…沈殿池、6…ろ過池、7…汚泥濃縮槽、8…脱水機、9…ゼオライト化改質土製造装置、10…撹拌混合反応槽、11…撹拌翼、12…加熱手段、13…温度調節器、14…乾燥機、15…供給設備、AL…アルカリ剤、Sr…発生土、Sm…混合発生土、Zs…改質土。
Claims (4)
- 無焼成浄水発生土にシリカ源を含有するアルカリ剤を混合して水熱合成反応を行い、前記発生土からゼオライト化改質土を製造することを特徴とするゼオライト化改質土の製造方法。
- 請求項1に記載のゼオライト化改質土の製造方法において、水熱合成反応時間を、1〜2時間の範囲とすることを特徴とするゼオライト化改質土の製造方法。
- 請求項1又は請求項2に記載のゼオライト化改質土の製造方法において、発生土とアルカリ剤を混合加温して100℃以下の温度領域で水熱合成反応を行うことを特徴とするゼオライト化改質土の製造方法。
- 水熱合成反応手段を備え、無焼成浄水発生土を原料としたゼオライト化改質土の製造システムであって、前記水熱合成反応手段に、シリカ源を含有するアルカリ剤を供給する供給手段を設けたことを特徴とするゼオライト化改質土の製造システム。
Priority Applications (1)
| Application Number | Priority Date | Filing Date | Title |
|---|---|---|---|
| JP2003113559A JP4457575B2 (ja) | 2003-04-18 | 2003-04-18 | ゼオライト化改質土の製造方法及びゼオライト化改質土の製造システム並びにゼオライト化改質土 |
Applications Claiming Priority (1)
| Application Number | Priority Date | Filing Date | Title |
|---|---|---|---|
| JP2003113559A JP4457575B2 (ja) | 2003-04-18 | 2003-04-18 | ゼオライト化改質土の製造方法及びゼオライト化改質土の製造システム並びにゼオライト化改質土 |
Publications (2)
| Publication Number | Publication Date |
|---|---|
| JP2004315322A JP2004315322A (ja) | 2004-11-11 |
| JP4457575B2 true JP4457575B2 (ja) | 2010-04-28 |
Family
ID=33473418
Family Applications (1)
| Application Number | Title | Priority Date | Filing Date |
|---|---|---|---|
| JP2003113559A Expired - Fee Related JP4457575B2 (ja) | 2003-04-18 | 2003-04-18 | ゼオライト化改質土の製造方法及びゼオライト化改質土の製造システム並びにゼオライト化改質土 |
Country Status (1)
| Country | Link |
|---|---|
| JP (1) | JP4457575B2 (ja) |
Families Citing this family (2)
| Publication number | Priority date | Publication date | Assignee | Title |
|---|---|---|---|---|
| JP4246648B2 (ja) * | 2004-02-16 | 2009-04-02 | 株式会社日立製作所 | ゼオライト化改質土の製造方法 |
| JP5142201B2 (ja) * | 2008-01-18 | 2013-02-13 | 一般財団法人電力中央研究所 | ゼオライト製造装置及び発電設備 |
-
2003
- 2003-04-18 JP JP2003113559A patent/JP4457575B2/ja not_active Expired - Fee Related
Also Published As
| Publication number | Publication date |
|---|---|
| JP2004315322A (ja) | 2004-11-11 |
Similar Documents
| Publication | Publication Date | Title |
|---|---|---|
| JP5201455B2 (ja) | リン回収資材とその製造方法およびリン回収方法 | |
| US4314979A (en) | Industrial process for continuous production of zeolite A | |
| US4800042A (en) | Radioactive waste water treatment | |
| JP2009285635A (ja) | リン回収資材およびリン回収方法 | |
| JPH05503065A (ja) | 結晶二珪酸ナトリウムの熱水製造方法 | |
| JP5972050B2 (ja) | リン回収材の製造方法 | |
| EP3077472B1 (en) | Methods to recover cesium/rubidium formate from a mixed alkali metal formate blend, and method for preparing cesium/rubidium hydroxide | |
| KR101602933B1 (ko) | 화력발전소의 바닥재를 이용한 합성 제올라이트 제조방법 | |
| KR102513145B1 (ko) | 베타형 제올라이트의 제조 방법 | |
| CN103030162B (zh) | 一种从拜耳法赤泥制备铝酸钠固体的方法 | |
| CN110418768B (zh) | 用种晶剂合成沸石晶体的方法 | |
| US4849190A (en) | Process for the production of hydrated alumina and process for the treatment of acid wastes | |
| JP4457575B2 (ja) | ゼオライト化改質土の製造方法及びゼオライト化改質土の製造システム並びにゼオライト化改質土 | |
| CN102464330A (zh) | 纳米Beta沸石的合成方法 | |
| NO154793B (no) | Fremgangsmaate til fjerning av urenheter fra natriumaluminatopploesninger. | |
| JPH03237009A (ja) | 高純度リン酸及びその製造方法 | |
| JP4391429B2 (ja) | 硝酸を含むフッ素含有排液の処理方法と再利用法ならびにそのリサイクル方法 | |
| JP4246648B2 (ja) | ゼオライト化改質土の製造方法 | |
| JP6142376B2 (ja) | 水質浄化材の製造方法 | |
| JP4118663B2 (ja) | 浄水場の発生土を原料とするゼオライト化発生土の製造方法及びゼオライト化発生土 | |
| FI80437B (fi) | Foerfarande foer framstaellning av ett alkalimetallhydroaluminat. | |
| KR20060013227A (ko) | 제올라이트의 제조방법 | |
| JP4464157B2 (ja) | 浄水発生土を原料としたゼオライト化改質土の製造方法 | |
| SU814861A1 (ru) | Способ получени реактивного хлористогоАММОНи | |
| CN108147383A (zh) | 湿法磷酸的脱氟方法 |
Legal Events
| Date | Code | Title | Description |
|---|---|---|---|
| A621 | Written request for application examination |
Free format text: JAPANESE INTERMEDIATE CODE: A621 Effective date: 20050930 |
|
| RD01 | Notification of change of attorney |
Free format text: JAPANESE INTERMEDIATE CODE: A7421 Effective date: 20060420 |
|
| A977 | Report on retrieval |
Free format text: JAPANESE INTERMEDIATE CODE: A971007 Effective date: 20081104 |
|
| A131 | Notification of reasons for refusal |
Free format text: JAPANESE INTERMEDIATE CODE: A131 Effective date: 20081118 |
|
| A521 | Written amendment |
Free format text: JAPANESE INTERMEDIATE CODE: A523 Effective date: 20090115 |
|
| TRDD | Decision of grant or rejection written | ||
| A01 | Written decision to grant a patent or to grant a registration (utility model) |
Free format text: JAPANESE INTERMEDIATE CODE: A01 Effective date: 20100119 |
|
| A01 | Written decision to grant a patent or to grant a registration (utility model) |
Free format text: JAPANESE INTERMEDIATE CODE: A01 |
|
| A61 | First payment of annual fees (during grant procedure) |
Free format text: JAPANESE INTERMEDIATE CODE: A61 Effective date: 20100201 |
|
| FPAY | Renewal fee payment (event date is renewal date of database) |
Free format text: PAYMENT UNTIL: 20130219 Year of fee payment: 3 |
|
| LAPS | Cancellation because of no payment of annual fees |
