JP4457537B2 - トナー及び電子写真装置 - Google Patents
トナー及び電子写真装置 Download PDFInfo
- Publication number
- JP4457537B2 JP4457537B2 JP2001234540A JP2001234540A JP4457537B2 JP 4457537 B2 JP4457537 B2 JP 4457537B2 JP 2001234540 A JP2001234540 A JP 2001234540A JP 2001234540 A JP2001234540 A JP 2001234540A JP 4457537 B2 JP4457537 B2 JP 4457537B2
- Authority
- JP
- Japan
- Prior art keywords
- toner
- transfer
- fine powder
- image
- inorganic fine
- Prior art date
- Legal status (The legal status is an assumption and is not a legal conclusion. Google has not performed a legal analysis and makes no representation as to the accuracy of the status listed.)
- Expired - Fee Related
Links
Images
Landscapes
- Developing Agents For Electrophotography (AREA)
Description
【発明の属する技術分野】
本発明はカラー複写機、カラープリンタやカラーファクシミリに用いられるトナーに関するものである。
【0002】
【従来の技術】
近年、電子写真装置はオフィスユースの目的からパーソナルユースへと移行しつつあり、小型化、高速化、高画質化、メンテフリーなどを実現する技術が求められている。そのため転写残の廃トナーをクリーニングせずに現像において廃トナーを回収するクリーナープロセスやカラー画像の高速出力を可能とするタンデムカラープロセスなどが良メンテナス性、低オゾン排気などの条件とともに要求されている。
【0003】
カラープリンタでは、像担持体(以下感光体と称す)を、帯電チャージャーによるコロナ放電で帯電させ、その後各色の潜像を光信号として感光体に照射し、静電潜像を形成し、第1色、例えばイエロートナーで現像し、潜像を顕像化する。その後感光体に、イエロートナーの帯電と逆極性に帯電された転写材を当接し、感光体上に形成されたイエロートナー像を転写する。感光体は転写時に残留したトナーをクリーニングしたのち除電され、第1のカラートナーの現像、転写を終える。その後マゼンタ、シアンなどのトナーに対してもイエロートナーと同様な操作を繰り返し、各色のトナー像を転写材上で重ね合わせてカラー像を形成する方法が取られている。そしてこれらの重畳したトナー像はトナーと逆極性に帯電した転写紙に転写された後、定着され複写が終了する。
【0004】
このカラー像形成方法としては、単一の感光体上に順次各色のトナー像を形成し、転写ドラムに巻き付けた転写材を回転させて繰り返しこの感光体に対向させ、そこで順次形成される各色のトナー像を重ねて転写していく転写ドラム方式と、複数の像形成部を並べて配置し、ベルトで搬送される転写材にそれぞれの像形成部を通過させて順次各色のトナー像を転写し、カラー像を重ね合わす連続重ね方式が一般的である。
【0005】
周知のように電子写真方法に使用される静電荷現像用のトナ−は一般的に結着樹脂である樹脂成分、顔料もしくは染料からなる着色成分および可塑剤、電荷制御剤、更に必要に応じて離型剤などの添加成分によって構成されている。樹脂成分として天然または合成樹脂が単独あるいは適時混合して使用される。
【0006】
そして、上記添加剤を適当な割合で予備混合し、熱溶融によって加熱混練し、気流式衝突板方式により微粉砕し、微粉分級されてトナー母体が完成する。その後このトナー母体に例えば疎水性シリカなどの外添剤を外添処理してトナーが完成する。一成分現像では、トナーのみで構成されるが、トナーと磁性粒子からなるキャリアと混合することによって二成分現像剤が得られる。
【0007】
トナーの定着性向上の目的で添加される離型剤としては、特開平2−266372号公報では脱遊離脂肪酸型カルナウバワックス及び/又はモンタン系エステルワックス、酸価10〜30の酸化ライスワックスの使用、また特開平9−281748号公報では、融点85〜100℃、天然ガス系フィッシャートロプッシュワックスの存在下で重合されたビニル系共重合体、特開平10−327196号公報では、多価アルコール成分とジカルボン酸及び3価以上の多価カルボン酸化合物とを縮重合し、離型剤の平均分散粒子径が0.1〜3μm、外添剤の粒子径が4〜200nmで1〜5重量部添加する旨が開示されている。特開平5−333584号公報では、パ−フルオロオクチルメタクリレ−トなどの有機フッ素化合物で変性されたポリプロピレンなどのフッ素変性ポリオレフイン系樹脂を含有する構成により定着性が向上する内容が開示されている。特開平5−188632号公報では、軟化点が80〜140℃、フツ素を含有する低分子量ポリオレフイン、低分子量オレフインとポリテトラフルオロエチレンとの溶融混合物を配合することにより定着時の非オフセット性が向上する内容が開示されており、定着性向上に効果がある内容が記載されている。
【0008】
また、特開昭59−148067号公報では、樹脂に低分子量と高分子量部分とを持ち、低分子量のピーク値とMw/Mnを規定した不飽和エチレン系重合体を使用し、軟化点を特定したポリオレフィンを含有するトナーが開示されている。これによって、定着性と耐オフセット性が確保されるとしている。また特開昭56−158340号公報では特定の低分子量重合体成分と高分子量重合体成分よりなる樹脂を主成分とするトナーが開示されている。低分子量成分により定着性を確保し、高分子量成分により耐オフセット性を確保する目的である。また特開昭58−223155号公報では1000〜1万と20万〜100万の分子量領域に極大値を持ち、Mw/Mnが10〜40の不飽和エチレン系重合体からなる樹脂と特定の軟化点を有するポリオレフィンを含有するトナーが開示されている。低分子量成分により定着性を確保し、高分子量成分とポリオレフィンにより耐オフセット性を確保する目的として使用されている。
【0009】
また、特開昭63−56659号公報、特開平2000−98661号公報にはポリエステル樹脂に関するトナーが開示され、良好な定着性が得られる旨開示されている。
【0010】
またトナーに帯電性を付与する電荷制御剤としては、特開平2−221967号公報、特開平7−84409号公報、特開平5−72812号公報、特開平5−165257号公報にベンジル酸誘導体の金属塩を用いたトナーが開示されている。また特開昭53−127726号公報、特開昭55−42752号公報、特開平7−2171097号公報等にはサリチル酸誘導体の金属塩を用いたトナーが開示されている。
【0011】
また特開平5−72802号公報には、高湿高温環境下でも安定した正帯電性磁性トナーの画質を得らために、脂肪酸、脂肪酸金属塩又は脂肪酸エステルにより表面処理された磁性体をポリエステル樹脂に添加する構成が開示されている。
【0012】
また特開平5−34984号公報には、水系中で脂肪酸化合物を加水分解しながら疎水化処理した無機微粉末と、水系中でシリコーンオイルで疎水化処理した無機微粉末を含有するトナーが開示され、温湿度環境に左右されにくく、安定した摩擦帯電性を有し、カブリの無い鮮明な画像特性と耐久性に優れたカラートナーを提供している。特開平10−161340号公報では、脂肪酸アルミニウムで表面処理して疎水化した超微粉末酸化チタンと、疎水性シリカを含有する磁性トナーが開示されており、感光体表面にフィルミングが発生することが無く長期にわたり安定した画質を得る磁性トナーを提供している。特開平5−541367号公報では、トナー粒子の表面に、芯体粒子に長鎖脂肪酸金属塩を被覆した微粒子をさせる構成が開示されている。これにより画像濃度を維持しながら転写性が良好で文字の中抜け現象の発生しない画像を提供している。
【0013】
【発明が解決しようとする課題】
定着プロセスにおいては、カラー画像ではカラートナーを溶融混色させ透光性を上げる必要がある。トナーの溶融不良が起こるとトナー画像表面又は内部に於いて光の散乱が生じて、トナー色素本来の色調が損なわれると共に重なった部分では下層まで光が入射せず、色再現性が低下する。従って、トナーには完全溶融特性を有し、色調を妨げないような透光性を有することが必要条件である。特にOHP用紙での光透過性がカラーでのプレゼンテーション機会の増加で、その必要はより大きくなっている。
【0014】
しかし光透過性発現のためシャープメルトの溶融特性を有する樹脂構成では、耐オフセット性が低下し、定着ローラ表面に付着してオフセットが生じるため定着ローラに多量のオイル等を塗布しなければならず、取扱や、機器の構成が複雑になる。そのためオイルを必要としないオイルレスのカラー定着構成が要求される。
【0015】
また、定着ローラやベルトの離型性、耐久性向上のためにフッ素系材料が使用される。しかし定着部に突入前に未定着のトナー像が静電気的に定着ローラと反発する像乱れが生じやすい。逆に定着ニップ部に突入する前に定着ローラにトナーが飛翔してハーフトーンのオフセットを生じる場合もある。特に離型オイルを塗布しない構成において帯電性の影響が出やすい。またオフセット性を向上させる目的で離型剤を添加したトナーでは、内添加剤の分散不良の状態により定着ローラに傷を生じさせやすくなり、画像の縦筋発生の要因となってしまう。
【0016】
高速機での定着強度を高めるために、結着樹脂の溶融粘度を下げたり、低分子量化した樹脂を使用すると、長期使用中に2成分現像であればトナーがキャリアに固着するいわゆるスペントが発生し易くなる。現像剤の耐ストレス性が低下する。また低速機に使用すると、定着時にヒートローラにトナーが付着するオフセットが発生しやすくなる。また長期保存中にトナー同士が融着するブロッキングが発生する。
【0017】
高分子量成分と低分子量成分をブレンドした、あるいは共重合させた樹脂構成に対して、低融点の離型剤、例えばポリエチレン、ポリプロピレンワックス等は、定着時ヒートローラからの離型性を良くして耐オフセット性を高める目的で添加される。しかしこれらの離型剤は結着樹脂中での分散性を向上させるのが困難で、分散不良による逆極性トナーが発生し易く、非画像部へのカブリが発生する。またベタ黒画像部後端部に刷毛でかきとられたような画像欠けが生じ、画質を悪化させる。またキャリア、感光体、現像スリーブをフィルミング汚染する課題がある。
【0018】
また従来のポリプロピレンやポリエチレン等の低融点離型剤と低軟化性の樹脂を使用してカラー画像の光沢性や透光性を高める構成のトナーを使用した場合、現像での現像ローラ上での縦筋の発生や、転写体のクリーニング不良やフィルミングの発生、転写体のクリーニングローラのスクレープ不良のために、分散性を向上させると、離型性の効果が低下し、非オフセット領域が狭くなってしまい、両立が難しい。
【0019】
また、シリコンやウレタン等の現像ローラにトナー層を規制する弾性体ブレードを接触使用し、現像ローラにトナーを供給するウレタン等の供給ローラを具備する接触式の一成分現像方式では、低融点の離型剤の添加したトナーでは帯電の立ち上り性が悪化したり、長期連続使用時に帯電維持性の悪化が生じる。また、前記した低融点の離型剤を添加したトナーの使用により、数千枚の使用で徐々に現像ローラ上に縦筋が発生し、白抜け、黒筋等の画像不良の原因となる。これは離型剤の分散不良による現像ローラへの傷、ブレードへの融着、供給ローラと現像ローラとの摩擦による凝集の発生が要因と考えられる。
【0020】
また、複数の感光体や現像部を有する像形成ステーションを並べて配置し、感光体に無端状の転写体を当接させて転写体に順次各色のトナーを連続して転写させる一次転写プロセスを実行して、転写体に多層の転写カラートナー画像を形成し、その後転写体に形成した多層のトナー像を、一括して紙やOHP等の転写媒体に一括転写させる二次転写プロセスが実行されるよう構成されたタンデム方式の転写システムにおいて、転写体上で4色のトナー画像を重ねるためトナー層が厚くなり、トナー層がない、あるいは、薄いところとの圧力差が生じやすい。このため、トナーの凝集効果によって画像の一部が転写されずに穴となる“中抜け”現象が発生し易い。さらに、残トナーのクリーニングを確実に行うために、中間転写体にトナーの離型効果の高い材料を用いると、中抜けは顕著に現れ、画像の品位を著しく低下させてしまう。さらに、文字やラインなどではエッジ現像となっており、トナーがより多くのり、加圧によるトナー同士の凝集を起こし、中抜けがより顕著になる。特に高湿高温の環境下でより顕著に現れる。さらには、オイルレス定着のためにシャープメルト樹脂にワックス等の離型剤を添加したトナーではその粒子凝集がより強くなり、中抜けが出やすくなる。ワックスでもポリエステル樹脂中での分散性を高めるために極性基を持たせたワックスを添加したトナーでは、一層発生しやすくなり、オイルレス定着と転写性の両立が極めて困難でなる。
【0021】
また、転写時に転写材に転写されずに残留するトナーをクリーニング除去することが必要であり、ゴムブレードや、バイアスを印可したローラ、ファーブラシ等が使用される。このとき低融点の離型剤の添加したトナーでは、中間転写体にフィルミングを生じてしまう。またクリーニングローラにより除去されたトナーをこのローラから金属プレートによりスクレープする際にその金属プレートに融着し、スクレープ不良が生じてしまう。特にカラー画像の光沢性、高透光性を発現させるため低溶融性のシャープメルト樹脂の使用により、よりフィルミング、スクレープ不良が生じ易くなる。
【0022】
さらには、機械の小型化高速化のため、像形成ステーション間の距離がより短く、かつ高速度で印写させることが要求される。その結果、例えばイエロートナーが第一の一次転写された後、次のマゼンタトナーが第2の一次転写されるまでの時間が極めて短く、転写体の帯電緩和及び転写されたトナーの電荷緩和が殆ど生じず、イエロートナーの上にマゼンタトナーを転写する際に、マゼンタトナーがイエロートナーの電荷作用により反発され、画像の乱れ、転写効率の低下がより厳しくなるという問題が生じる。
【0023】
さらに最後のトナーが一次転写された後、複写用紙に一括して二次転写される際、トナー相互の電荷による反発により画像乱れが生じる。
【0024】
さらに定着時にオイルを使用しないオイルレス定着を可能とするため、カラートナー中に離型剤を添加するトナー組成ではトナーの凝集性が強く、トナー像乱れ、転写不良の傾向がより顕著に生じる。
【0025】
また機器の小型化省資源からクリーニング工程のないクリーナレスプロセス実現は重要である。感光体上に形成した静電潜像を顕像化されたトナーを転写手段により転写材に転写した後、通常は感光体上に残留したトナーをクリーニングにより回収して廃トナーとなる。このときクリーニングプロセス工程を有さずに、次の帯電、露光、現像プロセスを行うのがクリーナーレスプロセスである。まず転写において高転写性実現が不可欠で、トナーの球形化処理や重合トナーによる転写性改良が行われている。しかし100%転写残トナーが零とは困難で、ある程度は感光体上に残り、次の現像プロセスでは、非画像部の残トナーが現像に戻されれば画像的に問題は生じない。よってこの非画像部に残留したトナーの現像での回収が重要なポイントである。特に定着時の非オフセット性を満たすために低融点離型剤を添加したトナーにおいては流動性が低下する傾向にあり、転写性が良くないのと、トナーの凝集性が強いためクリーナーレスプロセスでは現像での回収に難があり、非画像部に前の画像パターンのメモリが残ってしまう。
【0026】
このようにトナーは、上記した課題に対し、総合的に満足するものでなければならならず、特に定着ローラにオイルを使用しないオイルレス定着トナーにおいては定着部材に使用したオイル機能をトナー自身に持たせるため、トナー中にワックス等の離型剤を使用すると、帯電性の問題が生じ、連続使用時に帯電量の変動を招きトナー自体の寿命がもたない、また現像ブレードにトナーの融着、感光体へのフィルミング等の問題が生じ、オイルレストナーの定着性と現像性、耐久性との両立が非常に困難である。
【0027】
本発明は上記問題点に鑑み、均一な帯電分布を有し、画像の長期安定化を図れるトナー及び電子写真装置を提供することを目的とする。
【0028】
一成分現像法に使用しても現像ローラに縦筋が生じず、連続使用しても層規制ブレードや現像ローラにトナーの熱融着や凝集を生じず、帯電量の低下を抑え、また樹脂特性を劣化させることなく添加剤の分散性を向上させ安定した現像性を維持出来るトナー及び電子写真装置を提供することを目的とする。
【0029】
また、複数の感光体や現像部を有する像形成ステーションを並べて配置し、感光体に無端状の転写体を当接させて転写体に順次各色のトナーを連続して転写させる一次転写プロセスを実行して、転写体に多層の転写カラートナー画像を形成し、その後転写体に形成した多層のトナー像を、一括して紙やOHP等の転写媒体に一括転写させる二次転写プロセスが実行されるよう構成された転写システムを具備するタンデム方式の電子写真装置において、転写時の中抜けや飛び散りを防止し、高転写効率が得られ、転写体等へのフィルミングを回避し、転写体クリーニング手段への融着を防止できるトナー及び電子写真装置を提供することを目的とする。
【0030】
クリーナレスプロセスにおいても高転写効率が得られ、帯電量、流動性の低下がなく、現像での回収を容易にしメモリーが生じず、クリーナレスプロセスを可能とし、地球環境汚染防止と資源の再活用を可能にするトナー及び電子写真装置を提供することを目的とする。
【0031】
また、定着ローラにオイル塗布しないオイルレス定着で高透光性、光沢性を発現するフルカラー電子写真用トナー及び電子写真装置を提供することを目的とする。そして低溶融性のシャープメルト樹脂を使用したカラートナーにおいても現像ローラやドクターブレード、転写体等へのフィルミングを回避でき、また、高湿下での長期使用においても、感光体、転写体等フィルミングを防止できるトナー及び電子写真装置を提供することを目的とする。
【0032】
また、ベルトを使用した定着プロセスにおいても、低定着圧力、長定着ニップ構成の曲率の大きいローラを使用したベルト定着においても、紙のベルトへの非巻付き性を良好なものとし、さらにベルトと紙が分離する時に生じる画像先端部の欠けを防止することができ、さらに現像、転写性とも両立を図れるトナー及び電子写真装置を提供することを目的とする。
【0033】
【課題を解決するための手段】
上記課題に鑑み本発明に係る構成は、酸価1〜70mgKOH/gである結着樹脂と、少なくとも炭素数3〜50の長鎖アルキルアルコールと不飽和多価カルボン酸又はその無水物及びオレフィン系ワックスとの反応により得られる酸価5〜80mgKOH/g、融点90〜120℃、25℃における針入度が4以下であるワックスとを含む着色樹脂粒子と、脂肪酸金属塩により処理された無機微粉末を含むトナーである。
【0034】
また、本発明に係る構成は、酸価1〜70mgKOH/gである結着樹脂と、少なくとも炭素数3〜50の長鎖アルキルアルコールと不飽和多価カルボン酸又はその無水物及びオレフィン系ワックスとの反応により得られる酸価5〜80mgKOH/g、融点90〜120℃、25℃における針入度が4以下であるワックスとを含む着色樹脂粒子と、少なくともカツプリング剤および/あるいはシリコ−ンオイルにより処理され、かつ脂肪酸金属塩により処理された無機微粉末を含むトナーである。
【0035】
また、本発明に係る構成は、酸価1〜70mgKOH/gである結着樹脂と、少なくとも炭素数3〜50の長鎖アルキルアルコールと不飽和多価カルボン酸又はその無水物及びオレフィン系ワックスとの反応により得られる酸価5〜80mgKOH/g、融点90〜120℃、25℃における針入度が4以下であるワックスとを含む着色樹脂粒子と、少なくともアミノシラン及び/またはシランカツプリング剤により、かつ脂肪酸金属塩により処理された無機微粉末を含むトナーである。
【0036】
また、本発明に係る構成は、酸価1〜70mgKOH/gである結着樹脂と、少なくとも炭素数3〜50の長鎖アルキルアルコールと不飽和多価カルボン酸又はその無水物及びオレフィン系ワックスとの反応により得られる酸価5〜80mgKOH/g、融点90〜120℃、25℃における針入度が4以下であるワックスとを含む着色樹脂粒子と、外添剤とから構成されるトナーであって、前記外添剤が、正帯電性を有する無機微粉末と、脂肪酸金属塩により処理された無機微粉末を含むトナーである。
【0037】
また、本発明に係る構成は、酸価1〜70mgKOH/gである結着樹脂と、少なくとも炭素数3〜50の長鎖アルキルアルコールと不飽和多価カルボン酸又はその無水物及びオレフィン系ワックスとの反応により得られる酸価5〜80mgKOH/g、融点90〜120℃、25℃における針入度が4以下であるワックスとを含む着色樹脂粒子と、外添剤とから構成されるトナーであって、前記外添剤が、正帯電性を有する無機微粉末Aと、脂肪酸金属塩により処理された無機微粉末Bを含み、無機微粉末Aの平均粒径が8〜40nm、無機微粉末Bの平均粒径が16〜100nmであり、かつ無機微粉末Aの平均粒径が無機微粉末Bの平均粒径よりも小さいトナーである。
【0039】
また、本発明に係る構成は、少なくとも像担持体と前記像担持体に静電潜像を形成する帯電手段とトナー担持体を含むトナー像形成ステーションを複数個有し、像担持体上に形成した静電潜像を、酸価1〜70mgKOH/gである結着樹脂と、少なくとも炭素数3〜50の長鎖アルキルアルコールと不飽和多価カルボン酸又はその無水物及びオレフィン系ワックスとの反応により得られる酸価5〜80mgKOH/g、融点90〜120℃、25℃における針入度が4以下であるワックスとを含むトナー母体100重量部に対して脂肪酸金属塩で処理された無機微粉末を0.8〜3.5重量部添加したトナーにより顕像化し、前記像担持体に無端状の転写体を当接させて前記転写体に前記顕像化したトナーを転写させる一次転写プロセスを順次連続して実行して、前記転写体に多層のトナー像を形成し、その後前記転写体に形成した前記多層のトナー像を、一括して転写媒体(紙やOHP等)に転写させる二次転写プロセスが実行されるよう構成された転写システムを具備する電子写真装置である。
【0040】
また、本発明に係る構成は、少なくとも像担持体と前記像担持体に静電潜像を形成する帯電手段とトナー担持体を含むトナー像形成ステーションを複数個有し、前記像担持体上に形成した静電潜像を、酸価1〜70mgKOH/gである結着樹脂と、少なくとも炭素数3〜50の長鎖アルキルアルコールと不飽和多価カルボン酸又はその無水物及びオレフィン系ワックスとの反応により得られる酸価5〜80mgKOH/g、融点90〜120℃、25℃における針入度が4以下であるワックスとを含むトナー母体100重量部に対して、脂肪酸金属塩で処理された無機微粉末を0.8〜3.5重量部添加したトナーにより顕像化し、前記顕像化したトナー像を、順次連続して転写媒体(紙やOHP等)に転写させる転写プロセスが実行されるよう構成された転写システムを具備する電子写真装置である。
【0041】
【発明の実施の形態】
デジタル高画質化、高彩色再現性カラー化、定着ローラにオフセット防止用のオイルを使用しないで高透光性と耐オフセット性の両立を図ることができ、さらには現像一成分におけるローラ傷やブレード融着による縦筋の発生や、転写体のクリーニング不良、クリーニングローラのスクレープ不良の防止との両立実現を本形態のトナーにより可能とするものである。
【0042】
本形態のトナーとしては、シリカ、酸化チタン、アルミナ、またはチタン酸金属塩又はジルコン酸金属塩微粉末の表面に脂肪酸及び/又は脂肪酸金属塩を表面処理したものが好適に用いられる。チタン酸金属塩としては、SrTiO3、BaTiO3、MgTiO3、Al2(TiO3)3、CaTiO3、PbTiO3、FeTiO3、ジルコン酸金属塩としては、SrZrO3、BaZrO3、MgZrO3、Al2(ZrO3)、CaZrO3、PbZrO3、またシリコン酸塩としてはSrSiO3、BaSiO3、MnSiO3、CaSiO3、MgSiO3が好適に使用される。
【0043】
これらの無機微粉末を表面処理する脂肪酸、脂肪酸金属塩としては、カプリル酸、カプリン酸、ウンデシル酸、ラウリル酸、ミスチリン酸、パリミチン酸、ステアリン酸、ベヘン酸、モンタン酸、ラクセル酸、オレイン酸、エルカ酸、ソルビン酸、リノール酸等が挙げられる。中でも炭素数15〜20の脂肪酸が好ましい。
【0044】
また脂肪酸金属塩を構成する金属としては、アルミニウム、亜鉛、カルシウム、マグネシウム、リチウム、ナトリウム、鉛、バリウムが挙げられ、中でもアルミニウム、亜鉛、ナトリウムが好ましい。特に好ましくはジステアリン酸アルミニウム(Al(OH)(C17H35COO)2)、またはモノステアリン酸アルミニウム(Al(OH)2(C17H35COO))、等のジ脂肪酸アルミニウム、モノ脂肪酸アルミニウムが好ましい。OH基を有することが過帯電を防止し、転写不良を抑えることができる。また処理時にシリカ等の無機微粉末との処理性が向上するものと考えられる。
【0045】
表面処理は前記した脂肪酸を芳香族系の溶剤に溶解し、それとシリカ、酸化チタン、アルミナ等の微粉末と湿式混合または噴霧して攪拌処理し、微粉末の表面に脂肪酸を付着又は反応させて、表面処理を施し、その後に乾燥、脱溶剤処理を行うことにより生成される。このときの処理量は無機微粉末母体100重量部に対して0.1〜10重量部が好ましい。0.1より少ないと、処理剤の機能が十分に発揮されない。10よりも多いと浮遊脂肪酸が多くなり、現像性や耐久性に悪影響を与える。
【0046】
またより好ましい形態としては、処理される無機微粉末の表面をカツプリング剤及び/又はシリコ−ンオイルにて処理を施した後に、脂肪酸及び/又は脂肪酸金属塩により処理を施すことが好ましい。単に親水性シリカの脂肪酸を処理する場合よりも均一な処理が可能となり、トナーの高帯電化を図れることと、トナーに添加したときの流動性が向上する効果があるためである。またカツプリング剤及び/又はシリコ−ンオイルとともに、脂肪酸及び/又は脂肪酸金属塩を処理する構成でもかまわず、上記効果を奏する。
【0047】
さらには脂肪酸及び/又は脂肪酸金属塩により処理された無機微粉末とともに正帯電性を有する無機微粉末とをトナーに添加することにより、トナーの長期連続使用時の帯電の安定化、特に一成分現像用トナーとして使用されるときに大きい効果を生ずる。またタンデム方式の電子写真方式において、転写での帯電反発による画像乱れ、転写不良を抑えることができる。さらには、正帯電性を有する無機微粉末Aと、脂肪酸及び/又は脂肪酸金属塩により処理された無機微粉末Bを含み、無機微粉末Aの平均粒径が8〜40nm、無機微粉末Bの平均粒径が16〜100nmであり、かつ無機微粉末Aの平均粒径が無機微粉末Bの平均粒径よりも小さい構成とすることがより好ましい。粒径の大きい無機微粉末に脂肪酸及び/又は脂肪酸金属塩を処理することで、転写体と感光体間でのトナーにかかるストレスからの開放効果が得られる、転写性に対して効果が得られる。粒径の小さい正帯電性無機微粉末Aを使用することにより、無機微粉末Bよりもトナー表面に付着しやすく、一成分現像での過帯電を抑制でき、現像での帯電の安定化、転写不良対策により効果が大きくなる。
【0048】
無機微粉末Aの平均粒径が8nmよりも小さいと、無機微粉末の凝集が大きくなり生産性が低下する。無機微粉末Aの平均粒径が40nmよりも大きくなると、比表面積が大きくなり、耐久時での帯電安定化の効果が低下する。
【0049】
無機微粉末Bの平均粒径が16nmよりも小さくなると、無機微粉末の凝集が強くなり、転写不良、画像乱れが生じやすくなる。トナーの帯電性を低下させ無機微粉末Bの平均粒径が100nmより大きくなるとトナー母体からの遊離が多くなり、カブリ、感光体へのフィルミングが起こりやすくなる。
【0050】
正帯電性のシリカとしては、アミノシラン、アミノ変性シリコーンオイル、アミノアンモニウム処理されたシリカ、酸化チタン、アルミナ等が好ましい。このときトナー母体は負帯電性を示しており、この構成はトナー母体と逆帯電性を有する無機微粉末を添加する構成となることが好ましい。トナー母体が正帯電性を示すときは負帯電性の無機微粉末を添加する構成となることが好ましい。脂肪酸処理された無機微粉末は帯電が高くはなく、弱負帯電性を有する。
【0051】
無機微粉末のメタノール滴定による疎水化度が50%以上であることが好ましい。50%より小さいと帯電性の低下、耐久時の感光体へのフィルミングを生じる。
【0052】
疎水化度の測定は、250mlのビーカー中に装入した蒸留水50mlに試験すべき生成物0.2gを秤取する。先端に、液体中に浸威しているビュレットからメタノールをシリカの総量がぬれるまで滴下する。その際不断に電磁攪拌機でゆっくりと攪拌する。完全に濡らすために必須なメタノール量a(ml)から次式により疎水化度が算出される。
【0053】
疎水化度=(a/(50+a))×100(%)
また処理された無機微粉末の水分吸着量が0.9wt%以下であることが好ましい。好ましくは0.5wt%以下、より好ましくは0.1wt%以下、さらに好ましくは0.05wt%以下である。0.9wt%より多いと、帯電性の低下、耐久時の感光体へのフィルミングを生じる。水分吸着量の測定は、水吸着装置については、連続蒸気吸着装置(BELSORP18:日本ベル株式会社)にて測定した。
【0054】
また、脂肪酸及び/又は脂肪酸金属塩により処理された無機微粉末の500℃での強熱減量が1.5〜11.5%であることが好ましいであることが好ましい。1.5%より小さいと、転写性改良の効果が得にくい。11.5%より大きいと、定着性を阻害する。処理に手間がかかり生産コストが増大する。この強熱減量は、500℃の電気炉中に2時間放置し、シリカの減量分を処理前のシリカの重量比に対する割合を取っている。
【0055】
また無機微粉末の平均粒径は35〜100nmであるシリカ又は酸化チタン微粉末であることが好ましい。35nmよりも小さいと、シリカの凝集が強く、転写性が改良されない。現像でのかぶりが増大する。100nmよりも大きいとトナーからの遊離シリカが多くなり、感光体へのダメージの原因となる。
【0056】
チタン酸金属塩又はジルコン酸金属塩微粉末は、平均粒径が0.05μm〜5μmであることが好ましい。0.05μmよりも小さいと、凝集が強く、均一な外添混合処理ができない。5μmよりも大きいとトナーからの浮遊粒子が多くなり、現像劣化の要因となる。
【0057】
また定着においては、これまでカラー定着性向上のため、高分子量成分の少ない分子量分布の狭いシャープメルトな低軟化性の結着樹脂を使用していた。この構成では透光性を確保できるが、オフセットが生じるため定着ローラにオイルを塗布する必要があった。またオイルレス定着を実現するため、シャープメルトな低軟化性の結着樹脂に離型剤を添加する構成では、離型剤や、顔料、電荷制御剤などの分散が困難で、カブリや帯電不良による転写性の低下、クリーニング性の悪化、感光体や現像ローラへのフィルミング、帯電立上り性の劣化、繰返し使用時における帯電変動による画像濃度の変動等の不都合が発生した。従来の離型性ではポリエステル樹脂中での分散が困難なこと、またカブリ等の画質を低下させること、またカラートナーでは色濁りが生じ、鮮明な透光性が得られない。またオフセット防止のために極性基を有するワックスを添加すると、樹脂中での分散性は良好となるが、極性を有するため、トナー粒子相互の凝集が強く、これがカラー画像として多層のトナーを重ねあわせる転写の際に中抜け等の転写不良を生じてしまう。従ってカラートナーでのオイルレス定着と転写性の両立が困難である。
【0058】
本形態のトナーにより、これらの種々の電子写真特性を両立させることが可能となる。
【0059】
定着助剤であるエステル結合と極性基を有するワックスの添加により定着特性、特にオイルレス定着における非オフセット性と高光沢性、高透光性を発現でき、高温保存性を低下させることがない。また定着ローラまたはベルトの表層ににフッ素系部材を使用しても、ハーフトーン画像のオフセットを防止できる。そして前記した脂肪酸を表面に処理された無機微粉末を外添剤としてトナー表面に添加することにより、連続使用時の帯電安定性が得られ、定着性と現像帯電安定性との両立が可能となる。またカラー画像として多層のトナーを重ねあわせる転写の際にもトナー粒子相互の凝集を防止でき転写時の中抜け等の転写不良を抑制できる。
【0060】
さらには定着助剤を結着樹脂中に添加する際の分散の状態向上により、離型性、透光性等の定着性、帯電安定化等の現像性をより向上することができる。離型剤の添加により他の内添加剤の分散性を低下させる場合が考えられるが、本形態の添加剤の構成により分散性を低下させること無く、定着性と現像性の両立を図ることができる。
【0061】
またカラー画像形成が、感光体と帯電手段とトナー担持体を含むトナー像形成ステーションを複数個有し、像担持体上に形成した静電潜像を顕像化したトナー像を、像担持体に無端状の転写体を当接させて転写体に転写させる一次転写プロセスが順次連続して実行して、転写体に多層の転写トナー画像を形成し、その後転写体に形成した多層のトナー像を、一括して紙やOHP等の転写媒体に一括転写させる二次転写プロセスが実行されるよう構成された転写プロセスにおいて、本形態のトナーが好適に使用できる。
【0062】
また、感光体と帯電手段とトナー担持体を含むトナー像形成ステーションを複数個有し、像担持体上に形成した静電潜像を顕像化したトナー像を、順次連続して紙やOHP等の転写媒体に転写させる転写プロセスが実行されるよう構成された転写システムにおいても、本形態のトナーが好適に使用できる。
【0063】
このタンデム構成において、第1の一次転写位置から第2の一次転写位置までの距離をd1(mm)、感光体の周速度をv(mm/s)とした場合、d1/v≦0.65(sec)となる転写位置構成においては、例えば1色目のイエロートナーが一次転写された後、次の2色目のマゼンタトナーが一次転写されるまでの時間が極めて短く、転写体の帯電減衰及び転写されたトナーの電荷緩和が殆ど生じず、イエロートナーの上にマゼンタトナーを転写する際に、マゼンタトナーがイエロートナーの電荷作用により反発され、転写効率の低下、転写時の文字の中抜けという問題が生じる。さらに第3色目のシアントナーの一次転写の時、前のイエロー、マゼンタトナーの上に転写される際にシアントナーの飛び散り、転写不良、転写中抜けがより顕著に発生する。
【0064】
さらに最後のブラックトナーの第4色目の一次転写位置から二次転写位置までの距離をd2(mm)、感光体の周速度をv(mm/s)とした場合、d2/v≧0.75(sec)となる転写位置構成では、複写用紙に一括して二次転写される際、トナー相互の電荷による反発により画像乱れが生じる。
【0065】
さらにこの転写の構成にオイルレス定着実現のためエステルと極性を有するワックスを添加したトナーを使用した場合においては、画像乱れや転写性が悪化しやすくなる傾向にある。
【0066】
そこで、前記した脂肪酸を表面処理した無機微粉末をトナーに添加することにより、一次転写でのトナー多層転写時にトナーの電荷作用による反発が緩和され、転写効率の低下、転写時の文字の中抜け、画像乱れを抑えることができる。
【0067】
さらにはカツプリング剤及び/又はシリコ−ンオイルにより処理されかつ脂肪酸及び/または脂肪酸金属塩により処理された無機微粉末を添加することにより環境変動の転写性への影響が抑えられ、画像の安定化が図られる。またアミノシラン及び/またはシランカツプリング剤により、かつ脂肪酸及び/または脂肪酸金属塩により処理された無機微粉末を添加する構成により、後述する一成分現像における長期使用時の帯電安定化に効果が現れる。
【0068】
負帯電の非磁性トナーの母体に、外添剤にアミノシラン系のプラス帯電性を付与する構成とすることにより現像時の帯電の安定化が図られる。トナーの帯電立ち上り性が良化して、トナーが多く消費された後の地カブリを低減できる。
【0069】
さらには外添剤にトナー母体と逆帯電極性を有する無機微粉末を添加することにより、一次転写でのトナー多層転写時にトナーの電荷作用による反発が緩和され、転写効率の低下、転写時の文字の中抜け、画像乱れを抑えることができる。またエステルと極性を有するワックスを添加したトナーにこの外添処理構成を採用することにより、一成分現像における長期使用時の帯電安定化、転写効率の低下、転写時の文字の中抜け、画像乱れを抑えることが可能となる。
【0070】
プラス帯電性であればアミノ変性、エポキシ変性シリコーンオイルも好適に使用できる。
【0071】
シリコーンオイルとしては、ジメチルポリシロキサン、メチルフェニルポリシロキサンタイプのものが好適に使用できる。更に好ましくはこのときのシリコーンオイルで処理されるシリカにおいては、処理後に残留するジメチルシロキサンの骨格を有する成分の溶剤で抽出される残留量が無機微粉末100重量部あたり、1重量部以下である無機微粉末が好ましい。1重量部よりも多いと、トナーの帯電性の低下を招き、耐久時に感光体へのフィルミングを生じる。また脂肪酸を処理する際に表面処理が不均一となり、帯電量分布のブロード化を招く。
【0072】
残留ポリジメチルシロキサン量は下記の条件で測定できる。
【0073】
残留成分量の測定方法について示す。無機微粉末を精秤する(1g〜2g)。そして、ポリジメチルシロキサンを溶かしやすい溶剤、例えば、クロロホルムを添加し、遠心分離する。このとき沈澱しにくいため、高回転で行う(例えば20000回転)。そして上済みを採取し、これを数回繰り返す。クロロホルムを蒸発乾燥する(室温にて送風乾燥)。重クロロホルム(CDCL3を1ml)を添加し、1H−NMRにて測定し、ポリジメチルシロキサンの同定を行う。ポリジメチルシロキサンのSi−CH3のHは0.5ppm付近にケミカルシフトを持っている。これはSiに直結したメチル基のHに非常に特徴的なピークであり、特徴的なピーク位置であり、他の化学構造を持つ有機物とは間違いなく区別できる。定量する場合、前記定性の手順中の、重クロロホルム添加の際に内部標準1μlを添加(内部標準とは、NMRピークが単純で、試料のピークとできるだけ重ならないもので、蒸気圧が高く、添加後の濃度が変化しにくいもので、例えば、DMFがある)する。
【0074】
1H−NMR測定後、積分値によって定量する。このとき内部標準との相対比により、重クロロホルム1ml中のポリジメチルシロキサンのモル比を算出し、重量換算する。はじめに採取したシリカ粉末の量から、ポリジメチルシロキサンの含有量を計算する。
【0075】
上記の方法により、10ppm程度までのポリジメチルシロキサンを定量することが可能である。他に同定法としては、13C−NMR、29Si−NMRなどがある。
【0076】
また、シランカップリング剤としては、ビニルトリメトキシシラン、ビニルトリエトシキシラン、γ−メタクリルオキシプロピルトリメトキシシラン、ビニルトリアセトキシシラン、メチルトリメトキシシラン、メチルトリエトキシシラン、イソブチルトリメトキシシラン、ジメチルジメトキシシラン、ジメチルジエトキシシラン、トリメチルメトキシシラン、フェニルトリメトキシシラン、n−ヘキサデシルトリメトキシシラン等を挙げることができる。
【0077】
本形態のトナーに添加するワックスとしては、GPCにおける分子量分布において、重量平均分子量が1000〜6000、Z平均分子量が1500〜9000、重量平均分子量と数平均分子量の比(重量平均分子量/数平均分子量)が1.1〜3.8、Z平均分子量と数平均分子量の比(Z平均分子量/数平均分子量)が1.5〜6.5、1×103〜3×104の領域に少なくとも一つの分子量極大ピークを有し、酸価5〜80mgKOH/g、融点90〜120℃、25℃における針入度が4以下である炭素数3〜50の長鎖アルキルアルコールと不飽和多価カルボン酸又はその無水物及び炭化水素系ワックスとの反応により得られるワックス、また長鎖アルキルアミンと、不飽和多価カルボン酸又はその無水物及び炭化水素系ワックスとの反応により得られるワックス、さらには長鎖フルオロアルキルアルコールと、不飽和多価カルボン酸又はその無水物及び炭化水素系ワックスとの反応により得られるワックスで、エステル結合以外にアミド結合を有するワックスも好ましい形態である。薄紙に3層のトナーが形成された画像において、定着ローラやベルトとの紙の分離性向上に特に効果がある。
【0078】
ワックスの長鎖アルキルの炭素数が3より小さいと離型作用が弱くなり分離性、高温耐オフセット性が低下する。長鎖アルキルの炭素数が50より大きいと結着樹脂中での分散性が悪化する。酸価が5mgKOH/gより小さいとトナーの長期使用時の帯電量低下を招く。酸価が80mgKOH/gより大きいと耐湿性が低下し、高湿下でのかぶりが増大する。融点が90℃より小さいとトナーの保存性が低下する。融点が120℃より大きいと離型作用が弱くなり非オフセット温度幅が狭くなる。25℃における針入度が4より大きいと強靭性が低下し、長期使用中に感光体、転写体にフィルミングを生じる。
【0079】
重量平均分子量が1000よりも小さく、Z平均分子量が1500より小さく、重量平均分子量/数平均分子量が1.1よりも小さく、Z平均分子量/数平均分子量が1.5よりも小さく、分子量極大ピークが1×103よりも小さい範囲に位置していると、トナーの保存性が低下、感光体、転写体にフィルミング、現像ローラ上での縦筋、クリーニングローラでのスクレープ不良等の発生を生じてしまう。
【0080】
重量平均分子量が6000よりも大きく、Z平均分子量が9000よりも大きく、重量平均分子量/数平均分子量が3.8よりも大きく、Z平均分子量/数平均分子量が6.5よりも大きく、分子量極大ピークが3×104の領域よりも大きい範囲に位置していると、離型作用が弱くなり定着オフセット性が低下する。
【0081】
より好ましくは重量平均分子量が1000〜5000、Z平均分子量が1700〜8000、重量平均分子量と数平均分子量の比(重量平均分子量/数平均分子量)が1.1〜2.8、Z平均分子量と数平均分子量の比(Z平均分子量/数平均分子量)が1.5〜4.5、1×103〜1×104の領域に少なくとも一つの分子量極大ピークを有することが好ましく、更に好ましくは重量平均分子量が1000〜2500、Z平均分子量が1900〜3000、重量平均分子量と数平均分子量の比(重量平均分子量/数平均分子量)が1.2〜1.8、Z平均分子量と数平均分子量の比(Z平均分子量/数平均分子量)が1.7〜2.5、1×103〜3×103の領域に少なくとも一つの分子量極大ピークを有することである。
【0082】
アルコールとしてはオクタノール、ドデカノール、ステアリルアルコール、ノナコサノール、ペンタデカノール等の長鎖のアルキル鎖を持つものが使用できる。また、2価アルコールとしては、エチレングリコール、1,2−プロピレングリコール、1,3−プロピレングリコール、1,3−ブチレングリコール、1,4−ブチレングリコール、1,6−ヘキサンジオール、ネオペンチルグリコール、ジエチレングリコール、ジプロピレングリコールなどのジオール、グレセリン、トリメチロールプロパン、トリメチロールエタンなどのトリオール、及びそれらの混合物を使用することが出来る。
【0083】
またアミン類としてN−メチルヘキシルアミン、ノニルアミン、ステアリルアミン、ノナデシルアミン等が好適に使用できる。フルオロアルキルアルコールとしては、1−メトキシー(パーフルオロー2−メチルー1−プロペン)、ヘキサフルオロアセトン、3−パーフルオロオクチルー1,2−エポキシプロパン等が好適に使用できる。
【0084】
不飽和多価カルボン酸又はその無水物としては、マレイン酸、無水マレイン酸、イタコン酸、無水イタコン酸、シトラコン酸、無水シトラコン酸等が一種または二種以上使用できる。なかでもマレイン酸、無水マレイン酸がより好ましい。合成炭化水素系ワックスとしては、ポリエチレン、ポリプロピレン、フィッシャートロプッシュワックス、α―オレフィン等が好適に使用できる。
【0085】
不飽和多価カルボン酸またはその無水物をアルコールまたはアミンを用いて重合させ、次にこれをジクルミパーオキサイドやターシャリーブチルパーオキシイソプロピルモノカルボネート等の存在下で合成炭化水素系ワックスに付加させることにより得ることができる。
【0086】
添加量は結着樹脂100重量部に対し、1〜12重量部が好ましい。1より小さいと離型効果が出にくい。12より大きいとトナーの流動性が低下するばかりでなくそれ以上添加しても飽和して効果が向上しない。
【0087】
また、ワックスの結着樹脂中の分散平均粒子径が0.1〜1.5μmで、分散粒子径分布が0.1μm未満の粒子が30個数%以下、0.1〜2.0μmの粒子が65個数%以上、2.0μmを越える粒子が5個数%以下であることが好ましい。TEMによるトナーの断面写真から粒径とその個数を求めた。
【0088】
分散平均粒子径が0.1μmより小さく、0.1μm未満の粒子が30個数%より多いとき、離型剤としての離型効果が小さく、定着能力が発揮できない。分散平均粒子径が1.5μmより大きく、2.0μmを越える粒子が5個数%よりも多いとき、樹脂中でのワックスの分散性が悪化し、トナーの電荷作用による反発が緩和されにくくなる。またカブリやトナー飛散の増大を招く。
【0089】
本形態ではトナーの電荷制御の目的、及びオイルレス定着をより強固なものとするために、結着樹脂に前記した定着助剤と電荷制御剤を併用配合する。好ましい材料としては(化1)に示すサリチル酸誘導体の金属塩が用いられる。
【0090】
【化1】
【0091】
また、本形態ではトナーの電荷制御の目的、及びオイルレス定着をより強固なものとするために、結着樹脂に上記した定着助剤と電荷制御剤を併用配合する。好ましい材料としては(化2)に示すベンジル酸誘導体の金属塩が用いられる。
【0092】
【化2】
【0093】
この構成により、オイルレス定着において広範囲の非オフセット温度域を確保できると共に、定着時での帯電作用による画像乱れを防止できる。これは定着助剤のもつ酸価を有する官能基と金属塩の帯電極性の効果と思われる。また連続使用時での帯電量の低下を防止できる。現像でのブレード融着を抑えられる。
【0094】
添加量は結着樹脂100重量部に対し、0.5〜5重量部が好ましい。より好ましくは1〜4重量部、さらに好ましくは3〜4重量部である。0.5重量部よりも少ないと、帯電作用効果が無くなる。5重量部以上であるとカラー画像での色濁りが目立ってくる。
【0095】
また、本形態のトナーでは結着樹脂として酸価、分子量を規定したポリエステル樹脂を使用し、前記したワックス、表面処理が施された無機微粉末との併用により、混練時でのワックス、電荷制御剤の分散をより良好なものとすることができ、帯電性の安定化が図られる。また転写間の距離や時間が短いタンデム転写プロセスにおいても、転写中抜け、転写不良を抑制できる効果がある。
【0096】
またトナー凝集も防止することが可能となり、長期間連続して使用しても感光体、転写体、現像ローラへのフィルミングを防止することが可能となる。定着での高透光性、高色再現性を確保でき、かつ定着オイルを必要とせずとも、より高温度域にまでオフセット幅を広げられる構成を創出した。現像においては帯電性を上げるためにより強いストレスがかけられ、また転写体のクリーニングにおいてもクリーニング性を上げるため強い負荷がかけられる。
【0097】
本形態の結着樹脂としてGPCにおける分子量分布で、2×103〜3×104の領域に少なくとも一つの分子量極大ピークを有し、かつ、高分子量領域に存在する成分として3×104以上の分子量成分を結着樹脂全体に対し5%以上有し、重量平均分子量が1万〜30万、Z平均分子量が2万〜50万、重量平均分子量と数平均分子量の比(重量平均分子量/数平均分子量)が3〜100、Z平均分子量と数平均分子量の比(Z平均分子量/数平均分子量)が10〜2000、高化式フローテスタによる1/2法による溶融温度(以下軟化点)が80〜150℃、流出開始温度は80〜120℃、樹脂のガラス転移点が45〜68℃の範囲であるポリエステル樹脂を成分とすることが好ましい。
【0098】
好ましくは重量平均分子量が1万〜12万、Z平均分子量が2万〜30万、重量平均分子量/数平均分子量が3〜50、Z平均分子量/数平均分子量が10〜1000、軟化点が90〜140℃、流出開始温度は85〜115℃、ガラス転移点が52〜65℃の範囲であるポリエステル樹脂を成分とすることが好ましい。より好ましくは重量平均分子量が1万〜4万、Z平均分子量が2万〜10万、重量平均分子量/数平均分子量が3〜20、Z平均分子量/数平均分子量が10〜100、軟化点が105〜135℃、流出開始温度は90〜120℃、ガラス転移点が58〜65℃の範囲であるポリエステル樹脂を成分とすることが好ましい。
【0099】
また高分子量領域に存在する成分として、好ましくは1×105以上の分子量成分を結着樹脂全体に対し3%以上有することが好ましい。さらには高分子量領域に存在する成分として、3×105以上の分子量成分を結着樹脂全体に対し0.5%以上有することが好ましい。
【0100】
好ましくは高分子量領域に存在する成分として、8×104〜1×107の分子量成分を結着樹脂全体に対し3%以上有し、かつ1×107以上の成分は含有しない構成が好ましい。
【0101】
更に好ましくは、高分子量領域に存在する成分として、3×105〜9×106の高分子量成分を結着樹脂全体に対し1%以上有し、かつ9×106以上の成分は含有しない構成である。
【0102】
更に好ましくは、高分子量領域に存在する成分として、7×105〜6×106の高分子量成分を結着樹脂全体に対し1%以上有し、かつ6×106以上の成分は含有しない構成である。
【0103】
高分子量成分が多すぎると、あるいは巨大すぎると混練時に巨大分子量成分が残留し、透光性を阻害する。また樹脂自体の製造効率が低下する。現像ローラ供給ローラに不要な傷を付け画像に縦筋を生じさせる。また定着助剤の分散性が低下する。
【0104】
結着樹脂の重量平均分子量が1万より小さく、Z平均分子量が2万より小さく、重量平均分子量/数平均分子量が3より小さく、Z平均分子量/数平均分子量が10より小さく、軟化点が80℃より小さく、流出開始温度が80℃より小さく、ガラス転移点が45℃より小さくとなると、混練時の分散性が低下し、カブリの増加や耐久性の悪化を招く。また混練時の混練ストレスが充分にかからず、分子量を適正値に維持できなくなる。樹脂中でのワックスや電荷制御剤の分散性が悪化し、トナーの電荷作用による反発が緩和されにくくなる。またカブリやトナー飛散の増大を招く。また耐オフセット性、高温保存性の悪化、さらには転写体でのクリーニング不良、感光体へのフィルミングが発生する。
【0105】
結着樹脂の重量平均分子量が30万より大きく、Z平均分子量が50万より大きく、重量平均分子量/数平均分子量が100より大きく、Z平均分子量/数平均分子量が2000より大きく、軟化点が150℃より大きく、流出開始温度が120℃より大きく、ガラス転移点が68℃より大きくとなると、機械の処理中の負荷が過大となり生産性の極端な低下や、カラー画像での透光性の低下や定着強度の低下につながる。
【0106】
また、溶融混練、粉砕分級処理された後のトナーのGPCにおける分子量分布が、2×103〜3×104の領域に少なくとも一つの分子量極大ピークを有し、5×104〜1×106の領域に少なくとも一つの分子量極大ピーク又はショルダーを有する構成とすることである。
【0107】
トナーの低分子量側に存在する分子量極大ピークが、好ましくは3×103〜2×104の領域に少なくとも一つ有し、さらに好ましくは4×103〜2×104の領域に少なくとも一つ有する構成である。
【0108】
トナーの高分子量側に存在する分子量極大ピーク又はショルダーの位置が、好ましくは、6×104〜7×105の領域に少なくとも一つ有し、さらに好ましくは8×104〜5×105の領域に分子量極大ピーク又はショルダーを少なくとも一つ有する構成である。
【0109】
低分子量側に存在するトナーの分子量分布の分子量極大ピーク位置が、2×103より小さくなると耐久性が悪化し、3×104より大きくなると定着性が悪化し、透光性が低下する。
【0110】
また、高分子量側に存在するトナーの分子量分布の分子量極大ピーク又はショルダーの位置が、5×104より小さくなると、耐オフセット性が低下し、保存安定性が悪化する。現像性の悪化と廃トナーリサイクル性も低下する。1×106より大きくなると粉砕性が低下し、生産効率の低下を招く。
【0111】
さらに、トナーの高分子量領域に存在する成分として、5×105以上の高分子量成分の含有量が結着樹脂全体に対し10wt%以下であることが好ましい。5×105以上の高分子量領域に存在する成分が多くなり、あるいは巨大の状態は、混練時にトナー構成材料に均一な混練ストレスが加わらず、混練状態が不具合となった結果である。これにより透光性が著しく阻害される。また分散不良によるカブリの増大、現像ローラ、供給ローラの傷の発生、トナーの粉砕性が悪化し製造効率が低下する。
【0112】
より好ましくは、5×105以上の高分子量成分の含有量が結着樹脂全体に対し5%以下であり、さらに好ましくは、1×106以上の高分子量成分の含有量が結着樹脂全体に対し1%以下、若しくは含有しない構成である。
【0113】
また、トナーのGPCクロマトグラムにおける分子量分布で、2×103〜3×104の領域に存在する分子量極大ピークの分子量分布の高さをHa、5×104〜1×106の領域に存在する分子量極大ピーク又はショルダーの高さをHbとすると、Hb/Haを0.15〜0.9とすることである。
【0114】
Hb/Haが、0.15より小さくなると耐オフセット性が悪化し、保存安定性も低下し、現像スリーブや感光体へのフィルミングを助長する結果となる。0.9より大きくなると現像ローラ供給ローラに傷を生じさせ、また粉砕性が悪化し、生産性が低下しコストアップにつながる。より好ましくは、Hb/Haが0.15〜0.7、さらに好ましくは、Hb/Haが0.2〜0.6である。
【0115】
また、高透光性を確保できかつ定着オイルを必要とせずとも、オフセット防止のため、トナーのGPCにおける分子量分布で、2×103〜3×104の領域に少なくとも一つの分子量極大ピーク、5×104〜1×106の領域に少なくとも一つの分子量極大ピーク又はショルダーを有する構成で、分子量5×104〜1×106の領域に存在する分子量分布の極大ピーク又はショルダーに相当する分子量値よりも大きい領域にある分子量曲線に着目し、その分子量分布の極大ピーク又はショルダーの高さを基準100%として、その分子量極大ピーク又はショルダーの高さに対して90%の高さに相当する分子量をM90、分子量極大ピーク又はショルダーの高さの10%の高さに相当する分子量をM10とした場合、M10/M90が0.5〜8とすることで実現できる。さらには、(M10−M90)/M90が0.1〜7とすることで実現できる。
【0116】
上記M10/M90、さらには、(M10−M90)/M90の値(分子量分布曲線の傾き)を規定することは超高分子量成分の分子切断の状態を定量化できるものであり、この値が上記記載した範囲内(分子量分布曲線の傾きが急峻であることを示唆する)である場合には、透光性を阻害している超高分子量成分が混練時の切断により無くなり、高透光性を有するようになる。さらには、この高分子側に現れるピ−ク又はショルダーを形成する高分子量成分が耐オフセット性に寄与し、オイルを使用せずともカラートナーのオフセットの発生を防ぐことが可能となる。
【0117】
さらにはこの超高分子量成分を分子切断する際に、結着樹脂中でワックス、電荷制御剤の均一分散化処理を可能とすることができ、帯電量が均一化し、鮮明な解像度を有し、長期連続使用しても耐久性を悪化させることがない。また転写体のクリーニング性が向上し、現像ローラでの縦筋の発生もなく、外添剤として脂肪酸処理微粉末を併用することにより転写時の画像乱れ、中抜けを防止でき高効率な転写性を得ることが可能となる。
【0118】
M10/M90の値が8より大きく、または(M10−M90)/M90が7より大きい場合には、依然超高分子量成分が残存し、透光性を阻害する。M10/M90の値が0.5より小さく、または(M10−M90)/M90が0.1より小さい場合には、混練時の機械的負荷が過大となり生産性が低下する。トナーの耐久性が低下する。より好ましくはM10/M90の値が0.5〜6であり、(M10−M90)/M90が0.1〜4.5である。さらに好ましくは、M10/M90の値が0.5〜4.5であり、(M10−M90)/M90が0.1〜3.5である。
【0119】
これにより、デジタル高画質化、高彩色再現性カラー化、接触式一成分現像における現像ローラ、供給ローラでの長期安定して使用可能ならしめ、定着ローラにオフセット防止用のオイルを使用しないで高透光性と耐オフセット性の両立を図れ、さらにはクリーナプロセスの実現、転写間短距離、短時間のタンデム転写プロセスにおける転写工程での中抜け防止、高転写性を実現することができる。
【0120】
上記した結着樹脂を溶融混練処理において高せん断力にて混練することで従来にない特性を発現することが可能となる。オイルを用いない定着でカラートナーの高い透光性と耐オフセット性を両立させることが出来る。つまり超高分子量成分を付与した結着樹脂を高せん断力により、超高分子量成分を低分子量化しそれにより高透光性が発現し、さらにはこの低分子量化した超高分子量成分の存在により耐オフセット性も満足できる。また超高分子量成分を有するため、混練時に高いせん断力がかかるため、ワックスがより均一に分散させることが可能となり、より透光性が良化し、非オフセット性、高画質、高彩色再現性、良好な転写性が得られる。
【0121】
溶融混練処理後のトナーの重量平均分子量が8000〜18万、Z平均分子量が18000〜45万、重量平均分子量と数平均分子量の比(重量平均分子量/数平均分子量)が3〜80、Z平均分子量と数平均分子量の比(Z平均分子量/数平均分子量)が10〜1000となることである。
【0122】
この適性範囲にトナーを高せん断力による混練処理することにより、オイルを用いない定着でカラートナーの高透光性と耐オフセット性を両立させることが可能となる。
【0123】
好ましくは重量平均分子量が8000〜10万、Z平均分子量が18000〜30万、重量平均分子量/数平均分子量が3〜60、Z平均分子量/数平均分子量が10〜500であることが好ましい。
【0124】
さらに好ましくは重量平均分子量が1万〜4万、Z平均分子量が2万〜8万、重量平均分子量/数平均分子量が3〜30、Z平均分子量/数平均分子量が10〜50であることが好ましい。
【0125】
重量平均分子量が8000より小さく、Z平均分子量が18000より小さく、重量平均分子量/数平均分子量が3より小さく、Z平均分子量/数平均分子量が10より小さくなると、混練ストレスが充分にかからず、分子量を適正値に維持できなくなる。定着助剤の分散性が低下し耐オフセット性、高温保存性の悪化、さらには中間転写体でのクリーニング不良、感光体へのフィルミングが発生する。
【0126】
重量平均分子量が18万より大きく、Z平均分子量が45万より大きく、重量平均分子量/数平均分子量が80より大きく、Z平均分子量/数平均分子量が1000より大きくなると、せん断力の圧力が働きすぎ、逆に電荷制御剤等の内添剤が相互に凝集を生じ、分散性の低下につながり、クリーナプロセス時のかぶりの増加、画像濃度の低下、転写不良の発生を招く。また定着強度の低下や、透光性、光沢度が低下する。
【0127】
また結着樹脂はTHF不溶成分が5重量%以下、好ましくはTHF不溶成分を有しないことである。THF不溶成分が5重量%より多いとカラー画像の透光性を悪化させる要因となり、画質を劣化させてしまう。
【0128】
本形態に好適に使用される結着樹脂は、アルコール成分とカルボン酸、カルボン酸エステル及びカルボン酸無水物等のカルボン酸成分との重縮合によって得られるポリエステル樹脂が好適に使用される。
【0129】
2価カルボン酸又は低級アルキルエステルとしては、マロン酸、コハク酸、グルタル酸、アジピン酸、ヘキサヒドロ無水フタル酸などの脂肪族二塩基酸、マレイン酸、無水マレイン酸、フマル酸、イタコン酸、シトラコン酸などの脂肪族不飽和二塩基酸、及び無水フタル酸、フタル酸、テレフタル酸、イソフタル酸などの芳香族二塩基酸、及びこれらのメチルエステル、エチルエステル等を例示することが出来る。この中でコハク酸、フタル酸、テレフタル酸、イソフタル酸等の芳香族二塩基酸及びそれらの低級アルキルエステルが好ましい。コハク酸とテレフタル酸、若しくはフタル酸とテレフタル酸とを組合わせた使用が好ましい。
【0130】
3価以上のカルボン酸成分としては1,2,4−ベンゼントリカルボン酸、1,2,5−ベンゼントリカルボン酸、1,2,4−シクロヘキサントリカルボン酸、2,5,7−ナフタレントリカルボン酸、1,2,4−ナフタレントリカルボン酸、1,2,4−ブタントリカルボン酸、1,2,5−ヘキサトリカルボン酸、1,3−ジカルボキシルー2−メチルー2−メチレンカルボキプロパン、テトラ(メチレンカルボキシル)メタン、1,2,7,8−オクタンテトラカルボン酸、ピロメリット酸、エンポール三量体酸及びこれらの酸無水物、アルキル(炭素数1〜12)エステル等が挙げられる。
【0131】
2価アルコールとしては、エチレングリコール、1,2−プロピレングリコール、1,3−プロピレングリコール、1,3−ブチレングリコール、1,4−ブチレングリコール、1,6−ヘキサンジオール、ネオペンチルグリコール、ジエチレングリコール、ジプロピレングリコール、ビスフェノールAエチレンオキサイド付加物、ビスフェノールAプロピレンオキサイド付加物、などのジオール、グレセリン、トリメチロールプロパン、トリメチロールエタンなどのトリオール、及びそれらの混合物を例示することが出来る。この中でネオペンチルグリコール、トチメチロールプロパン、ビスフェノールAエチレンオキサイド付加物、ビスフェノールAプロピレンオキサイド付加物が好ましい。
【0132】
3価以上のアルコール成分としては、ソルビトール、1,2,3,6−ヘキサンテトロール、1,4−ソルビタン、ペンタエリスリトール、ジペンタエリスリトール、トリペンタエリスリトール、1,2,4−ブタントリオール、1,2,5−ペンタントリオール、グリセロール、2−メチルプロパントリオール、2−メチル−1,2,4−ブタントリオール、トリメチロールエタン、トリメチロールプロパン、1,3,5−トリヒドロキシメチルベンゼン等が挙げられる。
【0133】
重合は公知の重縮合、溶液重縮合等を用いることが出来る。これによって耐塩ビマット性やカラートナーの色材の色を損なうことなしに、良好なトナーを得ることができる。
【0134】
多価カルボン酸と多価アルコールの使用割合は通常、カルボキシル基数に対する水酸基数の割合(OH/COOH)で0.8〜1.4が一般的である。
【0135】
樹脂及びトナーの分子量は、数種の単分散ポリスチレンを標準サンプルとするゲル浸透クロマトグラフィー(GPC)によって測定された値である。
【0136】
装置は、東ソー社製HPLC8120シリーズ、カラムはTSKgel superHM−H H4000/H3000/H2000(7.8mm径、150mm×3)、溶離液THF(テトラヒドロフラン)、流量0.6ml/min、試料濃度0.1%、注入量20μL、検出器RI、測定温度40℃、測定前処理は試料をTHFに溶解後0.45μmのフィルターでろ過しシリカ等の添加剤を除去した樹脂成分を測定する。測定条件は、対象試料の分子量分布が、数種の単分散ポリスチレン標準試料により得られる検量線における分子量の対数とカウント数が直線となる範囲内に包含される条件である。
【0137】
ワックスは、数種の単分散ポリスチレンを標準サンプルとするGPCによって測定された値であるが、上記した樹脂やトナーと異なり、装置は、WATERS製GPC−150C、カラムはShodex HT−806M(8.0mmI.D.−30cm×2)、溶離液はo−ジクロロベンゼン、流量は1.0mL/min、試料濃度は0.3%、注入量は200μL、検出器はRI、測定温度は130℃、測定前処理は試料を溶媒に溶解後0.5μmの金属焼結フィルターでろ過処理した。測定条件は、対象試料の分子量分布が、数種の単分散ポリスチレン標準試料により得られる検量線における分子量の対数とカウント数が直線となる範囲内に包含される条件である。
【0138】
また、結着樹脂の軟化点は、島津製作所のフローテスタ(CFT500)により、1cm3の試料を昇温速度6℃/分で加熱しながらプランジャーにより約9.8×105N/m2の荷重を与え、直径1mm、長さ1mmのダイから押し出して、このプランジャーのピストンストロークと温度との関係における昇温温度特性との関係から、ピストンストロークが立上がり始める温度が流出開始温度(Tfb)、曲線の最低値と流出終了点の差の1/2を求め、それと曲線の最低値を加えた点の位置における温度を1/2法における溶融温度(軟化点Tm)となる。
【0139】
また樹脂のガラス転移点は示差走査熱量計を用い、100℃まで昇温し、その温度にて3分間放置した後、降温速度10K/minで室温まで冷却したサンプルを、昇温速度10K/minで昇温して熱履歴を測定した際に、ガラス転移点以下のベースラインの延長線とピークの立上がり部分からピークの頂点までの間での最大傾斜を示す接線との交点の温度を言う。
【0140】
DSCによる吸熱ピークの融点は、島津製作所の示差熱量分析計DSC−50を使用した。5K/minで200℃まで昇温し、5分間保温10℃まで急冷後、15分間放置後5K/minで昇温させ、吸熱(融解)ピークから求めた。セルに投入するサンプル量は10mg±2mgとした。
【0141】
高せん断力による混練により、より定着性現像性耐久性等の特性が向上する。
【0142】
具体的は、異方向に回転し、加熱または冷却が可能な対向する2本のロールを有し、一方のロール(RL1)のロール温度ともう一方のロール(RL2)のロール温度に温度差を設け、かつ前記ロール(RL1)と前記ロール(RL2)とを異なる周速で回転させて2本のロール間で混練処理することにより実現できる。さらには一方のロール(RL1)が前半部と後半部で温度差を有する構成とすることである。
【0143】
そしてそのロールの温度設定及び温度勾配、回転数及び負荷電流の混練条件と結着樹脂の軟化点、定着助剤の融点、添加量を最適な条件で処理することにより向上する。
【0144】
2本ロールの回転数比を1.1倍から2.5倍の範囲内で行うことにより混練時に適切なせん断力が生じ、結着樹脂の分子切断、着色剤等の内部添加剤の分散性が向上し、定着性、現像性が向上する。加熱してトナーを溶融し巻き付ける側のロールの回転比を高くする構成である。1.1倍より小さいと適切なせん断力が生じず、分散性が向上せず、透光性が悪化する。逆に2.5倍より大きいと、生産性が急激に低下し、また分散性が向上せず、現像性の悪化を招く。
【0145】
またこのときの2本のロールにかかる負荷電流値の比を1.25〜10の範囲となるような条件で混練することで、適切なせん断力が加わりより内添剤の分散性が向上する。この範囲よりも小さいと分散性が向上せず、透光性が悪化する。また生産性も低下する。逆にこの範囲よりも大きいと、ローラにかかる負荷が大きくなりすぎ、超高分子量成分がより低分子量化しすぎるため、非オフセット性が低下し、オフセットが発生するようになる。
【0146】
またトナーを溶融し巻き付ける一方のロールにおいて、原料を供給する前半部(IN側)と混練された材料を取出す後半部(OUT側)とに温度差を設ける構成とする。IN側では供給された材料をローラに溶融巻付きさせるため温度を高めに設定し、OUT側は温度を下げて材料にせん断力を与えて、樹脂の分子切断と定着助剤の分散性を向上させる。IN側からOUT側に搬送された材料が温度差を設けることは、IN側で結着樹脂がある程度溶融され、定着助剤が樹脂中でばらされた状態にあり、それがOUT側の低温度により強いせん断力を受け、分散性が均一なものと出来る。また樹脂の分子切断も適切に行える。
【0147】
以上の状態で処理することにより、混練時の高分子量の分子切断を適当な状態で行え、又内添剤特に顔料と電荷制御剤を均一に混練分散することができ、特にカラートナーでの透光性とオイルを使用しない定着において耐オフセット性の両立を実現させることが出来る。
【0148】
さらにより分散の均一性を高められ、高転写性、現像性を向上させることが可能となる。また高温高湿下、低温低湿下での特性を安定化させることが出来る。
【0149】
また本形態の現像プロセスにおいては、弾性又は剛性の現像ローラ上にゴムやメタル等の弾性ブレード等を一定の圧力により接触させ、トナーの薄層を形成して感光体と接触又は非接触により現像する構成である。一成分現像法としては、ウレタン樹脂からなるスポンジ系の供給ローラとシリコン樹脂又はウレタン樹脂からなる現像ローラを一定の食い込み量により接触させ、供給ローラから現像ローラにトナーを供給し、現像ローラ上に弾性体のゴムや金属ステンレスのドクターブレードを接触して、または金属性のローラを現像ローラとアゲインスト(同方向)に回転接触して、トナーの薄層を形成し、それを感光体と接触または非接触にて直流または交流印可してトナー像を形成する現像法が好適に使用される。
【0150】
このとき、交流バイアスの周波数が0.5〜10kHz、交流バイアスが0.3〜1.2kV(p−p)であり、感光体と現像ローラ間の周速度比が1:1.2〜1:1.8とすることにより、ドットを忠実に再現でき、良好な現像γ特性とでき、高画質画像を実現できる。そして低地カブリ、高画像濃度が得られる。周波数が0.5〜5kHz、交流バイアスが0.3〜1.0kV(p−p)であり、かつ感光体と現像ローラ間の周速度比が1:1.2〜1:1.5がより好ましく、更に好ましくは周波数が0.5〜2kHz、交流バイアスが0.5〜0.9kV(p−p)であり、かつ感光体と現像ローラ間の周速度比が1:1.2〜1:1.4である。
【0151】
このとき、周波数が0.5kHzより小さいと、ドット再現性が悪化し、中間調再現性が悪化する。周波数が10kHzより大きくなると、現像領域での追随ができず、効果が現れない。交流バイアスが0.3kV(p−p)より小さくなると、ベタ追随性維持効果が得られず、交流バイアスが1.2kV(p−p)より大きくなるとカブリが増大する。感光体と現像ローラ間の周速度比が1:1.2より小さいと(現像ローラが遅くなる)画像濃度が得にくい。感光体と現像ローラ間の周速度比が1:1.8より大きくなると(現像ローラ速度が上がる)とトナー飛散が多くなる。
【0152】
供給ローラと現像ローラは同方向に回転させ、現像ローラと供給ローラの周速を1:1〜0.8:0.2の割合で現像ローラを早くする構成とする。また現像ローラは感光体表面に9.8〜9.8×102(N)の圧力で圧接して感光体上の静電潜像が現像される。また弾性ブレードは5〜5×102(N)の圧力で現像ローラ上に圧接してトナー層が形成される。
【0153】
さらに、トナー溜めから供給されるトナーの供給量を現像ローラ上へ搬送する際の現像ローラ上のトナー搬送量を一定量に制御するため、ウレタン樹脂等からなるスポンジ状の供給ローラを、現像ローラに対し一定の食い込み量0.1〜1mmで、現像ローラと接触させる構成が取られる。
【0154】
トナー溜めから供給されるトナーの供給量を現像ローラ上へ搬送する際の現像ローラ上のトナー搬送量を一定量に制御するため、ウレタン樹脂等からなるスポンジ状の供給ローラを現像ローラと接触させて具備する構成が取られる。これはトナーの搬送量を一定量に規制するために有効な手段である。
【0155】
しかし従来のトナーでは、この現像構成においては、長期使用していると現像ローラ上での傷や、ブレードに異物の付着により画像上に縦筋が生じる画像不良が発生しやすい。特にカラー定着性を向上させるために、低軟化性の結着樹脂の使用や、低融点離型剤を添加したトナーではより顕著に発生する。
【0156】
また、長期連続使用中に現像ローラ上のトナーの搬送量が低下したり、べた黒画像を取った場合に画像後半部の濃度が部分的に低下するベタ追随性不良が発生しやすい。現像ローラ上のトナーの帯電量を吸引式により測定すると帯電量が大きく低下していることが分かった。さらに追求すると供給ローラ部のトナーの帯電量が大きく増加しており、つまり画像濃度の低下はトナーの帯電量が低下しているのではなくて、現像ローラに供給される前の供給ローラ部においてチャージアップしており供給ローラから現像ローラへの供給能力が低下したためである。よってトナーの飛散を防ぎながら画像濃度を確保できる構成が必要になる。ドクターブレードの圧接力を高めてトナーの帯電能力を上げる構成も有効であるが、トナーの融着を招きやすく現像ローラに傷を生じさせる。
【0157】
そこで、本形態のトナー構成とすることにより、定着特性を犠牲にすることなく、現像ローラ上の縦筋の発生、ベタ追随性不良、トナーの融着を防止することができることを見い出した。
【0158】
これは樹脂中での均一分散が可能となり、帯電分布が安定化し供給ローラでのトナーの過帯電を抑えると共に、連続使用時の画像濃度を安定化でき、またべた追随性も良好なものとなる。均一分散によりトナーの流動性が維持でき現像ローラ上でのトナーの搬送状態をスムーズなものとし、搬送状態を常に安定化できる効果がある。特に高湿下での搬送状態の安定化に効果が大きい。このとき現像ローラ上のトナーの吸引式ファラデーケージ法によるトナーの帯電量が−5〜−45μC/gであることが好ましい。−5μC/gより小さいとトナー飛散が増大する。−45μC/gより大きいと画像濃度が出にくい。
【0159】
また、本形態のトナーは、感光体に形成された静電潜像をトナーにより現像するトナー像形成ステーションを複数個有し、感光体に無端状の転写体を当接させて転写体に顕像化したトナーを転写させる一次転写プロセスを順次連続して実行して、転写体に多層のトナー像を形成し、その後転写体に形成した多層のトナー像を、一括して紙やOHP等の転写媒体に一括転写させる二次転写プロセスが実行されるよう構成された転写システムを具備する電子写真装置に好適に使用される。
【0160】
このとき、2次転写時に転写材に転写されずに残留するトナーをクリーニング除去することが必要であり、バイアスを印可したローラや、ファーブラシ等が使用される。このときトナーがクリーニングされにくいと、中間転写体との接触によりトナーがフィルミングを生じてしまう。またローラにより除去されたトナーをこのローラから金属プレートによりスクレープする際にその金属プレートに融着し、スクレープ不良が生じてしまう。特にカラー画像の光沢性、高透光性のカラー定着性を向上させるために、低軟化性の結着樹脂の使用や、低融点離型剤を添加したトナーではより顕著に発生し易くなる。
【0161】
そこで、本形態のトナーの使用により、トナーの帯電性の安定化が得られ、均一な帯電性を有し、地カブリが少なく転写時の中抜けを防止できるとともに高転写効率を得ることが可能となる。クリーニング性においては、樹脂中の均一分散性の向上、良好な帯電性、材料の有する離型性のため、クリーニング性を良好なものとし、フィルミング、スクレープ不良を回避できる。
【0162】
また、本形態では、転写プロセス後に感光体上に残留したトナーをクリーニングにより回収するクリーニングプロセス工程を有さずに、次の帯電、露光、現像プロセスを行うクリーナーレスプロセスを基本構成とする電子写真装置に好適に使用される。
【0163】
本形態のトナーの使用により、トナーの凝集を抑え、過帯電を防止し、帯電性の安定化が得られ、高転写効率を得ることが可能となる。また樹脂中での均一分散性の向上、良好な帯電性、材料の有する離型性により、非画像部に残留したトナーの現像での回収が良好に行える。そのため、非画像部の前の画像パターンが残る現像メモリーも発生もない。
【0164】
また、本形態では、トナーを定着する手段にベルト式の定着媒体を使用する構成の定着プロセスを具備する電子写真装置に好適に使用される。そのベルトとしては耐熱性と変形自在性とを有するニッケル電鋳ベルトやポリイミドベルトの耐熱ベルトが用いられる。離形性を向上するために表面層としてシリコーンゴム、フッ素ゴム、フッ素樹脂を用いる構成である。これらの定着ベルトにおいてはこれまでは離型オイルを塗布してオフセットを防止してきた。オイルを使用せずに離型性を有するトナーにより、離型オイルを塗布する必要はなくなった。しかし離型オイルを塗布しないと帯電しやすく、未定着のトナー像がベルトと近接すると帯電の影響により、トナー飛びが生じる場合がある。特に低温低湿下において発生しやすい。またトナーが高温オフセット防止のため一定以上の高分子量成分を付加し、ある程度の弾性要素を持たせたとき、トナーの細い縦線のパターンを描いた紙が曲率の大きいベルトからの隔離時に先端部がベルトに持っていかれる先端オフセットが生じる場合がある。また従来の剛性の定着ローラと比べて弾性体のベルト式では、オイルレスにより傷による寿命低下が問題となる。
【0165】
そこで、本形態のトナーの使用により、オイルを使用せずともオフセットの発生を防止でき、カラー高透光性を得ることができる。またトナーの過帯電性を抑制できベルトとの帯電作用によるトナーの飛びを抑えられる。またベルトからの隔離時に先端部がベルトに持っていかれるオフセットトナーの分子量分布と滑性の効果により防止することが可能となる。
【0166】
また、本形態に使用される顔料としては、カーボンブラック、鉄黒、グラファイト、ニグロシン、アゾ染料の金属錯体、、C.I.ピグメント・イエロー180のベンズイミダゾロン系の黄色顔料、C.I.ピグメント・イエロー1,3,74,97,98等のアセト酢酸アリールアミド系モノアゾ黄色顔料、C.I.ピグメント・イエロー12,13,14,17等のアセト酢酸アリールアミド系ジスアゾ黄色顔料、C.I.ソルベントイエロー19,77,79、C.I.ディスパース・イエロー164、C.I.ピグメント・レッド48,49:1,53:1,57,57:1,81,122,5等の赤色顔料、C.I.ソルベント・レッド49,52,58,8等の赤色染料、C.I.ピグネント・ブルー15:3等のフタロシアニン及びその誘導体の青色染顔料が1種又は2種類以上で配合される。添加量は結着樹脂100重量部に対し、3〜8重量部が好ましい。
【0167】
またトナーの粒度分布において、粒径5μm以下のトナー粒子が個数分布で40個数以下であることが好ましい。40個数よりも多いと、転写率が低下し、転写体でのクリーニング性が低下する。また感光体や転写体へのフィルミングを生じ易くなる。
【0168】
さらに、トナーの体積平均粒径は3〜11μmで、好ましくは3〜9μm、より好ましくは3〜6μmである。11μmより大きいと、解像度が低下し高画質が得らず、3μmより小さいと、トナーの凝集が強くなり地カブリが増大する。
【0169】
またトナーの体積粒径分布の変動係数が15〜35%、個数粒径分布の変動係数が20〜40%であることが好ましい。より好ましくは、体積粒径分布の変動係数が15〜30%、個数粒径分布の変動係数が20〜35%、さらに好ましくは、体積粒径分布の変動係数が15〜25%、個数粒径分布の変動係数が20〜30%である。
【0170】
変動係数とはトナーの粒径における標準偏差を平均粒径で割ったものである。コールターカウンタ(コールター社)を使用して測定した粒子径をもとにしたものである。標準偏差は、n個の粒子系の測定を行なった時の、各測定値の平均値からの差の2乗を(n−1)で割った値の平方根であらわされる。
【0171】
つまり変動係数とは粒度分布の広がり具合をあわらしたもので、体積粒径分布の変動係数が15%未満、又は個数粒径分布の変動係数が20%未満となると、生産的に困難であり、コストアップの要因となる。体積粒径分布の変動係数が35%より大、または個数粒径分布の変動係数が40%より大きくなると、粒度分布がブロードとなるとトナーの凝集性が強くなり、感光体へのフィルミングが発生しやすくなる。
【0172】
粒度分布測定は、コールターカウンタTA−II型(コールターカウンタ社)を用い、個数分布、体積分布を出力するインターフェイス(日科機製)及びパーソナルコンピュータを接続して測定する。電解液は1級塩化ナトリウムを用いて1%NaCl水溶液を調製する。電解水溶液100〜150ml中に分散剤として界面活性剤(ラウリル硫酸ナトリウム)を0.1〜5mg加え、さらに測定試料を2〜20mg加える。試料を懸濁した電解液は超音波分散器で約1〜3分間分散処理を行い、コールターカウンタTA−II型にてアパーチャー70μのアパーチャーを用いて個数を基準として2〜40μの粒子の粒度分布を測定する。
【0173】
トナーは予備混合処理、溶融混錬処理、粉砕分級処理、外添処理の工程を経て作成される。
【0174】
予備混合処理は、結着樹脂とこれに分散させるべき添加剤を撹拌羽根を具備したミキサなどにより均一分散する処理である。ミキサとしては、スーパーミキサ(川田製作所製)、ヘンシェルミキサ(三井三池工業製)、PSミキサ(神鋼パンテック製)、レーディゲミキサ等の公知のミキサを使用する。
【0175】
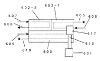
図1にトナー溶融混練処理の概略斜視図を、図2に平面図、図3に正面図、図4に側面図を示す。601はトナー原料の定量供給機、602はロール(RL1)、603はロール(RL2)、604はロール(RL1)上に巻きついたトナーの溶融膜、602−1はロール(RL1)の前半部(原料の搬送方向の上流部)、602−2はロール(RL2)の後半部(原料の搬送方向の下流部)、605はロール(RL1)の前半部602−1を加熱するための熱媒体の流入口、606はロール(RL1)の前半部602−1を加熱した熱媒体の流出口、607はロール(RL1)の後半部602−2を加熱又は冷却するための媒体の流入口、608はロール(RL1)の後半部602−2を加熱又は冷却した媒体の流出口、609はロール(RL2)603を加熱又は冷却するための媒体の流入口、610はロール(RL2)603を加熱又は冷却した媒体の流出口、611はロール表面のスパイラル状の溝で深さは2〜10mm程度、612はロール間で形成されるトナー溜りである。611の螺旋状の溝はトナーの混練時に材料が原料投入部の右端から排出部の左端にスムーズに搬送されるに好ましいものである。
【0176】
定量供給機から原料供給フィーダ613を伝わりながら開口部614からトナー原料が矢印615のようにロール(RL1)602−1側の端部付近に落下させる。供給フィーダの開口部の長さは616で表させる。この長さはロール半径の1/2〜4倍の長さが好ましい。短いと落下させる材料が溶融する前に2本のローラの隙間から下に落下する量が急増する。長すぎると原料フィーダでの搬送途中で原料が分離して均一な分散が得られない。
【0177】
また落下位置は図4の矢印にて図示するようにロール(RL1)602の2本のロールが最近接する点から20°〜80°の範囲の地点に落下させる。20°よりも小さい角度であると2本のロールの隙間から落下する量が急増する。80°以上であると落下させる際、トナー粉末の舞上りが多くなり周辺を汚染する。またカバー617は開口部長さ616よりも広い領域をカバーできるように設置する。図3ではカバーの図示は省略している。
【0178】
定量供給機601からトナー原料は供給フィーダ613を伝わりながら開口部614から落下する。落下したトナー原料はロール(RL1)602−1側の端部付近に投下される。そして602−1の熱とロール(RL2)603との圧縮せん断力により樹脂が溶融し、ロール(RL1)の前半部602−1に巻付くようになる。その状態がロール(RL1)の後半部602−2の端部にまで広がり、ロール(RL1)の前半部602−1よりも低い温度で加熱又は冷却されたロール(RL2)の後半部602−2からトナー魂として剥離される。なお、上記処理の間、ロール603は室温以下に冷却されている。ロール(RL1)602とロール(RL2)603のクリアランスは0.1〜0.9mmである。本実施例では原料投入量は10kg/h、ロール(RL1)(RL2)の直径は140mm、長さは800mmで行った。
【0179】
得られたトナー塊を、カッターミルなどで粗粉砕し、その後ジェットミル粉砕(例えばIDS粉砕機、日本ニューマティック工業)などで細かく粉砕し、さらに必要に応じて気流式分級機で微粉粒子をカットして、所望の粒度分布のトナー粒子(トナー母体粒子)を得るものである。そして分級処理により3〜6μmの範囲の体積平均粒子径を有するトナー粒子(トナー母体粒子)を所得する。
【0180】
外添処理は、前記分級により得られたトナー粒子(トナー母体粒子)にシリカなどの外添剤を混合する処理である。これにはヘンシェルミキサ、スーパーミキサなどの公知のミキサが使用される。
【0181】
次に、実施例により本発明を更に詳細に説明する。
【0182】
(表1)に実施例で使用する結着樹脂の特性を示す。樹脂はビスフェノールAプロピルオキサイド付加物、テレフタル酸、トリメリット酸、コハク酸、フマル酸を主成分としたポリエステル樹脂を使用し、配合比、重合条件により熱特性を変えた樹脂を使用した。
【0183】
【表1】
【0184】
Mnfは結着樹脂の数平均分子量、Mwfは結着樹脂の重量平均分子量、Mzfは結着樹脂のZ平均分子量、Wmfは重量平均分子量Mwfと数平均分子量Mnfとの比Mwf/Mnf、Wzfは結着樹脂のZ平均分子量Mzfと数平均分子量Mnfの比Mzf/Mnf、AVは樹脂酸価を示す。
【0185】
(表2)(表3)に本実施例で使用するワックス及びその物性値を示す。Mnrはワックスの数平均分子量、Mwrはワックスの重量平均分子量、MzrはワックスのZ平均分子量を示す。Tw(℃)はDSC法による融点、酸価、針入度を示す。
【0186】
【表2】
【0187】
【表3】
【0188】
(表4)に本実施例で使用する顔料を示す。
【0189】
【表4】
【0190】
(表5)に本実施例で使用する電荷制御剤を示す。
【0191】
サリチル酸誘導体の金属塩として、炭素数1〜10のアルキル基としては例えば、メチル基、エチル基、n−プロピル基、イソプロピル基、n−ブチル基、イソブチル基、sec−ブチル基、tert−ブチル基等が挙げられる。金属Yとしては亜鉛、ニッケル、コバルト、銅、クロムが挙げられ、亜鉛、クロムが好ましい。ベンジル酸誘導体の金属塩としては、R1〜R4がベンゼン環、アルカリ金属Xとしてはリチウム、ナトリウム、カリウム等が挙げられ、カリウムが好ましい。
【0192】
【表5】
【0193】
(表6)に本実施例で使用する無機微粉末を示す。シリカの帯電量はノンコートのフェライトキャリアとの摩擦帯電のブローオフ法により測定したものである。25℃45%RHの環境下で、100mlのポリエチレン容器にキャリア100gとシリカ等1gを混合し、縦回転にて100min-1の速度で5分、30分間攪拌した後、0.3g採取し、窒素ガス1.96×104(Pa)で60secブローした。
【0194】
正帯電性では5分間攪拌後の5分値が+100〜+900μC/gで、30分間攪拌後の30分の値が+50〜+500μC/gであることが好ましい。30分値での帯電量が5分値での帯電量の40%以上を維持しているシリカが好ましい。低下率が大きいと長期連続使用中での帯電量の変化が大きく、一定の画像を維持できなくなる。
【0195】
負帯電性では5分値が−100〜−900μC/gで、30分の値が−50〜−700μC/gであることが好ましい。高い帯電量のシリカでは少量の添加量で機能を発揮できる。粒径(nm)、BET(m2/g)、5分値(μC/g)、30分値、メタノール滴定値(%)、強熱減量(%)、水分吸着量(%)である。
【0196】
【表6】
【0197】
(表7)に本実施例での混練条件を示す。
【0198】
Tmは結着樹脂の軟化点、Twは定着助剤の融点、Trj1(℃)はロール(RL1)の前半部の加熱温度、Trk1(℃)はロール(RL1)の後半部の加熱温度、Tr2(℃)ロール(RL2)の加熱温度、Rw1はロール(RL1)の回転数、Rw2はロール(RL2)の回転数、ロール(RL1)の回転時の負荷電流値をDr1、ロール(RL2)の負荷電流値をDr2と示している。
【0199】
【表7】
【0200】
(表8)に本実施例に本実施例で使用したトナー材料組成を示す。
【0201】
【表8】
【0202】
それぞれのトナーの重量平均粒径は6〜7μm、体積粒径分布の変動係数が20〜25%、個数粒径分布の変動係数が25〜30%となるように試作した。
【0203】
顔料、電荷制御剤、ワックスの配合量比は結着樹脂100重量部に対する配合量(重量部)比を括弧内に示す。外添剤はトナー母体100重量部に対する配合量(重量部)を示している。外添処理はFM20Bにおいて、攪拌羽根Z0S0型、回転数2000rpm、処理時間5min、投入量1kgで行った。
【0204】
(表9)(表10)に本実施例で混練処理を施した後のトナーの分子量特性を示す。トナーはマゼンタトナーのTM1から4と、tm11トナーで比較評価した。イエロー、シアン、ブラックトナーでも同様な結果になる。Mnvはトナーの数平均分子量、Mwvはトナーの重量平均分子量、Wmvはトナーの重量平均分子量Mwvと数平均分子量Mnvの比Mwv/Mnv、WzvはトナーのZ平均分子量Mzvと数平均分子量Mnvの比Mzv/Mnvを示す。
【0205】
MLは分子量分布において低分子量側の分子量極大ピークを示す分子量値、MHは高分子量側の分子量極大ピークを示す分子量値、SmはHb/Ha、SK1はM10/M90、SK2は(M10−M90)/M90を示す。
【0206】
【表9】
【0207】
【表10】
【0208】
また図5〜11に分子量分布特性を示す。
【0209】
図5a、図5bはそれぞれ結着樹脂PES−1、トナーTM−1の分子量分布特性、 図6a、図6bはそれぞれ結着樹脂PES−2、トナーTM−2の分子量分布特性、図7a、図7bはそれぞれ結着樹脂PES−3、トナーTM−3の分子量分布特性、図8a、図8bはそれぞれ結着樹脂PES−4、トナーTM−4の分子量分布特性、図9a、図9bはそれぞれ結着樹脂pes−5、トナーtm−5の分子量分布特性を示す。
【0210】
結着樹脂PES−1では3×104以上の高分子量成分を結着樹脂分子量分布全体に対し面積比で5%以上存在している。また3×105〜9×106の高分子量成分を結着樹脂分子量分布全体に対し面積比で1%以上有している。同様にPES−2、3、4も3×104以上の高分子量成分を結着樹脂分子量分布全体に対し面積比で5%以上存在している。また3×105〜9×106の高分子量成分を結着樹脂分子量分布全体に対し面積比で1%以上有している。しかしpes−5では3×104以上の高分子量成分の存在は結着樹脂分子量分布全体に対し面積比で5%以下であり、また3×105〜9×106の高分子量成分は存在しない。
【0211】
混練によりトナーではそれが分子切断され、高分子成分側にピーク又はショルダーとなって現れていることが分かる。つまり透光性を阻害している成分が切断によりなくなり、高分子側に急峻な傾きとなってあらわれ、これが透光性を阻害せずに耐オフセット性を維持させている要因である。トナーTM−1では3×105以上の高分子量成分量はトナー分子量分布全体に対し面積比で5%以下であり、1×106以上の高分子量成分はほとんど含有していない。同様にTM−2、3、4も3×105以上の高分子量成分量はトナー分子量分布全体に対し面積比で5%以下であり、1×106以上の高分子量成分はほとんど含有していない。
【0212】
また図10、図11に分子量分布特性の一例を示す。図11には高分子成分側に急峻な分子量ピークとなる特性のM10、M90を概略的に示している。分子量分布の極大ピークの高さを100%としている。図10はトナーTM−3の分子量分布特性のM10、M90を概略的に示している。高分子成分側にはショルダー形状として現れており、このショルダー部の肩の頂点の高さを100%の基準としている。これは結着樹脂PES3の高分子量成分が、混練により分子切断され、高分子成分側にショルダーとなって現れたためである。
【0213】
その高分子側の分布のピーク高さを100%としたとき、極大ピーク又はショルダーに相当する分子量値よりも大きい領域にある分子量曲線、すなわちこの領域における分子量分布曲線の傾きが負となる部位、つまり分布曲線の右側の部位において、分子量分布の極大ピーク又はショルダーの高さを100%とした場合に、分子量極大ピーク又はショルダーの高さの90%に相当する分子量をM90、分子量極大ピーク又はショルダーの高さの10%に相当する分子量をM10としている。ここで、M10/M90の値(分子量分布曲線の傾き)は、超高分子量成分の分子切断の状態を定量化できるものである。M10/M90の値が小さいということは分子量分布曲線の傾きが急峻であり、透光性を阻害している成分が切断によりなくなり、高透光性を有するわけである。さらには、この高分子側に現れるピ−クが耐オフセット性に寄与しているわけである。
【0214】
また図12に定着助剤WF−1の分子量分布特性を示す。横軸は分子量の対数を取っている。
【0215】
(実施例1)
図13は本実施例で使用したフルカラー画像形成用の電子写真装置の構成を示す断面図である。図13において、カラー電子写真プリンタの外装筐は省略している。プリンタ内の転写ベルトユニット2の着脱操作や紙詰まり時などのプリンタ内部点検保守等は前面板を倒し開いてプリンタ内部を大きく解放することにより行われる。この転写ベルトユニット17の着脱動作は、感光体の回転軸母線方向に対し平行方向になるように設計されている。
【0216】
転写ベルトユニット17は、転写ベルト12、弾性体よりなる第1色(イエロー)転写ローラ10Y、第2色(マゼンタ)転写ローラ10M、第3色(シアン)転写ローラ10C、第4色(ブラック)転写ローラ10K、アルミローラよりなる駆動ローラ11、弾性体よりなる第2転写ローラ14、第2転写従動ローラ13、転写ベルト12上に残ったトナー像をクリーニングするベルトクリーナブレード16、クリーナブレードに対向する位置にローラ15を設けている。
【0217】
このとき、第1色(Y)転写位置から第2色(M)転写位置までの距離は42mm(第2色(M)転写位置から第3色(C)転写位置、第3色(C)転写位置から第4色(K)転写位置も同様距離)、感光体の周速度は100mm/sである。
【0218】
転写ベルト12は、絶縁性ポリカーボネート樹脂中に導電性のフィラーを混練して押出機にてフィルム化して用いる。本実施例では、絶縁性樹脂としてポリカーボネート樹脂(たとえば三菱ガス化学製,ユーピロンZ300)95重量部に、導電性カーボン(たとえばケッチェンブラック)5重量部を加えてフィルム化したものを用いた。また、表面にフッ素樹脂をコートし、厚みは約120μm、体積抵抗は107〜1012Ω・cm、表面抵抗は107〜1012Ω/□である。ドット再現性を向上させためもある。転写ベルト12の長期使用による弛みや,電荷の蓄積を有効に防止できるようにするためであり、また、表面をフッ素樹脂でコートしているのは、長期使用による転写ベルト表面へのトナーフィルミングを有効に防止できるようにするためである。体積抵抗が107Ω・cmよりも小さいと、再転写が生じ易く、1012Ω・cmよりも大きいと転写効率が悪化する。
【0219】
第1転写ローラは径14mmのカーボン導電性の発泡ウレタンローラで、抵抗値は102〜106Ωである。第1転写動作時には、第1転写ローラ10は、転写ベルト12を介して感光体1に1.0〜9.8(N)の押圧力で圧接され、感光体上のトナーがベルト上に転写される。抵抗値が102Ωよりも小さいと、再転写が生じ易い。106Ωよりもおおきと転写不良が生じ易くなる。1.0(N)よりも小さいと転写不良を生じ、9.8(N)よりも大きいと転写文字抜けが生じる。
【0220】
第2転写ローラ14は径20mmのカーボン導電性の発泡ウレタンローラで、抵抗値は102〜106Ωである。第2転写ローラ14は、転写ベルト12及び紙、OHP等の転写媒体とを介して転写ローラ13に圧接される。この転写ローラ13は転写ベルト12に従動回転可能に構成している。第2次転写での第2転写ローラ14と対向転写ローラ13とは5.0〜21.8(N)の押圧力で圧接され、紙等の記録材上に転写ベルトからトナーが転写される。抵抗値が102Ωよりも小さいと、再転写が生じ易い。106Ωよりもおおきと転写不良が生じ易くなる。5.0(N)よりも小さいと転写不良となり、21.8(N)よりも大きいと負荷が大きくなり、ジッタが出やすくなる。
【0221】
図13において、イエロー(Y)、マゼンタ(M)、シアン(C)、黒(B)の各色用の4組の像形成ユニット18Y、18M、18C、18Kが、図のように直列状に配置されている。
【0222】
各像形成ユニット18Y、18M、18C、18K、中に入れた現像剤を除きそれぞれ同じ構成部材よりなるので、説明を簡略化するためY用の像形成ユニット18Yについて説明し、他色用のユニットの説明については省略する。
【0223】
像形成ユニットは以下のように構成されている。1は感光体、3は画素レーザ信号光、4はJIS−A硬度60°のシリコーンゴムよりなるφ18mmの現像ロ−ラで、感光体に21Nの力で圧接され、矢印の方向に回転する。6はφ14mmの導電性ウレタンスポンジよりなる供給ローラで、トナーホッパ内のトナーを現像ローラに供給する。5は金属製のブレードで現像ローラ上にトナーの層を形成する。電源は、省略しているが、現像ローラ4には−230Vの直流と、500V(p−p)、周波数1kHzの交流電圧が印可される。供給ローラ6には−330Vの直流バイアスが印可される。
【0224】
2はエピクロルヒドリンゴムよりなるφ12mmの帯電ローラで直流バイアス−1kVが印加される。感光体1表面を−450Vに帯電する。8はクリーナ、9は廃トナーボックス、7はトナーである。
【0225】
紙搬送は転写ユニット17の下方から搬送され、転写ベルト12と第2転写ローラ14との圧接されたニップ部に紙給送ローラ(図示せず)により用紙が送られてくるように、紙搬送路が形成されている。
【0226】
転写ベルト12上のトナーは第2転写ローラ14に印加された+1300Vにより紙に転写され、定着ローラ201、加圧ローラ202、定着ベルト203、加熱媒体ローラ204、インダクションヒータ部205から構成される定着部に搬送され、ここで定着される。
【0227】
図14にその定着プロセス図を示す。定着ローラ201とヒートローラ204との間にベルト203がかけられている。定着ローラ201と加圧ローラ202との間に所定の加重がかけられており、ベルト203と加圧ローラ202との間でニップが形成される。ヒートローラ204の外部周面にはフェライトコア206、とコイル207よりなるインダクションヒータ部205が設けられ、外面には温度センサー208が配置されている。
【0228】
ベルトは30μmのNiを基体としてその上にシリコーンゴムを150μm、さらにその上にPFAチューブ30μmの重ねあわせた構成である。
【0229】
加圧ローラ202は加圧バネ209により定着ローラ201に押しつけられている。トナー210を有する記録材211は、案内板212に沿って動く。
【0230】
定着部材としての定着ローラ201は、長さが250mm、外径が14mm、厚さ1mmのアルミニウム製中空ローラ芯金213の表面に、JIS規格によるゴム硬度(JIS−A)が20度のシリコーンゴムからなる厚さ3mmの弾性層214を設けている。この上にシリコーンゴム層215が3mmの厚みで形成され外径が約20mmとなっている。図示しない駆動モータから駆動力を受けて100mm/sで回転する。
【0231】
ヒートローラ204は肉厚1mm、外径20mmの中空パイプからなっている。定着ローラ表面温度はサーミスタを用いて表面温度170度に制御した。
【0232】
加圧部材としての加圧ローラ202は、長さが250mm、外径20mmである。これは外径16mm、厚さ1mmのアルミニウムからなる中空ローラ芯金216の表面にJIS規格によるゴム硬度(JIS−A)が55度のシリコーンゴムからなる厚さ2mmの弾性層217を設けている。この加圧ローラ202は、回転可能に設置されており、片側147Nのバネ加重のバネ209によって定着ローラ201との間で幅5.0mmのニップ幅を形成している。
【0233】
以下、動作について説明する。フルカラーモードではY,M,C,Kのすべての第一転写ローラ10が押し上げられ、転写ベルト12を介して像形成ユニットの感光体1を押圧している。この時第一転写ローラには+800Vの直流バイアスが印可される。画像信号がレーザ光3から送られ、帯電ローラ2により表面が帯電された感光体1に入射し、静電潜像が形成される。感光体1と接触し反対方向に回転する現像ローラ4上のトナー7が感光体1に形成された静電潜像を顕像化する。
【0234】
このとき像形成ユニット18Yの像形成の速度(感光体の周速に等しい100mm/s)と転写ベルト12の移動速度は感光体速度が転写ベルト速度よりも0.5〜1.5%遅くなるように設定されている。
【0235】
像形成工程により、Yの信号光3Yが像形成ユニット18Yに入力され、Yトナーによる像形成が行われる。像形成と同時に第1転写ローラ10Yの作用で、Yトナー像が感光体1Yから転写ベルト12に転写される。このとき第1転写ローラ10Yには+800Vの直流電圧を印加した。
【0236】
第1色(Y)第一転写と第2色(M)第一転写間のタイムラグを持たせて、Mの信号光3Mが像形成ユニット18Mに入力され、Mトナーによる像形成が行われ、像形成と同時に第1転写ローラ10Mの作用で、Mトナー像が感光体1Mから転写ベルト12に転写される。このとき第一色(Y)トナーが形成されている上にMトナーが転写される。同様にC(シアン)、K(ブラック)トナーによる像形成が行われ、像形成と同時に第1転写ローラ10C、10Bの作用で、YMCKトナー像が転写ベルト12上に形成される。いわゆるタンデム方式と呼ばれる方式である。
【0237】
転写ベルト12上には4色のトナー像が位置的に合致して重ね合わされカラー像が形成された。最後のBトナー像の転写後、4色のトナー像はタイミングを合わせて給紙カセット(図示せず)から送られる紙に、第2転写ローラ14の作用で一括転写される。このとき転写ローラ13は接地し、第2転写ローラ14には+1.3kVの直流電圧を印加した。紙に転写されたトナー像は定着ローラ対201・202により定着された。紙はその後排出ローラ対(図示せず)を経て装置外に排出された。中間転写ベルト12上に残った転写残りのトナーは、クリーニングブレード16の作用で清掃され次の像形成に備えた。
【0238】
(表11)(表12)に図12の電子写真装置により、画像出しを行った結果を示す。(表12)ではトナーが3色重なったフルカラー画像における文字部での転写不良の状態、及び定着での定着ベルトへの紙の巻付き性を評価した。
【0239】
【表11】
【0240】
【表12】
【0241】
かかる電子写真装置により、前記のように製造したトナーを用いて画像出しを行ったところ、横線の乱れやトナーの飛び散り、文字の中抜けなどがなくベタ黒画像が均一で、16本/mmの画線をも再現した極めて高解像度高画質の画像が得られ、画像濃度1.3以上の高濃度の画像が得られた。また、非画像部の地かぶりも発生していなかった。更に、A4用紙1万枚の長期耐久テストにおいても、流動性、画像濃度とも変化が少なく安定した特性を示した。また現像時の全面ベタ画像を取ったときの均一性も良好であった。現像メモリーも発生していない。また転写においても中抜けは実用上問題ないレベルであり、転写効率は90%であった。また、感光体、転写ベルトへのトナーのフィルミングも実用上問題ないレベルであった。転写ベルトのクリーニング不良も未発生であった。また定着時のトナーの乱れやトナー飛びもほとんど生じていない。またクリーニングブレード8を使用せずに転写時の残トナーをこのまま現像での回収を行うクリーナプロセスにおいても、回収がスムーズに行え、前画像の履歴が残ることがなかった。また3色の重なったフルカラー画像においても、転写不良は発生せず、定着時において、定着ベルトへの紙の巻付きは発生しなかった。
【0242】
しかしtm11、ty11、tc11、tb11のトナーは感光体のフィルミングや転写不良や、転写時の文字の飛び散りが発生し、カブリも多く発生した。転写ベルトのフィルミングや、クリーニング不良も発生した。現像時の全面ベタ画像を取ったときに後半部にかすれが生じた。3色重ねの画像出力時には定着ベルトへの紙の巻付きが発生した。定着時にトナー飛びが発生した。
【0243】
次に(表13)にOHP用紙に付着量1.2g/cm2以上のベタ画像をプロセス速度100mm/s、オイルを塗布しないベルトを用いた定着装置にて非オフセット性試験を行った。定着ニップ部でOHPのジャムは発生しなかった。普通紙の全面ベタグリーン画像では、オフセットは122000枚目までは全く発生しなかった。シリコン又はフッ素系の定着ベルトでオイルを塗布せずともベルトの表面劣化現象はみられない。
【0244】
透過率と、高温でのオフセット性を評価した。プロセス速度は100mm/s、定着温度180℃で透過率は分光光度計U−3200(日立製作所)で、700nmの光の透過率を測定した。定着性、耐オフセット性、保存安定性の結果を示す。
【0245】
【表13】
【0246】
OHP透光性が80%以上を示しており、また非オフセット温度幅も40〜60Kとオイルを使用しない定着ローラにおいて良好な定着性を示した。また60℃、5時間の保存安定性においても凝集はほとんど見られなかった。
【0247】
しかしtm11のトナーは貯蔵安定性テストで固まりが生じ、また非オフセット温度域も狭い結果となった。
【0248】
【発明の効果】
以上のように、本発明によれば脂肪酸及び/又は脂肪酸金属塩により処理された無機微粉末を含む構成、さらにはカツプリング剤および/あるいはシリコ−ンオイルにより処理され、かつ脂肪酸及び/または脂肪酸金属塩により処理された無機微粉末を含む構成、さらには少なくともアミノシラン及び/またはシランカツプリング剤により、かつ脂肪酸及び/または脂肪酸金属塩により処理された無機微粉末を含むトナーの構成により構成により、接触式の一成分現像法に使用してもトナーの熱融着や凝集を生じず、長期連続使用での過帯電による画像濃度低下、低温低湿下でのカブリを防止することができ、均一な帯電分布を有し、長期使用しても安定した画像特性を出力し続けることが可能となる。
【0249】
またタンデム方式のカラー電子写真方法で転写時の中抜けや飛び散りを防止し、高転写効率を得ることが可能となる。さらにはコンパクト構成のため、第1色転写から第2色転写までの距離が短く設定されているタンデム方式の構成においても転写時の電荷反発による画像乱れ、転写不良が抑えられる。
【0250】
高湿下での長期使用においても、感光体、転写ベルトのフィルミングを防止することができる。転写ベルトのクリーニング性を向上することができる。クリーニングブレードを使用しないクリーニングプロセスにおいても転写残トナーの回収がスムーズに行え、前画像の履歴が残らないようにすることができる。
【0251】
シリコン又はフッ素系の定着手段(ローラやベルト)でオイルを塗布せずとも、高いカラーOHP画像透光性を維持しながらオフセット性を防止できる。また長期使用しても定着ベルトの表面劣化現象を生じることなく、良好な非オフセット性を維持させることができる。
【図面の簡単な説明】
【図1】本発明の実施例で使用したトナー溶融混練処理の概略斜視図
【図2】本発明の実施例で使用したトナー溶融混練処理の平面図
【図3】本発明の実施例で使用したトナー溶融混練処理の正面図
【図4】本発明の実施例で使用したトナー溶融混練処理の断面図
【図5】本発明の実施例の結着樹脂及びトナーの分子量分布特性を示す図
【図6】本発明の実施例の結着樹脂及びトナーの分子量分布特性を示す図
【図7】本発明の実施例の結着樹脂及びトナーの分子量分布特性を示す図
【図8】本発明の実施例の結着樹脂及びトナーの分子量分布特性を示す図
【図9】本発明の実施例の結着樹脂及びトナーの分子量分布特性を示す図
【図10】本発明の実施例のトナーの分子量分布特性を示す図
【図11】本発明の実施例のトナーの分子量分布特性を示す図
【図12】本発明の実施例の定着助剤の分子量分布特性を示す図
【図13】本発明の実施例で使用した電子写真装置の構成を示す断面図
【図14】本発明の実施例で使用した定着ユニットの構成を示す断面図
【符号の説明】
1 感光体
3 レーザ信号光
4 現像ローラ
5 ブレード
10 第1転写ローラ
12 転写ベルト
14 第2転写ローラ
13 駆動テンションローラ
17 転写ベルトユニット
18B,18C,18M,18Y 像形成ユニット
18 像形成ユニット群
201 定着ローラ
202 加圧ローラ
203 定着ベルト
205 インダクションヒータ部
206 フェライトコア
207 コイル
602 ロール(RL1)
603 ロール(RL2)
604 ロール(RL1)上に巻きついたトナーの溶融膜
605 熱媒体の流入口
606 熱媒体の流出口
Claims (21)
- 酸価1〜70mgKOH/gである結着樹脂と、少なくとも炭素数3〜50の長鎖アルキルアルコールと不飽和多価カルボン酸又はその無水物及びオレフィン系ワックスとの反応により得られる酸価5〜80mgKOH/g、融点90〜120℃、25℃における針入度が4以下であるワックスとを含む着色樹脂粒子と、脂肪酸金属塩により処理された無機微粉末を含むことを特徴とするトナー。
- 酸価1〜70mgKOH/gである結着樹脂と、少なくとも炭素数3〜50の長鎖アルキルアルコールと不飽和多価カルボン酸又はその無水物及びオレフィン系ワックスとの反応により得られる酸価5〜80mgKOH/g、融点90〜120℃、25℃における針入度が4以下であるワックスとを含む着色樹脂粒子と、少なくともカツプリング剤および/あるいはシリコ−ンオイルにより処理され、かつ脂肪酸金属塩により処理された無機微粉末を含むことを特徴とするトナー。
- 酸価1〜70mgKOH/gである結着樹脂と、少なくとも炭素数3〜50の長鎖アルキルアルコールと不飽和多価カルボン酸又はその無水物及びオレフィン系ワックスとの反応により得られる酸価5〜80mgKOH/g、融点90〜120℃、25℃における針入度が4以下であるワックスとを含む着色樹脂粒子と、少なくともアミノシラン及び/またはシランカツプリング剤により、かつ脂肪酸金属塩により処理された無機微粉末を含むことを特徴とするトナー。
- 酸価1〜70mgKOH/gである結着樹脂と、少なくとも炭素数3〜50の長鎖アルキルアルコールと不飽和多価カルボン酸又はその無水物及びオレフィン系ワックスとの反応により得られる酸価5〜80mgKOH/g、融点90〜120℃、25℃における針入度が4以下であるワックスとを含む着色樹脂粒子と、外添剤とから構成されるトナーであって、前記外添剤が、正帯電性を有する無機微粉末と、脂肪酸金属塩により処理された無機微粉末を含むことを特徴とするトナー。
- 酸価1〜70mgKOH/gである結着樹脂と、少なくとも炭素数3〜50の長鎖アルキルアルコールと不飽和多価カルボン酸又はその無水物及びオレフィン系ワックスとの反応により得られる酸価5〜80mgKOH/g、融点90〜120℃、25℃における針入度が4以下であるワックスとを含む着色樹脂粒子と、外添剤とから構成されるトナーであって、前記外添剤が、正帯電性を有する無機微粉末Aと、脂肪酸金属塩により処理された無機微粉末Bを含み、無機微粉末Aの平均粒径が8〜40nm、無機微粉末Bの平均粒径が16〜100nmであり、かつ無機微粉末Aの平均粒径が無機微粉末Bの平均粒径よりも小さいことを特徴とするトナー。
- 結着樹脂が多価アルコールと、芳香族系ジカルボン酸及び3価以上の多価カルボン酸又はその低級アルキルエステルを含有するカルボン酸成分とを縮重合によって得られるポリエステル樹脂を含む請求項1〜5いずれか記載のトナー。
- 結着樹脂が多価アルコールと、脂肪族系ジカルボン酸及び3価以上の多価カルボン酸又はその低級アルキルエステルを含有するカルボン酸成分とを縮重合によって得られるポリエステル樹脂を含む請求項1〜5いずれか記載のトナー。
- 脂肪酸金属塩により処理された無機微粉末のメタノール滴定による疎水化度が50%以上である請求項1〜5いずれか記載のトナー。
- 脂肪酸金属塩により処理された無機微粉末の500℃での強熱減量が1.5〜11.5%である請求項1〜5いずれか記載のトナー。
- 脂肪酸金属塩により処理された無機微粉末が、平均粒径が35〜100nmであるシリカ又は酸化チタン微粉末を含み、前記無機微粉末をトナー母体粒子100重量部に当たり0.8〜3.5重量部添加する請求項1〜5いずれか記載のトナー。
- 少なくとも像担持体と前記像担持体に静電潜像を形成する帯電手段とトナー担持体を含むトナー像形成ステーションを複数個有し、前記像担持体上に形成した静電潜像を、酸価1〜70mgKOH/gである結着樹脂と、少なくとも炭素数3〜50の長鎖アルキルアルコールと不飽和多価カルボン酸又はその無水物及びオレフィン系ワックスとの反応により得られる酸価5〜80mgKOH/g、融点90〜120℃、25℃における針入度が4以下であるワックスとを含むトナー母体100重量部に対して、脂肪酸金属塩で処理された無機微粉末を0.8〜3.5重量部添加したトナーにより顕像化し、前記顕像化したトナー像を、順次連続して転写媒体に転写させる転写プロセスが実行されるよう構成されたことを特徴とする電子写真装置。
- 少なくとも像担持体と前記像担持体に静電潜像を形成する帯電手段とトナー担持体を含むトナー像形成ステーションを複数個有し、前記像担持体上に形成した静電潜像を、酸価1〜70mgKOH/gである結着樹脂と、少なくとも炭素数3〜50の長鎖アルキルアルコールと不飽和多価カルボン酸又はその無水物及びオレフィン系ワックスとの反応により得られる酸価5〜80mgKOH/g、融点90〜120℃、25℃における針入度が4以下であるワックスとを含むトナー母体100重量部に対して、少なくともカツプリング剤および/あるいはシリコ−ンオイルで処理され、かつ脂肪酸金属塩により表面処理を施した無機微粉末を0.8〜3.5重量部添加したトナーにより顕像化し、前記顕像化したトナー像を、順次連続して転写媒体に転写させる転写プロセスが実行されるよう構成されたことを特徴とする電子写真装置。
- 少なくとも像担持体と前記像担持体に静電潜像を形成する帯電手段とトナー担持体を含むトナー像形成ステーションを複数個有し、前記像担持体上に形成した静電潜像を、酸価1〜70mgKOH/gである結着樹脂と、少なくとも炭素数3〜50の長鎖アルキルアルコールと不飽和多価カルボン酸又はその無水物及びオレフィン系ワックスとの反応により得られる酸価5〜80mgKOH/g、融点90〜120℃、25℃における針入度が4以下であるワックスとを含むトナー母体に、少なくとも正帯電性を有する無機微粉末と、脂肪酸金属塩により処理された無機微粉末を添加したトナーにより顕像化し、前記顕像化したトナー像を、順次連続して転写媒体に転写させる転写プロセスが実行されるよう構成されたことを特徴とする電子写真装置。
- 少なくとも像担持体と前記像担持体に静電潜像を形成する帯電手段とトナー担持体を含むトナー像形成ステーションを複数個有し、前記像担持体上に形成した静電潜像を、酸価1〜70mgKOH/gである結着樹脂と、少なくとも炭素数3〜50の長鎖アルキルアルコールと不飽和多価カルボン酸又はその無水物及びオレフィン系ワックスとの反応により得られる酸価5〜80mgKOH/g、融点90〜120℃、25℃における針入度が4以下であるワックスとを含むトナー母体に、少なくとも正帯電性を有する無機微粉末Aと、脂肪酸金属塩により処理された無機微粉末Bを含み、無機微粉末Aの平均粒径が8〜40nm、無機微粉末Bの平均粒径が16〜100nmであり、かつ無機微粉末Bよりも平均粒径が小さい無機微粉末Aを添加したトナーにより顕像化し、前記顕像化したトナー像を、順次連続して転写媒体に転写させる転写プロセスが実行されるよう構成されたことを特徴とする電子写真装置。
- 少なくとも像担持体と前記像担持体に静電潜像を形成する帯電手段とトナー担持体を含むトナー像形成ステーションを複数個有し、像担持体上に形成した静電潜像を、酸価1〜70mgKOH/gである結着樹脂と、少なくとも炭素数3〜50の長鎖アルキルアルコールと不飽和多価カルボン酸又はその無水物及びオレフィン系ワックスとの反応により得られる酸価5〜80mgKOH/g、融点90〜120℃、25℃における針入度が4以下であるワックスとを含むトナー母体100重量部に対して脂肪酸金属塩で処理された無機微粉末を0.8〜3.5重量部添加したトナーにより顕像化し、前記像担持体に無端状の転写体を当接させて前記転写体に前記顕像化したトナーを転写させる一次転写プロセスを順次連続して実行して、前記転写体に多層のトナー像を形成し、その後前記転写体に形成した前記多層のトナー像を、一括して転写媒体に転写させる二次転写プロセスが実行されるよう構成されたことを特徴とする電子写真装置。
- 少なくとも像担持体と前記像担持体に静電潜像を形成する帯電手段とトナー担持体を含むトナー像形成ステーションを複数個有し、像担持体上に形成した静電潜像を、酸価1〜70mgKOH/gである結着樹脂と、少なくとも炭素数3〜50の長鎖アルキルアルコールと不飽和多価カルボン酸又はその無水物及びオレフィン系ワックスとの反応により得られる酸価5〜80mgKOH/g、融点90〜120℃、25℃における針入度が4以下であるワックスとを含むトナー母体100重量部に対して、少なくともカツプリング剤および/あるいはシリコ−ンオイルで処理され、かつ脂肪酸金属塩により表面処理を施した無機微粉末を0.8〜3.5重量部添加したトナーにより顕像化し、前記像担持体に無端状の転写体を当接させて前記転写体に前記顕像化したトナーを転写させる一次転写プロセスを順次連続して実行して、前記転写体に多層のトナー像を形成し、その後前記転写体に形成した前記多層のトナー像を、一括して転写媒体に転写させる二次転写プロセスが実行されるよう構成されたことを特徴とする電子写真装置。
- 少なくとも像担持体と前記像担持体に静電潜像を形成する帯電手段とトナー担持体を含むトナー像形成ステーションを複数個有し、像担持体上に形成した静電潜像を、酸価1〜70mgKOH/gである結着樹脂と、少なくとも炭素数3〜50の長鎖アルキルアルコールと不飽和多価カルボン酸又はその無水物及びオレフィン系ワックスとの反応により得られる酸価5〜80mgKOH/g、融点90〜120℃、25℃における針入度が4以下であるワックスとを含むトナー母体に、少なくとも正帯電性を有する無機微粉末と、脂肪酸金属塩により処理された無機微粉末を添加したトナーにより顕像化し、前記像担持体に無端状の転写体を当接させて前記転写体に前記顕像化したトナーを転写させる一次転写プロセスを順次連続して実行して、前記転写体に多層のトナー像を形成し、その後前記転写体に形成した前記多層のトナー像を、一括して転写媒体に転写させる二次転写プロセスが実行されるよう構成されたことを特徴とする電子写真装置。
- 少なくとも像担持体と前記像担持体に静電潜像を形成する帯電手段とトナー担持体を含むトナー像形成ステーションを複数個有し、像担持体上に形成した静電潜像を、酸価1〜70mgKOH/gである結着樹脂と、少なくとも炭素数3〜50の長鎖アルキルアルコールと不飽和多価カルボン酸又はその無水物及びオレフィン系ワックスとの反応により得られる酸価5〜80mgKOH/g、融点90〜120℃、25℃における針入度が4以下であるワックスとを含むトナー母体に、少なくとも正帯電性を有する無機微粉末Aと、脂肪酸金属塩により処理された無機微粉末Bを含み、無機微粉末Aの平均粒径が8〜40nm、無機微粉末Bの平均粒径が16〜100nmであり、かつ無機微粉末Bよりも平均粒径が小さい無機微粉末Aを添加したトナーにより顕像化し、前記像担持体に無端状の転写体を当接させて前記転写体に前記顕像化したトナーを転写させる一次転写プロセスを順次連続して実行して、前記転写体に多層のトナー像を形成し、その後前記転写体に形成した前記多層のトナー像を、一括して転写媒体に転写させる二次転写プロセスが実行されるよう構成されたことを特徴とする電子写真装置。
- 転写プロセスが、第1の転写位置から第2の転写位置までの距離をd1(mm)、感光体の周速度をv(mm/s)とした場合、d1/v≦0.65(sec)の条件を満足する構成である請求項11〜18いずれか記載の電子写真装置。
- 転写体が転写ベルトであり、前記転写ベルトの表面抵抗が107〜1012Ω/□で、体積抵抗が107〜1012Ω・cmである請求項15〜18いずれか記載の電子写真装置。
- 第1転写の転写ローラの抵抗値が102〜106Ω・cmで、第2転写に使用する転写ローラの抵抗値が102〜106Ω・cmである請求項15〜18いずれか記載の電子写真装置。
Priority Applications (1)
| Application Number | Priority Date | Filing Date | Title |
|---|---|---|---|
| JP2001234540A JP4457537B2 (ja) | 2001-08-02 | 2001-08-02 | トナー及び電子写真装置 |
Applications Claiming Priority (1)
| Application Number | Priority Date | Filing Date | Title |
|---|---|---|---|
| JP2001234540A JP4457537B2 (ja) | 2001-08-02 | 2001-08-02 | トナー及び電子写真装置 |
Publications (2)
| Publication Number | Publication Date |
|---|---|
| JP2003043733A JP2003043733A (ja) | 2003-02-14 |
| JP4457537B2 true JP4457537B2 (ja) | 2010-04-28 |
Family
ID=19066135
Family Applications (1)
| Application Number | Title | Priority Date | Filing Date |
|---|---|---|---|
| JP2001234540A Expired - Fee Related JP4457537B2 (ja) | 2001-08-02 | 2001-08-02 | トナー及び電子写真装置 |
Country Status (1)
| Country | Link |
|---|---|
| JP (1) | JP4457537B2 (ja) |
Families Citing this family (6)
| Publication number | Priority date | Publication date | Assignee | Title |
|---|---|---|---|---|
| JP4092995B2 (ja) * | 2002-09-19 | 2008-05-28 | 富士ゼロックス株式会社 | 静電荷像乾式トナー組成物、静電潜像現像用現像剤及び画像形成方法 |
| US7135263B2 (en) * | 2003-09-12 | 2006-11-14 | Canon Kabushiki Kaisha | Toner |
| JP2007079205A (ja) * | 2005-09-15 | 2007-03-29 | Ricoh Co Ltd | 静電潜像現像用トナー、これを用いた現像剤および画像形成方法 |
| JP4803013B2 (ja) * | 2006-12-08 | 2011-10-26 | コニカミノルタビジネステクノロジーズ株式会社 | 画像形成方法及び画像形成装置 |
| JP6727759B2 (ja) * | 2015-04-09 | 2020-07-22 | サムスン エレクトロニクス カンパニー リミテッド | トナー用外添剤及びトナー |
| EP3059636A1 (en) | 2015-02-18 | 2016-08-24 | Samsung Electronics Co., Ltd. | Toner for developing electrostatic charge image and method for preparing the same |
-
2001
- 2001-08-02 JP JP2001234540A patent/JP4457537B2/ja not_active Expired - Fee Related
Also Published As
| Publication number | Publication date |
|---|---|
| JP2003043733A (ja) | 2003-02-14 |
Similar Documents
| Publication | Publication Date | Title |
|---|---|---|
| JP4440480B2 (ja) | トナー | |
| JP4197516B2 (ja) | トナーと二成分現像剤及び画像形成方法 | |
| US20100104971A1 (en) | Toner, method for producing toner, two component developer, and image forming apparatus | |
| JP4149998B2 (ja) | 二成分現像剤及びこれを用いた画像形成方法 | |
| JP3985591B2 (ja) | トナー及び画像形成装置 | |
| JP4244430B2 (ja) | トナー | |
| JP4457537B2 (ja) | トナー及び電子写真装置 | |
| JP4211204B2 (ja) | トナー及びトナーの製造方法 | |
| JP4400192B2 (ja) | トナー、トナーにおける結着樹脂および結晶性樹脂成分の選定方法 | |
| JP2005010454A (ja) | トナー、二成分現像剤及び画像形成装置 | |
| JP3925228B2 (ja) | トナー及び画像形成装置 | |
| JP4457540B2 (ja) | トナー及び電子写真装置 | |
| JP2002014488A (ja) | トナー及び電子写真装置 | |
| JP3975788B2 (ja) | トナーの製造方法及び画像形成装置 | |
| JP2002040712A (ja) | トナー及び電子写真装置 | |
| JP4443800B2 (ja) | トナー及び電子写真装置 | |
| JP4134822B2 (ja) | トナー、二成分現像剤及び画像形成装置 | |
| JP4362978B2 (ja) | トナー及び電子写真装置 | |
| JP4172337B2 (ja) | トナー、二成分現像剤及び画像形成装置 | |
| JP2003162090A (ja) | トナー、トナーの製造方法及び画像形成装置 | |
| JP4492001B2 (ja) | トナー及び電子写真装置 | |
| JP3932932B2 (ja) | トナー | |
| JP2003084481A (ja) | トナー及び電子写真装置 | |
| JP2003043727A (ja) | トナー及び電子写真装置 | |
| JP2003043743A (ja) | トナー及び電子写真装置 |
Legal Events
| Date | Code | Title | Description |
|---|---|---|---|
| A621 | Written request for application examination |
Free format text: JAPANESE INTERMEDIATE CODE: A621 Effective date: 20080529 |
|
| RD01 | Notification of change of attorney |
Free format text: JAPANESE INTERMEDIATE CODE: A7421 Effective date: 20080612 |
|
| A977 | Report on retrieval |
Free format text: JAPANESE INTERMEDIATE CODE: A971007 Effective date: 20091001 |
|
| A131 | Notification of reasons for refusal |
Free format text: JAPANESE INTERMEDIATE CODE: A131 Effective date: 20091006 |
|
| RD01 | Notification of change of attorney |
Free format text: JAPANESE INTERMEDIATE CODE: A7421 Effective date: 20091119 |
|
| A521 | Written amendment |
Free format text: JAPANESE INTERMEDIATE CODE: A523 Effective date: 20091204 |
|
| TRDD | Decision of grant or rejection written | ||
| A01 | Written decision to grant a patent or to grant a registration (utility model) |
Free format text: JAPANESE INTERMEDIATE CODE: A01 Effective date: 20100119 |
|
| A01 | Written decision to grant a patent or to grant a registration (utility model) |
Free format text: JAPANESE INTERMEDIATE CODE: A01 |
|
| A61 | First payment of annual fees (during grant procedure) |
Free format text: JAPANESE INTERMEDIATE CODE: A61 Effective date: 20100201 |
|
| R151 | Written notification of patent or utility model registration |
Ref document number: 4457537 Country of ref document: JP Free format text: JAPANESE INTERMEDIATE CODE: R151 |
|
| FPAY | Renewal fee payment (event date is renewal date of database) |
Free format text: PAYMENT UNTIL: 20130219 Year of fee payment: 3 |
|
| FPAY | Renewal fee payment (event date is renewal date of database) |
Free format text: PAYMENT UNTIL: 20130219 Year of fee payment: 3 |
|
| FPAY | Renewal fee payment (event date is renewal date of database) |
Free format text: PAYMENT UNTIL: 20140219 Year of fee payment: 4 |
|
| LAPS | Cancellation because of no payment of annual fees |
