JP4455774B2 - パネル取付具 - Google Patents
パネル取付具 Download PDFInfo
- Publication number
- JP4455774B2 JP4455774B2 JP2001041262A JP2001041262A JP4455774B2 JP 4455774 B2 JP4455774 B2 JP 4455774B2 JP 2001041262 A JP2001041262 A JP 2001041262A JP 2001041262 A JP2001041262 A JP 2001041262A JP 4455774 B2 JP4455774 B2 JP 4455774B2
- Authority
- JP
- Japan
- Prior art keywords
- fixed
- panel
- panel body
- movable
- movable member
- Prior art date
- Legal status (The legal status is an assumption and is not a legal conclusion. Google has not performed a legal analysis and makes no representation as to the accuracy of the status listed.)
- Expired - Fee Related
Links
- 238000003780 insertion Methods 0.000 description 3
- 230000037431 insertion Effects 0.000 description 3
- 241000755266 Kathetostoma giganteum Species 0.000 description 1
- 230000032683 aging Effects 0.000 description 1
- 239000002928 artificial marble Substances 0.000 description 1
- 238000005452 bending Methods 0.000 description 1
- 230000006866 deterioration Effects 0.000 description 1
- 230000000694 effects Effects 0.000 description 1
- 238000004519 manufacturing process Methods 0.000 description 1
- 239000000463 material Substances 0.000 description 1
- 229920005989 resin Polymers 0.000 description 1
- 239000011347 resin Substances 0.000 description 1
- 229920003002 synthetic resin Polymers 0.000 description 1
- 239000000057 synthetic resin Substances 0.000 description 1
- 238000005406 washing Methods 0.000 description 1
Images
Landscapes
- Bathtubs, Showers, And Their Attachments (AREA)
- Connection Of Plates (AREA)
Description
【発明の属する技術分野】
本発明は、固定体に対してパネル体を取り付けるためのパネル取付具に関するものである。
【0002】
【従来の技術】
一般住宅用の浴槽は、その上縁及び内面のみの表面が、合成樹脂や人工大理石などで見栄え良く加工されている。またその縁の高さを洗い場の床面よりも高くして設置されており、特にシステムバスの場合、浴槽における洗い場側に面する部分は、浴室の壁面や浴槽のデザインに合わせて形成されたパネル体によって隠蔽されることが一般的である。
【0003】
さて、このようなパネル体の取付構造として、従来、パネル体の内面の下端に差込金具を設けると共に、浴槽の底部外面に挟持体を設け、浴槽の上縁の内側にパネル体の上端を嵌め込んだ状態で、パネル体の下端を浴槽側に押しつけることによって差込金具を挟持体に挟み込ませるようにしたものが知られている(実開平4−51289号公報参照)。
【0004】
【発明が解決しようとする課題】
しかるに、上記従来の構造にあっては、差込金具を挟持する挟持体の弾発力にのみパネル体の保持力を依存することから、脱却可能とするには保持力を低く設定しなければならないなど、保持力を適切に設定することが困難であった。また挟持体の経年劣化などを考慮すると、長期に亘って初期の保持力を維持することは困難であり、その信頼性にも問題があった。
【0005】
また、挟持体と差込金具との相対位置精度が低いと、所望の保持力が得られなくなるばかりでなく、場合によっては組み立てが不能となるので、挟持体と差込金具との上下位置の調節手段が不可欠であり、上記公報には、上下方向の長孔を介して挟持体をねじ止めすることでその上下位置を調節可能とした構造が開示されている。
【0006】
しかしながら、上記長孔による調節構造は、差込金具を挟持体に合わせる作業自体がブラインド作業となるため、誤差があった場合、どの程度の修正をしなければならないかの判断を下すことが困難であった。
【0007】
本発明は、上記のような従来技術の問題点を解消すべく案出されたものであり、その第1の目的は、十分な保持力が確保でき、しかも脱却が比較的容易に行えるように構成されたパネル取付具を提供することにある。またその第2の目的は、固定体とパネル体との相対位置誤差を容易に修正することができるように構成されたパネル取付具を提供することにある。
【0008】
上記第1の目的を達成するために、本願請求項1の発明は、固定体(実施の形態中の固定壁4)に対してパネル体(7)を取り付けるべく、前記パネル体と前記固定体との間に設けられるパネル取付具(11)であって、前記固定体および前記パネル体の一方に固定された固定部材(16)と、前記固定体および前記パネル体の他方に水平方向に延設されたガイド手段(10)と、前記ガイド手段に摺動可能に支持された基部(実施の形態中の挟持部13)と、前記基部に突設され、前記基部の摺動方向において前記基部よりも短く形成された第1ガイド壁(17)とを備えた可動部材(12)とを有し、前記固定体に対して前記パネル体を取り付ける際に、前記パネル体を前記固定体側に押し付けることによって前記固定部材と前記基部とが当接し、前記パネル体が前記固定体に仮止めされた状態が形成され、この状態から前記可動部材が前記ガイド手段に対して摺動させられることによって、前記第1ガイド壁と前記固定部材とが係合することを特徴とする。
【0009】
このようにすれば、パネル体の着脱方向と、取付具の係合・離脱方向とが、互いに異なる方向となるので、固定体に対するパネル体の十分な保持力と脱却容易性とを両立させることができる。
【0010】
また本願請求項2の発明は、第1の発明において、前記可動部材は、前記基部の前記第1ガイド壁と前記ガイド手段が延設された前記固定体または前記パネル体との間に突設され、前記基部の摺動方向において前記第1ガイド壁よりも長く形成された第2ガイド壁(18)を備えることを特徴とする。また本願請求項3の発明は、可動部材を摺動操作すべくパネル体の下端縁からアクセス可能な操作片(22)を可動部材に設けるものとした。これによれば、パネル体の外方から簡単に可動部材を固定部材に対して係合・離脱させることができる。
【0011】
さらに本願請求項4の発明においては、前記可動、固定両部材が、左右対称形をなし、左右いずれの側からも係合・離脱可能であるものとした。これによれば、左右勝手違いに対しても共通の部品で対応することができる。
【0012】
そして上記第2の目的を達成するために、本願請求項5の発明においては、固定体に対してパネル体を取り付けるべく、パネル体と固定体との間に設けられるパネル取付具を、互いに直線摺動して係合・離脱可能に組み合わされる可動部材および固定部材と、可動、固定両部材のいずれか一方に設けられた受容部(実施の形態中の箱状部25)に支持されると共に他方に設けられた当接面(挟持部13の下面)に当接して該可動、固定両部材のパネル体および固定体に対する取付面同士間の寸法を規定するアジャスタ部材(29)とを有し、前記アジャスタ部材は、受容部の内面に対応する面と当接面に対応する面との間隔が互いに異なる(A>B>C>D)多角形をなしており、該アジャスタ部材の向きを変えることによって可動、固定両部材のパネル体および固定体に対する取付面同士間の寸法が変化するようにしてなることを特徴とするものとした。
【0013】
このようにすれば、アジャスタ部材の向きを変えるだけで固定体とパネル体との相対位置誤差を容易に修正することができる。
【0014】
【発明の実施の形態】
以下、添付の図面を参照して本発明について詳細に説明する。
【0015】
図1並びに図2は、本発明の適用部位であるシステムバスに於ける浴槽の側壁の一部を示している。浴槽1は、その開口面に形成された外向フランジ2が、洗い場の床板3の上面から立ち上げられて直立する固定体としての固定壁4の上端縁4aに引掛けられている。また外向フランジ2には、その外端縁を下向きに折り曲げることによって垂下部5が形成されている。
【0016】
床板3と固定壁4との間には、断面形状がクランク状をなすように折曲形成された段部6が、床板3の上面からやや高い位置に設けられている。そして段部6と外向フランジ2との間が、パネル体7で覆われるようにされている。
【0017】
パネル体7の上端には、断面形状がクランク状をなす段部8が形成されると共に、その最上面の内縁部に板ばね9が固定されている。そしてパネル体7は、板ばね9の遊端を固定壁4の上端部外面に弾圧させ、かつ段部8の外面を外向フランジ2の垂下部5の内面に当接させることにより、その上端を浴槽1の外向フランジ2に係合させるようになっている。
【0018】
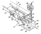
パネル体7の下端縁近傍の内面には、水平方向に延在するガイドリブ10が形成されている。このガイドリブ10には、本発明による取付具11の一方を構成する可動部材12が、その上部に形成された断面形状がコ字状をなす挟持部13で挟むようにして取り付けられている。
【0019】
可動部材12は、図3並びに図4に示したように、左右対称形に形成されており、その挟持部13には、パネル体7の一般面に平行な長孔14が形成されている。この長孔14とガイドリブ10の適所に形成された丸孔15とに樹脂クリップCLを矢印A(図3)の向きに貫通させることにより、所定範囲を摺動可能なるようにガイドリブ10に可動部材12が結合している。
【0020】
可動部材12の挟持部13の下面には、後記する取付具11の他方を構成する固定部材16の前後両面を挟むように、前後一対のガイド壁17・18が垂下されている。これらのガイド壁17・18は、図4に併せて示されるように、パネル体7から遠い側の内側ガイド壁17の方が、パネル体7に近い側の外側ガイド壁18に比して左右方向寸法を短くされ、且つその外面に適宜に設けられたリブ19で補強されている。また、内側ガイド壁17の内面の左右方向中央には、リブ状のストッパ突起20が垂直方向に延設され、外側ガイド壁18の内面には、断面形状がV字形をなす左右一対の突条21が垂直方向に延設されている。そして外側ガイド壁18の下縁の左右方向中央には、操作片22が垂設されている。
【0021】
他方、床板3と固定壁4との間の段部6の上面には、上記可動部材12の前後一対のガイド壁17・18間に係合し得る固定部材16がビス23をもって固定されている。この固定部材16は、段部6の上面に固定されるベース部24と、ベース部24の前端に立ち上げられた上面が開口する箱状部25とからなっている。箱状部25は、その前後方向厚さが可動部材12の前後一対のガイド壁17・18間の寸法と略等しくされており、その前後面の中央には、V字溝26が垂直方向に延設され、その内側の左右方向中央の底面には、垂直方向の突片27が形成され、その左右両外端部には、テーパ状に先細りになったガイド部28が形成されている。
【0022】
可動部材12と固定部材16との取付位置関係は、床板3と連続した段部6の適宜な位置に固定部材16が固定されているとした時に、可動部材12は、図3で見て、左方の初期位置から右方へ所定距離スライド可能であり、初期位置にある状態で、内側ガイド壁17の右端が固定部材16の左側ガイド部28と干渉しないように定められている。なお、これらの取付具11は、パネル体7の適所に複数箇所設けられている。また、可動部材12は左右対称形なので、そのスライド方向をいずれの方向に設定しても良いが、混乱のないように規則性をもたせておくことが好ましい。
【0023】
この状態で、先ずパネル体7の下縁を手前側にしてその上縁を浴槽1の外向きフランジ2に係合させる(段落番号0017参照)。次にパネル体7の下縁を床板3と固定壁4間の段部6へ向けて押し付ける。すると、外側ガイド壁18が内側ガイド壁17より左右方向に出っ張っているので、その出っ張り部分が固定部材16の箱状部25の前面に当接し、かつ箱状部25の上面に可動部材12の挟持部13の下面が乗っかって仮止めされる。
【0024】
この状態で、パネル体7の下縁から可動部材12の操作片22が僅かに下向きに突出しているので、この操作片22を指先で押すなどして可動部材12を図3上で右方へ移動させる。これにより、両ガイド壁17・18間に箱状部25が受容され、且つ突条21とV字溝26とが材料自体の弾性で互いに係合する。この時の可動部材12の移動距離は、可動部材12の外側ガイド壁18内面のストッパ突起20が固定部材16の左側ガイド部28の端面に当接することで規定される。
【0025】
以上のようにして、本発明によれば、パネル体7の着脱方向と取付具11の係合方向とが互いに異なる方向となっており、このようにすることで、取付具11の係合時には所望の保持力が得られ、且つ可動部材12をスライドさせるのみで容易にパネル体7を着脱可能な状態にすることができる。
【0026】
さて、上記の可動部材12と固定部材16とからなる取付具11は、例えばパネル体7の左右にそれぞれ設けられているが、左右の取付具11の高さ位置に誤差があると、外向きフランジ2の垂下部5とパネル体7の段部8との間の隙間G(図1)が不均一となって見栄えが悪くなるので、この隙間Gが均一となるように、左右に設けた取付具11の少なくとも一方にアジャスタを設けるものとしている。
【0027】
アジャスタ29は、固定部材16の箱状部25内に受容されると共に、可動部材12の挟持部13の下面に当接することによってパネル体7の取付高さを調節するものであり、図5に示したように、四角柱状をなすと共にその各側面に深さが互いに異なる(A>B>C>D)溝30a・30b・30c・30dが形成されており、箱状部25の内側に設けられた突片27にこれらの溝30a・30b・30c・30dのいずれか1つを選択的に係合させることにより、その上面の高さ位置を簡単に変化させることができるようになっている。
【0028】
なお、アジャスタ29を受容する箱状部25のパネル体7側の底部には、例えばマイナスドライバなどの先端を突入させることができる程度の切欠部31が形成されており(図1参照)、段部6に固定された固定部材16の箱状部25からアジャスタ29を取り出す際には、この切欠部31から突入させたマイナスドライバの先端でアジャスタ29を押し上げることができるようにされている。
【0029】
【発明の効果】
以上、詳述した通り、本発明の請求項1によるパネル取付具によれば、パネル体及び固定体に設けられた係合部材の一方(可動部材)を、パネル体の縁に沿って、即ち固定体(浴槽)に対するパネル体の着脱方向と略直交する方向に、スライドさせることにより、係合部材の他方(固定部材)と係合・離脱する構造としたので、製造精度や組付精度をさほど高くしなくても、初期の保持力が経年劣化せずに長期間に亘って維持され、しかも、パネル体の脱却時に要する力が小さくて済むので、高い着脱作業性が得られる。
【0030】
特に、パネル体の下端縁からアクセス可能な操作片を可動部材に設けるものとすれば、パネル体の外方から簡単に可動部材を固定部材に対して係合・離脱させることができ、また、可動、固定両部材が、左右対称形をなし、左右いずれの側からも係合・離脱可能であるものとすれば、左右勝手違いに対しても共通の部品で対応することができる。
【0031】
そして本発明の請求項4のアジャスタによれば、係合部材の一方に設けられた当接面に対応する面と、係合部材の他方に設けられた受容部の内面に対応する面との間隔が互いに異なる多角形をなし、該アジャスタの向きを変えることによって係合部材のパネル体および固定体に対する取付面同士間の寸法が変化するようにしたので、アジャスタの向きを変えるだけで高さ位置の調節を簡単に行うことができる。
【図面の簡単な説明】
【図1】本発明が適用されたシステムバスに於ける浴槽とパネル体との結合部の縦断面図
【図2】本発明が適用されたシステムバスに於ける浴槽の一部を切除して示す斜視図
【図3】本発明による取付具の斜視図
【図4】本発明による取付具の図1中のIV−IV線に沿う断面図
【図5】本発明によるアジャスタの正面図
【符号の説明】
4 固定壁
7 パネル体
10 ガイドリブ
11 取付具
12 可動部材
16 固定部材
22 操作片
25 箱状部
29 アジャスタ
Claims (5)
- 固定体に対してパネル体を取り付けるべく、前記パネル体と前記固定体との間に設けられるパネル取付具であって、
前記固定体および前記パネル体の一方に固定された固定部材と、
前記固定体および前記パネル体の他方に水平方向に延設されたガイド手段と、
前記ガイド手段に摺動可能に支持された基部と、前記基部に突設され、前記基部の摺動方向において前記基部よりも短く形成された第1ガイド壁とを備えた可動部材と
を有し、
前記固定体に対して前記パネル体を取り付ける際に、前記パネル体を前記固定体側に押し付けることによって前記固定部材と前記基部とが当接し、前記パネル体が前記固定体に仮止めされた状態が形成され、この状態から前記可動部材が前記ガイド手段に対して摺動させられることによって、前記第1ガイド壁と前記固定部材とが係合することを特徴とするパネル取付具。 - 前記可動部材は、前記基部の前記第1ガイド壁と前記ガイド手段が延設された前記固定体または前記パネル体との間に突設され、前記基部の摺動方向において前記第1ガイド壁よりも長く形成された第2ガイド壁を備えることを特徴とする、請求項1に記載のパネル取付具。
- 前記可動部材を摺動操作すべく前記パネル体の端縁からアクセス可能な操作片が前記可動部材に設けられていることを特徴とする請求項1または請求項2に記載のパネル取付具。
- 前記可動、固定両部材は、左右いずれの側からも係合・離脱可能なように左右対称形をなしていることを特徴とする請求項1〜請求項3のいずれかの項に記載のパネル取付具。
- 固定体に対してパネル体を取り付けるべく、前記パネル体と前記固定体との間に設けられるパネル取付具であって、
互いに直線摺動して係合・離脱可能に組み合わされる可動部材および固定部材と、
前記可動、固定両部材のいずれか一方に設けられた受容部に支持されると共に他方に設けられた当接面に当接して該可動、固定両部材の前記パネル体および前記固定体に対する取付面同士間の寸法を規定するアジャスタ部材とを有し、
前記アジャスタ部材は、前記受容部の内面に対応する面と前記当接面に対応する面との間隔が互いに異なる多角形をなしており、該アジャスタ部材の向きを変えることによって前記可動、固定両部材の前記パネル体および前記固定体に対する取付面同士間の寸法が変化するようにしてなることを特徴とするパネル取付具。
Priority Applications (1)
| Application Number | Priority Date | Filing Date | Title |
|---|---|---|---|
| JP2001041262A JP4455774B2 (ja) | 2001-02-19 | 2001-02-19 | パネル取付具 |
Applications Claiming Priority (1)
| Application Number | Priority Date | Filing Date | Title |
|---|---|---|---|
| JP2001041262A JP4455774B2 (ja) | 2001-02-19 | 2001-02-19 | パネル取付具 |
Publications (2)
| Publication Number | Publication Date |
|---|---|
| JP2002242910A JP2002242910A (ja) | 2002-08-28 |
| JP4455774B2 true JP4455774B2 (ja) | 2010-04-21 |
Family
ID=18903728
Family Applications (1)
| Application Number | Title | Priority Date | Filing Date |
|---|---|---|---|
| JP2001041262A Expired - Fee Related JP4455774B2 (ja) | 2001-02-19 | 2001-02-19 | パネル取付具 |
Country Status (1)
| Country | Link |
|---|---|
| JP (1) | JP4455774B2 (ja) |
Families Citing this family (1)
| Publication number | Priority date | Publication date | Assignee | Title |
|---|---|---|---|---|
| JP6984152B2 (ja) * | 2017-03-24 | 2021-12-17 | Toto株式会社 | 浴室ユニット |
-
2001
- 2001-02-19 JP JP2001041262A patent/JP4455774B2/ja not_active Expired - Fee Related
Also Published As
| Publication number | Publication date |
|---|---|
| JP2002242910A (ja) | 2002-08-28 |
Similar Documents
| Publication | Publication Date | Title |
|---|---|---|
| CN102006801B (zh) | 抽屉 | |
| CN101951807B (zh) | 包括用于壁元件的固定装置的抽屉 | |
| KR100915507B1 (ko) | 문틀 모서리고정구 어셈블리 | |
| KR20130094887A (ko) | 자동차의 실내 손잡이 조립용 클립 모듈 | |
| US20210244206A9 (en) | Planar display assembly | |
| CN107307632A (zh) | 用于在移动式家具部件上安装后壁的设备 | |
| JP3022813B2 (ja) | スナップ取付構造 | |
| US20220355666A1 (en) | Assembly part for connecting a dashboard to a body part of a vehicle | |
| JP4455774B2 (ja) | パネル取付具 | |
| JP6021076B2 (ja) | パネル取付装置 | |
| JP4336956B2 (ja) | 部品取付クリップ | |
| JP2002070217A (ja) | 壁面パネル装置 | |
| CN212889807U (zh) | 一种汽车天窗框结构及汽车 | |
| JP7493784B2 (ja) | 窓枠取付構造 | |
| GB2361737A (en) | Cavity closer and base frame | |
| JP6953368B2 (ja) | セッティングブロック | |
| KR101631199B1 (ko) | 건축 천정 몰딩 | |
| JP5919553B2 (ja) | パネル取付装置 | |
| JPH027190Y2 (ja) | ||
| JP2003135162A (ja) | 机等における幕板の取付構造 | |
| KR20180003387U (ko) | 블라인드 고정용 브라켓 | |
| JPS6224951Y2 (ja) | ||
| KR20160039455A (ko) | 창유리 고정구 | |
| JPH0333562Y2 (ja) | ||
| JP2000160942A (ja) | 建具枠の鉛直度や水平度を調整,固定するための 板バネ及びこの板バネを用いた建具枠の施工方法 |
Legal Events
| Date | Code | Title | Description |
|---|---|---|---|
| A621 | Written request for application examination |
Free format text: JAPANESE INTERMEDIATE CODE: A621 Effective date: 20070831 |
|
| A131 | Notification of reasons for refusal |
Free format text: JAPANESE INTERMEDIATE CODE: A131 Effective date: 20091027 |
|
| A977 | Report on retrieval |
Free format text: JAPANESE INTERMEDIATE CODE: A971007 Effective date: 20091029 |
|
| A521 | Written amendment |
Free format text: JAPANESE INTERMEDIATE CODE: A523 Effective date: 20091207 |
|
| TRDD | Decision of grant or rejection written | ||
| A01 | Written decision to grant a patent or to grant a registration (utility model) |
Free format text: JAPANESE INTERMEDIATE CODE: A01 Effective date: 20100119 |
|
| A01 | Written decision to grant a patent or to grant a registration (utility model) |
Free format text: JAPANESE INTERMEDIATE CODE: A01 |
|
| A61 | First payment of annual fees (during grant procedure) |
Free format text: JAPANESE INTERMEDIATE CODE: A61 Effective date: 20100204 |
|
| FPAY | Renewal fee payment (prs date is renewal date of database) |
Free format text: PAYMENT UNTIL: 20130212 Year of fee payment: 3 |
|
| R150 | Certificate of patent (=grant) or registration of utility model |
Free format text: JAPANESE INTERMEDIATE CODE: R150 |
|
| FPAY | Renewal fee payment (prs date is renewal date of database) |
Free format text: PAYMENT UNTIL: 20130212 Year of fee payment: 3 |
|
| FPAY | Renewal fee payment (prs date is renewal date of database) |
Free format text: PAYMENT UNTIL: 20130212 Year of fee payment: 3 |
|
| FPAY | Renewal fee payment (prs date is renewal date of database) |
Free format text: PAYMENT UNTIL: 20130212 Year of fee payment: 3 |
|
| FPAY | Renewal fee payment (prs date is renewal date of database) |
Free format text: PAYMENT UNTIL: 20130212 Year of fee payment: 3 |
|
| FPAY | Renewal fee payment (prs date is renewal date of database) |
Free format text: PAYMENT UNTIL: 20140212 Year of fee payment: 4 |
|
| R250 | Receipt of annual fees |
Free format text: JAPANESE INTERMEDIATE CODE: R250 |
|
| LAPS | Cancellation because of no payment of annual fees |