JP4429699B2 - 床下収納装置 - Google Patents

床下収納装置 Download PDF

Info

Publication number
JP4429699B2
JP4429699B2 JP2003392911A JP2003392911A JP4429699B2 JP 4429699 B2 JP4429699 B2 JP 4429699B2 JP 2003392911 A JP2003392911 A JP 2003392911A JP 2003392911 A JP2003392911 A JP 2003392911A JP 4429699 B2 JP4429699 B2 JP 4429699B2
Authority
JP
Japan
Prior art keywords
storage box
storage
underfloor
floor
pair
Prior art date
Legal status (The legal status is an assumption and is not a legal conclusion. Google has not performed a legal analysis and makes no representation as to the accuracy of the status listed.)
Expired - Fee Related
Application number
JP2003392911A
Other languages
English (en)
Other versions
JP2005155102A (ja
Inventor
克則 大西
Current Assignee (The listed assignees may be inaccurate. Google has not performed a legal analysis and makes no representation or warranty as to the accuracy of the list.)
Sekisui Chemical Co Ltd
Original Assignee
Sekisui Chemical Co Ltd
Priority date (The priority date is an assumption and is not a legal conclusion. Google has not performed a legal analysis and makes no representation as to the accuracy of the date listed.)
Filing date
Publication date
Application filed by Sekisui Chemical Co Ltd filed Critical Sekisui Chemical Co Ltd
Priority to JP2003392911A priority Critical patent/JP4429699B2/ja
Publication of JP2005155102A publication Critical patent/JP2005155102A/ja
Application granted granted Critical
Publication of JP4429699B2 publication Critical patent/JP4429699B2/ja
Anticipated expiration legal-status Critical
Expired - Fee Related legal-status Critical Current

Links

Images

Landscapes

  • Warehouses Or Storage Devices (AREA)

Description

本発明は、昇降装置を備えた床下収納装置に関する。
従来、特許文献1には、床板に開閉可能な出入口を開設し、該出入口の直下の床下面上に昇降台を昇降可能に設け、昇降台上に収納箱を載設し、収納箱を床板より出没自在に昇降できるようにした昇降式床下収納装置が記載されている。また、特許文献2には、ラック付きの支持柱と、この支持柱に保持された昇降台から延設された収納箱受枠と、前記ラックに噛合し電動モーターにて駆動するピニオンギヤとを備えた床下収納装置用収納箱昇降機構が記載されている。さらにまた、特許文献3には、床下を有効に利用して収納量を増加させると共に、収納物の収納や取り出し作業も容易な床下収納ユニットが記載されている。この床下収納ユニットは、床下の空間内に循環型のレールを敷設し、このレール上に収納ボックス又はトレーをモーターで移動可能に複数搭載し、指令に従って床開口の下方に移動させる水平搬送装置と、この床開口を通して収納ボックス又はトレーを上下に移動させる昇降装置とを設けたものである。
特許第3016050号公報 特開平10−061163号公報 特開平09−235869号公報
しかしながら、上記特許文献1,2記載のような従来技術にあっては、収納箱を昇降台によって昇降するようにしている。このような特許文献1,2記載の従来技術を利用して、複数個の収納箱を床下空間内の水平方向に移動可能に設けた場合、昇降台は収納箱毎に設ける必要がある。また、特許文献3記載のような従来技術にあっても、レール上に複数搭載した収納ボックスは、昇降台よって上昇されるため、この場合も昇降台は収納ボックス毎に設けなければならない。このように、床下空間内を移動可能に複数個の収納箱を設けた場合、上記従来技術にあっては、昇降台を収納箱毎に設けているため、昇降装置が複雑で高価に付くという問題があった。
本発明の課題は、床下空間内に設けた収納箱の昇降装置を安価にできる床下収納装置を提供することにある。
請求項1記載の発明は、床下から床上に通じる開口部を設けた床の下方に床下空間が形成され、この床下空間内に移動可能に設けられた収納箱前記開口部の直下にて捕らえ、該収納箱の前後左右を支持しながら同一速度で上下方向に昇降させる昇降装置を備えている床下収納装置であって、前記収納箱は、四角形の底板と、底板の各辺に立設された4枚の側板とからなる上方が開放された箱状体になされ、収納箱の移動方向と平行な左右の側板の外面には、それぞれ、水平なレール状の受け部が突設され、前記昇降装置は、前後一対でなる左右1組の腕材と、この一対でなる腕材を前後対称に回動させる単一の回転駆動手段とを備え、左右1組の腕材は、それぞれ、収納箱の左右の側板の外側に設置され、前後一対でなる腕材は、収納箱の移動方向の前側と後側に配置され、対をなす各腕材の一端は互いに近接されて回動自在に支持固定され、各腕材の他端には回転自在のローラーが取り付けられ、腕材の回動によって、ローラーが各受け部を捕らえ、収納箱の前後左右を支持しながら、収納箱が昇降可能になされていることを特徴とする床下収納装置である。

請求項2記載の発明は、床下から床上に通じる開口部を設けた床の下方に床下空間が形成され、この床下空間内に移動可能に設けられた収納箱前記開口部の直下にて捕らえ、該収納箱の前後左右を支持しながら同一速度で上下方向に昇降させる昇降装置を備えている床下収納装置であって、前記収納箱は、四角形の底板と、底板の各辺に立設された4枚の側板とからなる上方が開放された箱状体になされ、収納箱の移動方向と直交する前後の側板の外面には、それぞれ、水平な受け部が突設され、前記昇降装置は、左右一対でなる前後1組の腕材と、この一対でなる腕材を左右対称に回動させる単一の回転駆動手段とを備え、前後1組の腕材は、それぞれ、収納箱の前後の側板の外側に設置され、左右一対でなる腕材は、収納箱の左側と右側に配置され、対をなす各腕材の一端は互いに近接されて
回動自在に支持固定され、各腕材の他端にはフック材が横設され、腕材を回動し、互いに交錯させることによって、それぞれのフック材が各受け部を捕らえ、収納箱の前後左右を支持しながら、収納箱が昇降可能になされていることを特徴とする床下収納装置である。

請求項3記載の発明は、床下から床上に通じる開口部を設けた床の下方に床下空間が形成され、この床下空間内に移動可能に設けられた収納箱前記開口部の直下にて捕らえ、該収納箱の前後左右を支持しながら同一速度で上下方向に昇降させる昇降装置を備えている床下収納装置であって、前記収納箱は、四角形の底板と、底板の各辺に立設された4枚の側板とからなる上方が開放された箱状体になされ、収納箱の移動方向と平行な左右の側板の外面には、それぞれ、水平なレール状の受け部が突設され、前記昇降装置は、前記開口部の直下にある収納箱の角部の外側に位置して回転可能に立設された4本のネジ棒と、前記各ネジ棒に螺合された掛け金具付きのナットと、ネジ棒をそれぞれ同方向、同速度で回転させる単一の回転駆動手段とを備え、ネジ棒の回転によって、掛け金具付きナットが受け部を捕らえ、収納箱の前後左右を支持しながら、収納箱が昇降可能になされていることを特徴とする床下収納装置である。
請求項4記載の発明は、請求項1〜3のいずれか1項記載の床下収納装置において、前記収納箱は、複数個で構成され、前記開口部の直下を通って水平方向に移動可能にされていることを特徴とする。
請求項5記載の発明は、請求項1〜のいずれか1項記載の床下収納装置において、前記収納箱は収納台車の上に取り外し自在に設置されていることを特徴とする。
請求項1記載の発明によると、収納箱を、床の開口部直下にて捕らえ、上下方向に昇降させる昇降装置を備えているので、収納箱を床上に出現でき、収納物の出し入れが容易となる。この際、収納箱が複数個で構成されていても、昇降装置を共用できるので、各収納箱毎に昇降装置を設けなくてもよく、装置全体の価格を安価にできる。
請求項1記載の発明によると、腕材の回動によって、ローラーが各受け部を捕らえ、収納箱の前後左右を支持しながら、収納箱が昇降可能になされているので、左右の各腕材を上方に向けて回動させると、この腕材の回動によって収納箱が上昇し、収納箱を開口部から床上に出現できる。収納物の出し入れが終わったとき、上記の逆方向に腕材を回動させると、収納箱を床下に降下させることができる。このように、収納箱を捕らえて上下方向に確実に昇降できるので、労力をかけずに収納物の出し入れができる。
請求項2記載の発明によると、腕材を回動し、互いに交錯させることによって、それぞれのフック材が各受け部を捕らえ、収納箱の前後左右を支持しながら、収納箱が昇降可能になされているので、前後の各腕材を上方に向けて回動させると、この腕材の回動によって収納箱が上昇し、収納箱を開口部から床上に出現できる。収納物の出し入れが終わったとき、上記の逆方向に腕材を回動させると、収納箱を降下させることができる。このように、収納箱を捕らえて上下方向に確実に昇降できるので、労力をかけずに収納物の出し入れができる。
請求項3記載の発明によると、ネジ棒の回転によって、掛け金具付きナットが受け部を捕らえ、収納箱の前後左右を支持しながら、収納箱が昇降可能になされているので、ナットが上昇する方向にネジ棒を回転させると、捕らえた収納箱が上昇して開口部から床上に出現できる。収納物の出し入れが終わったとき、ネジ棒を上記と逆方向に回転させると、収納箱を降下させることができる。このように、収納箱を捕らえて上下方向に確実に昇降できるので、労力をかけずに収納物の出し入れができる。
請求項4記載の発明によると、さらに、前記収納箱は複数個で構成され、前記開口部の直下を通って水平方向に移動可能にされているので、床下を有効に利用して収納量を増加できるとともに、いずれの収納箱からも収納物の出し入れが容易にできる。
請求項5記載の発明によると、さらに、前記収納箱は、収納台車の上に取り外し自在に設置されているので、収納箱の床下空間内の移動が容易であり、昇降時には収納箱を収納台車から取り外す作業が不要であり、昇降作業も容易である。
(実施の形態1)
図1〜図7は、本発明の一実施形態であって、図1(a)は床下空間に設けた床下収納装置の説明図、(b)は収納箱が床上に上昇した床下収納装置の説明図である。図2は収納箱の斜視図であり、図3は床下収納装置の斜視図である。図4は図3の縦断面図であり、図5は図3の正面図であり、図6は図4のA部拡大断面図であり、図7はガイドレールを設けた床下収納装置の正面図である。
本実施の形態1においては、図1に示すように、床5の下方に床下空間7が形成され、床5には、キッチン等の床下から床上に通じる長方形の開口部6を設けている。本実施の形態の床下収納装置1は、上記床下空間7内に移動可能に設けられた収納箱2と、この収納箱2を前記開口部6の直下にて捕らえ、上下方向に昇降させる昇降装置3と、収納箱2を設置する収納台車4とから構成されている。上記床下収納装置1において、前記収納箱2は、図1に示すように、複数個で構成され、前記開口部6の直下を通って水平方向に移動可能にされている。前記収納箱2は、収納台車4の上に取り外し自在に設置されており、収納台車4は、複数連結され、水平移動手段(不図示)によって、平滑で水平な床下面8の上を移動自在になされている。
以下に、上記床下収納装置1の具体的な構成について説明する。
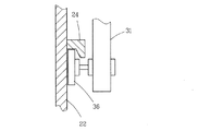
前記収納箱2は、図2に示すように、四角形の底板21と、底板21の各辺に立設された4枚の側板22,22、23,23とからなる上方が開放された箱状体になされている。側板22,22は、収納箱2の移動方向Xと平行な左右の側板であり、側板23,23は、収納箱2の移動方向Xと直交する前後の側板である。収納箱2の左右の側板22,22の外面には、それぞれ、断面略逆L字形状の水平なレール状の受け部24が突設されている。前記収納台車4には、図3に示すように、左右両側に車輪41,41が取り付けられ、前後に連結するもの同士をピン結合する連結部42が設けられている。
前記昇降装置3は、前後一対でなる左組の腕材31,31と、前後一対でなる右組の腕材31,31と、この前後一対でなる腕材31,31の左組と右組のそれぞれを、前後対象に回動させる回転駆動手段とを備えている。左組と右組のそれぞれ一対の腕材31,31は、収納箱2の左右の側板22,22の外側に設置され、前後一対でなる腕材31,31は、収納箱2の移動方向の前側と後側に配置されている。
対をなす各腕材31,31の一端は、互いに近接され、その一端には、互いに噛み合う歯車32,32が軸着され、その固定軸は、図4に示すように、軸受け等にて回転自在に支持固定されている。そして、各腕材31,31の他端には、回転自在のローラー36,36が取り付けられ、ローラー36は逆L字形状の受け部24の下方と側板22との間に嵌め込むことができるようになっている。
前記した一対でなる腕材31,31を前後対象に回動させる回転駆動手段は、図3と図4に示すように、電動モーターMと、電動モーターMにて駆動され互いに噛み合う歯車38,39と、歯車39を支持する回転軸37の両側に取り付けられたスプロケット34,34と、各スプロケット34から伝導チェーン35を介して駆動される左右両側のスプロケット33,33と、各腕材31の一端に取り付けられた前記一対の噛み合う歯車32,32と、から構成されている。
つぎに、上記のように構成された床下収納装置1の使用方法を、図1(a)、(b)と図3を参照して、説明する。
(a)まず、連結した収納台車4に設置された複数の収納箱2の中から特定の収納箱2を選定し、選定した収納箱2を開口部6の直下に位置するように移動させる。
(b)そこで、図3に示した上記電動モーターMによって回転軸37を駆動すると、スプロケット34,33によって歯車32に回転力が伝えられ、噛み合う歯車32,32の回転によって一対の腕材31,31が前後対象に回動する(図1の(a)参照)。
(c)この際、この腕材31,31を上向きに回動すると、図1(b)に示すように、ローラー34,34が収納箱2の各受け部24,24を捕らえ、収納箱2の前後左右を支持しながら、収納箱2が床上に上昇する。
(d)床上の収納箱2を床下に降下させるには、電動モーターMを逆回転させ、腕材31,31を上記の逆方向に回動させるとよい。
本実施の形態1の床下収納装置1によると、以下の作用効果を奏する。
(1)収納箱2を、床5の開口部6の直下にて捕らえ、上下方向に昇降させる昇降装置3を備えているので、収納箱2を床上に出現でき、収納物の出し入れが容易となる。この際、収納箱2を複数個設けていると、昇降装置3を共用できるので、各収納箱2毎に昇降装置3を設けなくてもよく、装置全体の価格を安価にできる。
(2)複数個で構成される前記収納箱2は、前記開口部6の直下を通って水平方向に移動可能にされているので、床下を有効に利用して収納量を増加できるとともに、いずれの収納箱2からも収納物の出し入れが容易にできる。
(3)さらに、前記収納箱2は、収納台車4の上に取り外し自在に設置されているので、収納箱2の床下空間7内の移動が容易であり、昇降時には収納箱2を収納台車4から取り外す作業が不要であり、昇降作業も容易である。
(4)さらに、前記昇降装置3は、腕材31,31の回動によって、ローラー34が収納箱2の各受け部24を捕らえ、収納箱2の前後左右を支持しながら昇降可能になされている。つまり、左右の各腕材31,31を上方に向けて回動させると、ローラー34の回転によって各腕材31は受け部24に沿ってスムースに移動しながら回動し、この腕材31,31の回動によって収納箱2が上昇し、収納箱2を開口部6から床上に出現できる。収納物の出し入れが終わったとき、上記の逆方向に腕材31,31を回動させると、収納箱2を床下に降下させることができる。このように、収納箱2を捕らえて上下方向に確実に昇降できるので、労力をかけずに収納物の出し入れができる。
なお、上記本実施の形態1の床下収納装置1において、収納箱2は前後に動きやすいので、図7に示すように、収納箱2の前後にガイドレール43,43を設けるようにしてもよい。
(実施の形態2)
図8〜図11は、本発明の別の実施形態であって、図8(a)は床下空間に設けた床下収納装置の説明図、(b)は収納箱が床上に上昇した床下収納装置の説明図である。図9は収納箱の斜視図であり、図10は床下収納装置の斜視図であり、図11は図10に示す昇降装置の一部を示す平面図である。以下の実施の形態において、前記実施の形態1と同じものには同符号を付けて説明を省略し、異なるものだけ別符号を付けて説明する。
図8に示すように、本実施の形態2の床下収納装置1Aは、床下空間7内に移動可能に設けられた収納箱2Aと、この収納箱2Aを前記開口部6の直下にて捕らえ、上下方向に昇降させる昇降装置3Aと、収納箱2Aを設置する収納台車4とから構成されている。上記床下収納装置1Aにおいて、前記収納箱2Aは、前記実施の形態1と同様、複数個で構成され、収納台車4の上に取り外し自在に設置され、開口部6の直下を通って水平方向に移動可能にされている。
以下に、上記床下収納装置1Aの具体的な構成について説明する。
前記収納箱2Aは、図9に示すように、四角形の底板21と、底板21の各辺に立設された4枚の側板22,22、23,23とからなる上方が開放された箱状体になされている。側板22,22は、収納箱2の移動方向Xと平行な左右の側板であり、側板23,23は、収納箱2の移動方向Xと直交する前後の側板である。この前後の側板23,23の外面には、それぞれ、断面四角形の水平な棒状の受け部24が突設されている。
前記昇降装置3Aは、図10に示すように、左右一対でなる前組の腕材31A,31aと、左右一対でなる後組の腕材31A,31aと、これら一対でなる腕材31A,31aを左右対象に回動させる回転駆動手段とを備えている。前組と後組の腕材31A,31aは、それぞれ、収納箱2Aの前後の側板23の外側に設置され、左右一対でなる腕材31A,31aは、収納箱の前方から向かって左側と右側に配置されている。
対をなす各腕材31A,31aの一端は、互いに近接され、回転自在の軸に支持固定されるとともに、一方(左)の腕材31Aの一端には歯車32Aが軸着され、他方(右)の腕材31aの一端には歯車32aが軸着されている。そして、各腕材31A,31aの他端には、長さの異なるフック材36A,36aが横設され、腕材31A,31aの回動によって交錯させ、収納箱2Aの受け部24,24を下方から受けるようにしている。上記昇降装置3Aにおいて、左右一対の交錯する各腕材31A,31aは、交錯点を通過するときには、互いの相対位置をずらして、フック材36A,36aが交錯して干渉しないようにしている。すなわち、一方の腕材31Aは、他方の腕材31aより先に交錯点Y2を通過する。そして、交錯点を通過した後で、歯車32A,32aを間欠歯車とすることにより、一方の腕材31Aは、待機位置Y0において回動運動を停止させ、他方の腕材31aが追いつくまで待機するようにしている。
前記した一対でなる腕材31A,31aを前後対象に回動させる回転駆動手段は、図10と図8に示すように、電動モーターMと、電動モーターMにて駆動され互いに噛み合う歯車38,39と、歯車39を支持する回転軸37の両側に取り付けられたスプロケット34,34と、各スプロケット34,34から伝導チェーン35を介して駆動される前後のスプロケット33,33と、各腕材31A,31aの一端に取り付けられた前記一対の噛み合う歯車32A,32a(間欠歯車)と、から構成されている。
つぎに、上記のように構成された床下収納装置1Aの使用方法を、図8(a)、(b)と図10を参照して、説明する。
(a)まず、連結した収納台車4の上に設置された複数の収納箱2Aの中から特定の収納箱2Aを選定し、選定した収納箱2Aを開口部6の直下に位置するように移動させる。
(b)この際、昇降装置3Aの腕材31A,31aの各先端は、図8(a)に示すように、収納箱2Aを捕らえる前、初期位置Y1の位置にある。ここで、腕材31Aの初期位置Y1は、腕材31aの初期位置Y1より下方に回動させた低位置にしておく(非対象)。
(c)つぎに、電動モーターMによって回転軸37を駆動すると、スプロケット34,33によって歯車32aに回転力が伝えられ、噛み合う歯車32A,32aが回転することによって、一対の腕材31A,31aが、初期位置Y1から下方に向かって回動される(図8の(a)参照)。
(d)そして、腕材31Aは、交錯点Y2を腕材31aより先に通過し、腕材31aが交錯点Y2を通過して左右対象となるまで、腕材31Aは、間欠歯車32A,32aによって二重丸で示す待機位置Y0にて待機する。
(e)その後、腕材31A,31aは、左右対象に交錯させながらさらに回動され、交錯位置Y3においてフック材36A,36aが収納箱2Aの受け部24を下方から捕らえ、収納箱2Aの前後左右を支持しながら、収納箱2Aが床上に上昇する(図8の(b)参照)。
(f)収納物の出し入れが終わって、床上の収納箱2Aを床下に降下させるには、電動モーターMを逆回転させ、腕材31A,31aを上記の逆方向に回動させるとよい。
本実施の形態2の床下収納装置1Aによると、以下のような作用効果を奏する。
(1)前記実施の形態1と同様、昇降装置3Aを共用できるので、複数の各収納箱2A毎に昇降装置3Aを設けなくてもよく、装置全体の価格を安価にできる。
(2)前記収納箱2Aは、複数個で構成され、前記開口部6の直下を通って水平方向に移動可能にされているので、床下を有効に利用して収納量を増加できるとともに、いずれの収納箱2Aからも収納物の出し入れが容易にできる。
(3)さらに、昇降時には収納箱2Aを収納台車4から取り外す作業が不要であり、昇降作業も容易である。
(4)さらに、昇降装置3Aが収納箱2Aを捕らえて上下方向に確実に昇降できるので、労力をかけずに収納物の出し入れができる。
(実施の形態3)
図12〜図14は、本発明の他の実施の形態であって、図12(a)は床下空間に設けた床下収納装置の説明図、(b)は収納箱が床上に上昇した床下収納装置の説明図である。図13は収納箱とともに示す昇降装置の斜視図であり、図14は床下収納装置の要部を示す正面図である。
図12に示すように、本実施の形態3の床下収納装置1Bは、床下空間7内に移動可能に設けられた収納箱2と、この収納箱2を前記開口部6の直下にて捕らえ、上下方向に昇降させる昇降装置3Bと、収納箱2を設置する収納台車4とから構成されている。上記床下収納装置1Bにおいて、収納箱2は、前記実施の形態1の収納箱2と同様であり、複数個で構成され、収納台車4の上に取り外し自在に設置され、開口部6の直下を通って水平方向に移動可能にされている。
以下に、上記床下収納装置1Bの具体的な構成を、図13を参照して説明する。
本実施の形態3の床下収納装置1Bにおいて、昇降装置3Bは、開口部6の直下にある収納箱2の角部の外側に位置して回転可能に立設された4本のネジ棒31Bと、前記各ネジ棒31Bに螺合された掛け金具33B付きのナット32Bと、ネジ棒31Bをそれぞれ同方向、同速度で回転させる回転駆動手段とを備えて構成されている。上記掛け金具33Bは、断面略U字形状の長尺材で形成され、移動方向に隣合うネジ棒31Bに螺合されたナット32B間に架け渡すようにして取り付けられている。上記立設されたネジ棒31Bは、それぞれ、不図示の支持材によって回転自在に支持固定されており、このネジ棒31Bの回転によって、ナット32Bが上下に昇降し、ナット32Bに付けられた掛け金具33Bが受け部24を捕らえ、収納箱2の前後左右を支持しながら、収納箱2が昇降可能になされている。
ネジ棒31Bをそれぞれ同方向、同速度で回転させる回転駆動手段は、図13に示すように、電動モーターMと、電動モーターMに取り付けられたスプロケット36Bと、各ネジ棒31Bの上端部に取り付けられた4個のスプロケット34Bと、各スプロケット間に張りめぐらされた伝導チェーン35Bと、伝導チェーン35Bの弛み止め37Bと、から構成されている。
つぎに、上記のように構成された床下収納装置1Bの使用方法を、図12(a)、(b)と図13を参照して、説明する。
(a)まず、連結した収納台車4の上に設置された複数の収納箱2の中から特定の収納箱2を選定し、選定した収納箱2を開口部6の直下に位置するように移動させる。
(b)この際、掛け金具33Bは、収納箱2の受け部24と略同じ高さとなるように調整されており、移動してきた収納箱2の受け部24を両側の掛け金具33Bにて捕らえる。なお、図14に示すように、受け部24の先端側にテーパー部241を設け、掛け金具33Bの先にテーパー部33bを設けるようにすると、収納箱2の掛け金具33Bへの受け入れがスムースにできる。
(c)つぎに、電動モーターMによってネジ棒31Bを回転駆動すると、ナット32Bと掛け金具33Bの上昇によって、収納箱2が収納台車4から離れて床上に上昇する(図12(b)参照)。
(d)収納物の出し入れが終わって、床上の収納箱2を床下に降下させるには、電動モーターMを逆回転させ、ネジ棒31Bを上記の逆方向に回動させるとよい。
本実施の形態3の床下収納装置1Bによると、以下のような作用効果を奏する。
(1)前記実施の形態1,2と同様、昇降装置3Bを共用できるので、複数の各収納箱2毎に昇降装置3Bを設けなくてもよく、装置全体の価格を安価にできる。
(2)複数個で構成される前記収納箱2は、前記開口部6の直下を通って水平方向に移動可能にされているので、床下を有効に利用して収納量を増加できるとともに、いずれの収納箱2からも収納物の出し入れが容易にできる。
(3)さらに、昇降時には収納箱2を収納台車4から取り外す作業が不要であり、昇降作業も容易である。
(4)さらに、昇降装置3Bが収納箱2を捕らえて上下方向に確実に昇降できるので、労力をかけずに収納物の出し入れができる。
以上、本発明の実施の形態を図面により詳述したが、本発明の具体的な構成はこの実施の形態に限られるものではなく、本発明の要旨を逸脱しない範囲の設計の変更等があっても本発明に含まれる。
収納箱を捕らえて昇降できるので、収納物の出し入れが容易となり、床下空間の利用勝手がよい。しかも、この床下収納装置は、昇降装置を共用することによって安価にできるので、経済的にすぐれる。
本発明の一実施形態であって、(a)は床下空間に設けた床下収納装置の説明図、(b)は収納箱が床上に上昇した床下収納装置の説明図である。 収納箱の斜視図である。 床下収納装置の斜視図である。 図3の縦断面図である。 図3の正面図である。 図4のA部拡大断面図である。 ガイドレールを設けた床下収納装置の正面図である。 本発明の別の実施形態であって、(a)は床下空間に設けた床下収納装置の説明図、(b)は収納箱が床上に上昇した床下収納装置の説明図である。 収納箱の斜視図である。 床下収納装置の斜視図である。 図10に示す昇降装置の一部を示す平面図である。 本発明の他の実施の形態であって、(a)は床下空間に設けた床下収納装置の説明図、(b)は収納箱が床上に上昇した床下収納装置の説明図である。 収納箱とともに示す昇降装置の斜視図である。 床下収納装置の要部を示す正面図である。
符号の説明
1,1A,1B 床下収納装置
2,2A, 収納箱
22,23 側板
24 受け部
3,3A,3B 昇降装置
31,31A,31a 腕材
31B ネジ棒
32,32A,32a 歯車
32B ナット
4 収納台車
5 床
6 開口部
7 床下空間

Claims (5)

  1. 床下から床上に通じる開口部を設けた床の下方に床下空間が形成され、この床下空間内に移動可能に設けられた収納箱前記開口部の直下にて捕らえ、該収納箱の前後左右を支持しながら同一速度で上下方向に昇降させる昇降装置を備えている床下収納装置であって、
    前記収納箱は、四角形の底板と、底板の各辺に立設された4枚の側板とからなる上方が開放された箱状体になされ、収納箱の移動方向と平行な左右の側板の外面には、それぞれ、水平なレール状の受け部が突設され、前記昇降装置は、前後一対でなる左右1組の腕材と、この一対でなる腕材を前後対称に回動させる単一の回転駆動手段とを備え、左右1組の腕材は、それぞれ、収納箱の左右の側板の外側に設置され、前後一対でなる腕材は、収納箱の移動方向の前側と後側に配置され、対をなす各腕材の一端は互いに近接されて回動自在に支持固定され、各腕材の他端には回転自在のローラーが取り付けられ、腕材の回動によって、ローラーが各受け部を捕らえ、収納箱の前後左右を支持しながら、収納箱が昇降可能になされていることを特徴とする床下収納装置。
  2. 床下から床上に通じる開口部を設けた床の下方に床下空間が形成され、この床下空間内に移動可能に設けられた収納箱前記開口部の直下にて捕らえ、該収納箱の前後左右を支持しながら同一速度で上下方向に昇降させる昇降装置を備えている床下収納装置であって、
    前記収納箱は、四角形の底板と、底板の各辺に立設された4枚の側板とからなる上方が開放された箱状体になされ、収納箱の移動方向と直交する前後の側板の外面には、それぞれ、水平な受け部が突設され、前記昇降装置は、左右一対でなる前後1組の腕材と、この一対でなる腕材を左右対称に回動させる単一の回転駆動手段とを備え、前後1組の腕材は、それぞれ、収納箱の前後の側板の外側に設置され、左右一対でなる腕材は、収納箱の左側と右側に配置され、対をなす各腕材の一端は互いに近接されて回動自在に支持固定され、各腕材の他端にはフック材が横設され、腕材を回動し、互いに交錯させることによって、それぞれのフック材が各受け部を捕らえ、収納箱の前後左右を支持しながら、収納箱が昇降可能になされていることを特徴とする床下収納装置。
  3. 床下から床上に通じる開口部を設けた床の下方に床下空間が形成され、この床下空間内に移動可能に設けられた収納箱前記開口部の直下にて捕らえ、該収納箱の前後左右を支持しながら同一速度で上下方向に昇降させる昇降装置を備えている床下収納装置であって、
    前記収納箱は、四角形の底板と、底板の各辺に立設された4枚の側板とからなる上方が開放された箱状体になされ、収納箱の移動方向と平行な左右の側板の外面には、それぞれ、水平なレール状の受け部が突設され、前記昇降装置は、前記開口部の直下にある収納箱の角部の外側に位置して回転可能に立設された4本のネジ棒と、前記各ネジ棒に螺合された掛け金具付きのナットと、ネジ棒をそれぞれ同方向、同速度で回転させる単一の回転駆動手段とを備え、ネジ棒の回転によって、掛け金具付きナットが受け部を捕らえ、収納箱の前後左右を支持しながら、収納箱が昇降可能になされていることを特徴とする床下収納装置。
  4. 前記収納箱は、複数個で構成され、前記開口部の直下を通って水平方向に移動可能にされていることを特徴とする請求項1〜3のいずれかに記載の床下収納装置。
  5. 前記収納箱は収納台車の上に取り外し自在に設置されていることを特徴とする請求項1〜4のいずれかに記載の床下収納装置。
JP2003392911A 2003-11-21 2003-11-21 床下収納装置 Expired - Fee Related JP4429699B2 (ja)

Priority Applications (1)

Application Number Priority Date Filing Date Title
JP2003392911A JP4429699B2 (ja) 2003-11-21 2003-11-21 床下収納装置

Applications Claiming Priority (1)

Application Number Priority Date Filing Date Title
JP2003392911A JP4429699B2 (ja) 2003-11-21 2003-11-21 床下収納装置

Publications (2)

Publication Number Publication Date
JP2005155102A JP2005155102A (ja) 2005-06-16
JP4429699B2 true JP4429699B2 (ja) 2010-03-10

Family

ID=34719463

Family Applications (1)

Application Number Title Priority Date Filing Date
JP2003392911A Expired - Fee Related JP4429699B2 (ja) 2003-11-21 2003-11-21 床下収納装置

Country Status (1)

Country Link
JP (1) JP4429699B2 (ja)

Families Citing this family (1)

* Cited by examiner, † Cited by third party
Publication number Priority date Publication date Assignee Title
JP2006009427A (ja) * 2004-06-25 2006-01-12 Soraana Techno:Kk 床下収納装置

Also Published As

Publication number Publication date
JP2005155102A (ja) 2005-06-16

Similar Documents

Publication Publication Date Title
CN104444022B (zh) 书架密集设置的全自动图书管理系统
JP2015135029A (ja) エレベータ式駐車装置
CN114671085B (zh) 一种用于铜箔卷抽真空的自动撑袋装置
JP4429699B2 (ja) 床下収納装置
KR100930811B1 (ko) 로봇을 이용한 자전거 주차장치
JP6284324B2 (ja) エレベータ式駐車装置
JP2566530B2 (ja) コンテナ格納装置
CN119429476A (zh) 一种具有堆卸结构的仓储物流设备
CN202891097U (zh) 储物箱单元及含有储物箱单元的储物柜
CN117885837A (zh) 一种agv物料的自动循环搬运设备
CN111846413B (zh) 一种纸箱开箱机构
JP2009249912A (ja) 垂直循環式駐車装置の改造方法及びその垂直循環式駐車装置
JP2567459Y2 (ja) 板材搬出入装置
JPH0328003Y2 (ja)
CN112127666A (zh) 一种地下自行车库
JP5773167B2 (ja) 垂直循環型駐輪装置
CN216802419U (zh) 一种电池能量交换系统生产线
KR102850196B1 (ko) 바퀴를 진행방향으로 고정할 수 있는 분리형 캐리어
CN210973691U (zh) 一种可搬运汽车的汽车升降机
JPH11131848A (ja) 櫛歯式立体駐車装置
CN221868517U (zh) 管段存取装置
CN220997861U (zh) 一种布笼立体存放库
JP3028516B2 (ja) 蒸籠収納装置
CN120922506A (zh) 一种便于物体取放的货物架及其取放方法
JP2549037Y2 (ja) パレットストッカ

Legal Events

Date Code Title Description
A621 Written request for application examination

Free format text: JAPANESE INTERMEDIATE CODE: A621

Effective date: 20060919

A977 Report on retrieval

Free format text: JAPANESE INTERMEDIATE CODE: A971007

Effective date: 20090108

A131 Notification of reasons for refusal

Free format text: JAPANESE INTERMEDIATE CODE: A131

Effective date: 20090422

A521 Request for written amendment filed

Free format text: JAPANESE INTERMEDIATE CODE: A523

Effective date: 20090609

A131 Notification of reasons for refusal

Free format text: JAPANESE INTERMEDIATE CODE: A131

Effective date: 20090902

A521 Request for written amendment filed

Free format text: JAPANESE INTERMEDIATE CODE: A523

Effective date: 20091029

TRDD Decision of grant or rejection written
A01 Written decision to grant a patent or to grant a registration (utility model)

Free format text: JAPANESE INTERMEDIATE CODE: A01

Effective date: 20091125

A01 Written decision to grant a patent or to grant a registration (utility model)

Free format text: JAPANESE INTERMEDIATE CODE: A01

A61 First payment of annual fees (during grant procedure)

Free format text: JAPANESE INTERMEDIATE CODE: A61

Effective date: 20091216

FPAY Renewal fee payment (event date is renewal date of database)

Free format text: PAYMENT UNTIL: 20121225

Year of fee payment: 3

R151 Written notification of patent or utility model registration

Ref document number: 4429699

Country of ref document: JP

Free format text: JAPANESE INTERMEDIATE CODE: R151

FPAY Renewal fee payment (event date is renewal date of database)

Free format text: PAYMENT UNTIL: 20121225

Year of fee payment: 3

FPAY Renewal fee payment (event date is renewal date of database)

Free format text: PAYMENT UNTIL: 20131225

Year of fee payment: 4

LAPS Cancellation because of no payment of annual fees