JP4428697B2 - 自動施錠錠 - Google Patents

自動施錠錠 Download PDF

Info

Publication number
JP4428697B2
JP4428697B2 JP2004105004A JP2004105004A JP4428697B2 JP 4428697 B2 JP4428697 B2 JP 4428697B2 JP 2004105004 A JP2004105004 A JP 2004105004A JP 2004105004 A JP2004105004 A JP 2004105004A JP 4428697 B2 JP4428697 B2 JP 4428697B2
Authority
JP
Japan
Prior art keywords
latch
lever
latch bolt
slider
protrusion
Prior art date
Legal status (The legal status is an assumption and is not a legal conclusion. Google has not performed a legal analysis and makes no representation as to the accuracy of the status listed.)
Expired - Fee Related
Application number
JP2004105004A
Other languages
English (en)
Other versions
JP2005290744A (ja
Inventor
達哉 中村
Original Assignee
美和ロック株式会社
Priority date (The priority date is an assumption and is not a legal conclusion. Google has not performed a legal analysis and makes no representation as to the accuracy of the date listed.)
Filing date
Publication date
Application filed by 美和ロック株式会社 filed Critical 美和ロック株式会社
Priority to JP2004105004A priority Critical patent/JP4428697B2/ja
Publication of JP2005290744A publication Critical patent/JP2005290744A/ja
Application granted granted Critical
Publication of JP4428697B2 publication Critical patent/JP4428697B2/ja
Anticipated expiration legal-status Critical
Expired - Fee Related legal-status Critical Current

Links

Images

Landscapes

  • Lock And Its Accessories (AREA)

Description

この発明は、自動施錠錠に係り、特に、作動が円滑で信頼性を向上させた自動施錠錠に関する。
自動施錠錠は、シリンダ錠を解錠させる動作でデッドボルトを兼ねるラッチボルトを錠箱内に引込ませ、しかもそのラッチボルトの錠箱内に引込んだ状態を一時的に保持でき、ノブやハンドルを操作することなく扉を開けることができる。
そして、入室後合鍵を施錠方向に回して鍵孔から抜けば、ドアクローザにより、或いは手動により閉扉することにより、自動的に施錠がなされる錠前で、例えば寮やマンションの通用口等に装着される。
従来の自動施錠錠は、例えば図1に示すように、錠箱1内において回動可能に支承され、図示しないシリンダ錠のテールピースに連結された通常ダルマと称されるボルト操作部材2を設ける。
そして、このダルマ2にその半径方向に延伸する作動アーム3を一体に結合し、解錠時シリンダ錠の合鍵を図1で反時計方向に回動させることにより、作動アーム3の先端部に植設された駆動ピン4を錠箱内方に移動させ、これをデッドボルトを兼ねるラッチボルト5の係合突部6と係合させることにより、ラッチボルト5を錠箱内に引込ませる構造である。
なお、上記したラッチボルトの錠箱内に引込んだ状態を一時的に保持する機構については、本発明と同様であるから、重複を避けるため後に述べる。
図1に例示した従来の自動施錠錠は、勿論所期の機能を発揮して従来実用されてきているが、ラッチボルト5を錠箱内に引込ませる距離がかなり大きいので、必然的にダルマ2の中心と駆動ピン4との距離を大きくして作動工程を稼がねばならず、そのため合鍵、すなわち手指に感じる抵抗トルクが大きくなって機構が重く感ぜられる。
また、作動アーム3とラッチボルトの係合突部6との係合は、要するにレバーとレバーの係合であるから、ダルマ2の回動角度とラッチボルト5の移動距離が線形的に比例するわけではなく、また、駆動ピン4と係合突部6との間に必然的に滑りが必要であるから、結局力の伝達機構として原理上作動が円滑ではなく、未だ改良の余地がある。
そこで、この発明は、従来のものを改良し、作動が円滑で信頼性を向上させた自動施錠錠を提供することを目的としている。
上記の目的を達成するため、この発明は、錠箱のフロント板に垂直な前後方向に移動可能に案内され、斜面を形成したラッチヘッドがフロント板から突出する前方に付勢されると共に、後端に係合突片を形成したラッチボルトと、このラッチボルトの近傍において前後方向に移動可能に案内され、上記ラッチボルトの係合段部に前方から係合可能な第1突部を突設すると共に、前方に付勢されたスライダと、このスライダに一体に結合され、ダルマと一体かつ同軸に結合されたピニオンギアと噛み合い係合をするラック板と、ラッチボルトに関してスライダと反対側に配設された、前後方向に延在するレバー体であって、後端を錠箱の側板に平行な平面内で回動可能に支承されると共に、前端がラッチヘッドの段部と係合する方向に付勢され、また、後端部にラッチボルト側に突出する突片を一体に形成した衝止レバーと、この衝止レバーと共にラッチボルトを挟むように配設された、全体の形状がL字形のレバー体で、前端を錠箱の側板に平行な平面内で回動可能に支承されると共に、前端部のスライダ側に、スライダに突設された第2突部と係合する係合凹部を形成し、また、自由端を、ラッチボルトを跨ぐようにして、衝止レバーの突片に後方から係合可能に臨ませた解錠レバーと、上記衝止レバーの後端付近において、中央部を錠箱の側板に平行な平面内で回動可能に支承され、一端にラッチボルトの係合突片と係合する係合端を形成し、他端にトリガーボードの移動軌跡と干渉する解除端を形成すると共に、係合端がラッチボルトの係合突片に近接する方向に付勢されたラッチストッパーと、扉開放時における衝止レバーの抑圧手段とを有することを特徴とする。
上記のように構成された請求項1に記載の発明は、合鍵と一体のダルマの回動を、伝達効率の高いピニオンギアとラック板との係合を介してラッチボルトの直線的な動きに変換しているので、作動が極めて円滑であり、また、ダルマの全角度位置において抵抗トルクが一定で使い勝手が良い。
また、ピニオンギアのピッチ円半径を小さくすることができるので、ラッチボルトを引込ませる力を充分に確保した上で、合鍵を回すトルクを半減させることができる、等種々の効果を奏する。
従来の自動施錠錠のダルマとラッチボルトとの間のレバー駆動装置をピニオンギアとラックに置き換えたので、駆動機構が合理的に改良された結果、作動が極めて円滑になり、また、作動力を半減させることができた。
以下、図2乃至図12を参照してこの発明の実施例を説明する。
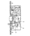
図2において符号5はラッチボルトの全体を示し、このラッチボルト5は、図2乃至図4に示すように、斜面を形成したラッチヘッド7、ラッチ軸8(図2及び図4参照)、及び断面形状が略コ字形のラッチボード9を一体に結合してなる。
上記した構成のラッチボルト5は、ラッチヘッド7が嵌合するフロント板11の開口、及び図示しない案内部材により、錠箱のフロント板に垂直な前後方向に移動可能に案内されている。
そして、ラッチばね12(図2参照)の弾力により、フロント板12から突出する前方に付勢されているが、ラッチボルトに外力が作用しない常態においては、ラッチボード9の前端部がフロント板12の裏面に係止されて図2に示す突出位置を保つ。
なお、ラッチボード9の上面には係合段部13(図3及び図4参照)が形成されており、また、ラッチボード9の後端部下方には、下向き三角形の係合突片14が一体に形成されている。
上記した構成のラッチボルト5の上方における近傍には、スライダ15が前後方向に移動可能に案内されている。
このスライダ15は、図5及び図6に示すように、大体の形状が偏平なブロック体で、その両側に形成された細長い案内ブロック16、16を錠箱の側板に開口した図示しない案内孔に摺動可能に係合させることにより、前後方向に移動可能に案内されている。
また、スライダ15の下面には、上記ラッチボルトの係合段部13(図4参照)に前方から係合可能な第1突部17が一体に突設されている。
更にまた、スライダ15の後端にはばね掛けピン18(図5及び図6参照)が突設されており、このばね掛けピン18と錠箱1の背面との間に弾装された圧縮コイルばねとしてのスライダばね19(図2参照)の弾力により、スライダ15は前方に付勢されている。
加えて、スライダ15の図2において手前側の側面前端部には、前方を彫り込む、という態様で第2突部21(図5及び図6参照)が形成されている。この第2突部21は、後述の解錠レバーの回動を制御するもので、その作用については後に述べる。
また、図2、図5及び図6に示すように、スライダ15の上面にはラック板22が一体に結合されており、このラック板22は、前ダルマ2と一体かつ同軸に結合された扇形のピニオンギア23と噛み合い係合している。
なお、図示の実施例では、ラック板22は断面L字形のラック板(図6で左側)と、この左側のラック板の下端縁に更に垂直な板を一体に結合したラック板とを背中合わせにして溶接により一体に結合したものを、スライダ15にかしめ付けてある。
一方、図2に示すように、ラッチボルト5に関してスライダ15とは反対側には衝止レバー24が配設されている。
この衝止レバー24は、前後方向に延在するレバー体であって、後端を錠箱の側板に平行な平面内で回動可能に支承されている。
また、この衝止レバー24は、その後端の支軸に巻装された捩りコイルばねとしての衝止レバーばね25の弾力により、前端がラッチヘッド7の段部と係合する方向に付勢されている。
図2は衝止レバー24の前端がラッチヘッド7の段部と係合している施錠状態を示し、この施錠状態では、ラッチボルト5を錠箱内に引っ込めて解錠しようとしても、この衝止レバー24に衝止されて引っ込めることができないので、施錠状態が保たれる。
更にまた、この衝止レバー24の後端部には、ラッチボルト側(図2で上方)に突出する突片26が一体に形成されている。
他方、ラッチボルト5の上方には、衝止レバー24と共にラッチボルトを挟むようにして、全体の形状がL字形のレバー体である解錠レバー27が配設されている。
この解錠レバー27は、ラッチボルト5の上方においてほぼ水平に延在する部分の前端を錠箱の側板に平行な平面内で回動可能に支承されると共に、前端部のスライダ側、すなわち上方の側端縁に、前記スライダの第2突部21と係合する係合凹部28(図8参照)が形成されている。
また、解錠レバー27の上記水平部分の後端部から下方に分岐した部分を、ラッチボルト5を跨ぐようにして下方に延伸させ、その自由端を衝止レバーの突片27に後方から係合可能に臨ませている。
また、上記衝止レバー24の後端付近にはラッチストッパー29が配設されている。
このラッチストッパー29は、中央部を錠箱の側板に平行な平面内で回動可能に支承され、一端(図2で右端)にラッチボルトの係合突片14と係合する係合端31を形成し、他端にトリガーボード32の移動軌跡と干渉する解除端33を形成している。
なお、このトリガーボード32の前端にはトリガーヘッド35が突設されており、圧縮コイルばねとしてのトリガーばねの弾力により前方に付勢されている。
また、トリガーボード32の前端部には、図9に示すように、図で手前側に突出するようにカム駆動ピン37が植設されており、このカム駆動ピン37は、衝止レバー24の裏面側に一体に結合された制御カム38の細長いカム面に摺接可能に当接している。
上下方向において拘束されたカム駆動ピン37に対し、衝止レバーと一体の制御カム38は時計方向に付勢されているから、後者は前者に弾接する関係となる。
ラッチストッパーに戻って、上記したラッチストッパー29は、支軸に巻装されたストッパーばね34の弾力により、図2で反時計方向に付勢されているが、図示しない停止部材により、常態においては図2に示す角度位置を保っている。
なお、図示の実施例では、ラッチストッパーの係合端31は、図面を明瞭にするため付番しない受けピンとばね掛けピンの間の間隙を受け部としている。
上記のように構成された請求項1に記載の発明は、施錠状態においては、図2に示すように、ラッチヘッド7は扉枠のストライク孔に投入され、その投入状態は衝止レバー24によって保持されていることは前記した通りである。
また、ラッチボード9の前記係合段部13(図4)とスライダー15の第1突部17(図5及び図6)との間には所定の間隙が保たれている。
そのため、例えばマンションの通用口を通るためシリンダ錠に合鍵を挿入してこれを解錠方向に回すと、ラック板22とピニオンギア23との噛み合わせが動き、スライダ15は後方に移動する。
上記したように係合段部13と第1突部17との間には間隙があるので、この間隙分スライダ15はラッチボルト5と独立に移動できる。
その結果、図7に示すように、スライダの第2突部21が解錠レバー27の係合凹部28から抜け出て、解錠レバー27の水平部分の上端縁に乗り上がる。
同時に、解錠レバーの下方の自由端が衝止レバー24の突片26を前方に押動するので、衝止レバー24は反時計方向に僅かの角度回動し、その先端がラッチヘッドの移動軌跡外に移動してラッチボルト5は自由になる。換言すれば、この自動施錠錠が解錠される。
また、スライダの第1突部17がラッチボードの係合段部13に当接し、以後スライダが後方に移動すると、ラッチボルト5も一体的に後方に移動することにになる。
なお、上記したようにスライダの第2突部21が解錠レバー27の係合凹部28から抜け出て、解錠レバー27の水平部分の上端縁に乗り上がったとき、この上端縁が水平になるように各部の形状、寸法が設定されているものとする。
そのため、更にダルマ2を解錠方向に回動させると、解錠レバー27の角度位置を図7に示す位置に保ったまま、換言すれば衝止レバー24を解錠角度に位置に保ったまま、スライダ2とラッチボルト5とは一体的に後方に移動する。
換言すれば、合鍵の回動角度に比例してラッチボルト5は錠箱内に引込んでいく。
同時に、ラッチボルトの係合突片14も後方に移動し、これがラッチストッパーの係合端31の左側のピンに当接するに致り(図示せず)、係合突片14の後方の傾斜端縁とピンとの間に生じる楔作用により、係合突片14はラッチストッパーの係合端を下方に押動する。
そして、ラッチヘッド7が完全に錠箱内に引込むと、図8に示すように、係合突片14がラッチストッパーの係合端に乗り上がり、ラッチボルト5はラッチストッパー29に係止される。
この状態では合鍵を反対方向に回しても解錠状態が保持されるので、そのまま合鍵を介して、或いは合鍵を施錠角度位置に戻して、扉を押動しつつ開ける。
なお、合鍵を施錠角度位置に戻すと、図9に示すように、解錠レバー27の下方の自由端と衝止レバーの突片26との係合が外れ、衝止レバー24は自由になるが、その前端がラッチヘッド7の下面に当接して解錠角度位置を保つ。
例えば合鍵を施錠角度位置に戻して扉面を押動して扉を開けると、図9に示すように、トリガーヘッド35が前方に移動し、トリガーボード32の後端部がラッチストッパーの解除端と当接するに致る。
更に扉を開けると、図10に示すように、ラッチボード32がラッチストッパーの解除端33を前方に押動し、ラッチストッパー29を時計方向に回動させる結果、係合突片14が解放される。
そのため、図11に示すように、ラッチばね12及びトリガーばね36(何れ図2参照)の弾力により、ラッチボルト5及びトリガー32は前方に突出する。
同時に、トリガーボード32と一体の前記カム駆動ピン37が前上がりの制御カム38との係合を介して衝止レバー24の前端部を下方に抑圧しているので、衝止レバーの先端がラッチヘッド7の段部と係合することはない。換言すれば、扉を開けるときには自動的に施錠されることはない。
上記のようにして扉を解放し、例えばマンションの通用口を通過した後、扉を閉めると、ラッチヘッド7の斜面が扉枠に当接し(図示せず)、以降更に扉を閉めると、図12に示すように、ラッチヘッド7及びトリガーヘッド35と扉枠との間に生じる楔作用により、両者は錠箱1内に押込まれ、同時に、カム駆動ピン37が制御カム38を後方に滑って衝止レバー24を自由にする。
完全に扉が閉まると、ラッチボルト5がラッチばねの弾力によって扉枠のストライク孔に投入され、同時にトリガーヘッド35も錠箱内に押込まれて図2に示す施錠状態となる。
なお、フロント板と扉枠との間には通常3ミリから5ミリ程度の隙間(チリ)があるから、図2に示すようにトリガーヘッド35が完全に錠箱内に押込まれることはなく、また、図8及び図9に示すようにラッチボルト5も錠箱内に押込まれることはないので、ラッチボルトがラッチストッパー29に係止されてしまうこともない。
なお、本発明は図示の実施例に限定されることなく種々に変形して実施することができる。
例えば、扉開放時における衝止レバーの抑圧手段として、図示の実施例はカム駆動ピン37と制御カム38の組を採用するものとしたが、これは、トリガーヘッドの近辺に永久磁石を、トリガーヘッドの前方への突出時永久磁石と整合する衝止レバーの下面に鉄片を夫々装着することにより抑圧手段を構成することができる。
従来の自動施錠錠の側面図。 この発明の一実施例による自動施錠錠の側面図。 ラッチボルトの平面図。 ラッチボルトの側面図。 ラック板とスライダの側面図。 ラック板とスライダの背面図。 この発明の一実施例による自動施錠錠の側面図で、衝止レバーによる施錠を解いた状態を示す。 この発明の一実施例による自動施錠錠の側面図で、合鍵を解錠方向に一杯に回動させた状態を示す。 この発明の一実施例による自動施錠錠の側面図で、扉を開け始めた状態を示す。 この発明の一実施例による自動施錠錠の側面図で、扉を開け、ホールドされていたラッチボルトを解放した状態を示す。 この発明の一実施例による自動施錠錠の側面図で、扉を完全に開放し、ラッチボルト及びトリガーヘッドが完全に突出した状態を示す。 この発明の一実施例による自動施錠錠の側面図で、再び扉を閉め始めた状態を示す。
符号の説明
1 錠箱
2 ダルマ
3 ラッチボルト
7 ラッチヘッド
11 フロント板
12 ラッチばね
13 係合段部
14 係合突片
15 スライダ
17 第1突部
19 スライダばね
21 第2突部
22 ラック板
23 ピニオンギア
24 衝止レバー
25 衝止レバーばね
26 突片
27 解錠レバー
28 係合凹部
29 ラッチストッパー
31 係合端
32 トリガーボード
33 解除端
34 ストッパーばね
35 トリガーヘッド
36 トリガーばね
37 カム駆動ピン
38 制御カム
39 抑圧手段

Claims (1)

  1. 錠箱のフロント板に垂直な前後方向に移動可能に案内され、斜面を形成したラッチヘッドがフロント板から突出する前方に付勢されると共に、後端に係合突片を形成したラッチボルトと、このラッチボルトの近傍において前後方向に移動可能に案内され、上記ラッチボルトの係合段部に前方から係合可能な第1突部を突設すると共に、前方に付勢されたスライダと、このスライダに一体に結合され、ダルマと一体かつ同軸に結合されたピニオンギアと噛み合い係合をするラック板と、ラッチボルトに関してスライダと反対側に配設された、前後方向に延在するレバー体であって、後端を錠箱の側板に平行な平面内で回動可能に支承されると共に、前端がラッチヘッドの段部と係合する方向に付勢され、また、後端部にラッチボルト側に突出する突片を一体に形成した衝止レバーと、この衝止レバーと共にラッチボルトを挟むように配設された、全体の形状がL字形のレバー体で、前端を錠箱の側板に平行な平面内で回動可能に支承されると共に、前端部のスライダ側に、スライダに突設された第2突部と係合する係合凹部を形成し、また、自由端を、ラッチボルトを跨ぐようにして、衝止レバーの突片に後方から係合可能に臨ませた解錠レバーと、上記衝止レバーの後端付近において、中央部を錠箱の側板に平行な平面内で回動可能に支承され、一端にラッチボルトの係合突片と係合する係合端を形成し、他端にトリガーボードの移動軌跡と干渉する解除端を形成すると共に、係合端がラッチボルトの係合突片に近接する方向に付勢されたラッチストッパーと、扉開放時における衝止レバーの抑圧手段とを有することを特徴とする自動施錠錠。
JP2004105004A 2004-03-31 2004-03-31 自動施錠錠 Expired - Fee Related JP4428697B2 (ja)

Priority Applications (1)

Application Number Priority Date Filing Date Title
JP2004105004A JP4428697B2 (ja) 2004-03-31 2004-03-31 自動施錠錠

Applications Claiming Priority (1)

Application Number Priority Date Filing Date Title
JP2004105004A JP4428697B2 (ja) 2004-03-31 2004-03-31 自動施錠錠

Publications (2)

Publication Number Publication Date
JP2005290744A JP2005290744A (ja) 2005-10-20
JP4428697B2 true JP4428697B2 (ja) 2010-03-10

Family

ID=35323993

Family Applications (1)

Application Number Title Priority Date Filing Date
JP2004105004A Expired - Fee Related JP4428697B2 (ja) 2004-03-31 2004-03-31 自動施錠錠

Country Status (1)

Country Link
JP (1) JP4428697B2 (ja)

Families Citing this family (1)

* Cited by examiner, † Cited by third party
Publication number Priority date Publication date Assignee Title
JP5225931B2 (ja) * 2009-05-18 2013-07-03 株式会社シブタニ 自動施錠錠

Also Published As

Publication number Publication date
JP2005290744A (ja) 2005-10-20

Similar Documents

Publication Publication Date Title
JP4625889B2 (ja) 車両用ラッチ装置
KR20070057023A (ko) 차량에 있어서의 도어 랫치의 조작 장치
JP3788968B2 (ja) 電気錠
CN107542334B (zh) 门锁装置
KR101467285B1 (ko) 래치볼트의 고정구조체
JP2005336830A (ja) ドア装置
JP4428697B2 (ja) 自動施錠錠
JP4313058B2 (ja) シートトラックスライド装置におけるメモリ付きウォークインロック機構
JP5395730B2 (ja) ドアロック装置の解除機構
JP5225931B2 (ja) 自動施錠錠
JP5384858B2 (ja) シート
JP2004176415A (ja) ドアラッチ装置
JP4346251B2 (ja) 車両用ドアロック装置
JP3026273B2 (ja) 錠止装置
JPH0341016Y2 (ja)
JPH11131882A (ja) 錠止装置
JP2004100339A (ja) 駐輪機用施錠装置
JPH0635560U (ja) 錠におけるデッドボルトの空動き防止装置
JP4997626B2 (ja) 対震錠止機構
JP2606685Y2 (ja) ガードアーム錠のガードアーム不正解除防止装置
JPS63184673A (ja) 電気錠
JP2001006035A (ja) 自動販売機の扉ロック装置
JP2877394B2 (ja)
JPH0345499Y2 (ja)
JPH11159212A (ja) 車両用ドアロック装置

Legal Events

Date Code Title Description
A621 Written request for application examination

Free format text: JAPANESE INTERMEDIATE CODE: A621

Effective date: 20070329

A977 Report on retrieval

Free format text: JAPANESE INTERMEDIATE CODE: A971007

Effective date: 20090701

TRDD Decision of grant or rejection written
A01 Written decision to grant a patent or to grant a registration (utility model)

Free format text: JAPANESE INTERMEDIATE CODE: A01

Effective date: 20091002

A01 Written decision to grant a patent or to grant a registration (utility model)

Free format text: JAPANESE INTERMEDIATE CODE: A01

R155 Notification before disposition of declining of application

Free format text: JAPANESE INTERMEDIATE CODE: R155

A61 First payment of annual fees (during grant procedure)

Free format text: JAPANESE INTERMEDIATE CODE: A61

Effective date: 20091214

FPAY Renewal fee payment (event date is renewal date of database)

Free format text: PAYMENT UNTIL: 20121225

Year of fee payment: 3

R150 Certificate of patent or registration of utility model

Ref document number: 4428697

Country of ref document: JP

Free format text: JAPANESE INTERMEDIATE CODE: R150

R250 Receipt of annual fees

Free format text: JAPANESE INTERMEDIATE CODE: R250

R250 Receipt of annual fees

Free format text: JAPANESE INTERMEDIATE CODE: R250

R250 Receipt of annual fees

Free format text: JAPANESE INTERMEDIATE CODE: R250

R250 Receipt of annual fees

Free format text: JAPANESE INTERMEDIATE CODE: R250

R250 Receipt of annual fees

Free format text: JAPANESE INTERMEDIATE CODE: R250

R250 Receipt of annual fees

Free format text: JAPANESE INTERMEDIATE CODE: R250

R250 Receipt of annual fees

Free format text: JAPANESE INTERMEDIATE CODE: R250

R250 Receipt of annual fees

Free format text: JAPANESE INTERMEDIATE CODE: R250

R250 Receipt of annual fees

Free format text: JAPANESE INTERMEDIATE CODE: R250

LAPS Cancellation because of no payment of annual fees