JP4366751B2 - 光・電気配線基板及び製造方法並びに実装基板 - Google Patents

光・電気配線基板及び製造方法並びに実装基板 Download PDF

Info

Publication number
JP4366751B2
JP4366751B2 JP10529699A JP10529699A JP4366751B2 JP 4366751 B2 JP4366751 B2 JP 4366751B2 JP 10529699 A JP10529699 A JP 10529699A JP 10529699 A JP10529699 A JP 10529699A JP 4366751 B2 JP4366751 B2 JP 4366751B2
Authority
JP
Japan
Prior art keywords
optical
wiring
layer
electrical
substrate
Prior art date
Legal status (The legal status is an assumption and is not a legal conclusion. Google has not performed a legal analysis and makes no representation as to the accuracy of the status listed.)
Expired - Fee Related
Application number
JP10529699A
Other languages
English (en)
Other versions
JP2000298217A (ja
Inventor
晃一 熊井
健人 塚本
茂 平山
Current Assignee (The listed assignees may be inaccurate. Google has not performed a legal analysis and makes no representation or warranty as to the accuracy of the list.)
Toppan Inc
Original Assignee
Toppan Inc
Priority date (The priority date is an assumption and is not a legal conclusion. Google has not performed a legal analysis and makes no representation as to the accuracy of the date listed.)
Filing date
Publication date
Application filed by Toppan Inc filed Critical Toppan Inc
Priority to JP10529699A priority Critical patent/JP4366751B2/ja
Publication of JP2000298217A publication Critical patent/JP2000298217A/ja
Application granted granted Critical
Publication of JP4366751B2 publication Critical patent/JP4366751B2/ja
Anticipated expiration legal-status Critical
Expired - Fee Related legal-status Critical Current

Links

Images

Landscapes

  • Optical Integrated Circuits (AREA)
  • Semiconductor Lasers (AREA)
  • Light Receiving Elements (AREA)

Description

【0001】
【発明の属する技術分野】
本発明は、光配線と電気配線とが混在する光・電気配線基板及びその製造方法並びにその基板に光部品と電気部品とを実装した実装基板に関する。
【0002】
【従来の技術】
より速く演算処理が行えるコンピュータを作るために、CPUのクロック周波数は益々増大する傾向にあり、現在では1GHzオーダーのものが出現するに至っている。この結果、コンピュータの中のプリント基板上の銅による電気配線には高周波電流が流れる部分が存在することになるので、ノイズの発生により誤動作が生じたり、また電磁波が発生して周囲に悪影響を与えることにもなる。
【0003】
このような問題を解決するために、プリント基板上の銅による電気配線の一部を光ファイバー又は光導波路による光配線に置き換え、電気信号の代わりに光信号を利用することが行われている。なぜなら、光信号の場合は、ノイズ及び電磁波の発生を抑えられるからである。
【0004】
高密度実装又は小型化の観点からは、電気配線と光配線とが同一の基板上で積み重なっている光・電気配線基板を作ることが望ましい。しかし、電気配線の上に直接光配線層を積層することは、電気配線の凹凸の影響を光配線層に与え、光信号伝搬損失を招くという欠点がある。
【0005】
【発明が解決しようとする課題】
本発明は係る従来技術の欠点に鑑みなされたもので、電気配線を有する基板の電気配線の上に、電気配線の凹凸の影響を受けない光配線層を有する光・電気配線基板を提供することを課題とする。
【0006】
【課題を解決するための手段】
本発明において上記の課題を達成するために、まず請求項1の発明では、電気配線を有する基板と、基板の電気配線の上に接着層と、該接着層の上に光を伝搬させる光配線となっているコアを有する光配線層とを備え、該接着層が電気配線のなす凹凸の影響を該光配線層が受けないよう該凹凸を吸収することで平滑にしている光・電気配線基板であって、コアの一部に設けられたミラーと、ミラーの直上の周囲に光部品をハンダ付けするために該光配線層上に設けられたパッドと、該光配線層に形成されており該パッドと該基板の電気配線とを電気接続するビアホールと、を具備することを特徴とする光・電気配線基板である。
【0007】
また請求項2の発明では、電気配線を有する基板と、基板の電気配線の上に接着層と、該接着層の上に光を伝搬させる光配線となっているコアを有する光配線層とを備え、該接着層が電気配線のなす凹凸の影響を該光配線層が受けないよう該凹凸を吸収することで平滑にしている光・電気配線基板であって、コアの一部に設けられたミラーと、ミラーの直上の周囲に光部品をハンダ付けするために該光配線層上に設けられた光部品用のパッドと、電気部品をハンダ付けするために光配線層上に設けられた電気部品用のパッドと、該光配線層に形成されており該光部品のパッドと該基板の電気配線とを電気接続するビアホール、及び、該光配線層に形成されており該電気部品用のパッドと該基板の電気配線とを電気接続するビアホールと、を具備することを特徴とする光・電気配線基板である。
【0008】
また請求項3の発明では、電気配線を有する基板と、基板の電気配線の上に接着層と、該接着層の上に光を伝搬させる光配線となっているコアを有する光配線層とを備え、該接着層が電気配線のなす凹凸の影響を該光配線層が受けないよう該凹凸を吸収することで平滑にしている光・電気配線基板であって、コアの一部に設けられたミラーと、ミラーの直上の周囲に光部品をハンダ付けするために該光配線層上に設けられた光部品用のパッドと、電気部品をハンダ付けするために光配線層上に設けられた電気部品用のパッドと、該光配線層に形成されており該光部品のパッドと該基板の電気配線とを電気接続するビアホール、及び、該光配線層に形成されており該電気部品用のパッドと該基板の電気配線とを電気接続するビアホールと、該光配線層上に設けられた電気配線と、を具備することを特徴とする光・電気配線基板である。
【0009】
また請求項4の発明では、電気配線を有する基板と、該基板の該電気配線の上に接着層と、該接着層の上に光を伝搬させる光配線となっているコアを有する光配線層とを備え、該接着層が電気配線のなす凹凸の影響を該光配線層が受けないよう該凹凸を吸収することで平滑にしている光・電気配線基板を製造する方法であって、光を伝搬させる光配線となっているコアを有する光配線層を支持体の上に作る工程と、コアの一部にミラーを設け、電気配線を有する基板の電気配線の上に、電気配線のなす凹凸の影響を該光配線層が受けないよう該凹凸を吸収することで平滑にする接着層を介して、光配線層を接着させる工程と、該基板上の電気配線と該光配線層上のパッドとが、該光配線層中のビアホールによって電気接続するよう、該ビアホールと該パッドを作る工程と、を含むことを特徴とする光・電気配線基板の製造方法である。
【0010】
また請求項5の発明では、請求項1〜3の何れか1項記載の光・電気配線基板に光部品又は/及び電気部品を実装したことを特徴とする実装基板としたものである。
【0011】
【発明の実施の形態】
1.光・電気配線基板
本発明の光・電気配線基板の実施形態について、図1〜図5を用いて説明する。
【0012】
本実施形態において、光部品を実装する部分の上面図を図1に、コア1に沿って切断された断面図を図2に示す。コア1は、レーザ光を伝搬させる光導波路であって、光配線とも呼ぶ。コア1と上部クラッド層2と下部クラッド層4とは、光配線層15をなしている。光・電気配線層の作り方によっては、上部クラッド層2と下部クラッド層4は、図3のように、逆になっていることがある。上部クラッド層2を構成する物質と、下部クラッド層4を構成する物質とは、同じ場合もあるし、異なっている場合もある。また、図2における上部クラッド層2は、必ずしも平坦であるとは限らないし、存在しない場合もある。
【0013】
基板10の上には、電気配線12及び14があり、これら電気配線がなす凹凸を吸収層9が吸収している。その結果、吸収層9の上にある光配線層15は、電気配線12及び14がなす凹凸の影響を受けない。吸収層9には、塑性又は弾性若しくはそれら両方を有する物質を用いる。塑性を有する物質を用いた吸収層のことを平滑層と呼び、弾性を有する物質を用いた吸収層のことをクッション層と呼ぶ。最も好ましいのは、塑性及び弾性を有する接着剤を用い、光配線層15を基板10に接着したときにできる接着層が、吸収層を兼ねる場合である。
【0014】
コア1には、レーザ光を反射させるミラー3がある。図1から理解できるように、ミラー3の直上の周囲には、光部品をハンダ付けするためのパッド5〜8が設けられている。パッドの数は4つに限定する必要はなく、任意の数であって良い。また、ミラー3には、金属蒸着膜による反射層を設けても、設けなくても良い。さらに、パッドの形状も円形に限定される必要はなく、任意の形状であっても良い。パッド5〜8は、導体であるビアホールによって、基板10の上の電気配線と電気接続している。例えば、図2から理解できるように、パッド5はビアホール11によって電気配線12と電気接続しているし、またパッド6はビアホール13によって電気配線14と電気接続している。
【0015】
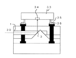
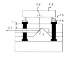
図4は、パッド5〜8の上に、半導体レーザなどのレーザ発光素子23のリードを、ハンダ付けしたときの断面図である。レーザ発光素子23のレーザ発光面24から放出されたレーザ光20は、ミラー3で反射され、コア1を伝搬する。
【0016】
図5は、パッド5〜8の上に、フォトダイオードなどの受光素子33のリードを、ハンダ付けしたときの断面図である。コア1を伝搬するレーザ光30は、ミラー3で反射され、受光素子33の受光面34に入射する。
【0017】
光・電気配線基板の光配線層の上に、電気部品をハンダ付けするためのパッドを設けても良いし、また電気配線を設けても良い。電気部品用のパッドは、光部品用のパッドと同様にして、ビアホールによって基板の上の配線と電気接続しても良い。
【0018】
光配線層の上に電気配線を設けた場合、パッドが、光配線層上の電気配線とだけ接続して、基板上の電気配線とは接続していないことがあっても良い。この場合は、もちろん、パッドと基板上の電気配線とを電気接続するためのビアホールは存在しない。
【0019】
2.光・電気配線基板の製造方法
本発明の光・電気配線基板の製造方法は、基本的には以下の通りである。まず、電気配線を有する基板とは別に、光配線層を作る。次に、コアの一部にミラーを設け、吸収層を介して、光配線層を基板の電気配線の上に接着させる。さらに、ビアホールによって基板の電気配線と電気接続しているパッドを作る。
【0020】
以下、3つの実施の形態を説明する。
【0021】
<光・電気配線基板の製造方法の第1の実施の形態>
光・電気配線基板の製造方法の第1の実施の形態を、ビアホールによって基板上の電気配線と電気接続する光部品用のパッドに焦点を当てて、図6の(a)〜(p)の流れに従って説明する。
【0022】
図6の(a)のように、第1の支持体52の上に、剥離層51を形成する。第1の支持体52には、耐熱性及び堅牢性に優れており、光配線層の熱膨張率に等しいか或いはそれに近い熱膨張率を有するものを使う。
【0023】
図6の(b)のように、剥離層51の上に、下部クラッド層53を形成する。
【0024】
下部クラッド層53の上にコア層を形成し、フォトリソグラフィ技術によって、図6の(c)のように、光を伝搬させるコア54と位置決めのためのアライメントマーク55を同時に作る。これによって、コア54とアライメントマーク55との位置関係は、意図されたものに極めて近いものとなる。
【0025】
図6の(d)のように、コア54とアライメントマーク55を、上部クラッド層56で覆う。これによって、下部クラッド層53と、光を伝搬させるコア54と、上部クラッド層56とからなる光配線層が作られる。
【0026】
次に、アライメントマーク55を基準にして、セミアディティブ法によって、光配線層の上に、ランド、電気部品用のパッド、電気配線などを作る。図6の(e)には、ランド57、電気部品用のパッド58、電気配線59が見られる。
【0027】
さらに、光配線層上に作ったランド、電気部品用のパッド、電気配線などを剥離液から保護するために、図6の(f)のように、剥離液保護膜60を形成する。
【0028】
さらに、剥離液に浸して剥離層51を溶かし、第1の支持体52から光配線層を剥がして、図6の(g)のような光配線層を得る。
【0029】
さらに、剥離液保護膜60を除去して、図6の(h)のような光配線層を得る。
【0030】
図6の(i)のように、光配線層のランド、電気部品用のパッド、電気配線層などが形成されている側を、第2の支持体61に接着剤で接着させる。第2の支持体61は、光配線層が接着されていない側からアライメントマーク55が見えるように透明なものを利用する。また、接着剤は、剥離し易いものを用いるか、或いは熱又は紫外線で硬化するものを用いる。
【0031】
図6の(j)のように、ダイシング加工によって光配線層に溝を入れ、ミラー62を作る。
【0032】
図6の(k)のように、アライメントマーク55と基板65の上にあるアライメントマーク(図示せず)とを基準にして、光配線層のミラー62側を、吸収層63を介して、基板65の電気配線64を有する側に、接着させる。吸収層63を基板65の上に作ってから光配線層を接着させるか、あるいは吸収層63を光配線層のミラー62側に作った後に基板65に接着させる。上述したように、吸収層63は、平滑層であっても良いし、クッション層であっても良いし、両方の性質を兼ね備えたものでも良いが、好ましくは両方の性質を兼ね備えた接着剤による接着層が良い。
【0033】
図6の(l)のように、第2の支持体61を、光配線層から剥がす。第2の支持体61と光配線層とを接着するのに、熱又は紫外線で硬化する接着剤を用いた場合は、熱又は紫外線で接着剤を硬化してから剥がす。
【0034】
図6の(m)のように、アライメントマーク55を基準にして、レーザによって、ビアホールを形成するための孔66を光配線層に開ける。次に、図示はしていないが、孔66の表面及び基板65とは反対側にある光配線層の表面を、スパッタリングによってクロムの薄膜を形成して、その後にクロムの薄膜の上に同じくスパッタリングによって銅の薄膜を形成する。
【0035】
図6の(n)のように、光配線層の表面に、レジスト67を塗布する。
【0036】
次に、アライメントマーク55とフォトマスクのパッドのパターンとで位置を決め、そのフォトマスクを介してレジスト67を露光し、その後現像して、図6の(m)のように、孔66の部分のみレジスト67を除去する。
【0037】
さらに、孔66及び光配線層の表面に形成した銅の薄膜を電極として、銅を電気メッキして、図6の(o)のように、光学部品用のパッド68及びビアホール69を作る。
【0038】
レジスト67を除去する。その後、光配線層の表面に形成したクロム及び銅の薄膜をソフトエッチングで除去して、図6の(p)に示すような光・電気配線基板を得る。
【0039】
<光・電気配線基板の製造方法の第2の実施の形態>
光・電気配線基板の製造方法の第2の実施の形態を、ビアホールによって基板上の電気配線と電気接続する光部品用のパッドに焦点を当てて、図7の(a)〜(l)の流れに従って説明する。
【0040】
図7の(a)のように、支持体82の上に、剥離層81を形成する。支持体には、耐熱性及び堅牢性に優れており、光配線層の熱膨張率に等しいか或いはそれに近い熱膨張率を有するものを使う。
【0041】
図7の(b)のように、剥離層81の上に、下部クラッド層83を形成する。
【0042】
下部クラッド層83の上にコア層を形成し、フォトリソグラフィ技術によって、図7の(c)のように、光を伝搬させるコア84と位置決めをするアライメントマーク85を同時に作る。これによって、コア84とアライメントマーク85との位置関係は、意図されたものに極めて近いものとなる。
【0043】
図7の(d)のように、コア84とアライメントマーク85を、上部クラッド層86で覆う。これによって、下部クラッド層83と、光を伝搬させるコア84と、上部クラッド層86とからなる光配線層が作られる。
【0044】
図7の(e)のように、ダイシング加工によって光配線層に溝を入れ、ミラー87を作る。
【0045】
さらに、剥離液に浸して剥離層81を溶かし、支持体82から光配線層を剥がして、図7の(f)のような光配線層を得る。
【0046】
図7の(g)のように、アライメントマーク85と基板90の上にあるアライメントマーク(図示せず)とを基準にして、光配線層のミラー87側を、吸収層88を介して、基板90の電気配線89を有する側に接着させる。吸収層88を基板90の上に作ってから光配線層を接着させるか、あるいは吸収層88を光配線層のミラー側87に作った後に基板90に接着させる。上述したように、吸収層88は、平滑層であっても良いし、クッション層であっても良いし、両方の性質を兼ね備えたものでも良いが、好ましくは両方の性質を兼ね備えた接着剤による接着層が良い。
【0047】
図7の(h)のように、アライメントマーク85を基準にして、レーザによって、ビアホールを形成するための孔91を光配線層に開ける。次に、図示はしていないが、孔91の表面及び基板90とは反対側にある光配線層の表面を、スパッタリングによってクロムの薄膜を形成して、その後にクロムの薄膜の上に同じくスパッタリングによって銅の薄膜を形成する。
【0048】
図7の(i)のように、光配線層の表面に、レジスト92を塗布する。
【0049】
次に、アライメントマーク85を基準にしてフォトマスクの位置を決め、そのフォトマスクを介してレジスト92を露光し、その後現像して、図6の(j)のように、パッド、電気配線などを作る予定の部分のみ、レジスト92を除去する。
【0050】
さらに、孔91及び光配線層の表面に形成した銅の薄膜を電極として、銅を電気メッキして、図6の(k)のように、電気部品用のパッド93、電気配線94、ビアホール96及び光部品用のパッド95を作る。
【0051】
レジスト92を除去する。その後、光配線層の表面に形成したクロム及び銅の薄膜をソフトエッチングで除去して、図6の(l)に示すような光・電気配線基板を得る。
【0052】
<光・電気配線基板の製造方法の第3の実施の形態>
光・電気配線基板の製造方法の第3の実施の形態を、ビアホールによって基板上の電気配線と電気接続する光部品用のパッドに焦点を当てて、図8の(a)〜(p)の流れに従って説明する。
【0053】
図8の(a)のように、第1の支持体101の上で、剥離層102を形成する。第1の支持体102には、耐熱性及び堅牢性に優れており、光配線層の熱膨張率に等しいか或いはそれに近い熱膨張率を有するものを使う。
【0054】
図8の(b)のように、剥離膜102の上に、下部クラッド層103を形成する。
【0055】
図8の(c)のように、下部クラッド層103の上に、コア層104を形成する。
【0056】
図8の(d)のように、コア層104の上に、スパッタリングによってクロムの薄膜を形成して、その後にクロム膜の上に同じくスパッタリングによって銅の薄膜を形成することによって、クロム膜と銅膜の2層からなる金属薄膜106を作る。
【0057】
金属薄膜106に、フォトリソグラフィ技術による加工を施すことにより、メタルマスクを作る。このときメタルマスクには、図8の(e)に見られるように、光配線となるコアのパターンを表わす光配線部107と、光部品用のパッドのパターンを表わす光学部品用パッド部108とが含まれており、これら光配線部107と光学部品用パッド部108は同時に形成される。このため、光配線となるコアと光部品用のパッドとの位置関係は、意図されたものに極めて高精度で一致するようになる。尚、電気部品用のパッドのパターンや電気配線のパターンを表現するメタルマスクの部分も同時に形成されても良い。
【0058】
図8の(f)に示すように、メタルマスクに覆われていないコア層の部分を、ドライエッチングによって除去し、光配線となるコア109が形成される。
【0059】
図8の(g)に示すように、フォトリソグラフィ技術によって、コア109の上のメタルマスク、すなわち光配線部107を除去する。
【0060】
図6の(h)に示すように、上部クラッド層110をコートする。
【0061】
フォトリソグラフィ技術による加工を施すことにより、図6の(i)のように、光部品用パッド部108上の上部クラッド層110を除去する。この加工において、光部品用パッド部108はレジストとして機能し、エッチングに侵されない。
【0062】
上部クラッド層110及び光部品用パッド部108の上に剥離液保護膜を形成した後に、剥離液に浸して第1の支持体から光配線層を剥離する。さらに、剥離液保護膜を除去して、図8の(j)のような光配線層を得る。
【0063】
図8の(k)のように、光配線層の光部品用パッド部108側を、第2の支持体111に接着する。接着剤は、剥離し易いものを用いるか、或いは熱又は紫外線で硬化するものを用いる。
【0064】
図8の(l)のように、ダイシング加工によって光配線層に溝を入れ、ミラー112を作る。
【0065】
図8の(m)のように、光配線層のミラー112側を、吸収層113を介して、基板115の電気配線114を有する側に接着させる。吸収層113を基板115の上に作ってから光配線層を接着させるか、あるいは吸収層113を光配線層のミラー側112に作った後に基板115に接着させる。上述したように、吸収層113は、平滑層であっても良いし、クッション層であっても良いし、両方の性質を兼ね備えたものでも良いが、好ましくは両方の性質を兼ね備えた接着剤による接着層が良い。
【0066】
図8の(n)のように、第2の支持体111を、光配線層から剥がす。第2の支持体111と光配線層とを接着するのに、熱又は紫外線で硬化する接着剤を用いた場合は、熱又は紫外線で接着剤を硬化させてから剥がす。
【0067】
図8の(o)のように、光学部品用パッド部108の中心部分に、レーザによって、ビアホールを形成するための孔116を開ける。
【0068】
さらに、図8の(p)のように、セミアディティブ法で、孔116を銅で埋めると、ビアホール117と、そのビアホール117によって基板115の上の電気配線114と電気接続しているパッド118が形成され、光・電気配線基板が得られる。
【0069】
尚、光・電気配線基板の製造方法の第3の実施形態の場合には、上部クラッド層110を作らないこともできる。この場合、上部クラッド層110をコートする必要も、光部品用パッド部108の上の上部クラッド層110を除去する必要も無くなることを除いて、上記の製造方法と同様である。
【0070】
【発明の効果】
以上の説明から理解できるように、本発明には、以下の効果がある。
【0071】
第1に、吸収層を設けることによって、吸収層が基板上の電気配線の凹凸を吸収するので、光信号伝搬損失がないという効果がある。また、光配線層を電気基板に接着するとき、その接着が意図されたものに極めて高精度ですることができるという効果がある。
【0072】
第2に、電気配線を有する基板の上に光配線層を設けるので、高密度実装又は小型化が可能であるという効果がある。
【0073】
第3に、本発明の製造方法の実施形態によれば、光を伝搬させる光配線となるコアと光学部品用のパッドとの間の位置関係が、意図されたものと極めて近いものとなるので、光部品の光軸と光配線の光軸とを光学的に一致させることが容易であり、それゆえ光部品と電気部品とを同時に自動的に実装できるという効果がある。
【0074】
第4に、光配線層の上にも電気配線を設けられるので、電気配線間の干渉が抑えられるという効果がある。
【図面の簡単な説明】
【図1】本発明の光・電気配線基板において、光部品を実装する部分の上面図。
【図2】本発明の光・電気配線基板において、光部品を実装する部分の断面図。
【図3】本発明の光・電気配線基板において、光部品を実装する部分の断面図。
【図4】本発明の光・電気配線基板にレーザ発光素子を実装した場合のレーザ光の伝搬を説明する図。
【図5】本発明の光・電気配線基板に受光素子を実装した場合のレーザ光の伝搬を説明する図。
【図6】光・電気配線基板の製造方法の第1の実施の形態を説明する図。
【図7】光・電気配線基板の製造方法の第2の実施の形態を説明する図。
【図8】光・電気配線基板の製造方法の第3の実施の形態を説明する図。
【符号の説明】
1…コア
2…上部クラッド層
3…ミラー
4…下部クラッド層
5…パッド
6…パッド
7…パッド
8…パッド
9…吸収層
10…基板
11…ビアホール
12…電気配線
13…ビアホール
14…電気配線
15…光配線層
20…レーザ光
23…レーザ発光素子
24…レーザ発光面
25…リード
26…ハンダ
30…レーザ光
33…受光素子
34…受光面
35…リード
36…ハンダ
51…剥離層
52…第1の支持体
53…下部クラッド層
54…コア
55…アライメントマーク
56…上部クラッド層
57…ランド
58…電気部品用のパッド
59…電気配線
60…剥離液保護膜
61…第2の支持体
62…ミラー
63…吸収層
64…電気配線
65…基板
66…孔
67…レジスト
68…光部品用のパッド
69…ビアホール
81…剥離層
82…支持体
83…下部クラッド層
84…コア
85…アライメントマーク
86…上部クラッド層
87…ミラー
88…吸収層
89…電気配線層
90…基板
91…孔
92…レジスト
93…電気部品用のパッド
94…電気配線
95…光部品用のパッド
96…ビアホール
101…第1の支持体
102…剥離膜
103…下部クラッド層
104…コア層
106…金属薄膜
107…光配線部
108…光学部品用パッド部
109…コア
110…上部クラッド層
111…第2の支持体
112…ミラー
113…吸収層
114…電気配線
115…基板
116…孔
117…ビアホール
118…パッド

Claims (5)

  1. 電気配線を有する基板と、基板の電気配線の上に接着層と、該接着層の上に光を伝搬させる光配線となっているコアを有する光配線層とを備え、該接着層が電気配線のなす凹凸の影響を該光配線層が受けないよう該凹凸を吸収することで平滑にしている光・電気配線基板であって、
    コアの一部に設けられたミラーと、
    ミラーの直上の周囲に光部品をハンダ付けするために該光配線層上に設けられたパッドと、
    該光配線層に形成されており該パッドと該基板の電気配線とを電気接続するビアホールと、
    を具備することを特徴とする光・電気配線基板。
  2. 電気配線を有する基板と、基板の電気配線の上に接着層と、該接着層の上に光を伝搬させる光配線となっているコアを有する光配線層とを備え、該接着層が電気配線のなす凹凸の影響を該光配線層が受けないよう該凹凸を吸収することで平滑にしている光・電気配線基板であって、
    コアの一部に設けられたミラーと、
    ミラーの直上の周囲に光部品をハンダ付けするために該光配線層上に設けられた光部品用のパッドと、
    電気部品をハンダ付けするために光配線層上に設けられた電気部品用のパッドと、
    該光配線層に形成されており該光部品のパッドと該基板の電気配線とを電気接続するビアホール、及び、該光配線層に形成されており該電気部品用のパッドと該基板の電気配線とを電気接続するビアホールと、
    を具備することを特徴とする光・電気配線基板。
  3. 電気配線を有する基板と、基板の電気配線の上に接着層と、該接着層の上に光を伝搬させる光配線となっているコアを有する光配線層とを備え、該接着層が電気配線のなす凹凸の影響を該光配線層が受けないよう該凹凸を吸収することで平滑にしている光・電気配線基板であって、
    コアの一部に設けられたミラーと、
    ミラーの直上の周囲に光部品をハンダ付けするために該光配線層上に設けられた光部品用のパッドと、
    電気部品をハンダ付けするために光配線層上に設けられた電気部品用のパッドと、
    該光配線層に形成されており該光部品のパッドと該基板の電気配線とを電気接続するビアホール、及び、該光配線層に形成されており該電気部品用のパッドと該基板の電気配線とを電気接続するビアホールと、
    光配線層上に設けられた電気配線と、
    を具備することを特徴とする光・電気配線基板。
  4. 電気配線を有する基板と、該基板の該電気配線の上に接着層と、該接着層の上に光を伝搬させる光配線となっているコアを有する光配線層とを備え、該接着層が電気配線のなす凹凸の影響を該光配線層が受けないよう該凹凸を吸収することで平滑にしている光・電気配線基板を製造する方法であって、
    光を伝搬させる光配線となっているコアを有する光配線層を支持体の上に作る工程と、
    コアの一部にミラーを設け、電気配線を有する基板の電気配線の上に、電気配線のなす凹凸の影響を該光配線層が受けないよう該凹凸を吸収することで平滑にする接着層を介して、光配線層を接着させる工程と、
    該基板上の電気配線と該光配線層上のパッドとが、該光配線層中のビアホールによって電気接続するよう、該ビアホールと該パッドを作る工程と、
    を含むことを特徴とする光・電気配線基板の製造方法。
  5. 請求項1〜3の何れか1項記載の光・電気配線基板に光部品又は/及び電気部品を実装したことを特徴とする実装基板。
JP10529699A 1999-04-13 1999-04-13 光・電気配線基板及び製造方法並びに実装基板 Expired - Fee Related JP4366751B2 (ja)

Priority Applications (1)

Application Number Priority Date Filing Date Title
JP10529699A JP4366751B2 (ja) 1999-04-13 1999-04-13 光・電気配線基板及び製造方法並びに実装基板

Applications Claiming Priority (1)

Application Number Priority Date Filing Date Title
JP10529699A JP4366751B2 (ja) 1999-04-13 1999-04-13 光・電気配線基板及び製造方法並びに実装基板

Publications (2)

Publication Number Publication Date
JP2000298217A JP2000298217A (ja) 2000-10-24
JP4366751B2 true JP4366751B2 (ja) 2009-11-18

Family

ID=14403740

Family Applications (1)

Application Number Title Priority Date Filing Date
JP10529699A Expired - Fee Related JP4366751B2 (ja) 1999-04-13 1999-04-13 光・電気配線基板及び製造方法並びに実装基板

Country Status (1)

Country Link
JP (1) JP4366751B2 (ja)

Families Citing this family (14)

* Cited by examiner, † Cited by third party
Publication number Priority date Publication date Assignee Title
JP4691758B2 (ja) * 2000-07-10 2011-06-01 凸版印刷株式会社 光配線基板および製造方法
JP4590722B2 (ja) * 2000-12-06 2010-12-01 凸版印刷株式会社 光部品搭載用基板製造方法
JP4538949B2 (ja) * 2000-12-06 2010-09-08 凸版印刷株式会社 光部品搭載用基板製造方法
US7330612B2 (en) 2002-05-28 2008-02-12 Matsushita Electric Works, Ltd. Material for substrate mounting optical circuit-electric circuit mixedly and substrate mounting optical circuit-electric circuit mixedly
JP2005148129A (ja) * 2003-11-11 2005-06-09 Ricoh Co Ltd 光配線システムの製造方法及び光配線システム
US7373034B2 (en) 2004-09-02 2008-05-13 Nec Corporation Optoelectronic hybrid integrated module
WO2007063813A1 (ja) 2005-12-02 2007-06-07 Kyocera Corporation 光導波路部材、光配線基板、光配線モジュール及び表示装置、並びに光導波路部材および光配線基板の製造方法
JP4684931B2 (ja) * 2006-01-31 2011-05-18 京セラ株式会社 光導波路部材の製造方法、光配線モジュールの製造方法および電子装置の製造方法
KR100754407B1 (ko) 2006-06-08 2007-08-31 삼성전자주식회사 서브마운트 및 이를 구비하는 멀티 빔 레이저 다이오드모듈
JP5055193B2 (ja) 2008-04-24 2012-10-24 日東電工株式会社 光電気混載基板の製造方法
JP2010190994A (ja) * 2009-02-16 2010-09-02 Nitto Denko Corp 光電気混載モジュールおよびその製造方法
JP5212219B2 (ja) * 2009-03-27 2013-06-19 住友ベークライト株式会社 光導波路構造体、光電気混載基板および電子機器
JP5395734B2 (ja) * 2010-05-07 2014-01-22 新光電気工業株式会社 光電気複合基板の製造方法
JP6649076B2 (ja) * 2015-10-26 2020-02-19 京セラ株式会社 光回路基板の製造方法

Also Published As

Publication number Publication date
JP2000298217A (ja) 2000-10-24

Similar Documents

Publication Publication Date Title
KR100765819B1 (ko) 광배선층, 광·전기배선기판, 실장기판 및 그들의 제조방법
KR100720854B1 (ko) 광·전기배선기판, 실장기판 및 광전기배선기판의 제조방법
JP4366751B2 (ja) 光・電気配線基板及び製造方法並びに実装基板
JPWO2001001176A1 (ja) 光・電気配線基板、実装基板及び光電気配線基板の製造方法
JP2001196643A (ja) 光・電気素子搭載用チップキャリア及びその実装方法並びに光・電気配線基板及びその製造方法並びに実装基板
JP4677651B2 (ja) 光配線層の製造方法、及び光・電気配線基板とその製造法、並びに実装基板
JP4306011B2 (ja) 光配線層及びその製造方法並びに光・電気配線基板及びその製造方法並びに実装基板
JP2000347051A (ja) 光・電気配線基板及びその製造方法並びに実装基板
JP2003050329A (ja) 光・電気配線基板及びその製造方法並びに実装基板
JP2001108853A (ja) 光配線層、光・電気配線基板及び実装基板
JP4507315B2 (ja) 光・電気配線基板の製造方法
JP4258065B2 (ja) 光・電気配線基板の製造方法
CN110780393B (zh) 光波导以及光电路基板
JP4304764B2 (ja) 光・電気配線基板及び製造方法並びに実装基板
JP2001196494A (ja) 光・電気素子搭載用チップキャリア及びその製造方法並びにその実装方法並びに光・電気配線基板及びその製造方法並びに実装基板
JP2000340906A (ja) 光・電気配線基板及びその製造方法並びに実装基板
JP2007094296A (ja) 光導波路デバイス及び光導波路デバイスの製造方法
JP4441980B2 (ja) 光・電気配線基板及びその製造方法並びに光配線フィルムの製造方法並びに実装基板
JP5066774B2 (ja) 光・電気配線基板の製造方法
JP3287871B2 (ja) プリント基板の製造方法
JP4742771B2 (ja) 光電複合基板の製造方法
JP2001007461A (ja) 光・電気配線基板及び実装基板
JP4253933B2 (ja) 光・電気配線基板及び実装基板
WO2026034621A1 (ja) 配線基板
JP4240659B2 (ja) 光・電気配線基板及び製造方法並びに実装基板

Legal Events

Date Code Title Description
A621 Written request for application examination

Free format text: JAPANESE INTERMEDIATE CODE: A621

Effective date: 20060320

A977 Report on retrieval

Free format text: JAPANESE INTERMEDIATE CODE: A971007

Effective date: 20080507

A131 Notification of reasons for refusal

Free format text: JAPANESE INTERMEDIATE CODE: A131

Effective date: 20080513

A521 Request for written amendment filed

Free format text: JAPANESE INTERMEDIATE CODE: A523

Effective date: 20080714

A131 Notification of reasons for refusal

Free format text: JAPANESE INTERMEDIATE CODE: A131

Effective date: 20081028

A521 Request for written amendment filed

Free format text: JAPANESE INTERMEDIATE CODE: A523

Effective date: 20081224

TRDD Decision of grant or rejection written
A01 Written decision to grant a patent or to grant a registration (utility model)

Free format text: JAPANESE INTERMEDIATE CODE: A01

Effective date: 20090804

A01 Written decision to grant a patent or to grant a registration (utility model)

Free format text: JAPANESE INTERMEDIATE CODE: A01

A61 First payment of annual fees (during grant procedure)

Free format text: JAPANESE INTERMEDIATE CODE: A61

Effective date: 20090817

R150 Certificate of patent or registration of utility model

Free format text: JAPANESE INTERMEDIATE CODE: R150

FPAY Renewal fee payment (event date is renewal date of database)

Free format text: PAYMENT UNTIL: 20120904

Year of fee payment: 3

FPAY Renewal fee payment (event date is renewal date of database)

Free format text: PAYMENT UNTIL: 20120904

Year of fee payment: 3

FPAY Renewal fee payment (event date is renewal date of database)

Free format text: PAYMENT UNTIL: 20130904

Year of fee payment: 4

LAPS Cancellation because of no payment of annual fees