JP4359724B2 - 液体充填用器具及び液体充填方法 - Google Patents
液体充填用器具及び液体充填方法 Download PDFInfo
- Publication number
- JP4359724B2 JP4359724B2 JP04296199A JP4296199A JP4359724B2 JP 4359724 B2 JP4359724 B2 JP 4359724B2 JP 04296199 A JP04296199 A JP 04296199A JP 4296199 A JP4296199 A JP 4296199A JP 4359724 B2 JP4359724 B2 JP 4359724B2
- Authority
- JP
- Japan
- Prior art keywords
- liquid
- filling
- container
- liquid filling
- filling device
- Prior art date
- Legal status (The legal status is an assumption and is not a legal conclusion. Google has not performed a legal analysis and makes no representation as to the accuracy of the status listed.)
- Expired - Fee Related
Links
Images
Landscapes
- Vacuum Packaging (AREA)
- Basic Packing Technique (AREA)
Description
【発明の属する技術分野】
本発明は、剛性を有する外枠と折り畳み可能なプラスチックフィルム製袋品又はプラスチック成形品からなるフレキシブルな内容器とから構成される大型の液体容器であって、一般にバッグインボックス又はフレキシブル液体コンテナーと呼ばれる例えば数リッターから数千リッターの容量の大型液体容器の上記フレキシブルな内容器として使用される大型フレキシブル容器に液体を充填する際に用いる液体充填用器具であって、充填される液体が泡立ち易い高発泡性液体であっても、充填時に上記容器内における液体の泡立ちの問題を解決し、内容液となる液体を上記容器内に容易に充填することができる液体充填用器具及び液体充填方法に関する。
【0002】
【従来の技術及び発明が解決しようとする課題】
大型のフレキシブル容器に内容液となる液体を充填する場合、通常は、扁平袋状に折り畳んだ大型フレキシブル容器の注入口に内容液となる液体を充填装置の充填ノズルから注ぎ込んで容器内に液体を充填しているが、発泡性の高い液体を充填装置によって充填する場合、通常の充填方法では、液体の泡立ちのために容器内に発生した泡が大型フレキシブル容器の注入口から溢れて必要量を充填することができない。このような事態を避けるために、充填装置の充填ノズルと扁平袋状に折り畳んである容器の注入口とを気密に連結して、注入口から泡が溢れないようにしても、折り畳まれた容器内の残存エアーのために泡が多量に発生し、充填後に充填ノズルを取り外すと注入口から泡が溢れてしまう。このため、従来より、高発泡性の液体の充填方法として幾つかの特殊な充填方法が採用されている。
【0003】
例えば、そのひとつは、充填ノズルを先端部が容器の底部に至るまで挿入し、液面下で液を注入していくことによって、空気の巻込みによる発泡を防止する方法である。しかしながら、この方法では折り畳んであるフレキシブル容器を予めエアーブローなどによって膨らませてから充填しなければならず、本来はこのような手間をかけずに液体の充填によって折り畳まれた容器が自然に膨らむというフレキシブル容器の長所が無くなってしまうのみならず、容器の底まで届くような長い充填ノズルも必要となる。更に、エアーブローなどにより膨らませると、外気中の菌・異物を容器内に入れることになり、衛生的でなくなる。
【0004】
一方、充填時にフレキシブル容器の注入口兼注出口が容器の下側に位置するようにセットして、上記注入口に液体をポンプ圧送して容器内に液体を充填することによって、空気の巻込みによる発泡を防止する方法もあるが、例えば容量1トン用の大型のフレキシブル液体コンテナーに使用される大型フレキシブル容器であれば、液体の重さで加圧されている注入口にキャッピングすることになるので作業が煩雑で困難極まる。
【0005】
本発明は、上記事情に鑑みなされたもので、高価な充填設備を必要とせずに高発泡性の液体を大型フレキシブル容器に簡単に充填することができる液体充填用器具及び液体充填方法を提供することを目的とするものである。
【0006】
【課題を解決するための手段】
本発明者は、上記目的を達成するために、(1)充填用の注入口を有する大型フレキシブル容器に液体を充填する際に充填装置と上記容器の注入口との間に取り付けられる器具であって、
上記器具は、上端部が上記充填装置側に、下端部が上記容器の注入口側に、それぞれ気密に連結可能な管本体を備え、
上記管本体は、上記管本体内を液体が流通する状態としたり、流通しない状態とすることができる液体流通制御手段として開閉用ハンドルを具備した管本体用バルブが設けられ、
更に上記管本体は、真空ポンプ又はガスボンベのホースと気密に連結可能で、かつ気体が外部と上記管本体との間を流通するようにしたり、流通しないようにすることができる気体流通制御手段を備える分岐管が上記管本体用バルブと上記管本体の下端部との間に設けられたことを特徴とする液体充填用器具を提供する。
【0007】
ここで、上記管本体がその上端部及び下端部にネジ部を有するように構成されていると、より好適であり、更に、上記管本体に該管本体内の液体の流通を制御する液体流通制御手段を設けたり、上記分岐管の先端部が連結器付きホースの連結器によって連結されるように構成しても、より好適である。
【0008】
更に、(2)大型フレキシブル容器内に充填装置を使用して液体を充填する液体充填方法であって、上記大型フレキシブル容器の注入口側に上記(1)記載の液体充填用器具の管本体の下端部を気密に連結すると共に、上記充填装置側に液体充填用器具の管本体の上端部を気密に連結した後、上記液体充填用器具の分岐管の上記気体流通制御手段を気体が流通する状態にして上記液体充填用器具を介して上記容器内の空気を吸引除去し、次いで上記気体流通制御手段を気体が流通しない状態にした後、上記容器内に液体を充填することを特徴とする液体充填方法を提供する。
【0009】
本発明の液体充填用器具は、上端部が液体充填装置側と気密に連結可能であり、且つ下端部が大型フレキシブル容器の注入口側と気密に連結可能である管本体に、気体流通制御手段を備えた分岐管を設けたものであり、この液体充填用器具を用いて本発明の液体充填方法によって大型フレキシブル容器に内容液となる液体を充填することにより、充填される液体が高発泡性のものであっても、上述したような液体充填時に容器内で泡が発生することによる不具合を防ぐことができる。
【0010】
即ち、本発明の液体充填方法は、上記液体充填用器具の管本体の下端部を例えば大型フレキシブル容器の注入口とネジ込みなどの適当な方法により密封された状態で取り付けることによって管本体の下端部を注入口側に気密に連結し、また、その上端部を同様に例えば充填装置の充填ノズルに気密に取り付けることによって充填装置側に気密に連結した後、上記分岐管の気体流通制御手段を気体が流通する状態にして上記液体充填用器具を介して上記容器内の空気を吸引脱気し、次いで上記気体流通制御手段を気体が流通しない状態にした後、上記容器内に液体を充填するものである。
【0011】
上記液体充填方法によれば、通常は扁平に折り畳まれた状態でセットされる上記容器内の残存エアー及び上記液体充填用器具内、充填ノズル内のエアーなどの充填系のエアーを上記吸引除去工程によって脱気することができ、このように充填系のエアーをなくした後、上記気体流通制御手段を気体が流通しない状態にして充填系の脱気状態を維持し、次いで充填タンク内の液体を上記注入口から容器内に注入するので、注入される液体が空気を巻き込むことがなく、そのため、上記液体が高発泡性液体であっても容器内で泡が発生することなく、所定量の液体を容易に充填することができる。
【0012】
ここで、上記液体充填用器具の管本体が、その上端部及び下端部にネジ部を有するものであると、上記液体充填用器具の取り付けが容易となるので、より好適である。
【0013】
更に、上記管本体に該管本体内の液体の流通を制御する液体流通制御手段を設けると、上記充填装置の充填バルブを開状態にした後は、充填バルブによらず上記液体流通制御手段によって充填タンク内の液体の容器内への注入を制御することができ、例えば上記液体充填用器具を充填装置と容器の注入口との間に気密に取りつけた後、充填バルブを開いておけば、その後は上記液体流通制御手段によって吸引除去工程における液体注入の待機、液体充填工程における液体注入の開始、終了の操作を行なうことができ、充填バルブをいじる必要がないので、充填バルブが手元から離れたところに設けられている場合、充填バルブの開閉操作が煩雑な場合などに、より好適である。
【0014】
また、上記分岐管の先端部が連結器付きホースの連結器によって連結されるように構成すると、例えば上記吸引除去工程において連結器付きホースを備えた真空ポンプを利用するときに簡単に真空ポンプに連結することができるのみならず、例えば更に充填後に容器内のヘッドスペースに窒素などの気体を導入する必要がある場合、容易にホースを付け替えることができるので、より好適であり、特に上記分岐管の先端部に上記ホースの連結器が装着されると自動的に開状態となり、脱着されると自動的に閉状態となる弁が内蔵された連結器を取り付けた構成(いわゆるワンタッチ式カプラー)とすると、これらの連結器が上記分岐管の気体流通制御手段となるので、更に好適である。
【0015】
【発明の実施の形態及び実施例】
以下、本発明について図面を参照して更に詳しく説明する。
【0016】
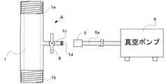
図1は、本発明の液体充填用器具の一構成例を説明する液体充填用器具Aの正面図である。ここで、図中1は、管本体であり、この管本体1は、図2に示すようにその上端部1a及び下端部1bにネジ部を有し、上端部1aが充填装置の充填ノズル2の先端部と螺合し、下端部1bが大型フレキシブル容器3の注入口3aと螺合するようになっている。更に、管本体1の長さ方向中間部には、気体流通制御手段として開閉可能なバルブ4を備えた分岐管1cが管本体1の軸方向に直交する方向に分岐されており、この分岐管1cの先端部1dは、カプラー(連結器)5と螺合するように構成されて、真空ポンプ6のホース6aに上記カプラー6を介してワンタッチで取り外しができるように連結されている。
【0017】
上記液体充填用器具Aは、上述したように管本体1の上端部1a、下端部1bがそれぞれ充填ノズル2側、大型フレキシブル容器3の注入口3a側と気密に連結するように構成されている限り、その大きさが特に制限されるものではなく、充填装置、大型フレキシブル容器の大きさ等に合わせて適宜選定することができる。また、上記管本体の上端部及び下端部は、それぞれ充填ノズルの先端部及び注入口と直接螺合させる必要はなく、他の連結器を介在させてもよい。このような連結器としては、例えば嵌合式でカムロック脱着防止機構があるものが作業性に優れている。このように他の連結器を介在させれば、上記管本体の上端部又は下端部のいずれか一方を先に螺合して、他の一方を後から螺合する場合、連結器の嵌合部が回転する構造となるので、ホース等のねじれを吸収することができ、上記管本体1の回転の自由度が確保されるので、より好適である。
【0018】
そして、上記分岐管1cは、上記管本体1の長さ方向中間部で分岐していればよく、特にその位置が制限されるものではないが、長さ方向中央部付近で分岐していることが望ましい。また、本発明の場合、上記分岐管1cは、上記管本体1の軸方向に直交する方向のみならず、やや斜め上方向、斜め下方向に向かって延出していてもよい。また、上記分岐管1c大きさも特に制限されるものではなく、適宜選定することができる。
【0019】
上記液体充填用器具Aは、その材質が特に制限されるものではなく、適宜選定することができ、例えば硬質プラスチック、アルミニウム,真ちゅう,ステンレス等の金属などを好適に使用することができる。
【0020】
ここで、本発明の液体充填用器具の分岐管1cに取り付けられる気体流通制御手段は、上記分岐管1cを介して気体が外部と管本体1との間を流通するようにしたり、流通しないようにすることができる限り、その構成が制限されるものではなく、各種構成のバルブ(弁)、コックなど適宜選定して図1に示すコック4のように分岐管1cに取り付けてもよく、後述する図3に示す他の構成例のように、分岐管1cの先端部1dを弁機能を有するワンタッチ式カプラーによって気体が流通する状態となったり、流通しない状態となるように構成することもできる。
【0021】
上記液体充填用器具Aの製造方法は、特に制限されるものではなく、例えば硬質プラスチック材によって製造するのであれば、射出成形等の公知のプラスチック成形方法を適宜選定して製造することができる。
【0022】
次に、図2を用いて上記液体充填用器具Aを利用して大型フレキシブル容器に内容液となる液体を充填装置により充填する本発明の液体充填方法の一構成例を説明する。なお、本発明の液体充填方法は、充填する液体の種類が特に制限されるものではないが、本発明の目的を考慮すれば、高発泡性液体が効果的であり、高発泡性液体としては、例えばしょう油,酢,日本酒等の食品、界面活性剤,液体洗浄剤等の工業薬品などを挙げることができる。
【0023】
図2は、大型フレキシブル容器3を充填系にセットした状態を示す切断部端面図である。図中7は、フレキシブルコンテナーの外装箱となる外枠であり、この外枠7内に扁平袋状に折り畳んだ上記大型フレキシブル容器3をその注入口3aが上側となるように収納し、上記注入口3aと上記液体充填用器具Aの管本体1の下端部1bとを螺合させると共に、上記液体充填用器具Aの管本体1の上端部1aを充填タンク(図示せず)に連結した充填用ホース8の先端に充填用バルブ9を介して取り付けられた充填ノズル2の先端部に螺合させることによって、上記液体充填用器具Aを介して上記大型フレキシブル容器3を上記充填ノズルに気密に取り付ける。
【0024】
ここで、上記大型フレキシブル容器3は、剛性を有する段ボール箱からなるコンテナー外枠7を外装して、いわゆるバッグインボックスの内容器又は内袋として使用されるものであり、容器3内に充填された内容液を保管、輸送する大型容器であって、その内容量は、好ましくは5〜10,000リットル、より好ましくは50〜2,000リットルである。そして、上記容器3の注入口3aは、内容液となる液体を充填する時に利用されるものであり、充填後は内容液を注出するための注出口として利用することもできる。なお、上記容器3には、この注入口3aに螺合する図示しないキャップが備えられており、内容液を充填した後、内容液が漏洩しないように上記キャップで密栓できるようになっている。
【0025】
上記のようにセットした大型フレキシブル容器3に内容液10となる液体を充填するには、まず、上記バルブ4を開状態とし、真空ポンプ6を駆動させることによって、上記分岐管1cを通じて上記容器3内の残存エアー及び液体充填用器具A内、充填ノズル2内等の充填系のエアーを吸引除去し、容器内及び充填系を真空状態にした後、上記バルブ4を閉状態にする。次に、上記充填バブル9を開状態にして、図中矢印Xで示すように上記充填タンク内の液体を充填用ホース8、充填ノズル2を通じて注入口3aから容器3内に注入する。
【0026】
この方法によれば、容器3内部の残存エアー及び液体充填用器具A内、充填ノズル2内等の充填系のエアーを脱気した後に容器3内に液体を注入するので、容器内に注入される液体が空気を巻き込まず、従って、上記液体が高発泡性液体であっても容器内で泡立つことがなく、容器3内に所定量の液体を容易に充填することができる。
【0027】
そして、上記方法によって上記大型フレキシブル容器3内に所定量の内容液10を充填した後は、容器内に例えば窒素ガスを充填するなどの必要があれば、上記真空ポンプ6のホース6aを窒素ガスボンベなどに付け替えれば、上記液体充填用器具Aを介して窒素ガスを容器内に導入することができ、その後、上記液体充填用器具Aを上記注入口3aから取り外し、図示しないキャップにより上記注入口3aを密栓する。
【0028】
次に、本発明の液体充填用器具の他の構成例を図3を用いて説明する。図3に示した液体充填用器具A’は、管本体1に管本体1内を液体が流通する状態としたり、流通しない状態とすることができる液体流通制御手段として管本体用バルブ11を設け、更に上述したように分岐管1cに設けられる気体流通制御手段を分岐管1cの先端部1dへの弁機能を有するエアー用ワンタッチ式カプラー4’の着脱によって行なう構成としたものであり、その他の構成は上記液体充填用器具Aと同様である。
【0029】
ここで、上記管本体用バルブ11は、開閉用ハンドル11aと弁棒11bと管本体1内に設けられた弁座11cを備え、開閉用ハンドル11aを図中矢印Yのように時計回り、又は反時計回りに回すことによって、弁棒11bが図中矢印Zのように管本体1内を上下動し、弁棒11bが最も下がった時に管本体1内の液体流路を閉塞するものである。
なお、本発明の場合、管本体1に設けられる液体流通制御手段としては、上記バルブ以外にも例えば各種ボールバルブ、弁棒を中心とした弁体が開閉用ハンドルの開閉操作に従って回転して流体通路を開閉する各種バタフライバルブなどを使用することができる。
【0030】
また、上記分岐管1cの先端部1dには、真空ポンプのホース6a先端のエアー用ワンタッチ式カプラー4’が連結されると自動的に開き、分離されると自動的に閉じる弁を内蔵した連結器4”が取り付けられており、これらの着脱と同時に分岐管内の気体流通制御ができるように構成されている。
【0031】
上記液体充填用器具A’を使用して液体の充填を行なうと、容器内の残存エアーの吸引除去工程における気体流通制御がエアー用ワンタッチ式カプラー4’の着脱のみで行なうことができ、更に、上記液体充填用器具A’を充填装置と容器の注入口との間に気密に取りつけた後に充填バルブを開いておけば、吸引除去工程中は上記管本体用バルブ11を閉状態としておき、液体充填工程中に開状態、液体充填工程終了時に閉状態とするというように液体の注入待機、注入開始、注入終了の操作を液体充填用器具A’を用いて行なうことができるので、充填バルブが充填タンクの近傍に取り付けられていたり、充填バルブの開閉操作が煩雑な場合であっても、一連の工程を簡単、且つ円滑に行なうことができる。
【0032】
なお、本発明は、上記構成に限定されるものではなく、本発明の要旨を逸脱しない範囲で種々変更して差し支えない。
【0033】
次に、本発明を実施例を用いてより詳細に説明する。
【0034】
容量1000リットル用の液体用大型フレキシブルコンテナーの内容器(大型フレキシブル容器)に内容液として界面活性剤(有効成分70重量%の界面活性剤)の0.05重量%水溶液を充填装置(2インチ配管+50リットル/分流量の充填設備)を使用し、本発明の液体充填用器具として、図3に示したように管本体1に管本体用バルブ11を備えると共に、エアー用ワンタッチ式カプラー4’と分岐管1cの先端部1dの連結器4”との着脱によって、分岐管先端部の弁が開閉する気体流通制御手段を備え、高密度ポリエチレン(HDPE)製の管本体1の長さが20cm,内径2インチ、分岐管1cの長さが2cm,内径8mmの液体充填用器具A’を使用して、それぞれ表1に示す方法以外の手順は同様にして通常の条件で充填し、その充填状態を観察した。結果を表1に併記する。なお、脱気は真空ポンプ(VP0935;日東工器製;到達真空度−340mmHg)により行った。
【0035】
【表1】
【0036】
表1の結果より、本発明によれば特殊な充填設備を必要とせずに高発泡性液体を容易に充填できることが認められる。
【0037】
【発明の効果】
本発明によれば、大型フレキシブル容器に液体を充填する際に、本発明の液体充填用器具を利用することによって、充填する液体が高発泡性液体であっても高価な充填設備は必要がなく、一般に汎用されている充填設備に例えば真空ポンプなどの吸引装置を併用するだけで簡単に充填することができる。
【図面の簡単な説明】
【図1】本発明の液体充填用器具の一構成例を説明する液体充填用器具の正面図である。
【図2】本発明の液体充填方法の一構成例を説明する充填系にセットされた大型フレキシブル容器の切断部端面図である。
【図3】本発明の液体充填用器具の他の構成例を説明する液体充填用器具の正面図である。
【符号の説明】
A,A’ 液体充填用器具
1 管本体
1a 上端部
1b 下端部
1c 分岐管
1d 先端部
3 大型フレキシブル容器
3a 注入口
4 バルブ(気体流通制御手段)
4’ エアー用ワンタッチ式カプラー(気体流通制御手段)
4” 連結器(気体流通制御手段)
10 液体
11 管本体用バルブ(液体流通制御手段)
Claims (4)
- 充填用の注入口を有する大型フレキシブル容器に液体を充填する際に充填装置と上記容器の注入口との間に取り付けられる器具であって、
上記器具は、上端部が上記充填装置側に、下端部が上記容器の注入口側に、それぞれ気密に連結可能な管本体を備え、
上記管本体は、上記管本体内を液体が流通する状態としたり、流通しない状態とすることができる液体流通制御手段として開閉用ハンドルを具備した管本体用バルブが設けられ、
更に上記管本体は、真空ポンプ又はガスボンベのホースと気密に連結可能で、かつ気体が外部と上記管本体との間を流通するようにしたり、流通しないようにすることができる気体流通制御手段を備える分岐管が上記管本体用バルブと上記管本体の下端部との間に設けられたことを特徴とする液体充填用器具。 - 上記管本体がその上端部及び下端部にネジ部を有する請求項1記載の液体充填用器具。
- 上記気体流通制御手段は、上記分岐管の先端部に設けられ、上記分岐管の先端部と上記ホースとが連結されると自動的に開き、上記分岐管の先端部と上記ホースとが分離されると自動的に閉じる弁を内蔵した連結器である請求項1又は2記載の液体充填用器具。
- 大型フレキシブル容器内に充填装置を使用して液体を充填する液体充填方法であって、上記大型フレキシブル容器の注入口側に請求項1乃至3のいずれか1項記載の液体充填用器具の管本体の下端部を気密に連結すると共に、上記充填装置側に液体充填用器具の管本体の上端部を気密に連結した後、上記液体充填用器具の分岐管の上記気体流通制御手段を気体が流通する状態にして上記液体充填用器具を介して上記容器内の空気を吸引除去し、次いで上記気体流通制御手段を気体が流通しない状態にした後、上記容器内に液体を充填することを特徴とする液体充填方法。
Priority Applications (1)
| Application Number | Priority Date | Filing Date | Title |
|---|---|---|---|
| JP04296199A JP4359724B2 (ja) | 1999-02-22 | 1999-02-22 | 液体充填用器具及び液体充填方法 |
Applications Claiming Priority (1)
| Application Number | Priority Date | Filing Date | Title |
|---|---|---|---|
| JP04296199A JP4359724B2 (ja) | 1999-02-22 | 1999-02-22 | 液体充填用器具及び液体充填方法 |
Publications (2)
| Publication Number | Publication Date |
|---|---|
| JP2000238890A JP2000238890A (ja) | 2000-09-05 |
| JP4359724B2 true JP4359724B2 (ja) | 2009-11-04 |
Family
ID=12650640
Family Applications (1)
| Application Number | Title | Priority Date | Filing Date |
|---|---|---|---|
| JP04296199A Expired - Fee Related JP4359724B2 (ja) | 1999-02-22 | 1999-02-22 | 液体充填用器具及び液体充填方法 |
Country Status (1)
| Country | Link |
|---|---|
| JP (1) | JP4359724B2 (ja) |
Families Citing this family (1)
| Publication number | Priority date | Publication date | Assignee | Title |
|---|---|---|---|---|
| JP7682600B2 (ja) * | 2018-09-14 | 2025-05-26 | 大日本印刷株式会社 | 分与方法、分与装置、及び、液体充填済み容器の製造方法 |
Family Cites Families (6)
| Publication number | Priority date | Publication date | Assignee | Title |
|---|---|---|---|---|
| US3824762A (en) * | 1973-03-30 | 1974-07-23 | Dow Chemical Co | Apparatus for filling and hermetically sealing thermoplastic containers under vacuum |
| JPS5811759Y2 (ja) * | 1976-12-16 | 1983-03-05 | 備南工業株式会社 | 合成樹脂成型袋用注入ノズル |
| ZA8266B (en) * | 1981-01-13 | 1982-11-24 | Wrightcel Ltd | Liquid filling apparatus |
| JPS58192205U (ja) * | 1982-06-17 | 1983-12-21 | 大日本印刷株式会社 | 脱気およびガス封入ノズル付き充填バルブ |
| JPH0343322A (ja) * | 1989-06-30 | 1991-02-25 | Hitachi Zosen Sangyo Kk | 袋状容器への液充填方法 |
| JPH11171102A (ja) * | 1997-12-18 | 1999-06-29 | Seiko Corp | 袋状容器への流体充填装置およびその方法 |
-
1999
- 1999-02-22 JP JP04296199A patent/JP4359724B2/ja not_active Expired - Fee Related
Also Published As
| Publication number | Publication date |
|---|---|
| JP2000238890A (ja) | 2000-09-05 |
Similar Documents
| Publication | Publication Date | Title |
|---|---|---|
| US10486956B2 (en) | Apparatus and methods for filling and dispensing liquids | |
| EP0989090B1 (en) | Methods and systems for distributing liquid chemicals | |
| EP2999633B1 (en) | Aseptic filler for flowable products | |
| JPS61115879A (ja) | びん等内への液体充填の方法とその装置 | |
| AU2017382934B9 (en) | Container coupling and opening device with probe | |
| CN1852858A (zh) | 饮料分配器组件和设有压力介质储存器的容器 | |
| BRPI0610548A2 (pt) | processo de enchimento e dispositivo de enchimento de um reservatório de volume útil variável | |
| CN106829836A (zh) | 用于填充机的填充装置 | |
| JP4359724B2 (ja) | 液体充填用器具及び液体充填方法 | |
| US6766838B1 (en) | Liquid dispensing device | |
| JP2000238888A (ja) | 大型フレキシブル容器及び液体充填方法 | |
| EP0966211B1 (en) | Method for emptying and cleaning flexible bags | |
| JPH02296694A (ja) | 炭酸入り液体を圧力下で吐出させるためのコック | |
| JP2005231674A (ja) | 充填装置 | |
| RU2354606C1 (ru) | Устройство для розлива бутилированной воды | |
| JP2001058602A (ja) | スパウト付きパウチ容器の充填方法及び充填装置 | |
| WO2019112633A1 (en) | Apparatus and method for separation of air from fluids | |
| CN100526164C (zh) | 用于在无菌环境下填装密封柔性容器的机器 | |
| JPH11198994A (ja) | 飲料分配装置用の洗浄水供給装置 | |
| US11613388B2 (en) | Method and apparatus for siphoning a beverage into a flexible container | |
| JPS591395A (ja) | 液体または粘性物の充填装置 | |
| JP2025126520A (ja) | 液体吸引装置 | |
| JPS59199492A (ja) | 液体充填装置 | |
| JPH06263194A (ja) | 飲み物供給装置 | |
| BR102016010138A2 (pt) | System and method for fractured extraction and disposal of vacuum liquids |
Legal Events
| Date | Code | Title | Description |
|---|---|---|---|
| A621 | Written request for application examination |
Free format text: JAPANESE INTERMEDIATE CODE: A621 Effective date: 20060125 |
|
| A977 | Report on retrieval |
Free format text: JAPANESE INTERMEDIATE CODE: A971007 Effective date: 20071220 |
|
| A131 | Notification of reasons for refusal |
Free format text: JAPANESE INTERMEDIATE CODE: A131 Effective date: 20080312 |
|
| A521 | Written amendment |
Free format text: JAPANESE INTERMEDIATE CODE: A523 Effective date: 20080509 |
|
| A131 | Notification of reasons for refusal |
Free format text: JAPANESE INTERMEDIATE CODE: A131 Effective date: 20081126 |
|
| A521 | Written amendment |
Free format text: JAPANESE INTERMEDIATE CODE: A523 Effective date: 20090120 |
|
| TRDD | Decision of grant or rejection written | ||
| A01 | Written decision to grant a patent or to grant a registration (utility model) |
Free format text: JAPANESE INTERMEDIATE CODE: A01 Effective date: 20090715 |
|
| A01 | Written decision to grant a patent or to grant a registration (utility model) |
Free format text: JAPANESE INTERMEDIATE CODE: A01 |
|
| A61 | First payment of annual fees (during grant procedure) |
Free format text: JAPANESE INTERMEDIATE CODE: A61 Effective date: 20090728 |
|
| R150 | Certificate of patent or registration of utility model |
Free format text: JAPANESE INTERMEDIATE CODE: R150 |
|
| FPAY | Renewal fee payment (event date is renewal date of database) |
Free format text: PAYMENT UNTIL: 20120821 Year of fee payment: 3 |
|
| FPAY | Renewal fee payment (event date is renewal date of database) |
Free format text: PAYMENT UNTIL: 20120821 Year of fee payment: 3 |
|
| FPAY | Renewal fee payment (event date is renewal date of database) |
Free format text: PAYMENT UNTIL: 20150821 Year of fee payment: 6 |
|
| R250 | Receipt of annual fees |
Free format text: JAPANESE INTERMEDIATE CODE: R250 |
|
| LAPS | Cancellation because of no payment of annual fees |
