JP4293003B2 - 超音波溶接装置 - Google Patents

超音波溶接装置 Download PDF

Info

Publication number
JP4293003B2
JP4293003B2 JP2004027134A JP2004027134A JP4293003B2 JP 4293003 B2 JP4293003 B2 JP 4293003B2 JP 2004027134 A JP2004027134 A JP 2004027134A JP 2004027134 A JP2004027134 A JP 2004027134A JP 4293003 B2 JP4293003 B2 JP 4293003B2
Authority
JP
Japan
Prior art keywords
horn
members
cradle
ultrasonic welding
nipple
Prior art date
Legal status (The legal status is an assumption and is not a legal conclusion. Google has not performed a legal analysis and makes no representation as to the accuracy of the status listed.)
Expired - Fee Related
Application number
JP2004027134A
Other languages
English (en)
Other versions
JP2005219064A (ja
Inventor
馨 栗永
Current Assignee (The listed assignees may be inaccurate. Google has not performed a legal analysis and makes no representation or warranty as to the accuracy of the list.)
Denso Corp
Original Assignee
Denso Corp
Priority date (The priority date is an assumption and is not a legal conclusion. Google has not performed a legal analysis and makes no representation as to the accuracy of the date listed.)
Filing date
Publication date
Application filed by Denso Corp filed Critical Denso Corp
Priority to JP2004027134A priority Critical patent/JP4293003B2/ja
Publication of JP2005219064A publication Critical patent/JP2005219064A/ja
Application granted granted Critical
Publication of JP4293003B2 publication Critical patent/JP4293003B2/ja
Anticipated expiration legal-status Critical
Expired - Fee Related legal-status Critical Current

Links

Images

Landscapes

  • Pressure Welding/Diffusion-Bonding (AREA)

Description

本発明は、振動子から発生される超音波振動によって2つの部材同士を接合する超音波溶接装置に関するものである。
2つの部材同士を接合する技術として、例えば非特許文献1に示されるように、超音波溶接(超音波溶接装置)を用いたものが知られている。この超音波溶接は、2つの部材を重ねてアンビル(受け台)の上に置き、接合面に垂直な静加圧力を加えた状態で、振動子によって発生される超音波振動をホーンを介して接合面に加えることで、2つの部材同士の接合を可能としている。
(社)日本電子機械工業会編「超音波工学」 コロナ出版
しかしながら、上記超音波溶接においては、通常、一組の部材同士を接合するものとしており、生産性の向上を狙って複数組の部材同士を同時に接合しようとした場合に、各部材の重ね方向の寸法バラツキや、受け台およびホーン間の隙間寸法バラツキ(平行度)等によって、各組の部材同士を均等に加圧させることが難しくなり、複数組の部材同士を同時に良好に接合することができないという問題があった。
本発明の目的は、上記問題に鑑み、複数組の部材同士を同時に接合可能とする超音波溶接装置を提供することにある。
本発明は上記目的を達成するために、以下の技術的手段を採用する。
請求項1に記載の発明では、重ねられた第1部材(10)および第2部材(20)のうち、第1部材(10)を支持する支持部(111)を有する受け台(110)と、第2部材(20)側から第1部材(10)側に加圧力を与えつつ、振動子によって発生される超音波振動を第2部材(20)に付加するホーン(120)とを有し、加圧力および超音波振動によって両部材(10、20)同士を接合する超音波溶接装置において、支持部(111)は、複数設けられると共に、受け台(110)およびホーン(120)間方向に摺動可能とし、支持部(111)と受け台(110)との間には、第1部材(10)を介して第2部材(20)をホーン(120)に加圧力に相当する付勢力で当接させる弾性部材(130)を設け、第1部材(10)に対する第2部材(20)の位置決めを行う位置決め部(140)を有し、ホーン(120)は、位置決め部(140)を避けて第2部材(20)に当接するようにしたことを特徴としている。
これにより第1部材(10)および第2部材(20)の重ね方向の寸法バラツキ、あるいは受け台(110)およびホーン(120)間の寸法バラツキ等を吸収して、複数組の両部材(10、20)のすべてを支持部(111)とホーン(120)との間に確実に挟持して、加圧させることができるので、複数組の両部材(10、20)を同時に接合できる。
そして、第1部材(10)に対して第2部材(20)を容易に位置決めして両部材(10、20)を接合することができる。
請求項2に記載の発明では、両部材(10、20)間の当接面の一方側(20)には、
一様に分布配置され、他方側(10)に突出する複数の凸部(21)が設けられ、両部材
(10、20)は凸部(21)によって仮接合されるものとして供給されることを
特徴としている。
これにより、両部材(10、20)の当接面における平面度や、受け台(110)およびホーン(120)間の平行度等が劣る場合でも、加圧力に相当する弾性部材(130)からの付勢力によって片当りする近傍の凸部(21)を先に潰して、当接面において複数の凸部(21)を全体的に当接させることができる。よって、弾性部材(130)による付勢力を両部材(10、20)間に均等に付加することができ、確実な仮接合が可能となる。
また、上記対応は両部材(10、20)の材質が異なり、当接面同士の馴染みが悪い場合でも、凸部(21)における集中的な仮接合が可能となり、好適な手法として用いることができる。
尚、上記各手段の括弧内の符号は、後述する実施形態記載の具体的手段との対応関係を示すものである。
(第1実施形態)
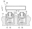
本発明の超音波溶接装置100は、図1に示すように、ここでは二重管式オイルクーラ(図示せず)のオイル出入り口部となるニップル10と、このニップル10をオイルクーラ本体部(図示せず)にろう付けするためのろう材20とを予め接合する溶接装置としており、まず、基本的な構成について説明する。
ここで、ニップル(本発明の第1部材に対応)10は、高力黄銅材から成り、切削加工によって円筒状の本体部11の中間部にフランジ部12が設けられた部材であり、また、ろう材(本発明の第2部材に対応)20は、銅系材から成り、扁平なリング状を成す部材である。
超音波溶接装置100は、主に受け台110とホーン120とから成る。受け台110は、重ねられたニップル10およびろう材20のうち、ニップル10を支持する支持部111を有する。支持部111は、有底の円筒状を成しており、この支持部111より一回り大きく形成された有底円筒状のケース部112内を図1中の上下方向(受け台110およびホーン120間方向)に摺動可能と成るように収容されている。尚、ケース部112自身は受け台110に固定されている。
また、ケース部112(受け台110)と支持部111との間には弾性部材としてのバネ130が介在されており、支持部111を所定力(後述する溶接時の加圧力に相当)でホーン120側に付勢するようにしている。そして、本発明では上記ケース部112およびバネ130を有する支持部111を受け台110に対して複数(ここでは2つ)設けている。
一方、ホーン120は、2つの支持部111の配置領域に拡がる平板状(図1は断面表示のため、扁平な四角形状で示している)を成している。ホーン120は、図1中の上下方向に可動し、溶接時には下降して二組のニップル10およびろう材20を共に押下げて、2つのろう材20が共にホーン120に当接するようにすると共に、図示しない超音波振動子からの振動をろう材20に付加する。
次に、上記構成に基づく超音波溶接装置100の作動およびその作用効果について説明する。まず、作業者によって支持部111にニップル10がセットされる。これは、支持部111の内部空間にニップル10の本体部11の下側が挿入され、支持部111の開口側にニップル10のフランジ部12が支持されることで成される。そして、ニップル10の本体部11の上側にろう材20が重ねられてセットされる。
その後に、ホーン120が下降し、支持部111を押下げながら、ホーン120に2つのろう材20を共に当接させる。この時、バネ130の付勢力によって、支持部111、ホーン120間でニップル10およびろう材20は加圧されることになる。
そして、振動子から発生される超音波振動がホーン120に伝達され、ホーン120は、ろう材20を振動させる。ニップル10とろう材20は、付加される加圧力によって圧縮変形され、振動によって相対的に滑り移動しつつ、当接面で新生凝着することで接合される。
本発明においては、バネ130によって支持部111が上下方向に摺動可能としているので、ニップル10およびろう材20の重ね方向の寸法バラツキ、あるいは受け台110およびホーン120間の寸法バラツキ等(図1中のh、H寸法のバラツキ)を吸収して、複数組の両部材10、20のすべてを支持部111とホーン120との間に確実に挟持して、均等に加圧させることができるので、複数組の両部材10、20を同時に接合できる。
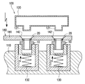
(第2実施形態)
本発明の第2実施形態を図2に示す。第2実施形態は、上記第1実施形態に対して、ろう材20をニップル10にセットする際の位置決め部140を追加したものである。
位置決め部140は、平板状の本体部141に、ニップル10位置に対応するようにすり鉢状の穴部142が設けられたものであり、作業者がニップル10を支持部111にセットした後に、このニップル10の上側に移動配置されるようにしている。そして、作業者はろう材20を位置決め部140の穴部142から挿入するようにしている。
一方、ホーン120は、ろう材20側に下降した際に位置決め部140を避けて、ろう材20の上側面にのみ当接するように、凸状部121が形成されている。
これにより、ニップル10に対してろう材20を容易に位置決めして、両者10、20を接合することができる。
(第3実施形態)
上記第1、第2実施形態におけるろう材20は、オイルクーラ本体へのろう付け用部材であるので、ニップル10に対しては、ろう付けを実施するまでの仮接合として、接合されていれば事足りるものである。よって、仮接合を念頭に置いた場合は、図3、図4に示すように、ろう材20にリング状に均等配置され、ニップル10側に突出する凸部21を複数(ここでは6つ)設けて対応するようにしても良い。
この場合は、ニップル10とろう材20の当接面における平面度や、受け台110およびホーン120間の平行度等が劣る場合でも、加圧力に相当する付勢力よって片当りする近傍の凸部21を先に潰して、当接面において複数の凸部21を全体的に当接させることができる。よって、バネ130による付勢力を両部材10、20間に均等に付加することができ、確実な仮接合が可能となる。
尚、上記対応は両部材10、20の材質が異なり、当接面同士の馴染みが悪い場合でも、凸部21における集中的な仮接合が可能となり、好適な手法として用いることができる。
(その他の実施形態)
上記第1〜第3実施形態では、二重管式オイルクーラに用いるニップル10およびろう材20を例にして、両部材10、20を接合するものとして説明したが、2つの部材はこれに限定されるものでは無く、その他の板部材等の種々ものへの対応が可能である。
また、同時に接合する部材同士の組み合わせ数は、2つに限定されるものでは無く、3つ以上としても良い。
第1実施形態における超音波溶接装置を示す断面図である。 第2実施形態における超音波溶接装置を示す断面図である。 第3実施形態におけるろう材を示す平面図である。 図3におけるA−A部を示す断面図である。
符号の説明
10 ニップル(第1部材)
20 ろう材(第2部材)
21 凸部
100 超音波溶接装置
110 受け台
111 支持部
120 ホーン
130 バネ(弾性部材)
140 位置決め部

Claims (2)

  1. 重ねられた第1部材(10)および第2部材(20)のうち、前記第1部材(10)を支持する支持部(111)を有する受け台(110)と、
    前記第2部材(20)側から前記第1部材(10)側に加圧力を与えつつ、振動子によって発生される超音波振動を前記第2部材(20)に付加するホーン(120)とを有し、
    前記加圧力および前記超音波振動によって前記両部材(10、20)同士を接合する超音波溶接装置において、
    前記支持部(111)は、複数設けられると共に、前記受け台(110)および前記ホーン(120)間方向に摺動可能とし、
    前記支持部(111)と前記受け台(110)との間には、前記第1部材(10)を介して前記第2部材(20)を前記ホーン(120)に前記加圧力に相当する付勢力で当接させる弾性部材(130)を設け
    前記第1部材(10)に対する前記第2部材(20)の位置決めを行う位置決め部(140)を有し、
    前記ホーン(120)は、前記位置決め部(140)を避けて前記第2部材(20)に当接するようにしたことを特徴とする超音波溶接装置。
  2. 前記両部材(10、20)間の当接面の一方側(20)には、一様に分布配置され、他方側(10)に突出する複数の凸部(21)が設けられ、
    前記両部材(10、20)は前記凸部(21)によって仮接合されるものとして供給されることを特徴とする請求項1に記載の超音波溶接装置。
JP2004027134A 2004-02-03 2004-02-03 超音波溶接装置 Expired - Fee Related JP4293003B2 (ja)

Priority Applications (1)

Application Number Priority Date Filing Date Title
JP2004027134A JP4293003B2 (ja) 2004-02-03 2004-02-03 超音波溶接装置

Applications Claiming Priority (1)

Application Number Priority Date Filing Date Title
JP2004027134A JP4293003B2 (ja) 2004-02-03 2004-02-03 超音波溶接装置

Publications (2)

Publication Number Publication Date
JP2005219064A JP2005219064A (ja) 2005-08-18
JP4293003B2 true JP4293003B2 (ja) 2009-07-08

Family

ID=34995118

Family Applications (1)

Application Number Title Priority Date Filing Date
JP2004027134A Expired - Fee Related JP4293003B2 (ja) 2004-02-03 2004-02-03 超音波溶接装置

Country Status (1)

Country Link
JP (1) JP4293003B2 (ja)

Families Citing this family (2)

* Cited by examiner, † Cited by third party
Publication number Priority date Publication date Assignee Title
RS52603B (sr) * 2006-05-11 2013-04-30 Indag Gesellschaft für Industriebedarf mbH & Co. Betriebs KG Uređaj za ultrazvučno zavarivanje
JP6934688B2 (ja) * 2016-11-15 2021-09-15 株式会社キーレックス 金属部品の製造方法及び金属部品製造装置

Also Published As

Publication number Publication date
JP2005219064A (ja) 2005-08-18

Similar Documents

Publication Publication Date Title
US8950458B2 (en) System and method for mounting ultrasonic tools
CN101173671A (zh) 离心式风机及其制造方法
JPS6026011B2 (ja) 液圧音響式溶着機
JP4293003B2 (ja) 超音波溶接装置
WO2013085942A1 (en) Linear friction welding method
KR101599987B1 (ko) 초음파 용착장치
JP2006212692A (ja) 超音波接合方法およびその装置
US20040031423A1 (en) Self-adjusting dynamic floating fixture
JP6413929B2 (ja) 半導体装置の製造方法
JP2018083209A (ja) 超音波接合装置
JP6739795B2 (ja) 金属部品の製造方法及び金属部品製造装置
JP6957054B1 (ja) リベット接合方法及び接合処理装置
JP6934688B2 (ja) 金属部品の製造方法及び金属部品製造装置
JP2009178981A (ja) 超音波溶着装置
JP3492298B2 (ja) 超音波振動接合用ツールとそれを支持する支持装置
JP5131963B2 (ja) 振動溶着装置
JP2013136130A (ja) 超音波加工装置
JP2006015354A (ja) 超音波溶接装置、超音波溶接用矯正部材及び超音波溶接方法
JP4524639B2 (ja) 超音波接合方法、および超音波接合装置
JP2009166260A (ja) 振動溶着装置、および振動溶着方法
SE0401340L (sv) Häftapparat
JP2014162165A (ja) 超音波溶着装置、及び溶着製品の製造方法
JP2016198780A (ja) 超音波接合方法
JP2007230110A (ja) 合成樹脂製空気管
JP2006212693A (ja) 超音波接合方法、超音波接合装置および超音波接合された接合管

Legal Events

Date Code Title Description
A621 Written request for application examination

Free format text: JAPANESE INTERMEDIATE CODE: A621

Effective date: 20060417

A977 Report on retrieval

Free format text: JAPANESE INTERMEDIATE CODE: A971007

Effective date: 20081029

A131 Notification of reasons for refusal

Free format text: JAPANESE INTERMEDIATE CODE: A131

Effective date: 20081104

A521 Written amendment

Free format text: JAPANESE INTERMEDIATE CODE: A523

Effective date: 20081222

TRDD Decision of grant or rejection written
A01 Written decision to grant a patent or to grant a registration (utility model)

Free format text: JAPANESE INTERMEDIATE CODE: A01

Effective date: 20090317

A01 Written decision to grant a patent or to grant a registration (utility model)

Free format text: JAPANESE INTERMEDIATE CODE: A01

A61 First payment of annual fees (during grant procedure)

Free format text: JAPANESE INTERMEDIATE CODE: A61

Effective date: 20090330

FPAY Renewal fee payment (event date is renewal date of database)

Free format text: PAYMENT UNTIL: 20120417

Year of fee payment: 3

R150 Certificate of patent or registration of utility model

Free format text: JAPANESE INTERMEDIATE CODE: R150

FPAY Renewal fee payment (event date is renewal date of database)

Free format text: PAYMENT UNTIL: 20120417

Year of fee payment: 3

FPAY Renewal fee payment (event date is renewal date of database)

Free format text: PAYMENT UNTIL: 20130417

Year of fee payment: 4

FPAY Renewal fee payment (event date is renewal date of database)

Free format text: PAYMENT UNTIL: 20130417

Year of fee payment: 4

FPAY Renewal fee payment (event date is renewal date of database)

Free format text: PAYMENT UNTIL: 20140417

Year of fee payment: 5

R250 Receipt of annual fees

Free format text: JAPANESE INTERMEDIATE CODE: R250

R250 Receipt of annual fees

Free format text: JAPANESE INTERMEDIATE CODE: R250

S802 Written request for registration of partial abandonment of right

Free format text: JAPANESE INTERMEDIATE CODE: R311802

R350 Written notification of registration of transfer

Free format text: JAPANESE INTERMEDIATE CODE: R350

R250 Receipt of annual fees

Free format text: JAPANESE INTERMEDIATE CODE: R250

R250 Receipt of annual fees

Free format text: JAPANESE INTERMEDIATE CODE: R250

LAPS Cancellation because of no payment of annual fees