JP4286639B2 - 洗浄槽 - Google Patents
洗浄槽 Download PDFInfo
- Publication number
- JP4286639B2 JP4286639B2 JP2003390322A JP2003390322A JP4286639B2 JP 4286639 B2 JP4286639 B2 JP 4286639B2 JP 2003390322 A JP2003390322 A JP 2003390322A JP 2003390322 A JP2003390322 A JP 2003390322A JP 4286639 B2 JP4286639 B2 JP 4286639B2
- Authority
- JP
- Japan
- Prior art keywords
- cleaning
- tank
- washing
- cleaned
- water
- Prior art date
- Legal status (The legal status is an assumption and is not a legal conclusion. Google has not performed a legal analysis and makes no representation as to the accuracy of the status listed.)
- Expired - Lifetime
Links
- 238000005406 washing Methods 0.000 title claims description 49
- 238000004140 cleaning Methods 0.000 claims description 142
- XLYOFNOQVPJJNP-UHFFFAOYSA-N water Substances O XLYOFNOQVPJJNP-UHFFFAOYSA-N 0.000 claims description 61
- 238000005192 partition Methods 0.000 claims description 24
- 239000011148 porous material Substances 0.000 claims description 5
- 230000000694 effects Effects 0.000 description 30
- 239000012530 fluid Substances 0.000 description 20
- 239000007788 liquid Substances 0.000 description 11
- 238000000926 separation method Methods 0.000 description 11
- 239000002002 slurry Substances 0.000 description 10
- 230000005484 gravity Effects 0.000 description 8
- 238000000034 method Methods 0.000 description 8
- 238000001035 drying Methods 0.000 description 6
- 238000002360 preparation method Methods 0.000 description 6
- 230000001954 sterilising effect Effects 0.000 description 5
- 230000007423 decrease Effects 0.000 description 4
- 210000004209 hair Anatomy 0.000 description 4
- 238000011086 high cleaning Methods 0.000 description 4
- 239000000463 material Substances 0.000 description 4
- 238000004659 sterilization and disinfection Methods 0.000 description 4
- 239000000126 substance Substances 0.000 description 4
- 239000004033 plastic Substances 0.000 description 3
- 238000003756 stirring Methods 0.000 description 3
- 239000008215 water for injection Substances 0.000 description 3
- 230000000052 comparative effect Effects 0.000 description 2
- 238000007599 discharging Methods 0.000 description 2
- 239000008213 purified water Substances 0.000 description 2
- 238000007789 sealing Methods 0.000 description 2
- 230000002195 synergetic effect Effects 0.000 description 2
- 238000004506 ultrasonic cleaning Methods 0.000 description 2
- 241001411320 Eriogonum inflatum Species 0.000 description 1
- 230000005856 abnormality Effects 0.000 description 1
- 230000002411 adverse Effects 0.000 description 1
- 230000001174 ascending effect Effects 0.000 description 1
- 230000000903 blocking effect Effects 0.000 description 1
- 239000008280 blood Substances 0.000 description 1
- 210000004369 blood Anatomy 0.000 description 1
- 238000012790 confirmation Methods 0.000 description 1
- 230000003247 decreasing effect Effects 0.000 description 1
- 238000005265 energy consumption Methods 0.000 description 1
- 238000001802 infusion Methods 0.000 description 1
- 238000012856 packing Methods 0.000 description 1
- 238000012545 processing Methods 0.000 description 1
- 238000010926 purge Methods 0.000 description 1
- 239000007787 solid Substances 0.000 description 1
- 239000000243 solution Substances 0.000 description 1
- -1 syringe caps Substances 0.000 description 1
- 230000000007 visual effect Effects 0.000 description 1
Images
Landscapes
- Cleaning By Liquid Or Steam (AREA)
- Apparatus For Disinfection Or Sterilisation (AREA)
Description
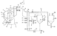
製品仕込み用槽35に被洗浄物、及び輸送用水供給弁36より輸送用水を投入し、投入用槽内をスラリ−状態にする。モ−タ−17を作動させ、洗浄槽1を図2に示した状態と上下逆の状態にし、次いでロータリアクチュエータ15を作動させ、洗浄槽底壁に取り付けられたスライド弁の板状弁体を開く。
各バルブの開閉を確認し、洗浄用水供給バルブ22から給水し、洗浄槽1を満水にし、オ−バ−フロ−水により分離用槽32の所定液面になるまで液面計37で確認しつつ給水し、循環ポンプ33を作動させ、洗浄用液を循環させる。必要により、循環ポンプ33の後にフィルタ−を設けてもよい。分離用槽の液面計37の他、洗浄槽1に圧力計、温度計及び洗浄槽内を観察する覗き窓などを設置するのが、準備段階での状況の確認、定常運転時の目安、異常の検出等に便利である。定常状態では、図2に示されるように、ラッパ状のガイド筒の内側と外側を循環する循環流ができ、覗き窓より被洗浄物が良好に洗浄されているのを確認できる。洗浄時間にとくに制限はないが、通常は5〜20分間程度に設定される。
噴流ノズルとして直径4.5mmの多孔を配設したピッチサークルの中心をガイド筒の中心軸と一致させた直径0.1m3の洗浄槽に直径13mm、長さ14mmのゴム栓0.05m3と一緒に、長さ5mmの毛髪15本、長さ30mmの毛髪15本、長さ3mmのゴム栓のバリ15個及び長さ5mmのゴム栓のバリ15個を投入し、図3のフローに従って洗浄水150リットル/分を使用して濯ぎ洗いを行い、排水中の粗大異物を捕集し投入した粗大異物全数を排出するのに要する洗浄時間を測定した。
2a 密閉下蓋
2b 密閉上蓋
3 洗浄水出口
4 円筒状側壁部
5 ガイド筒
6 支持体
7 仕切板
8 底壁部
9 噴流ノズル
9a 噴流ノズルの多孔
9b ピッチサークル
10 クランプ継手
11 スイベルジョイント
12 エルボ配管
13 配管
14 洗浄水出口配管
15 ロータリアクチュエータ
16 回転用軸受
17 モーター
18 フレキシブルチューブ
19 フレキシブルチューブ
20 集合管
21 スラリー輸送管バルブ
22 洗浄用水供給バルブ
23 滅菌用上記供給バルブ
24 乾燥用空気供給バルブ
25 洗浄水循環バルブ
26 輸送用水返送バルブ
27 洗浄用戻りバルブ
28 洗浄水排水バルブ
29 ドレン排水バルブ
30 ドレントラップ
31 真空引きライン
32 分離用槽
33 循環ポンプ
34 分離用槽排水バルブ
35 製品仕込み用槽
36 輸送用水供給バルブ
37 液面計
38 製品仕込み用槽排水バルブ
Claims (3)
- 槽内部に下端と上端がラッパ状に拡径されたガイド筒を有し、洗浄水入口部に噴流ノズルを設け、転倒可能に構成した洗浄槽において、該ガイド筒上端拡径部の角度が6°以上10°以下、かつ下端拡径部の角度が20°を越え50°未満であることを特徴とする洗浄槽。
- 該噴流ノズルの多孔を配設するピッチサークルの中心がガイド筒の中心軸と一致し、かつピッチサークルの直径がガイド筒の直管部内径の1/5以下である請求項1記載の洗浄槽。
- 該ガイド筒の上端と仕切板との距離と、ガイド筒の下端と底壁部との距離の差が0.5d(d:被洗浄物の直径)未満である請求項1又は2記載の洗浄槽。
Priority Applications (1)
| Application Number | Priority Date | Filing Date | Title |
|---|---|---|---|
| JP2003390322A JP4286639B2 (ja) | 2003-11-20 | 2003-11-20 | 洗浄槽 |
Applications Claiming Priority (1)
| Application Number | Priority Date | Filing Date | Title |
|---|---|---|---|
| JP2003390322A JP4286639B2 (ja) | 2003-11-20 | 2003-11-20 | 洗浄槽 |
Publications (2)
| Publication Number | Publication Date |
|---|---|
| JP2005144416A JP2005144416A (ja) | 2005-06-09 |
| JP4286639B2 true JP4286639B2 (ja) | 2009-07-01 |
Family
ID=34696745
Family Applications (1)
| Application Number | Title | Priority Date | Filing Date |
|---|---|---|---|
| JP2003390322A Expired - Lifetime JP4286639B2 (ja) | 2003-11-20 | 2003-11-20 | 洗浄槽 |
Country Status (1)
| Country | Link |
|---|---|
| JP (1) | JP4286639B2 (ja) |
Families Citing this family (2)
| Publication number | Priority date | Publication date | Assignee | Title |
|---|---|---|---|---|
| CN103567178A (zh) * | 2012-07-24 | 2014-02-12 | 宜昌市洁康科技有限公司 | 一种清洗烘干一体机 |
| JP6437949B2 (ja) * | 2016-04-09 | 2018-12-12 | 株式会社クリンビー | エマルジョン洗浄装置 |
-
2003
- 2003-11-20 JP JP2003390322A patent/JP4286639B2/ja not_active Expired - Lifetime
Also Published As
| Publication number | Publication date |
|---|---|
| JP2005144416A (ja) | 2005-06-09 |
Similar Documents
| Publication | Publication Date | Title |
|---|---|---|
| JP5626969B2 (ja) | 濾過材洗浄装置 | |
| US5409027A (en) | Apparatuses for cleaning paint rollers through plural sprays which turn and clean supported rollers | |
| KR101441017B1 (ko) | 친환경 마이크로 버블 세척기 | |
| CN210966254U (zh) | 一种基因检测用试剂管消毒清洗装置 | |
| JP6436986B2 (ja) | 吸引バッグを空にするための内容物排出装置、アセンブリ、および方法 | |
| CN110614255A (zh) | 一种医疗管道多功能冲洗干燥装置 | |
| JP3609869B2 (ja) | 洗浄槽 | |
| JP2006518594A (ja) | オーガー装置の洗浄ドレイン装置 | |
| JP4286639B2 (ja) | 洗浄槽 | |
| JP2002079201A (ja) | 筒状被清掃体の清掃装置 | |
| KR100644763B1 (ko) | 야채 세척기 | |
| JP4302293B2 (ja) | 洗浄槽 | |
| CN105463901B (zh) | 防堵塞的纸浆过滤装置 | |
| US9693844B1 (en) | Dental tool cleaning device | |
| JP2791542B2 (ja) | 食品殺菌装置 | |
| CN202740481U (zh) | 一种负压吸引器 | |
| CN216679334U (zh) | 一种配药框清洗机 | |
| US20210205857A1 (en) | Processing method and device for small parts | |
| CN207404883U (zh) | 一种蛋白质分离器 | |
| CN114098613A (zh) | 一种儿科口腔检查治疗用撑开装置 | |
| CN216679322U (zh) | 一种药瓶胶塞用灭菌干燥清洗机 | |
| KR101782403B1 (ko) | 치과 유니트 체어용 이물질 제거장치 | |
| JP4064211B2 (ja) | 物品の受渡装置及び受渡方法 | |
| CN219378199U (zh) | 一种兽药生产用兽药材清洗装置 | |
| KR101621071B1 (ko) | 집진 장치 |
Legal Events
| Date | Code | Title | Description |
|---|---|---|---|
| A621 | Written request for application examination |
Free format text: JAPANESE INTERMEDIATE CODE: A621 Effective date: 20060518 |
|
| A977 | Report on retrieval |
Free format text: JAPANESE INTERMEDIATE CODE: A971007 Effective date: 20081222 |
|
| A131 | Notification of reasons for refusal |
Free format text: JAPANESE INTERMEDIATE CODE: A131 Effective date: 20090106 |
|
| TRDD | Decision of grant or rejection written | ||
| A01 | Written decision to grant a patent or to grant a registration (utility model) |
Free format text: JAPANESE INTERMEDIATE CODE: A01 Effective date: 20090303 |
|
| A01 | Written decision to grant a patent or to grant a registration (utility model) |
Free format text: JAPANESE INTERMEDIATE CODE: A01 |
|
| A61 | First payment of annual fees (during grant procedure) |
Free format text: JAPANESE INTERMEDIATE CODE: A61 Effective date: 20090325 |
|
| FPAY | Renewal fee payment (event date is renewal date of database) |
Free format text: PAYMENT UNTIL: 20120403 Year of fee payment: 3 |
|
| R150 | Certificate of patent or registration of utility model |
Free format text: JAPANESE INTERMEDIATE CODE: R150 Ref document number: 4286639 Country of ref document: JP Free format text: JAPANESE INTERMEDIATE CODE: R150 |
|
| FPAY | Renewal fee payment (event date is renewal date of database) |
Free format text: PAYMENT UNTIL: 20120403 Year of fee payment: 3 |
|
| FPAY | Renewal fee payment (event date is renewal date of database) |
Free format text: PAYMENT UNTIL: 20130403 Year of fee payment: 4 |
|
| R250 | Receipt of annual fees |
Free format text: JAPANESE INTERMEDIATE CODE: R250 |
|
| FPAY | Renewal fee payment (event date is renewal date of database) |
Free format text: PAYMENT UNTIL: 20130403 Year of fee payment: 4 |
|
| S531 | Written request for registration of change of domicile |
Free format text: JAPANESE INTERMEDIATE CODE: R313531 |
|
| FPAY | Renewal fee payment (event date is renewal date of database) |
Free format text: PAYMENT UNTIL: 20130403 Year of fee payment: 4 |
|
| R350 | Written notification of registration of transfer |
Free format text: JAPANESE INTERMEDIATE CODE: R350 |
|
| FPAY | Renewal fee payment (event date is renewal date of database) |
Free format text: PAYMENT UNTIL: 20130403 Year of fee payment: 4 |
|
| FPAY | Renewal fee payment (event date is renewal date of database) |
Free format text: PAYMENT UNTIL: 20140403 Year of fee payment: 5 |
|
| R250 | Receipt of annual fees |
Free format text: JAPANESE INTERMEDIATE CODE: R250 |
|
| R250 | Receipt of annual fees |
Free format text: JAPANESE INTERMEDIATE CODE: R250 |
|
| R250 | Receipt of annual fees |
Free format text: JAPANESE INTERMEDIATE CODE: R250 |
|
| R250 | Receipt of annual fees |
Free format text: JAPANESE INTERMEDIATE CODE: R250 |
|
| R250 | Receipt of annual fees |
Free format text: JAPANESE INTERMEDIATE CODE: R250 |
|
| R250 | Receipt of annual fees |
Free format text: JAPANESE INTERMEDIATE CODE: R250 |
|
| R250 | Receipt of annual fees |
Free format text: JAPANESE INTERMEDIATE CODE: R250 |
|
| R250 | Receipt of annual fees |
Free format text: JAPANESE INTERMEDIATE CODE: R250 |
|
| R250 | Receipt of annual fees |
Free format text: JAPANESE INTERMEDIATE CODE: R250 |
|
| R250 | Receipt of annual fees |
Free format text: JAPANESE INTERMEDIATE CODE: R250 |
|
| R250 | Receipt of annual fees |
Free format text: JAPANESE INTERMEDIATE CODE: R250 |
|
| EXPY | Cancellation because of completion of term |
