JP4280386B2 - 画像形成装置 - Google Patents

画像形成装置 Download PDF

Info

Publication number
JP4280386B2
JP4280386B2 JP2000053552A JP2000053552A JP4280386B2 JP 4280386 B2 JP4280386 B2 JP 4280386B2 JP 2000053552 A JP2000053552 A JP 2000053552A JP 2000053552 A JP2000053552 A JP 2000053552A JP 4280386 B2 JP4280386 B2 JP 4280386B2
Authority
JP
Japan
Prior art keywords
cleaning
fixing
paper
recording material
pressure roller
Prior art date
Legal status (The legal status is an assumption and is not a legal conclusion. Google has not performed a legal analysis and makes no representation as to the accuracy of the status listed.)
Expired - Fee Related
Application number
JP2000053552A
Other languages
English (en)
Japanese (ja)
Other versions
JP2001242731A5 (enExample
JP2001242731A (ja
Inventor
敏男 宮本
敦弥 高橋
洋 片岡
Current Assignee (The listed assignees may be inaccurate. Google has not performed a legal analysis and makes no representation or warranty as to the accuracy of the list.)
Canon Inc
Original Assignee
Canon Inc
Priority date (The priority date is an assumption and is not a legal conclusion. Google has not performed a legal analysis and makes no representation as to the accuracy of the date listed.)
Filing date
Publication date
Application filed by Canon Inc filed Critical Canon Inc
Priority to JP2000053552A priority Critical patent/JP4280386B2/ja
Publication of JP2001242731A publication Critical patent/JP2001242731A/ja
Publication of JP2001242731A5 publication Critical patent/JP2001242731A5/ja
Application granted granted Critical
Publication of JP4280386B2 publication Critical patent/JP4280386B2/ja
Anticipated expiration legal-status Critical
Expired - Fee Related legal-status Critical Current

Links

Images

Landscapes

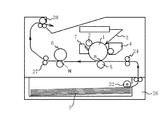
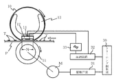
  • Fixing For Electrophotography (AREA)
  • Control Or Security For Electrophotography (AREA)
JP2000053552A 2000-02-29 2000-02-29 画像形成装置 Expired - Fee Related JP4280386B2 (ja)

Priority Applications (1)

Application Number Priority Date Filing Date Title
JP2000053552A JP4280386B2 (ja) 2000-02-29 2000-02-29 画像形成装置

Applications Claiming Priority (1)

Application Number Priority Date Filing Date Title
JP2000053552A JP4280386B2 (ja) 2000-02-29 2000-02-29 画像形成装置

Publications (3)

Publication Number Publication Date
JP2001242731A JP2001242731A (ja) 2001-09-07
JP2001242731A5 JP2001242731A5 (enExample) 2007-04-12
JP4280386B2 true JP4280386B2 (ja) 2009-06-17

Family

ID=18574919

Family Applications (1)

Application Number Title Priority Date Filing Date
JP2000053552A Expired - Fee Related JP4280386B2 (ja) 2000-02-29 2000-02-29 画像形成装置

Country Status (1)

Country Link
JP (1) JP4280386B2 (enExample)

Families Citing this family (2)

* Cited by examiner, † Cited by third party
Publication number Priority date Publication date Assignee Title
JP6240113B2 (ja) * 2015-03-12 2017-11-29 株式会社東芝 画像形成装置及び消色装置
JP6686795B2 (ja) * 2016-08-25 2020-04-22 コニカミノルタ株式会社 画像形成装置および画像形成装置の搬送ローラークリーニング方法

Also Published As

Publication number Publication date
JP2001242731A (ja) 2001-09-07

Similar Documents

Publication Publication Date Title
JP2002123111A (ja) 定着装置及びその定着装置を有する画像形成装置
JPH11143291A (ja) 画像形成装置
JP2002244473A (ja) 定着装置及びこの定着装置を備える画像形成装置
JP4047193B2 (ja) 画像形成装置
JP4280386B2 (ja) 画像形成装置
JPH02162382A (ja) 定着装置
JP3984737B2 (ja) 定着装置
JPH11344892A (ja) 定着装置、及びこれを備えた画像形成装置
JPH02157880A (ja) 画像加熱定着装置
JP3542408B2 (ja) 画像形成装置
JP2001242730A (ja) 画像形成装置
JP3869936B2 (ja) 定着装置
JP4295564B2 (ja) 定着装置及び回転制御方法
JP3787433B2 (ja) 定着装置及びこれを備えた画像形成装置
JP2003076198A (ja) 画像形成装置
JPH03259173A (ja) 定着装置
JP2001209266A (ja) 定着装置
JPH10142999A (ja) 定着装置及び画像形成装置並びに画像形成方法
JP4027549B2 (ja) 画像形成装置
JP2004101607A (ja) 加熱定着装置
JP4865159B2 (ja) 画像形成装置
JP2004127700A (ja) 加熱装置
JPH09325643A (ja) 画像形成装置
JPH1184935A (ja) 定着装置及び画像形成装置
JP2004177853A (ja) 画像形成装置

Legal Events

Date Code Title Description
A521 Written amendment

Free format text: JAPANESE INTERMEDIATE CODE: A523

Effective date: 20070226

A621 Written request for application examination

Free format text: JAPANESE INTERMEDIATE CODE: A621

Effective date: 20070226

A977 Report on retrieval

Free format text: JAPANESE INTERMEDIATE CODE: A971007

Effective date: 20080725

A131 Notification of reasons for refusal

Free format text: JAPANESE INTERMEDIATE CODE: A131

Effective date: 20080729

A521 Written amendment

Free format text: JAPANESE INTERMEDIATE CODE: A523

Effective date: 20080925

A131 Notification of reasons for refusal

Free format text: JAPANESE INTERMEDIATE CODE: A131

Effective date: 20081118

A521 Written amendment

Free format text: JAPANESE INTERMEDIATE CODE: A523

Effective date: 20090116

TRDD Decision of grant or rejection written
A01 Written decision to grant a patent or to grant a registration (utility model)

Free format text: JAPANESE INTERMEDIATE CODE: A01

Effective date: 20090303

A01 Written decision to grant a patent or to grant a registration (utility model)

Free format text: JAPANESE INTERMEDIATE CODE: A01

A61 First payment of annual fees (during grant procedure)

Free format text: JAPANESE INTERMEDIATE CODE: A61

Effective date: 20090316

FPAY Renewal fee payment (event date is renewal date of database)

Free format text: PAYMENT UNTIL: 20120319

Year of fee payment: 3

R150 Certificate of patent or registration of utility model

Free format text: JAPANESE INTERMEDIATE CODE: R150

FPAY Renewal fee payment (event date is renewal date of database)

Free format text: PAYMENT UNTIL: 20130319

Year of fee payment: 4

FPAY Renewal fee payment (event date is renewal date of database)

Free format text: PAYMENT UNTIL: 20140319

Year of fee payment: 5

LAPS Cancellation because of no payment of annual fees