JP4255262B2 - 空気入りタイヤ - Google Patents
空気入りタイヤ Download PDFInfo
- Publication number
- JP4255262B2 JP4255262B2 JP2002295999A JP2002295999A JP4255262B2 JP 4255262 B2 JP4255262 B2 JP 4255262B2 JP 2002295999 A JP2002295999 A JP 2002295999A JP 2002295999 A JP2002295999 A JP 2002295999A JP 4255262 B2 JP4255262 B2 JP 4255262B2
- Authority
- JP
- Japan
- Prior art keywords
- reinforcing layer
- layer
- height
- bead
- bead core
- Prior art date
- Legal status (The legal status is an assumption and is not a legal conclusion. Google has not performed a legal analysis and makes no representation as to the accuracy of the status listed.)
- Expired - Fee Related
Links
- 230000003014 reinforcing effect Effects 0.000 claims description 227
- 239000011324 bead Substances 0.000 claims description 132
- 229910000831 Steel Inorganic materials 0.000 claims description 26
- 239000010959 steel Substances 0.000 claims description 26
- 238000004804 winding Methods 0.000 claims description 19
- 239000000945 filler Substances 0.000 claims description 16
- 230000002093 peripheral effect Effects 0.000 claims description 7
- 230000002787 reinforcement Effects 0.000 description 15
- 230000000052 comparative effect Effects 0.000 description 9
- 238000002474 experimental method Methods 0.000 description 9
- 230000000694 effects Effects 0.000 description 8
- 238000000034 method Methods 0.000 description 6
- 238000011156 evaluation Methods 0.000 description 4
- 238000011161 development Methods 0.000 description 3
- 230000033228 biological regulation Effects 0.000 description 2
- 238000000926 separation method Methods 0.000 description 2
- 238000012360 testing method Methods 0.000 description 2
- 239000000470 constituent Substances 0.000 description 1
- 230000007423 decrease Effects 0.000 description 1
- 230000002401 inhibitory effect Effects 0.000 description 1
- 230000001105 regulatory effect Effects 0.000 description 1
Images
Landscapes
- Tires In General (AREA)
Description
【発明の属する技術分野】
本発明は、耐久性に優れた空気入りタイヤに関し、さらに詳しくは、ビード部に埋設する補強層の配置及び構成を適正化することにより、ビード部の耐久性を向上するようにした空気入りタイヤに関する。
【0002】
【従来の技術】
重荷重用空気入りラジアルタイヤにおいては、ビード部におけるカーカス層の巻き上げ端を起点とするセパレーションを抑制するために、複数本のスチールコードを引き揃えてなる補強層をカーカス層に沿って埋設することが行われている(例えば、特許文献1及び特許文献2参照。)。
【0003】
即ち、従来の重荷重用空気入りラジアルタイヤにおいては、図7や図8に示すように、ビード部1にビードコア2が埋設され、ビードコア2の外周側にビードフィラー3が配置され、カーカス層4の端部がビードコア2の廻りにタイヤ内側から外側へ巻き上げられている。そして、複数本のスチールコードを引き揃えてなる補強層5はカーカス層4を包み込むように配置されている。
【0004】
このようにビード部にスチールコード補強層を追加することにより、ビード部のタイヤ外側への倒れ込みを抑制し、カーカス層の巻き上げ端に作用する歪を低減し、その巻き上げ端を起点とするセパレーションを抑制することができる。しかしながら、ビード部にスチールコード補強層を追加した場合、その補強層に起因する故障を生じるため、耐久性の改善効果が必ずしも十分ではなかった。
【0005】
【特許文献1】
特開平11−20423号公報
【特許文献2】
特開平7−164837号公報
【0006】
【発明が解決しようとする課題】
本発明の目的は、スチールコード補強層によってビード部を補強するに際し、ビード部の耐久性を向上することを可能にした空気入りタイヤを提供することにある。
【0007】
【課題を解決するための手段】
上記目的を達成するための本発明の空気入りタイヤは、左右一対のビード部にそれぞれビードコアを埋設し、各ビードコアの外周側にビードフィラーを配置し、前記左右一対のビード部間に装架されたカーカス層の両端部を前記ビードコアの廻りにタイヤ内側から外側へ巻き上げると共に、複数本のスチールコードを引き揃えてなる補強層を前記カーカス層に沿って前記ビード部に埋設した空気入りタイヤにおいて、前記スチールコードからなる補強層を前記ビードコアを境にして内側補強層と外側補強層とに分割し、内側補強層を前記カーカス層の本体部と前記ビードフィラーとの間に配置し、外側補強層を前記カーカス層の巻き上げ部よりタイヤ幅方向外側に配置し、更に後述する構成を備えることを特徴とするものである。
【0008】
このようにスチールコード補強層をビードコアを境にして内側補強層と外側補強層とに分割し、内側補強層をカーカス層の本体部とビードフィラーとの間に配置し、外側補強層をカーカス層の巻き上げ部よりタイヤ幅方向外側に配置したことにより、従来のようにカーカス層を包み込むようにスチールコード補強層を配置した場合に比べて、ビード部の耐久性を向上することができる。また、必要以上の重量増加を回避するために、スチールコードからなる補強層は上記位置だけに配置すると良い。
【0009】
本発明では、カーカス層の巻き上げ端と内側補強層の上端と外側補強層の上端のタイヤ径方向の高さ位置を互いに異ならせ、カーカス層の巻き上げ端を内側補強層の上端よりも高くし、外側補強層の上端をカーカス層の巻き上げ端よりも高くする。或いは、カーカス層の巻き上げ端と内側補強層の上端と外側補強層の上端のタイヤ径方向の高さ位置を互いに異ならせ、カーカス層の巻き上げ端を外側補強層の上端よりも高くし、内側補強層の上端を前記カーカス層の巻き上げ端よりも高くする。いずれの場合も、ビード部の剛性変化が滑らかになるので、耐久性の面で有利である。
【0010】
また、リム径の基準位置からのリムフランジの高さをHとし、該リムフランジの頂点からの外側補強層の上端の高さをh1とし、該リムフランジの頂点からの内側補強層の上端の高さをh2とし、リム径の基準位置からの内側補強層の下端の高さをh3とし、リム径の基準位置からの外側補強層の下端の高さをh4としたとき、これら高さh1〜h4をリムフランジ高さHに対して適切に設定する。
カーカス層の巻き上げ端と内側補強層の上端と外側補強層の上端のタイヤ径方向の高さ位置を互いに異ならせ、カーカス層の巻き上げ端を内側補強層の上端よりも高くし、外側補強層の上端をカーカス層の巻き上げ端よりも高くする一方で、内側補強層の下端をビードコアの内側近傍に配置し、外側補強層の下端をビードコアの外側近傍に配置した補強構造を有する場合、1.90<h1/H<2.70、1.15<h2/H<1.85、0.50<h3/H<1.10、0.15<h4/H<0.70の条件を満足することが好ましい。
カーカス層の巻き上げ端と内側補強層の上端と外側補強層の上端のタイヤ径方向の高さ位置を互いに異ならせ、カーカス層の巻き上げ端を内側補強層の上端よりも高くし、外側補強層の上端をカーカス層の巻き上げ端よりも高くする一方で、内側補強層の下端をビードコアの内側近傍に配置し、外側補強層をビードコアの下側に廻り込ませて該外側補強層の下端をビードコアの内側近傍に配置した補強構造を有する場合、1.90<h1/H<2.70、1.15<h2/H<1.85、0.50<h3/H<1.10、0.10<h4/H<0.50の条件を満足することが好ましい。
カーカス層の巻き上げ端と内側補強層の上端と外側補強層の上端のタイヤ径方向の高さ位置を互いに異ならせ、カーカス層の巻き上げ端を外側補強層の上端よりも高くし、内側補強層の上端をカーカス層の巻き上げ端よりも高くする一方で、内側補強層の下端をビードコアの内側近傍に配置し、外側補強層の下端をビードコアの外側近傍に配置した補強構造を有する場合、0.40<h1/H<1.20、2.20<h2/H<2.90、0.50<h3/H<1.10、0.15<h4/H<0.70の条件を満足するものとする。
カーカス層の巻き上げ端と内側補強層の上端と外側補強層の上端のタイヤ径方向の高さ位置を互いに異ならせ、カーカス層の巻き上げ端を外側補強層の上端よりも高くし、内側補強層の上端をカーカス層の巻き上げ端よりも高くする一方で、内側補強層の下端をビードコアの内側近傍に配置し、外側補強層をビードコアの下側に廻り込ませて該外側補強層の下端をビードコアの内側近傍に配置した補強構造を有する場合、0.40<h1/H<1.20、2.20<h2/H<2.90、0.50<h3/H<1.10、0.10<h4/H<0.50の条件を満足するものとする。
【0011】
本発明では、スチールコード補強層を内側補強層と外側補強層に分割した構成を備えているので、この分割構造を有効に利用し、それによって、耐久性の向上のみならず、軽量化や操縦安定性の向上を図ることも可能である。より具体的には、内側補強層及び外側補強層のタイヤ周方向に対するコード絶対角度を互いに異ならせると良い。この場合、内側補強層及び外側補強層のタイヤ周方向に対するコード絶対角度の差を5〜65度にすると良い。また、内側補強層及び外側補強層の単位幅当たりのコード打ち込み本数やコード撚り構造を互いに異ならせても良い。
【0012】
【発明の実施の形態】
以下、添付図面を引用して本発明の実施形態を説明する。各図において、同一の構成要素は同一の符号を付し、重複した説明は省略する。
【0013】
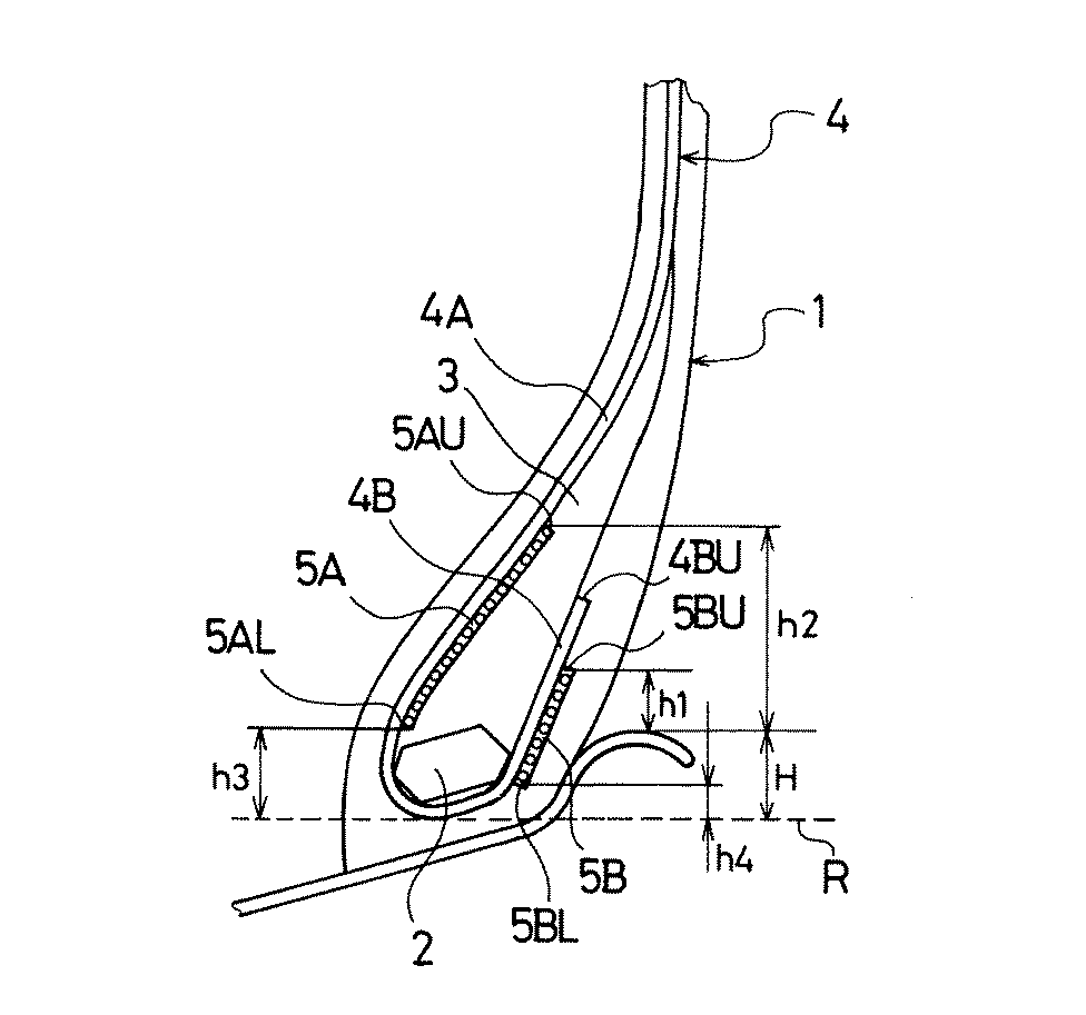
図1及び図2は、それぞれ本発明の第1及び第2実施形態からなる重荷重用空気入りラジアルタイヤのビード部を示す断面図である。図1及び図2において、ビード部1にはビードコア2が埋設され、ビードコア2の外周側にはビードフィラー3が配置されている。左右一対のビード部1,1間に装架されたカーカス層4は、その両端部がそれぞれビードコア2の廻りにタイヤ内側から外側へ巻き上げられている。即ち、カーカス層4はビードコア2を境にして本体部4Aと巻き上げ部4Bとから構成されている。そして、複数本のスチールコードを引き揃えてなる補強層は、ビードコア2を境にして内側補強層5Aと外側補強層5Bとに分割され、その内側補強層5Aがカーカス層4の本体部4Aとビードフィラー3との間に配置され、その外側補強層5Bがカーカス層4の巻き上げ部4Bよりタイヤ幅方向外側に配置されている。
【0014】
上記ビード部の補強構造において、カーカス層4の巻き上げ端4BUと内側補強層5Aの上端5AUと外側補強層5Bの上端5BUのタイヤ径方向の高さ位置は互いに相違しており、カーカス層4の巻き上げ端4BUは内側補強層5Aの上端5AUよりも高く、外側補強層5Bの上端5BUはカーカス層4の巻き上げ端4BUよりも高くなっている。
【0015】
ここで、リム径の基準位置Rからのリムフランジの高さをHとし、該リムフランジの頂点からの外側補強層5Bの上端5BUの高さをh1とし、該リムフランジの頂点からの内側補強層5Aの上端5AUの高さをh2とし、リム径の基準位置Rからの内側補強層5Aの下端5ALの高さをh3とし、リム径の基準位置Rからの外側補強層5Bの下端5BLの高さをh4としたとき、これら高さh1〜h4をリムフランジ高さHに対して適切に設定すると良い。但し、ここで言うリムとは、JATMA規定による標準リムである。
【0016】
図1の実施形態のように、内側補強層5Aの下端5ALをビードコア2の内側近傍に配置し、外側補強層5Bの下端5BLをビードコア2の外側近傍に配置した補強構造とする場合、下記条件を選択することにより、耐久性の向上効果が顕著に得られる。
1.90<h1/H<2.70
1.15<h2/H<1.85
0.50<h3/H<1.10
0.15<h4/H<0.70
【0017】
図2の実施形態のように、内側補強層5Aの下端5ALをビードコア2の内側近傍に配置し、外側補強層5Bをビードコア2の下側に廻り込ませて該外側補強層5Bの下端5BLをビードコア2の内側近傍に配置した補強構造とする場合、下記条件を選択することにより、耐久性の向上効果が顕著に得られる。
1.90<h1/H<2.70
1.15<h2/H<1.85
0.50<h3/H<1.10
0.10<h4/H<0.50
【0018】
図3及び図4は、それぞれ本発明の第3及び第4実施形態からなる重荷重用空気入りラジアルタイヤのビード部を示す断面図である。図3及び図4において、ビード部1にはビードコア2が埋設され、ビードコア2の外周側にはビードフィラー3が配置されている。左右一対のビード部1,1間に装架されたカーカス層4は、その両端部がそれぞれビードコア2の廻りにタイヤ内側から外側へ巻き上げられている。即ち、カーカス層4はビードコア2を境にして本体部4Aと巻き上げ部4Bとから構成されている。そして、複数本のスチールコードを引き揃えてなる補強層は、ビードコア2を境にして内側補強層5Aと外側補強層5Bとに分割され、その内側補強層5Aがカーカス層4の本体部4Aとビードフィラー3との間に配置され、その外側補強層5Bがカーカス層4の巻き上げ部4Bよりタイヤ幅方向外側に配置されている。
【0019】
上記ビード部の補強構造において、カーカス層4の巻き上げ端4BUと内側補強層5Aの上端5AUと外側補強層5Bの上端5BUのタイヤ径方向の高さ位置は互いに相違しており、カーカス層4の巻き上げ端4BUは外側補強層5Bの上端5BUよりも高く、内側補強層5Aの上端5AUはカーカス層4の巻き上げ端4BUよりも高くなっている。
【0020】
ここで、リム径の基準位置Rからのリムフランジの高さをHとし、該リムフランジの頂点からの外側補強層5Bの上端5BUの高さをh1とし、該リムフランジの頂点からの内側補強層5Aの上端5AUの高さをh2とし、リム径の基準位置Rからの内側補強層5Aの下端5ALの高さをh3とし、リム径の基準位置Rからの外側補強層5Bの下端5BLの高さをh4としたとき、これら高さh1〜h4をリムフランジ高さHに対して適切に設定すると良い。但し、ここで言うリムとは、JATMA規定による標準リムである。
【0021】
図3の実施形態のように、内側補強層5Aの下端5ALをビードコア2の内側近傍に配置し、外側補強層5Bの下端5BLをビードコア2の外側近傍に配置した補強構造とする場合、下記条件を選択することにより、耐久性の向上効果が顕著に得られる。
0.40<h1/H<1.20
2.20<h2/H<2.90
0.50<h3/H<1.10
0.15<h4/H<0.70
【0022】
図4の実施形態のように、内側補強層5Aの下端5ALをビードコア2の内側近傍に配置し、外側補強層5Bをビードコア2の下側に廻り込ませて該外側補強層5Bの下端5BLをビードコア2の内側近傍に配置した補強構造とする場合、下記条件を選択することにより、耐久性の向上効果が顕著に得られる。
0.40<h1/H<1.20
2.20<h2/H<2.90
0.50<h3/H<1.10
0.10<h4/H<0.50
【0023】
上述した内側補強層5A及び外側補強層5Bについて、コード角度やコード打ち込み本数やコード撚り構造は特に限定されるものではない。
【0024】
ところで、上記タイヤはスチールコード補強層を内側補強層5Aと外側補強層5Bに分割した構成を備えているので、この分割構造を有効に利用し、それによって、耐久性の向上のみならず、軽量化や操縦安定性の向上を図ることが可能である。
【0025】
図5及び図6は、内側補強層5Aと外側補強層5Bを構成するスチールコードのタイヤ周方向に対する角度を説明するための展開図である。図5及び図6は、カーカス層4の本体部4Aと内側補強層5Aをビードコア2の左側に展開し、カーカス層4の巻き上げ部4Bと外側補強層5Bをビードコア2の右側に展開した状態を示している。図5及び図6において、内側補強層5Aのタイヤ周方向に対するコード絶対角度βと外側補強層5Bのタイヤ周方向に対するコード絶対角度αとは互いに異なっている。ここで、スチールコードの傾斜方向はいずれであっても良い。
【0026】
例えば、内側補強層5Aのコード絶対角度βを外側補強層5Bのコード絶対角度αよりも大きくし、そのコード絶対角度の差を5〜65度にすることにより、ビード部の耐久性を阻害することなく操縦安定性を向上することができる。なお、コード絶対角度の差が5度未満であると操縦安定性の向上効果が不十分になり、逆に65度超であるとビード部の耐久性が低下することになる。
【0027】
また、内側補強層5Aの単位幅当たりのコード打ち込み本数を外側補強層5Bの単位幅当たりのコード打ち込み本数よりも少なくした場合、操縦安定性やビード部の耐久性を良好にしたまま軽量化を図ることができる。
【0028】
更に、内側補強層5A及び外側補強層5Bのコード撚り構造を互いに異ならせ、内側補強層5Aのコードを外側補強層5Bのコードよりも軽くした場合、操縦安定性やビード部の耐久性を良好にしたまま軽量化を図ることができる。
【0029】
【実施例】
〔実験A〕
重荷重用空気入りラジアルタイヤ(サイズ:11R22.5)において、図1に示すビード部の補強構造を有し、内側補強層及び外側補強層の寸法を表1の通り種々異ならせた12種類の本発明タイヤ(実施例1〜12)、及び、図7に示すビード部の補強構造を有する従来タイヤ(従来例1)をそれぞれ製作した。従来例1において、補強層のカーカス層巻き上げ部側の上端の高さh5及びカーカス層本体部側の上端の高さh6を、リムフランジ高さHに対して、h5/H=2.30,h6/H=1.50とした。
【0030】
これら本発明タイヤ及び従来タイヤについて、以下の方法により耐久性を評価した。
【0031】
〔耐久性〕
リムサイズ:22.5×8.25、空気圧:700kPa(規定空気圧)、荷重:規定荷重の160%、速度:50km/hの条件で、各タイヤをドラム(直径:1700mm)上で回転し、ビード部が故障に至るまでの距離を測定した。評価結果は、従来例1を100とする指数により表1に示した。この指数値が大きいほどビード部の耐久性が優れている。
【0032】
【表1】
【0033】
この結果から、本発明タイヤは従来タイヤに比べて耐久性が向上していることを確認した。特に、内側補強層及び外側補強層の寸法をリムフランジ高さHに対して適正化した実施例5〜8の本発明タイヤは耐久性の向上効果が顕著であった。
【0034】
〔実験B〕
重荷重用空気入りラジアルタイヤ(サイズ:11R22.5)において、図2に示すビード部の補強構造を有し、内側補強層及び外側補強層の寸法を表2の通り種々異ならせた12種類の本発明タイヤ(実施例13〜24)をそれぞれ製作し、実験Aと同じ方法により耐久性を評価し、その結果を従来例1を100とする指数により表2に示した。
【0035】
【表2】
【0036】
この結果から、本発明タイヤは従来タイヤに比べて耐久性が向上していることを確認した。特に、内側補強層及び外側補強層の寸法をリムフランジ高さHに対して適正化した実施例17〜20の本発明タイヤは耐久性の向上効果が顕著であった。なお、実施例24の本発明タイヤは内側補強層及び外側補強層が重複しているため従来タイヤよりも重量が増加していた。
【0037】
〔実験C〕
重荷重用空気入りラジアルタイヤ(サイズ:11R22.5)において、図3に示すビード部の補強構造を有し、内側補強層及び外側補強層の寸法を表3の通り種々異ならせた4種類の本発明タイヤ(実施例29〜32)、8種類の比較タイヤ(比較例25〜28,33〜36)、及び、図8に示すビード部の補強構造を有する従来タイヤ(従来例2)をそれぞれ製作した。従来例2において、補強層のカーカス層巻き上げ部側の上端の高さh5及びカーカス層本体部側の上端の高さh6を、リムフランジ高さHに対して、h5/H=0.80,h6/H=2.50とした。
【0038】
これら本発明タイヤ、比較タイヤ及び従来タイヤについて、実験Aと同じ方法により耐久性を評価し、その結果を従来例2を100とする指数により表3に示した。
【0039】
【表3】
【0040】
この結果から、本発明タイヤ及び比較タイヤは従来タイヤに比べて耐久性が向上していることを確認した。特に、内側補強層及び外側補強層の寸法をリムフランジ高さHに対して適正化した実施例29〜32の本発明タイヤは耐久性の向上効果が顕著であった。
【0041】
〔実験D〕
重荷重用空気入りラジアルタイヤ(サイズ:11R22.5)において、図4に示すビード部の補強構造を有し、内側補強層及び外側補強層の寸法を表4の通り種々異ならせた4種類の本発明タイヤ(実施例41〜44)及び8種類の比較タイヤ(比較例37〜40,45〜48)をそれぞれ製作し、実験Aと同じ方法により耐久性を評価し、その結果を従来例2を100とする指数により表4に示した。
【0042】
【表4】
【0043】
この結果から、本発明タイヤ及び比較タイヤは従来タイヤに比べて耐久性が向上していることを確認した。特に、内側補強層及び外側補強層の寸法をリムフランジ高さHに対して適正化した実施例41〜44の本発明タイヤは耐久性の向上効果が顕著であった。なお、比較例48の比較タイヤは内側補強層及び外側補強層が重複しているため従来タイヤよりも重量が増加していた。
【0044】
〔実験E〕
重荷重用空気入りラジアルタイヤ(サイズ:11R22.5)において、図4に示すビード部の補強構造を有し、内側補強層及び外側補強層のコード角度、単位幅当たりのコード打ち込み本数、コード撚り構造を表5の通り種々異ならせた7種類の本発明タイヤ(実施例49〜55)、及び、図8に示すビード部の補強構造を有する従来タイヤ(従来例3)をそれぞれ製作した。従来例3において、補強層のコード角度を20度とし、コード打ち込み本数を23本/50mmとし、コード撚り構造を3+8×0.22とした。
【0045】
これら本発明タイヤ及び従来タイヤについて、実験Aと同じ方法により耐久性の試験を行い、その結果を従来例3を100とする指数により表5に示した。また、以下の方法によりタイヤ重量及び操縦安定性を評価した。
【0046】
〔タイヤ重量〕
各タイヤの重量を測定した。評価結果は、従来例3を100とする指数により表5に示した。この指数値が小さいほど軽量である。
【0047】
〔操縦安定性〕
リムサイズ:22.5×7.50、空気圧:700kPa(規定空気圧)、荷重:規定荷重の100%の条件で、各タイヤを車両に装着し、テストコースにおいて専門パネラー3名によるフィーリング評価を行った。評価結果は、従来例3を100とする指数にて示した。この指数値が大きいほど操縦安定性が優れている。
【0048】
【表5】
【0049】
この結果から、内側補強層及び外側補強層の構造を互いに異ならせることにより、耐久性の向上のみならず、軽量化や操縦安定性の向上を図ることが可能であった。
【0050】
【発明の効果】
以上説明したように本発明によれば、スチールコードからなる補強層をビードコアを境にして内側補強層と外側補強層とに分割し、内側補強層をカーカス層の本体部とビードフィラーとの間に配置し、外側補強層をカーカス層の巻き上げ部よりタイヤ幅方向外側に配置したから、従来のようにカーカス層を包み込むようにスチールコード補強層を配置した場合に比べて、ビード部の耐久性を向上することができる。
【図面の簡単な説明】
【図1】本発明の第1実施形態からなる重荷重用空気入りラジアルタイヤのビード部を示す断面図である。
【図2】本発明の第2実施形態からなる重荷重用空気入りラジアルタイヤのビード部を示す断面図である。
【図3】本発明の第3実施形態からなる重荷重用空気入りラジアルタイヤのビード部を示す断面図である。
【図4】本発明の第4実施形態からなる重荷重用空気入りラジアルタイヤのビード部を示す断面図である。
【図5】本発明の空気入りタイヤにおける内側補強層と外側補強層を構成するスチールコードの配列の一例を示す展開図である。
【図6】本発明の空気入りタイヤにおける内側補強層と外側補強層を構成するスチールコードの配列の他の例を示す展開図である。
【図7】従来の重荷重用空気入りラジアルタイヤのビード部を示す断面図である。
【図8】従来の重荷重用空気入りラジアルタイヤのビード部の変形例を示す断面図である。
【符号の説明】
1 ビード部
2 ビードコア
3 ビードフィラー
4 カーカス層
4A カーカス層の本体部
4B カーカス層の巻き上げ部
4BU カーカス層の巻き上げ端
5A 内側補強層
5B 外側補強層
5AU 内側補強層の上端
5AL 内側補強層の下端
5BU 外側補強層の上端
5BL 外側補強層の下端
H リムフランジ高さ
R リム径の基準位置
Claims (9)
- 左右一対のビード部にそれぞれビードコアを埋設し、各ビードコアの外周側にビードフィラーを配置し、前記左右一対のビード部間に装架されたカーカス層の両端部を前記ビードコアの廻りにタイヤ内側から外側へ巻き上げると共に、複数本のスチールコードを引き揃えてなる補強層を前記カーカス層に沿って前記ビード部に埋設した空気入りタイヤにおいて、前記スチールコードからなる補強層を前記ビードコアを境にして内側補強層と外側補強層とに分割し、内側補強層を前記カーカス層の本体部と前記ビードフィラーとの間に配置し、外側補強層を前記カーカス層の巻き上げ部よりタイヤ幅方向外側に配置し、前記カーカス層の巻き上げ端と前記内側補強層の上端と前記外側補強層の上端のタイヤ径方向の高さ位置を互いに異ならせ、前記カーカス層の巻き上げ端を前記内側補強層の上端よりも高くし、前記外側補強層の上端を前記カーカス層の巻き上げ端よりも高くした空気入りタイヤ。
- 前記内側補強層の下端を前記ビードコアの内側近傍に配置し、前記外側補強層の下端を前記ビードコアの外側近傍に配置した補強構造を有すると共に、リム径の基準位置からのリムフランジの高さをHとし、該リムフランジの頂点からの前記外側補強層の上端の高さをh1とし、該リムフランジの頂点からの前記内側補強層の上端の高さをh2とし、前記リム径の基準位置からの前記内側補強層の下端の高さをh3とし、前記リム径の基準位置からの前記外側補強層の下端の高さをh4としたとき、下記条件を満足する請求項1に記載の空気入りタイヤ。
1.90<h1/H<2.70
1.15<h2/H<1.85
0.50<h3/H<1.10
0.15<h4/H<0.70 - 前記内側補強層の下端を前記ビードコアの内側近傍に配置し、前記外側補強層を前記ビードコアの下側に廻り込ませて該外側補強層の下端を前記ビードコアの内側近傍に配置した補強構造を有すると共に、リム径の基準位置からのリムフランジの高さをHとし、該リムフランジの頂点からの前記外側補強層の上端の高さをh1とし、該リムフランジの頂点からの前記内側補強層の上端の高さをh2とし、前記リム径の基準位置からの前記内側補強層の下端の高さをh3とし、前記リム径の基準位置からの前記外側補強層の下端の高さをh4としたとき、下記条件を満足する請求項1に記載の空気入りタイヤ。
1.90<h1/H<2.70
1.15<h2/H<1.85
0.50<h3/H<1.10
0.10<h4/H<0.50 - 左右一対のビード部にそれぞれビードコアを埋設し、各ビードコアの外周側にビードフィラーを配置し、前記左右一対のビード部間に装架されたカーカス層の両端部を前記ビードコアの廻りにタイヤ内側から外側へ巻き上げると共に、複数本のスチールコードを引き揃えてなる補強層を前記カーカス層に沿って前記ビード部に埋設した空気入りタイヤにおいて、前記スチールコードからなる補強層を前記ビードコアを境にして内側補強層と外側補強層とに分割し、内側補強層を前記カーカス層の本体部と前記ビードフィラーとの間に配置し、外側補強層を前記カーカス層の巻き上げ部よりタイヤ幅方向外側に配置し、前記カーカス層の巻き上げ端と前記内側補強層の上端と前記外側補強層の上端のタイヤ径方向の高さ位置を互いに異ならせ、前記カーカス層の巻き上げ端を前記外側補強層の上端よりも高くし、前記内側補強層の上端を前記カーカス層の巻き上げ端よりも高くする一方で、前記内側補強層の下端を前記ビードコアの内側近傍に配置し、前記外側補強層の下端を前記ビードコアの外側近傍に配置した補強構造を有すると共に、リム径の基準位置からのリムフランジの高さをHとし、該リムフランジの頂点からの前記外側補強層の上端の高さをh1とし、該リムフランジの頂点からの前記内側補強層の上端の高さをh2とし、前記リム径の基準位置からの前記内側補強層の下端の高さをh3とし、前記リム径の基準位置からの前記外側補強層の下端の高さをh4としたとき、下記条件を満足する空気入りタイヤ。
0.40<h1/H<1.20
2.20<h2/H<2.90
0.50<h3/H<1.10
0.15<h4/H<0.70 - 左右一対のビード部にそれぞれビードコアを埋設し、各ビードコアの外周側にビードフィラーを配置し、前記左右一対のビード部間に装架されたカーカス層の両端部を前記ビードコアの廻りにタイヤ内側から外側へ巻き上げると共に、複数本のスチールコードを引き揃えてなる補強層を前記カーカス層に沿って前記ビード部に埋設した空気入りタイヤにおいて、前記スチールコードからなる補強層を前記ビードコアを境にして内側補強層と外側補強層とに分割し、内側補強層を前記カーカス層の本体部と前記ビードフィラーとの間に配置し、外側補強層を前記カーカス層の巻き上げ部よりタイヤ幅方向外側に配置し、前記カーカス層の巻き上げ端と前記内側補強層の上端と前記外側補強層の上端のタイヤ径方向の高さ位置を互いに異ならせ、前記カーカス層の巻き上げ端を前記外側補強層の上端よりも高くし、前記内側補強層の上端を前記カーカス層の巻き上げ端よりも高くする一方で、前記内側補強層の下端を前記ビードコアの内側近傍に配置し、前記外側補強層を前記ビードコアの下側に廻り込ませて該外側補強層の下端を前記ビードコアの内側近傍に配置した補強構造を有すると共に、リム径の基準位置からのリムフランジの高さをHとし、該リムフランジの頂点からの前記外側補強層の上端の高さをh1とし、該リムフランジの頂点からの前記内側補強層の上端の高さをh2とし、前記リム径の基準位置からの前記内側補強層の下端の高さをh3とし、前記リム径の基準位置からの前記外側補強層の下端の高さをh4としたとき、下記条件を満足する空気入りタイヤ。
0.40<h1/H<1.20
2.20<h2/H<2.90
0.50<h3/H<1.10
0.10<h4/H<0.50 - 前記内側補強層及び前記外側補強層のタイヤ周方向に対するコード絶対角度を互いに異ならせた請求項1〜5のいずれかに記載の空気入りタイヤ。
- 前記内側補強層及び前記外側補強層のタイヤ周方向に対するコード絶対角度の差を5〜65度にした請求項6に記載の空気入りタイヤ。
- 前記内側補強層及び前記外側補強層の単位幅当たりのコード打ち込み本数を互いに異ならせた請求項1〜7のいずれかに記載の空気入りタイヤ。
- 前記内側補強層及び前記外側補強層のコード撚り構造を互いに異ならせた請求項1〜8のいずれかに記載の空気入りタイヤ。
Priority Applications (1)
| Application Number | Priority Date | Filing Date | Title |
|---|---|---|---|
| JP2002295999A JP4255262B2 (ja) | 2002-10-09 | 2002-10-09 | 空気入りタイヤ |
Applications Claiming Priority (1)
| Application Number | Priority Date | Filing Date | Title |
|---|---|---|---|
| JP2002295999A JP4255262B2 (ja) | 2002-10-09 | 2002-10-09 | 空気入りタイヤ |
Publications (2)
| Publication Number | Publication Date |
|---|---|
| JP2004130881A JP2004130881A (ja) | 2004-04-30 |
| JP4255262B2 true JP4255262B2 (ja) | 2009-04-15 |
Family
ID=32286096
Family Applications (1)
| Application Number | Title | Priority Date | Filing Date |
|---|---|---|---|
| JP2002295999A Expired - Fee Related JP4255262B2 (ja) | 2002-10-09 | 2002-10-09 | 空気入りタイヤ |
Country Status (1)
| Country | Link |
|---|---|
| JP (1) | JP4255262B2 (ja) |
Families Citing this family (3)
| Publication number | Priority date | Publication date | Assignee | Title |
|---|---|---|---|---|
| JP6238708B2 (ja) * | 2013-11-29 | 2017-11-29 | 東洋ゴム工業株式会社 | 空気入りタイヤ及びその製造方法 |
| CN103738122B (zh) * | 2014-01-07 | 2016-03-23 | 中策橡胶集团有限公司 | 一种二层u型钢丝加强胎圈的全钢子午线轮胎及其制备方法 |
| JP2023069500A (ja) | 2021-11-05 | 2023-05-18 | Toyo Tire株式会社 | 空気入りタイヤ |
-
2002
- 2002-10-09 JP JP2002295999A patent/JP4255262B2/ja not_active Expired - Fee Related
Also Published As
| Publication number | Publication date |
|---|---|
| JP2004130881A (ja) | 2004-04-30 |
Similar Documents
| Publication | Publication Date | Title |
|---|---|---|
| EP2246202B1 (en) | Floating two-ply tire | |
| JP5049050B2 (ja) | 重荷重用タイヤ | |
| JP4464700B2 (ja) | 空気入りタイヤ及びその製造方法 | |
| EP3798027A1 (en) | Tire with improved bead portion | |
| JP6954060B2 (ja) | 空気入りタイヤ | |
| JP3071923B2 (ja) | 重荷重用空気入りラジアルタイヤ | |
| JP4510970B2 (ja) | 空気入りタイヤ | |
| JP4255262B2 (ja) | 空気入りタイヤ | |
| JP4410892B2 (ja) | 空気入りタイヤ | |
| JP3647977B2 (ja) | 重荷重用空気入りラジアルタイヤ | |
| JP3715058B2 (ja) | 空気入りタイヤ | |
| JP4367914B2 (ja) | タイヤ用ビードコア及び空気入りタイヤ | |
| WO2005037575A1 (ja) | 空気入りラジアルタイヤ | |
| JP2004182036A (ja) | ランフラットラジアルタイヤ | |
| JP4236324B2 (ja) | 重荷重用空気入りラジアルタイヤ | |
| JP4891604B2 (ja) | 空気入りタイヤ | |
| JP4606184B2 (ja) | 空気入りタイヤ | |
| JP4615654B2 (ja) | 空気入りタイヤ | |
| EP2159078B1 (en) | Modular ply tire with dissimilar materials | |
| JP7067055B2 (ja) | 空気入りタイヤ | |
| JP2001191724A (ja) | ビード部耐久性に優れる空気入りタイヤ | |
| JP3377453B2 (ja) | 重荷重用タイヤ | |
| JP2000264014A (ja) | 重荷重用ラジアルタイヤ | |
| JP4519973B2 (ja) | 空気入りタイヤ | |
| JP2009241720A (ja) | 空気入りタイヤ |
Legal Events
| Date | Code | Title | Description |
|---|---|---|---|
| A621 | Written request for application examination |
Free format text: JAPANESE INTERMEDIATE CODE: A621 Effective date: 20050913 |
|
| A977 | Report on retrieval |
Free format text: JAPANESE INTERMEDIATE CODE: A971007 Effective date: 20081010 |
|
| A131 | Notification of reasons for refusal |
Free format text: JAPANESE INTERMEDIATE CODE: A131 Effective date: 20081021 |
|
| A521 | Written amendment |
Free format text: JAPANESE INTERMEDIATE CODE: A523 Effective date: 20081217 |
|
| TRDD | Decision of grant or rejection written | ||
| A01 | Written decision to grant a patent or to grant a registration (utility model) |
Free format text: JAPANESE INTERMEDIATE CODE: A01 Effective date: 20090120 |
|
| A01 | Written decision to grant a patent or to grant a registration (utility model) |
Free format text: JAPANESE INTERMEDIATE CODE: A01 |
|
| A61 | First payment of annual fees (during grant procedure) |
Free format text: JAPANESE INTERMEDIATE CODE: A61 Effective date: 20090127 |
|
| FPAY | Renewal fee payment (event date is renewal date of database) |
Free format text: PAYMENT UNTIL: 20120206 Year of fee payment: 3 |
|
| R150 | Certificate of patent or registration of utility model |
Free format text: JAPANESE INTERMEDIATE CODE: R150 |
|
| FPAY | Renewal fee payment (event date is renewal date of database) |
Free format text: PAYMENT UNTIL: 20120206 Year of fee payment: 3 |
|
| FPAY | Renewal fee payment (event date is renewal date of database) |
Free format text: PAYMENT UNTIL: 20120206 Year of fee payment: 3 |
|
| FPAY | Renewal fee payment (event date is renewal date of database) |
Free format text: PAYMENT UNTIL: 20120206 Year of fee payment: 3 |
|
| FPAY | Renewal fee payment (event date is renewal date of database) |
Free format text: PAYMENT UNTIL: 20130206 Year of fee payment: 4 |
|
| FPAY | Renewal fee payment (event date is renewal date of database) |
Free format text: PAYMENT UNTIL: 20130206 Year of fee payment: 4 |
|
| FPAY | Renewal fee payment (event date is renewal date of database) |
Free format text: PAYMENT UNTIL: 20130206 Year of fee payment: 4 |
|
| R250 | Receipt of annual fees |
Free format text: JAPANESE INTERMEDIATE CODE: R250 |
|
| R250 | Receipt of annual fees |
Free format text: JAPANESE INTERMEDIATE CODE: R250 |
|
| LAPS | Cancellation because of no payment of annual fees |
