JP4249353B2 - ロング苗マットの簡易巻取り装置 - Google Patents

ロング苗マットの簡易巻取り装置 Download PDF

Info

Publication number
JP4249353B2
JP4249353B2 JP31899599A JP31899599A JP4249353B2 JP 4249353 B2 JP4249353 B2 JP 4249353B2 JP 31899599 A JP31899599 A JP 31899599A JP 31899599 A JP31899599 A JP 31899599A JP 4249353 B2 JP4249353 B2 JP 4249353B2
Authority
JP
Japan
Prior art keywords
roll
seedling mat
winding
mat
guide arm
Prior art date
Legal status (The legal status is an assumption and is not a legal conclusion. Google has not performed a legal analysis and makes no representation as to the accuracy of the status listed.)
Expired - Fee Related
Application number
JP31899599A
Other languages
English (en)
Other versions
JP2001128509A (ja
Inventor
明徳 坂本
Original Assignee
セイレイ工業株式会社
Priority date (The priority date is an assumption and is not a legal conclusion. Google has not performed a legal analysis and makes no representation as to the accuracy of the date listed.)
Filing date
Publication date
Application filed by セイレイ工業株式会社 filed Critical セイレイ工業株式会社
Priority to JP31899599A priority Critical patent/JP4249353B2/ja
Publication of JP2001128509A publication Critical patent/JP2001128509A/ja
Application granted granted Critical
Publication of JP4249353B2 publication Critical patent/JP4249353B2/ja
Anticipated expiration legal-status Critical
Expired - Fee Related legal-status Critical Current

Links

Images

Landscapes

  • Transplanting Machines (AREA)

Description

【0001】
【発明の属する技術分野】
不燃布等からなる帯状の苗床用シートに稲や野菜等の植物種子を蒔いて育苗させたロング苗マットをロール成形にする簡易の巻取り装置に関するものである。
【0002】
【従来の技術】
ロング苗マットを自動巻取りするものが特開平10−276523号公報に開示され、植立する苗葉を予め斜設する帯状ベルトで後傾に倒伏させる前処理と、これに連設する巻取り部を、蛇行する帯状ベルトで巻取り芯金の外周を伝動するようにして、巻取り速度と走行速度を同調させてロール成形しながら苗マットのトレイ上面を自走する巻取り装置が記載され、特開2000−092923号公報には、巻取り機の前後に動輪を設け、苗マットの苗を中央寄りの本体ケース内に巻取り、該本体ケースに装備した前ケースを開閉自在に構成し、ロール状にした苗マットを前方がわに取出すとともに、下手側に倒伏させる葉先ガイド及び、葉先押ローラと、苗マット取込コンベヤと、苗マット巻取ベルトと、該巻取ベルトによって駆動する後輪と、後輪を上方に持上げる補助輪を、前記巻取り機に設けた育苗施設の構成が記載されている。更に、レール上を走行する苗巻取補助装置の走行手段を、上部に設けた電動モータから前後左右に設けた走行車輪を回転させて移動し、苗葉を倒伏させる手段を、苗巻取補助装置の上部に設けたバッテリーで駆動する駆動モータにチェンを設け、駆動ローラと従動ローラに巻き掛けたベルトを回転させ、育苗されたマット苗をロール状に巻き取るときにマット苗葉を巻取り側に倒伏させるものが特開平09−224419号公報に記載され、特開平09−308312号公報には、苗マットを搬送ローラで巻取り装置の方向に搬送し、苗マットの表面に対して傾斜状にした無端帯を設け、その下端を苗マットに近づけながら搬送方向と逆方向に回転させ、搬送する方向の上手側に苗を傾倒させる苗マットの巻取り装置が記載されている。
【0003】
【発明が解決しようとする課題】
前処理部で予め苗葉を後傾に倒伏させる帯状ベルトは巻取り装置の前方に突設し、しかも、巻取り速度と走行速度を同調させたロール成形用の帯状ベルトは蛇行して多数のテンションローラが移動する構造になって巻取り部が肥大化することにより、重量の増加と全長が長くなって走行軌道がトレイの前後に延長されたり、次行程の移動にスペースを要し手間がかかる問題点がある。
【0004】
【課題を解決しようとする手段】
巻取り外径の変化に伴う回転速度と自走速度の同調構造を手動転動で巻取り、苗葉を傾倒姿勢にする鎮圧を自動走行で行なう手動と自動の併用構造にしたロング苗マットの簡易巻取り装置を提供する。
【0005】
上記目的を達成するために、押圧ローラの後方の台車にガイドアームを連設してロールパイプを支持し、苗マットの端面を巻付け機体前進に応じて前記ロールパイプに巻取り、ロール成形中の外径変化に伴い前記ガイドアームの摺動部をロールパイプが移動するようにし、苗マットのロール成形部を簡素化した巻取り装置にする手段を講じた
【0006】
ガイドアームを台車の後方に設けた支点ピンを中心に回動させて収納する構成にし、ガイドアームを収納保持する際には該支点ピンの垂直線を越えた位置で、駆動装置に装着したロック金具によって前記ガイドアームを保持するようにし、成形した押圧ロールを載せて移動ができる手段を講じた。
【0007】
駆動装置を台車から支持する回動支点を押圧ローラの後方に配置させるとともに、前方にストッパーを配設して前記駆動装置を保持する構成にし、苗マットからの押上げ力に対して押圧ローラが上方に後退回避するようにし、トレイ底面との隙間の保持と、苗マットからの異常押上げに対して押圧ロールを上方に後退させる回避手段を講じた。
【0008】
回動支点で支持されて走行するマット巻取り駆動装置全体の不均等重量を押圧ローラに設けたバランスリングによって均等化し、苗マットの全幅で押圧力を一定にさせて、重心位置が下がったバランスリングによって均等化したり、別途に装着するウェイトによって苗マットの圧接力を一定にする手段を講じた。
【0009】
【発明実施の形態】
【実施例】
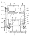
以下、本発明によるロング苗マットの簡易巻取り装置について実施例図を参照に説明すると、図1は、簡易巻取り装置全体の側面図であって、苗マット1を巻き取ったガイドアーム9の斜上位置と収納位置を示してあり、自動走行する台車5にはトレイ3の上面を走行する駆動ローラ2と支持ローラ4を左右に配設してあり、両ローラ間に電動モータ13と押圧ロール6を上下に横設した駆動装置12を回動支点P1で支持し、前方のストッパー15が台車5に接当して水平を維持するようにしてあり、苗マット1に生じる異常の押上力を前記押圧ロール6が上方に扇動して回避するようにした自動走行の構成である。又、台車5の前面にはトレイ3に近接して葉先ガイド17を上下調節可能に装着し、両側の葉先を内方向に案内しながら、全体を前傾姿勢に予め傾倒させて押圧ロール6に送給するようにしてある。
【0010】
駆動ローラ2と支持ローラ4の間に設けた押圧ロール6は、トレイ3の底面7から一定のロール隙間Hを保持するように台車5から当て板20を突設させ、駆動装置12に設けたストッパー15が接当して保持し、苗マット1の厚みに対して適度の圧接力を付与しながら可変する電動モータ13からロールチェン21を介して受動し、矢印ロ方向に回転するようにしてある。しかも、前記押圧ロール6の外周速度と駆動ローラ2の回転速度を同調させたことで、双方で推進力を得て葉先を鎮圧させながら前進するようになっている。尚、22は電動モータ13の回転を任意の作業速度に設定する可変ダイヤルであって、23は移動コード36に接続したスイッチである。
【0011】
台車5の後端にガイドアーム9の先端を回動自在に嵌着する支点ピン24を設け、コの字形にした枠体の下面を摺動部11にしてロールパイプ10に内設する脱着リンク25を押設する支持構造にしたので、手動転動によって巻取るロール径の変化に応じて矢印イの方向に斜上するように移動するロールパイプ10の手動巻取り装置である。このように手動巻き取りをするロール側面の中心付近は、ガイドアーム9の内面で狭持されているので平行度が矯正され円筒度の高いロール成形にすることができた。
【0012】
巻取り後の取出しは、ロール成形をした重量物を定置させたまま当該ガイドアーム9を収納位置26に跳上げて開放し、前記ロールパイプ10から脱着リンク25を抜取り後方に取出すものであるが、この収納状態で次行程のトレイ3に移動するようになり、全長が短縮されているので転換操作も狭いスペースで行なえるとともに保管場所の制限も緩和された。尚、27は苗マット1の表層であって作付け条件で変動するものである。
【0013】
図2は、簡易巻取り装置を断面した平面図であって、苗マット1のトレイ3の上面を転動する駆動ローラ2と支持ローラ4を左右に配設し自動走行する台車5であって、その支持構成は駆動側板左右28a、28bに屈曲凹部31を形設してロール軸29を架設するメタル30を設け、トレイ3の内幅に嵌着する押圧ロール6を回転自在に装着したものであって、軸端には電動モータ13からロールチェン21を介して受動するロールスプロケット34と前記駆動ローラ2を回転させるスプロケット大33を並設し、苗マット1に接当して鎮圧しながら前進するようにしたものである。
【0014】
駆動ローラ2の動力伝達は、ロール軸29に固着したスプロケット大33から駆動チェン39を介して回転させるものであって、台車5の後方に架設する駆動軸47を駆動側板左右28a、28bに添設した外メタル48で支持し、軸端に駆動ローラスプロケット49を固着して受動し、側板の内側に装着した駆動ローラ2を押圧ロール6の周速度に同調した回転にして前進させるものである。又、押圧ロール2を内装した駆動装置12が扇動する支点位置を、ロール軸29と駆動軸47を結ぶ線上の台車5に支軸35を溶着し、壁板19を嵌着させ回動自在に螺着することによって、前記押圧ローラ6が上動する回動支点P1を形成しているが駆動軸47を支点にしても同様の効果を発揮できるものである。尚、50は駆動装置12の上面に設けた移動用の取っ手である。
【0015】
手動転動によるロール成形は、台車5の後端に支点ピン24を突設させて、ガイドアーム9の先端が係合することで回動するようにしてあり、苗マット1の表層27に接当するロールパイプ10の下面と、筒内に嵌着した脱着リンク25の軸部をガイドアーム9で押設する支持構成にしたので、巻取り径の途中変化に応じて摺動部11を前記ロールパイプ10が矢印イの方向に平行に斜上してロール成形するようにしてある。又、巻取り側面の平行を維持するために前記ガイドアーム9の内幅に接近させてあり、前記ロールパイプ10の側面隙間は僅少になってロール成形時の傾きが生じないので、つる巻状の変形巻取りが防止できた。
【0016】
図3と図4は、駆動装置12を断面した正面図と支持ローラ4の配置を示す正面図であって、駆動装置12の下方には押圧ロール6を架設し、上方に電動モータ13を設け、その外周辺に壁板19を張設して箱状体を形成したものであって、側方にスプロケット小32と、ロールスプロケット34を固着してロールチェン21を巻き掛け前進方向に回転するようにした伝動装置であって、全体の重量配分は該伝動装置側に片寄り、押圧ロール6が苗マット1を圧接する左右の重量バランスを崩すが、バランスリング16をロール内に設け重心位置を低めて安定させたり、バランスウエイト37を電動モータ13と相対した位置に配設することで均等重量にし、苗葉の傾倒厚さを一定に鎮圧するものである。又、苗マット1の厚み変化によって生じる異常上昇の回避は、台車5の屈曲凹部31にロール軸29が挿通して扇動する長穴38を開口し、ロール隙間Hが拡張する移動を可能にしている。
【0017】
図4には、支持ローラ4を装着した台車5がトレイ3の上面を転動する配置と扇動する押圧ロール6を示してあり、前記トレイ3の内幅に僅少隙間で押圧ロール6と、図2に示すように台車5の後方に連設したロールパイプ10が嵌入して前後位置で横ずれを防ぎ、支持ローラ4と駆動ローラ2がトレイ3の上面から脱輪しないように直進させる簡易巻取り装置の自動走行構造である。
【0018】
図5は、駆動装置12を傾斜させた側面図であって、押圧ロール6に作用する上昇圧力によって、台車5に設けた回動支点P1を中心に斜上した状態を示してあり、ロール軸29の軸端に固着したスプロケット大33から駆動チェン39を介して従動スプロケット41に伝達されて駆動ローラ2が矢印ニの方向に回転するものであるが、前記回動支点P1を駆動ローラ2の近傍、又は、駆動軸47に配置することによって軸間距離Lの変動を減少させ、駆動チェン39の緩みを防止する支点配置にしたものである。又、適正のロール隙間Hにするには、矢印ホの方向に人為操作で戻し、自重によってストッパー15と台車5側に設けた当て板20が接当して隙間を保持をするようになっている。
【0019】
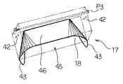
図5と図6で葉先ガイド17の構造を説明すると、台車5の駆動側板左右28a、28bの先端に設けた扇動支点P3に調節穴42を両側に開設した側板を臨ませ、苗の生育状態に合わせて矢印ヘの方向に調節して蝶ナット44で締結するものであって、その内壁には図6の斜視図に示す中寄せ板18を添設してあり、先端の開口部45から苗葉を徐々に傾倒させる天井板46を斜設し、これに連接するガイド側板43で漏斗状に形設した中寄せ板18にすることによって、苗葉側面を内側に寄せながら前傾姿勢に倒伏させ、葉先が側面からはみ出ないようにして押圧ロール2に送給するものである。
【0020】
図7、8、9、10、11、は簡易巻取り装置の外観を表はす5面の外観投影図であって、駆動装置12の伝動部にカバー52を装着し、その上面に設けた可変ダイアル22や移動用の取っ手50の配置を示してある。図9の右側面図には、苗マット1の表層27にロールパイプ10が接当し、押圧ロール6がロール隙間Hで鎮圧するようになって前進する簡易巻取り装置の水平姿勢を示し、反対側の左側面図は図10であって、台車5に支持ローラ4と駆動ローラ2を設け、押圧ロール6を装着した駆動装置12の回動支点P1を配設した投影図である。
【0021】
【発明の効果】
ロング苗マットの巻取り装置を、押圧ロールを設け軌道上を自動走行する駆動装置と、後方に手動で回動転動する巻取り部を連設する簡易巻取り装置にしたので以下に掲げるような効果を発揮するものである。
【0022】
押圧ローラの後方の台車にガイドアームを連設してロールパイプを支持し、苗マットの端面を巻付け機体前進に応じて前記ロールパイプに巻取り、ロール成形中の外径変化に伴い前記ガイドアームの摺動部をロールパイプが移動するようにし、苗マットのロール成形部を簡素化した巻取り装置になり、巻取り速度と走行速度の同調装置が省略されて単純構造にでき、製造コストの安い簡易巻取り装置になった。
【0023】
ガイドアームを台車の後方に設けた支点ピンを中心に回動させて収納する構成にし、ガイドアームを収納保持する際には該支点ピンの垂直線を越えた位置で、駆動装置に装着したロック金具によって前記ガイドアームを保持するようにし、押圧ロールを載せて移動ができるので、苗マット間を移動するスペースが狭くても次行程の設定がし易くなった。
【0024】
駆動装置を台車から支持する回動支点を押圧ローラの後方に配置させるとともに、前方にストッパーを配設して前記駆動装置を保持する構成にし、苗マットからの押上げ力に対して押圧ローラが上方に後退回避するようにし、トレイ底面との隙間を保持と、苗マットからの異常押上げに対して押圧ロールを上方に後退回避する構造にしたので、苗マットの厚み変化に対応した圧接力が保持され苗葉の損傷が減少した。
【0025】
回動支点で支持されて走行するマット巻取り駆動装置全体の不均等重量を押圧ローラに設けたバランスリングによって均等化し、苗マットの全幅で押圧力を一定にさせて、重心位置が下がったバランスリングや別途装着するウェイトによって均等化し、苗マットの圧接力を一定重量にしたので苗マットの厚みが均一になりロール成形時のつる巻状変形が防止できた。
【図面の簡単な説明】
【図1】 簡易巻取り装置の内部を示す全体側面図である。
【図2】 簡易巻取り装置を断面した平面図である。
【図3】 駆動装置を断面した正面図である。
【図4】 走行ローラとトレイの軌道を示す正面図である。
【図5】 駆動装置を傾斜させた側面図である。
【図6】 葉先ガイドに張設した中寄せ板の斜視図である。
【図7】 前方から見た正面図である。
【図8】 外観全体の平面図である。
【図9】 水平姿勢の外観全体を示す右側面図である。
【図10】 外観全体を示す左側面図である。
【図11】 後方から見た背面図である。
【符号の説明】
P1・・回動支点 P2・・垂直線 P3・・扇動支点
H・・ロール隙間 1・・苗マット 2・・駆動ローラ
3・・トレイ 4・・支持ローラ 5・・台車
6・・押圧ローラ 9・・ガイドアーム 10・・ロールパイプ
11・・摺動部 12・・駆動装置 13・・電動モータ
15・・ストッパー 16・・バランスリング 17・・葉先ガイド
18・・中寄せ板 20・・当て板 26・・収納位置
29・・ロール軸 30・・メタル 31・・屈曲凹部
35・・支軸 37・・バランスウエイト 38・・長穴
42・・調節穴 46・・天井板 47・・駆動軸
52・・カバー
イ矢印・・手動巻取り中のロールパイプ移動方向。
ニ矢印・・駆動ローラの回転方向。
ホ矢印・・傾斜した駆動装置の戻し方向。
ヘ矢印・・葉先ガイドの調節方向。

Claims (4)

  1. 帯状の苗床用シートに稲や野菜等の植物種子を蒔いて育成させたロング苗マットを巻取り、ロール成形するために電動モータ13と押圧ローラ6を上下に配置して走行するマット巻取り駆動装置12を台車5に装着し、該台車5に設けた駆動ローラ2と上下動する押圧ローラ6を回転させ、苗葉姿勢を前傾方向に鎮圧させるロング苗マット簡易巻取り装置において、押圧ローラ6の後方の台車5にガイドアーム9を連設してロールパイプ10を支持し、苗マット1の端面を巻付け機体前進に応じて前記ロールパイプ10に巻取り、ロール成形中の外径変化に伴い前記ガイドアーム9の摺動部11をロールパイプ10が移動するようにしたことを特徴とするロング苗マットの簡易巻取り装置
  2. ガイドアーム9を台車5の後方に設けた支点ピン24を中心に回動させて収納する構成にしガイドアーム9を収納保持する際には該支点ピン24の垂直線P2を越えた位置で、駆動装置12に装着したロック金具14によって前記ガイドアーム9を保持したことを特徴とする請求項1に記載のロング苗マットの簡易巻取り装置。
  3. 駆動装置12を台車5から支持する回動支点P1を押圧ローラ6の後方に配置させるとともに、前方にストッパー15を配設して前記駆動装置12を保持する構成にし、苗マット1からの押上げ力に対して押圧ローラ6が上方に後退回避するようにしたことを特徴とする請求項2に記載のロング苗マットの簡易巻取り装置。
  4. 回動支点P1で支持されて走行するマット巻取り駆動装置12全体の不均等重量を押圧ローラ6に設けたバランスリング16によって均等化し、苗マット1の全幅で押圧力を一定にしたことを特徴とする請求項3に記載のロング苗マットの簡易巻取り装置。
JP31899599A 1999-11-10 1999-11-10 ロング苗マットの簡易巻取り装置 Expired - Fee Related JP4249353B2 (ja)

Priority Applications (1)

Application Number Priority Date Filing Date Title
JP31899599A JP4249353B2 (ja) 1999-11-10 1999-11-10 ロング苗マットの簡易巻取り装置

Applications Claiming Priority (1)

Application Number Priority Date Filing Date Title
JP31899599A JP4249353B2 (ja) 1999-11-10 1999-11-10 ロング苗マットの簡易巻取り装置

Publications (2)

Publication Number Publication Date
JP2001128509A JP2001128509A (ja) 2001-05-15
JP4249353B2 true JP4249353B2 (ja) 2009-04-02

Family

ID=18105331

Family Applications (1)

Application Number Title Priority Date Filing Date
JP31899599A Expired - Fee Related JP4249353B2 (ja) 1999-11-10 1999-11-10 ロング苗マットの簡易巻取り装置

Country Status (1)

Country Link
JP (1) JP4249353B2 (ja)

Also Published As

Publication number Publication date
JP2001128509A (ja) 2001-05-15

Similar Documents

Publication Publication Date Title
CN110844664A (zh) 一种数码印花机的上布机构
CN212173979U (zh) 双工位收卷系统
JP2010200724A (ja) 食品生地の折り畳み積載方法及び装置
JP4249353B2 (ja) ロング苗マットの簡易巻取り装置
CN211366387U (zh) 一种凹版印刷机的纠偏装置
JPS61277559A (ja) シート材積重ね機械
CN220165387U (zh) 玻璃铺纸机的纸张传送机构
CN218023667U (zh) 一种带式输送机的滚筒水平间距调节装置
CN108543893B (zh) 一种卷网机构及具有其的焊接机器人
CN218231254U (zh) 一种镀铝复合膜的定位分切设备
CN217223037U (zh) 一种带钢整平装置
CN112919184B (zh) 棉卷的自动卷绕装置
CN110525878A (zh) 一种冲压生产线用皮带机
CN209777854U (zh) 一种湿巾生产线的进料分切机构
CN209973858U (zh) 全自动上卷机
CN209832602U (zh) 铝板高速覆膜生产线
CN221128779U (zh) 一种蒸米糕生产用卷圆装置
CN220148357U (zh) 新型张紧力度可调节的带料烘烤用张紧结构
CN221606163U (zh) 一种床垫卷包机
CN218464063U (zh) 包装机二次包装机构
CN222781144U (zh) 一种单卷自动放料装置
CN114506702A (zh) 一种发泡类连带状产品的生产装置
CN218855231U (zh) 一种开卷装置
CN216511727U (zh) 一种用于纺织印染的退卷机
CN211386311U (zh) 一种轻型可调式成型设备

Legal Events

Date Code Title Description
A621 Written request for application examination

Free format text: JAPANESE INTERMEDIATE CODE: A621

Effective date: 20060922

A977 Report on retrieval

Free format text: JAPANESE INTERMEDIATE CODE: A971007

Effective date: 20080507

A131 Notification of reasons for refusal

Free format text: JAPANESE INTERMEDIATE CODE: A131

Effective date: 20080603

A521 Written amendment

Free format text: JAPANESE INTERMEDIATE CODE: A523

Effective date: 20080714

TRDD Decision of grant or rejection written
A01 Written decision to grant a patent or to grant a registration (utility model)

Free format text: JAPANESE INTERMEDIATE CODE: A01

Effective date: 20090113

A01 Written decision to grant a patent or to grant a registration (utility model)

Free format text: JAPANESE INTERMEDIATE CODE: A01

A61 First payment of annual fees (during grant procedure)

Free format text: JAPANESE INTERMEDIATE CODE: A61

Effective date: 20090115

FPAY Renewal fee payment (event date is renewal date of database)

Free format text: PAYMENT UNTIL: 20120123

Year of fee payment: 3

R150 Certificate of patent or registration of utility model

Free format text: JAPANESE INTERMEDIATE CODE: R150

LAPS Cancellation because of no payment of annual fees