JP4242829B2 - 調節可能な眼内レンズ - Google Patents

調節可能な眼内レンズ Download PDF

Info

Publication number
JP4242829B2
JP4242829B2 JP2004500739A JP2004500739A JP4242829B2 JP 4242829 B2 JP4242829 B2 JP 4242829B2 JP 2004500739 A JP2004500739 A JP 2004500739A JP 2004500739 A JP2004500739 A JP 2004500739A JP 4242829 B2 JP4242829 B2 JP 4242829B2
Authority
JP
Japan
Prior art keywords
optical
lens
optical unit
recess
optic
Prior art date
Legal status (The legal status is an assumption and is not a legal conclusion. Google has not performed a legal analysis and makes no representation as to the accuracy of the status listed.)
Expired - Fee Related
Application number
JP2004500739A
Other languages
English (en)
Other versions
JP2006511245A (ja
Inventor
ペン,キュン
ヤン,イン
チャン,シアオシアオ
Original Assignee
アルコン,インコーポレイティド
Priority date (The priority date is an assumption and is not a legal conclusion. Google has not performed a legal analysis and makes no representation as to the accuracy of the date listed.)
Filing date
Publication date
Application filed by アルコン,インコーポレイティド filed Critical アルコン,インコーポレイティド
Publication of JP2006511245A publication Critical patent/JP2006511245A/ja
Application granted granted Critical
Publication of JP4242829B2 publication Critical patent/JP4242829B2/ja
Anticipated expiration legal-status Critical
Expired - Fee Related legal-status Critical Current

Links

Images

Classifications

    • AHUMAN NECESSITIES
    • A61MEDICAL OR VETERINARY SCIENCE; HYGIENE
    • A61FFILTERS IMPLANTABLE INTO BLOOD VESSELS; PROSTHESES; DEVICES PROVIDING PATENCY TO, OR PREVENTING COLLAPSING OF, TUBULAR STRUCTURES OF THE BODY, e.g. STENTS; ORTHOPAEDIC, NURSING OR CONTRACEPTIVE DEVICES; FOMENTATION; TREATMENT OR PROTECTION OF EYES OR EARS; BANDAGES, DRESSINGS OR ABSORBENT PADS; FIRST-AID KITS
    • A61F2/00Filters implantable into blood vessels; Prostheses, i.e. artificial substitutes or replacements for parts of the body; Appliances for connecting them with the body; Devices providing patency to, or preventing collapsing of, tubular structures of the body, e.g. stents
    • A61F2/02Prostheses implantable into the body
    • A61F2/14Eye parts, e.g. lenses or corneal implants; Artificial eyes
    • A61F2/16Intraocular lenses
    • A61F2/1613Intraocular lenses having special lens configurations, e.g. multipart lenses; having particular optical properties, e.g. pseudo-accommodative lenses, lenses having aberration corrections, diffractive lenses, lenses for variably absorbing electromagnetic radiation, lenses having variable focus
    • AHUMAN NECESSITIES
    • A61MEDICAL OR VETERINARY SCIENCE; HYGIENE
    • A61FFILTERS IMPLANTABLE INTO BLOOD VESSELS; PROSTHESES; DEVICES PROVIDING PATENCY TO, OR PREVENTING COLLAPSING OF, TUBULAR STRUCTURES OF THE BODY, e.g. STENTS; ORTHOPAEDIC, NURSING OR CONTRACEPTIVE DEVICES; FOMENTATION; TREATMENT OR PROTECTION OF EYES OR EARS; BANDAGES, DRESSINGS OR ABSORBENT PADS; FIRST-AID KITS
    • A61F2/00Filters implantable into blood vessels; Prostheses, i.e. artificial substitutes or replacements for parts of the body; Appliances for connecting them with the body; Devices providing patency to, or preventing collapsing of, tubular structures of the body, e.g. stents
    • A61F2/02Prostheses implantable into the body
    • A61F2/14Eye parts, e.g. lenses or corneal implants; Artificial eyes
    • A61F2/16Intraocular lenses
    • A61F2/1613Intraocular lenses having special lens configurations, e.g. multipart lenses; having particular optical properties, e.g. pseudo-accommodative lenses, lenses having aberration corrections, diffractive lenses, lenses for variably absorbing electromagnetic radiation, lenses having variable focus
    • A61F2/1624Intraocular lenses having special lens configurations, e.g. multipart lenses; having particular optical properties, e.g. pseudo-accommodative lenses, lenses having aberration corrections, diffractive lenses, lenses for variably absorbing electromagnetic radiation, lenses having variable focus having adjustable focus; power activated variable focus means, e.g. mechanically or electrically by the ciliary muscle or from the outside
    • A61F2/1629Intraocular lenses having special lens configurations, e.g. multipart lenses; having particular optical properties, e.g. pseudo-accommodative lenses, lenses having aberration corrections, diffractive lenses, lenses for variably absorbing electromagnetic radiation, lenses having variable focus having adjustable focus; power activated variable focus means, e.g. mechanically or electrically by the ciliary muscle or from the outside for changing longitudinal position, i.e. along the visual axis when implanted
    • AHUMAN NECESSITIES
    • A61MEDICAL OR VETERINARY SCIENCE; HYGIENE
    • A61FFILTERS IMPLANTABLE INTO BLOOD VESSELS; PROSTHESES; DEVICES PROVIDING PATENCY TO, OR PREVENTING COLLAPSING OF, TUBULAR STRUCTURES OF THE BODY, e.g. STENTS; ORTHOPAEDIC, NURSING OR CONTRACEPTIVE DEVICES; FOMENTATION; TREATMENT OR PROTECTION OF EYES OR EARS; BANDAGES, DRESSINGS OR ABSORBENT PADS; FIRST-AID KITS
    • A61F2/00Filters implantable into blood vessels; Prostheses, i.e. artificial substitutes or replacements for parts of the body; Appliances for connecting them with the body; Devices providing patency to, or preventing collapsing of, tubular structures of the body, e.g. stents
    • A61F2/02Prostheses implantable into the body
    • A61F2/14Eye parts, e.g. lenses or corneal implants; Artificial eyes
    • A61F2/16Intraocular lenses
    • A61F2/1613Intraocular lenses having special lens configurations, e.g. multipart lenses; having particular optical properties, e.g. pseudo-accommodative lenses, lenses having aberration corrections, diffractive lenses, lenses for variably absorbing electromagnetic radiation, lenses having variable focus
    • A61F2/1648Multipart lenses
    • AHUMAN NECESSITIES
    • A61MEDICAL OR VETERINARY SCIENCE; HYGIENE
    • A61FFILTERS IMPLANTABLE INTO BLOOD VESSELS; PROSTHESES; DEVICES PROVIDING PATENCY TO, OR PREVENTING COLLAPSING OF, TUBULAR STRUCTURES OF THE BODY, e.g. STENTS; ORTHOPAEDIC, NURSING OR CONTRACEPTIVE DEVICES; FOMENTATION; TREATMENT OR PROTECTION OF EYES OR EARS; BANDAGES, DRESSINGS OR ABSORBENT PADS; FIRST-AID KITS
    • A61F2/00Filters implantable into blood vessels; Prostheses, i.e. artificial substitutes or replacements for parts of the body; Appliances for connecting them with the body; Devices providing patency to, or preventing collapsing of, tubular structures of the body, e.g. stents
    • A61F2/02Prostheses implantable into the body
    • A61F2/14Eye parts, e.g. lenses or corneal implants; Artificial eyes
    • A61F2/16Intraocular lenses
    • A61F2002/1681Intraocular lenses having supporting structure for lens, e.g. haptics
    • AHUMAN NECESSITIES
    • A61MEDICAL OR VETERINARY SCIENCE; HYGIENE
    • A61FFILTERS IMPLANTABLE INTO BLOOD VESSELS; PROSTHESES; DEVICES PROVIDING PATENCY TO, OR PREVENTING COLLAPSING OF, TUBULAR STRUCTURES OF THE BODY, e.g. STENTS; ORTHOPAEDIC, NURSING OR CONTRACEPTIVE DEVICES; FOMENTATION; TREATMENT OR PROTECTION OF EYES OR EARS; BANDAGES, DRESSINGS OR ABSORBENT PADS; FIRST-AID KITS
    • A61F2220/00Fixations or connections for prostheses classified in groups A61F2/00 - A61F2/26 or A61F2/82 or A61F9/00 or A61F11/00 or subgroups thereof
    • A61F2220/0025Connections or couplings between prosthetic parts, e.g. between modular parts; Connecting elements
    • A61F2220/0033Connections or couplings between prosthetic parts, e.g. between modular parts; Connecting elements made by longitudinally pushing a protrusion into a complementary-shaped recess, e.g. held by friction fit
    • AHUMAN NECESSITIES
    • A61MEDICAL OR VETERINARY SCIENCE; HYGIENE
    • A61FFILTERS IMPLANTABLE INTO BLOOD VESSELS; PROSTHESES; DEVICES PROVIDING PATENCY TO, OR PREVENTING COLLAPSING OF, TUBULAR STRUCTURES OF THE BODY, e.g. STENTS; ORTHOPAEDIC, NURSING OR CONTRACEPTIVE DEVICES; FOMENTATION; TREATMENT OR PROTECTION OF EYES OR EARS; BANDAGES, DRESSINGS OR ABSORBENT PADS; FIRST-AID KITS
    • A61F2250/00Special features of prostheses classified in groups A61F2/00 - A61F2/26 or A61F2/82 or A61F9/00 or A61F11/00 or subgroups thereof
    • A61F2250/0014Special features of prostheses classified in groups A61F2/00 - A61F2/26 or A61F2/82 or A61F9/00 or A61F11/00 or subgroups thereof having different values of a given property or geometrical feature, e.g. mechanical property or material property, at different locations within the same prosthesis
    • A61F2250/0053Special features of prostheses classified in groups A61F2/00 - A61F2/26 or A61F2/82 or A61F9/00 or A61F11/00 or subgroups thereof having different values of a given property or geometrical feature, e.g. mechanical property or material property, at different locations within the same prosthesis differing in optical properties

Landscapes

  • Health & Medical Sciences (AREA)
  • Ophthalmology & Optometry (AREA)
  • Cardiology (AREA)
  • Oral & Maxillofacial Surgery (AREA)
  • Transplantation (AREA)
  • Engineering & Computer Science (AREA)
  • Biomedical Technology (AREA)
  • Heart & Thoracic Surgery (AREA)
  • Vascular Medicine (AREA)
  • Life Sciences & Earth Sciences (AREA)
  • Animal Behavior & Ethology (AREA)
  • General Health & Medical Sciences (AREA)
  • Public Health (AREA)
  • Veterinary Medicine (AREA)
  • Prostheses (AREA)
  • Materials For Medical Uses (AREA)

Description

本発明は、全体として眼内レンズ(IOL)の分野に関するものであり、より詳細には調節可能なIOLに関する。
ヒトの目は、ごく簡単に述べるならば、角膜と呼ばれる透明な外側部分を通じて光を透過させ、水晶体によって画像を網膜にフォーカスさせることにより視覚を提供する。焦点を結んだ画像の品質は、多くの因子に依存し、そのような因子としては、目のサイズおよび形状、角膜と水晶体の透明度が挙げられる。
加齢や疾患によって水晶体の透明度が低下すると、視覚が劣化する。というのも、網膜に伝えることのできる光の量が減るからである。目の水晶体に関するこの欠陥は、医学的には白内障として知られている。この疾患に関して受け入れられている治療法は、水晶体を外科的に除去し、人工眼内レンズ(IOL)で水晶体機能を置き換えるというものである。
米国では、白内障になった水晶体の大部分は、水晶体超音波吸引術と呼ばれる外科的方法で除去される。この方法を実施するときには、前嚢に開口部を設け、水晶体超音波吸引用の薄い切断チップ(cutting tip)を病気になった水晶体の中に挿入し、超音波で振動させる。振動するこの切断チップが水晶体を液体化または乳化させるため、水晶体を目から吸引して取り出すことができる。病気になったこの水晶体が除去された後は、人工レンズで置き換えられる。
天然の水晶体では、調節(accommodation)として知られるメカニズムによって遠くを見る場合と近くを見る場合にそれぞれ焦点を合わせることができる(二重焦点:bifocality)。天然の水晶体は、若いときには柔らかく、嚢袋(capsular bag)の中に収容されている。この嚢袋は、毛様小帯によって毛様体筋から吊り下げられている。毛様体筋が弛緩すると毛様小帯が緊張し、嚢袋を引っ張る。その結果、天然の水晶体は平坦になる傾向がある。毛様体筋を緊張させると毛様小帯にかかる張力が弱まるため、嚢袋と天然の水晶体はより丸い形状になる。天然の水晶体は、このようにして近くの物体と遠くの物体に交互に焦点を合わせることができる。
水晶体は老化するにつれて硬くなるため、毛様体筋の緊張に反応して形を変えることができにくくなる。すると水晶体は近くの物体に焦点を合わせることが難しくなる。これが、老眼として知られる医学的症状である。老眼は、年齢が45〜50を超えるほとんどの成人に起こる。
本発明以前には、白内障などの疾患になると天然の水晶体を取り出して人工IOLで置き換える必要があったが、この場合の人工IOLは単焦点のレンズであるため、患者は、近くを見ようとするとメガネまたはコンタクトレンズを使用する必要があった。アラーガン社(Allergan)は、二重焦点IOL(bifocal IOL)、すなわちアレイ式レンズ(Array lens)を数年前から販売しているが、品質の問題で広く受け入れられてはいない。
調節可能なIOLを設計する研究がいくつか行なわれている。例えばC&Cビジョン社が製造したいくつかのものは、現在臨床試験中である。米国特許第6,197,059号、第5,674,282号、第5,496,366号、第5,476,514号(Cumming)を参照のこと。また、これら特許文献の内容はすべて、参考としてこの明細書に組み込まれているものとする。これら特許文献に記載されているレンズは、単一の光学レンズであり、毛様体筋の運動に反応して光学部(optic)を前後に動かすことができる柔軟性のある触知部、すなわちハプティックス(haptics)を有している。同様の設計のものが、米国特許第6,302,911 B1号(Hanna)、第6,261,321 B1号(Kellan)、第6,241,777 B1号(Kellan)に記載されており、これら特許文献の内容はすべて、参考としてこの明細書に組み込まれているものとする。しかしこれら単一レンズシステムで光学部が動く量は、調節を有効に行なうには不十分である。さらに、米国特許第6,197,059号、第5,674,282号、第5,496,366号、第5,476,514号に記載されているように、嚢袋の線維化によりレンズが取り込まれることによってレンズと嚢袋の間に堅固な関連ができるようにするためには、目を1〜2週間にわたって麻痺させておく必要がある。しかも市販されているモデルのレンズは、ヒドロゲル材料またはシリコーン材料でできている。このような材料は後嚢混濁(“PCO”:posterior capsule opacification)の形成に対する抵抗力が元々ない。PCOの唯一の治療法は、Nd:YAGレーザーを用いた嚢切開法により後嚢の一部を蒸発させるという方法である。後嚢をこのように破壊すると、これらレンズの調節機構が破壊される可能性がある。
2つの光学部を有する調節可能なレンズシステム(two-optic accommodative lens system)を作るいくつかの試みがある。例えば米国特許第5,275,623号(Sarfarazi)、国際公開公報第00/66037号(Glick他)、第01/34067 A1号 (Bandhauer他)の何れにも、2つの光学部を有するレンズシステム(two-optic lens system)が開示されており、一方の光学部は正の屈折力(positive power)を有し、他方の光学部は負の屈折力(negative power)を有している。なお、これら特許文献の内容はすべて、参考としてこの明細書に組み込まれているものとする。これらの光学部はヒンジ機構によって接続されており、このヒンジ機構が毛様体筋の動きに反応して光学部を互いに近づけたり離したりするため調節が可能になる。この“ズーム・レンズ”効果を提供するためには、毛様体筋の動きが嚢袋を通じてレンズシステムに適切に伝達される必要がある。しかしこれら参考文献の何れにも、嚢袋とレンズシステムをしっかりと接続することを保証する機構は開示されていない。さらに、どの設計のレンズも、上記のPCOという問題を取り扱っていない。
そのため、幅広くかつ有用な範囲で調節できる、安全で安定な調節可能眼内レンズシステムが相変わらず求められている。
本発明は、2つの光学部を有する調節可能なレンズシステムを提供することにより、従来技術を改善する。第1のレンズは負の屈折力を有し、後嚢の後方に位置する。この第1の光学部の周辺部には一対のクラスプ(clasp)が設けられている。第2の光学部は第1の光学部の前方に位置しており、正の屈折力を有している。この第2の光学部の周辺縁部には一対の固定用アームが設けられており、第1の光学部の周辺部に設けられたクラスプに嵌め込まれて第2の光学部を第1の光学部に対して固定する一方で、クラスプ内でアームが回転できるようにする。固定用アーム上のヒンジ構造により、毛様体筋の動きに応じて、レンズシステムの光学軸に沿って第2の光学部を第1の光学部に対して動かすことができる。
そこで本発明の1つの目的は、安全で生体適合性のある眼内レンズを提供することである。
本発明の別の目的は、後眼房に容易に埋め込むことができる、安全で生体適合性のある眼内レンズを提供することである。
本発明のさらに別の目的は、後眼房において安定な、安全で生体適合性のある眼内レンズを提供することである。
本発明のさらに別の目的は、安全で生体適合性のある調節可能なレンズシステムを提供することである。
本発明のこれらの利点および目的とそれ以外の利点および目的は、以下の詳細な説明と特許請求の範囲から明らかになろう。
図1〜図5と図10を見ると最もよくわかるように、本発明のレンズシステム10は、一般に、後方光学部(posterior optic)12と前方光学部(anterior optic)14で構成されている。光学部12は、後眼房に埋め込めるように、全体の直径または長さを適切な任意の値、例えば約12mmにして構成することが好ましい。光学部12は、PCOの形成に元々抵抗性のある柔らかくて折り曲げ可能な材料、例えば柔らかいアクリル樹脂等でできていることが好ましい。光学部14は、柔らかくて折り曲げ可能な材料、例えばヒドロゲル、シリコーン、柔らかいアクリル樹脂等でできていることが好ましい。光学部12の屈折力は、適切な任意の値にすることができるが、負の屈折力を有することが好ましい。光学部14の屈折力も適切な任意の値にすることができるが、正の屈折力を有することが好ましい。光学部12と光学部14の相対的な屈折力(relative powers)は、光学部14が光学部12に対して軸方向に移動して近づいたり遠ざかったりする動きが十分にできて、レンズシステム10の全屈折力を少なくとも1ジオプトリー(diopter)、好ましくは少なくとも3〜4ジオプトリー調節できるようになっているべきである。光学部12と光学部14のこのような屈折力の計算は、眼のレンズの設計に関する技術を有する者であれば可能であり、例えば以下の式が用いられる。
P = P1 + P2 - T/n×P1P2 (1)
δP = δT/n×P1P2 (2)
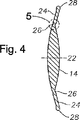
図1と図2を見ると最もよくわかるように、光学部12は、全体として光学軸22に対して対称であって、互いに向き合った一対のクラスプ16を備えており、同クラスプ16は、嚢袋200の赤道領域210にあってこの赤道領域210を引っ張る形状になっている。クラスプ16は、ラッチ20によって全体として画定された凹部18を備えている。図3〜図5を見ると最もよくわかるように、光学部14は、一対の触知部24を備えており、同触知部24は、ヒンジ領域26によって光学部14に接続されており、ヒンジ領域26から離れた位置に固定用ピン28を備えている。図10からわかるように、固定用ピン28は、光学部12の凹部18に嵌まるサイズ及び形状になっており、そのため光学部14が光学部12の内部にしっかりと保持される一方で、凹部18内で固定用ピン28が回転できる状態になる。当業者であれば、凹部18をヒンジ領域26に設けてもよいことと、固定用ピン28を光学部12に設けてもよいことが理解できよう。固定用ピン28を凹部18に挿入するためには、凹部18がわずかに広げられ、それによって触知部24が予荷重される。当業者であれば、この構造体が目の中に埋め込まれると、嚢袋200が収縮することによってクラスプ16がわずかにつぶれ、光学部14が圧縮されることがわかるであろう。光学部14が圧縮されるにつれ、ヒンジ領域26によって光学部14が光学部12から前方に向かって離れてヴォールト(vault)状になり、そのとき固定用ピン28は凹部18内で枢軸回転をする。当業者であれば、触知部24を、同触知部がヒンジのように自然に屈曲する材料で作ること、および/またはヒンジのように自然に屈曲する構造にすることができるため、ヒンジ領域26を形成するのに特別な性質を利用する必要のないことが理解できよう。
図6〜図9と図11を見ると最もよくわかるように、本発明のレンズシステム110は、全体として、後方光学部112と前方光学部114で構成されている。光学部112は、後眼房に埋め込めるように、全体の直径または長さを適切な任意の値、例えば約12mmにして構成することが好ましい。光学部112は、PCOの形成に元々抵抗性のある柔らかくて折り曲げ可能な材料、例えば柔らかいアクリル樹脂等でできていることが好ましい。光学部114は、柔らかくて折り曲げ可能な材料、例えばヒドロゲル、シリコーン、柔らかいアクリル樹脂等でできていることが好ましい。光学部112の屈折力は、適切な任意の値にすることができるが、負の屈折力を有することが好ましい。光学部114の屈折力も適切な任意の値にすることができるが、正の屈折力を有することが好ましい。光学部112と光学部114の相対的なジオプトリーは、光学部114が光学部112に対して軸方向に移動して近づいたり遠ざかったりする動きが十分にできて、レンズシステム10の全屈折力を少なくとも1ジオプトリー、好ましくは少なくとも3〜4ジオプトリー調節できるようになっているべきである。光学部112と光学部114のこのような屈折力の計算は、当業者であれば可能である。当業者であれば、この実施態様では触知部124が触知部24よりも長いことが原因で、光学部112に対する光学部114の軸方向の運動が、図1〜図5に示した実施態様におけるよりも大きいこともわかるであろう。
図6、図7及び図13を見ると最もよくわかるように、光学部112は、全体として光学軸122に対して対称であり、互いに向き合った一対のクラスプ116を備えていて、同クラスプ116は、嚢袋300の赤道領域310にあってこの赤道領域310を引っ張る形状になっている。クラスプ116は、ラッチ120によって全体として画定された凹部118を備えている。図8と図9を見ると最もよくわかるように、光学部114は、環状触知部124を備えており、同触知部124は、ヒンジ領域126によって光学部114に接続されており、触知部124の周辺部の遠い位置に固定用ピン128を備えている。当業者であれば、凹部118がクラスプ116上に配置されてもよいことと、固定用ピン128が触知部124上に配置されてもよいことが理解できよう。図11からわかるように、固定用ピン128は、光学部112の凹部118に嵌まるサイズ及び形状になっており、そのため光学部114が光学部112の内部にしっかりと保持される一方で、凹部118内で固定用ピン128が回転できる状態になる。固定用ピン128は、光学部114の周囲部(circumference)のまわりにおいてヒンジ領域126から約90°の位置に存在していることが好ましい。固定用ピン128を凹部118に挿入するためには、凹部118がわずかに広げられ、それによって触知部124が予荷重される。当業者であれば、触知部124を、同触知部がヒンジのように自然に屈曲する材料で作ること、および/またはヒンジのように自然に屈曲する構造にすることができるため、ヒンジ領域126を形成するのに特別な性質を利用する必要のないことが理解できよう。
当業者であれば、この構造体が目の中に埋め込まれると、嚢袋300が収縮することによってクラスプ116がわずかにつぶれ、光学部114が圧縮されることがわかるであろう。光学部114が圧縮されるにつれ、ヒンジ領域126によって光学部114が光学部112から前方に向かって離れてヴォールト状になり、そのとき固定用ピン128は凹部118内で枢軸回転をする。
図12と図13を見ると最もよくわかるように、レンズシステム10と110は、天然の水晶体を除去した後、それぞれ嚢袋200と300に収まる。天然の水晶体を除去するためには、開口部または裂け目(rhexis)を嚢袋200または300の前側に設ける。この開口部には、リムまたは縁部212または312が備わっている。レンズシステム10または110を埋め込むとき、リムまたは縁部212または312が凹部18または118に挿入された後、光学部14または114が導入される。光学部14または114が光学部12または112の中に収まると、固定用ピン28及び128が、リム212または312をそれぞれ凹部18または118の中に収容するのを助け、それによって嚢袋200または300とレンズシステム10または110がそれぞれ機械的に明確に接続された状態が維持される。これにより嚢袋200または300の収縮がより直接的に伝達され、光学部12または112がそれぞれ収縮する。さらに、凹部18または118は自己固定式の設計になっているため、嚢袋200及び300がそれぞれ凹部18または118から滑り出すことが防止される。
図15〜図21を見ると最もよくわかるように、本発明のレンズシステム410は、全体として、後方光学部412と前方光学部414で構成されている。光学部412は、後眼房に埋め込めるように、全体の直径または長さを適切な任意の値、例えば約12mmにして構成することが好ましい。光学部412は、PCOの形成に元々抵抗性のある柔らかくて折り曲げ可能な材料、例えば柔らかいアクリル樹脂等でできていることが好ましい。光学部414は、柔らかくて折り曲げ可能な材料、例えばヒドロゲル、シリコーン、柔らかいアクリル樹脂等でできていることが好ましい。光学部412の屈折力は、適切な任意の値にすることができるが、負の屈折力を有することが好ましい。光学部414の屈折力も適切な任意の値にすることができるが、正の屈折力を有することが好ましい。光学部412と光学部414の相対的な屈折力は、光学部414が光学部412に対して軸方向に移動して近づいたり遠ざかったりする動きが十分にできて、レンズシステム410の全屈折力を少なくとも1ジオプトリー、好ましくは少なくとも3〜4ジオプトリー調節できるようになっているべきである。光学部412と光学部414のこのような屈折力の計算は、すでに説明したように当業者であれば可能である。
図15と図16を見ると最もよくわかるように、光学部412は、全体として光学軸422に対して対称であり、環状凹部418を備えている。図17〜図19を見ると最もよくわかるように、光学部414は、一対の半球状触知部424を備えていて、同触知部424は、ヒンジ領域426によって光学部414に接続されており、環状固定リブ428を備えている。図21からわかるように、固定リブ428は、光学部412の凹部418に嵌まるサイズ及び形状になっており、そのため光学部414が光学部412の内部にしっかりと保持される一方で、凹部418内で固定リブ428が回転できる状態になる。当業者であれば、この構造体が目の中に埋め込まれると、嚢袋が収縮することによって光学部414が圧縮されることがわかるであろう。光学部414が圧縮されるにつれ、ヒンジ領域426によって光学部414が光学部412から前方に向かって離れてヴォールト状になり、そのとき固定リブ428は凹部418内で枢軸回転をする。
図22〜図28を見ると最もよくわかるように、本発明のレンズシステム510はシステム410と同様のものであり、全体として光学部512と光学部514で構成されている。光学部512は、後眼房に埋め込めるように、全体の直径または長さを適切な任意の値、例えば約12mmにして構成することが好ましい。光学部512は、PCOの形成に元々抵抗性のある柔らかくて折り曲げ可能な材料、例えば柔らかいアクリル樹脂等でできていることが好ましい。光学部514は、柔らかくて折り曲げ可能な材料、例えばヒドロゲル、シリコーン、柔らかいアクリル樹脂等でできていることが好ましい。光学部512の屈折力は、適切な任意の値にすることができるが、負の屈折力を有することが好ましい。光学部514の屈折力も適切な任意の値にすることができるが、正の屈折力を有することが好ましい。光学部512と光学部514の相対的な屈折力は、光学部514が光学部512に対して軸方向に移動して近づいたり遠ざかったりする動きが十分にできて、レンズシステム510の全屈折力を少なくとも1ジオプトリー、好ましくは少なくとも3〜4ジオプトリー調節できるようになっているべきである。光学部512と光学部514のこのような屈折力の計算は、すでに説明したように当業者であれば可能である。
図22と図23を見ると最もよくわかるように、光学部512は、全体として光学軸522に対して対称であり、レンズシステム410のリブ428と同様の環状リブ528を備えている。図24〜図26を見ると最もよくわかるように、光学部514は、一対の半球状触知部524を備えていて、同触知部524は、ヒンジ領域526によって光学部514に接続されており、環状凹部518を備えている。図28からわかるように、固定リブ528は、光学部514の凹部518に嵌まるサイズ及び形状になっており、そのため光学部514が光学部512の内部にしっかりと保持される一方で、凹部518内で固定リブ528が回転できる状態になる。当業者であれば、この構造体が目の中に埋め込まれると、嚢袋が収縮することによって光学部514が圧縮されることがわかるであろう。光学部514が圧縮されるにつれ、ヒンジ領域526によって光学部514が光学部512から前方に向かって離れてヴォールト状になり、そのとき固定リブ528は凹部518内で枢軸回転をする。
以上の記述は、例示と説明を目的としている。当業者にとって、本発明の範囲または精神から逸脱することなく、本発明に対して変更や修正を施しうることは明らかであろう。
本発明によるレンズシステムに関する第1の実施態様の第1の光学部の拡大平面図である。 本発明によるレンズシステムに関する第1の実施態様の第1の光学部を図1の線2-2で切断した拡大断面図である。 本発明によるレンズシステムに関する第1の実施態様の第2の光学部の拡大平面図である。 本発明によるレンズシステムに関する第1の実施態様の第2の光学部を図3の線4-4で切断した拡大断面図である。 図4に円5で示した部分を拡大した部分断面図である。 本発明によるレンズシステムに関する第2の実施態様の第1の光学部の拡大平面図である。 本発明によるレンズシステムに関する第2の実施態様の第1の光学部を図6の線7-7で切断した拡大断面図である。 本発明によるレンズシステムに関する第2の実施態様の第2の光学部の拡大平面図である。 本発明によるレンズシステムに関する第2の実施態様の第2の光学部を図8の線9-9で切断した拡大断面図である。 図1〜図5に示した本発明のレンズシステムの第1の実施態様の断面図である。 図6〜図9に示した本発明のレンズシステムの第2の実施態様の断面図である。 図1〜図5に示した本発明のレンズシステムの第1の実施態様の断面図であり、レンズシステムが嚢袋の中に埋め込まれている様子が示してある。 図6〜図9に示した本発明のレンズシステムの第2の実施態様の断面図であり、レンズシステムが嚢袋の中に埋め込まれている様子が示してある。 本発明によるレンズシステムに関する第3の実施態様の第1の光学部の拡大平面図である。 本発明によるレンズシステムに関する第3の実施態様の第1の光学部を図14の線15-15で切断した拡大断面図である。 図15に円16で示した部分を拡大した部分断面図である。 本発明によるレンズシステムに関する第3の実施態様の第2の光学部の拡大平面図である。 本発明によるレンズシステムに関する第3の実施態様の第2の光学部を図17の線18-18で切断した拡大断面図である。 図18に円19で示した部分を拡大した部分断面図である。 図14〜図19に示した本発明のレンズシステムの第3の実施態様の拡大平面図である。 本発明によるレンズシステムに関する第3の実施態様を図20の線21-21で切断した断面図である。 本発明によるレンズシステムに関する第4の実施態様の第1の光学部の拡大平面図である。 本発明によるレンズシステムに関する第4の実施態様の第1の光学部を図22の線23-23で切断した拡大断面図である。 本発明によるレンズシステムに関する第4の実施態様の第2の光学部の拡大平面図である。 本発明によるレンズシステムに関する第4の実施態様の第2の光学部を図24の線25-25で切断した拡大断面図である。 図25に円26で示した部分を拡大した部分断面図である。 22〜図26に示した本発明のレンズシステムの第4の実施態様の拡大平面図である。 本発明によるレンズシステムに関する第4の実施態様を図27の線28-28で切断した断面図である。

Claims (11)

  1. 眼内レンズであって、
    a)凹部が設けられたクラスプを備える第1の光学部(optic)であって、上記凹部がラッチにより画定される第 1 の光学部と;
    b)少なくとも1つの触知部(haptic)を備えており、該触知部はヒドロゲル、シリコーン、もしくは、柔らかいアクリル樹脂からできていて、ヒンジ領域によってその触知部が接続されている第2の光学部と;
    c)上記触知部に設けられ、上記凹部に収まるサイズ及び形状にされていて上記ラッチによって上記凹部に保持され、そのことによって上記第2の光学部を上記第1の光学部に対して移動可能に取り付ける固定用ピンと、
    を具備する眼内レンズ。
  2. 上記固定用ピンと上記凹部が、その固定用ピンがその凹部に嵌まったときに前嚢の開口部のリムを保持するサイズ及び形状とされている、請求項1に記載のレンズ。
  3. 第1の光学部と第2の光学部が柔らかいアクリル樹脂を含む、請求項1または 2に記載のレンズ。
  4. 第2の光学部がヒドロゲルを含む、請求項1または 2に記載のレンズ。
  5. 第2の光学部がシリコーンを含む、請求項1または 2に記載のレンズ。
  6. 2 の光学部が周囲部を備えており、上記固定用ピンがその周囲部のまわりにおいてヒンジ領域から約 90 °の位置に存在している、請求項 1 または 2に記載のレンズ。
  7. 眼内レンズであって、
    a )凹部が設けられたクラスプを備える第 1 の光学部 (optic) であって、上記凹部がラッチにより画定される第 1 の光学部と;
    b )少なくとも 1 つの触知部 (haptic) を備えており、該触知部はヒドロゲル、シリコーン、もしくは、柔らかいアクリル樹脂からできていて、ヒンジ方式によってその触知部が接続されている第 2 の光学部と;
    c )上記触知部に設けられ、上記凹部に収まるサイズ及び形状にされていて上記ラッチによって上記凹部に保持され、そのことによって上記第 2 の光学部を上記第 1 の光学部に対して移動可能に取り付ける固定用ピンと、
    を具備する眼内レンズ。
  8. 上記固定用ピンと上記凹部が、その固定用ピンがその凹部に嵌まったときに前嚢の開口部のリムを保持するサイズ及び形状とされている、請求項 7 に記載のレンズ。
  9. 1 の光学部と第 2 の光学部が柔らかいアクリル樹脂を含む、請求項 7 または 8 に記載のレンズ。
  10. 2 の光学部がヒドロゲルを含む、請求項 7 または 8 に記載のレンズ。
  11. 2 の光学部がシリコーンを含む、請求項 7 または 8 に記載のレンズ。
JP2004500739A 2002-04-29 2003-03-07 調節可能な眼内レンズ Expired - Fee Related JP4242829B2 (ja)

Applications Claiming Priority (2)

Application Number Priority Date Filing Date Title
US10/134,877 US6695881B2 (en) 2002-04-29 2002-04-29 Accommodative intraocular lens
PCT/US2003/007249 WO2003092552A1 (en) 2002-04-29 2003-03-07 Accommodative intraocular lens

Publications (2)

Publication Number Publication Date
JP2006511245A JP2006511245A (ja) 2006-04-06
JP4242829B2 true JP4242829B2 (ja) 2009-03-25

Family

ID=29249324

Family Applications (1)

Application Number Title Priority Date Filing Date
JP2004500739A Expired - Fee Related JP4242829B2 (ja) 2002-04-29 2003-03-07 調節可能な眼内レンズ

Country Status (13)

Country Link
US (3) US6695881B2 (ja)
EP (1) EP1499264B1 (ja)
JP (1) JP4242829B2 (ja)
AT (1) ATE336966T1 (ja)
AU (1) AU2003220130B2 (ja)
BR (1) BR0309586A (ja)
CA (1) CA2480772C (ja)
DE (1) DE60307816T2 (ja)
DK (1) DK1499264T3 (ja)
ES (1) ES2269998T3 (ja)
MX (1) MXPA04010096A (ja)
PT (1) PT1499264E (ja)
WO (1) WO2003092552A1 (ja)

Cited By (1)

* Cited by examiner, † Cited by third party
Publication number Priority date Publication date Assignee Title
JP2012509751A (ja) * 2008-11-26 2012-04-26 アニユー・オプテイクス・インコーポレイテツド 眼内レンズ用ハプティックデバイス

Families Citing this family (181)

* Cited by examiner, † Cited by third party
Publication number Priority date Publication date Assignee Title
US20060149369A1 (en) * 1997-05-20 2006-07-06 C&C Vision International Limited Accommodating arching lens
US20030060881A1 (en) 1999-04-30 2003-03-27 Advanced Medical Optics, Inc. Intraocular lens combinations
US20060238702A1 (en) 1999-04-30 2006-10-26 Advanced Medical Optics, Inc. Ophthalmic lens combinations
US8062361B2 (en) 2001-01-25 2011-11-22 Visiogen, Inc. Accommodating intraocular lens system with aberration-enhanced performance
US6884261B2 (en) 2001-01-25 2005-04-26 Visiogen, Inc. Method of preparing an intraocular lens for implantation
US7780729B2 (en) * 2004-04-16 2010-08-24 Visiogen, Inc. Intraocular lens
US20030078658A1 (en) * 2001-01-25 2003-04-24 Gholam-Reza Zadno-Azizi Single-piece accomodating intraocular lens system
US7226478B2 (en) 2001-01-25 2007-06-05 Visiogen, Inc. Optic configuration for intraocular lens system
US20030078657A1 (en) 2001-01-25 2003-04-24 Gholam-Reza Zadno-Azizi Materials for use in accommodating intraocular lens system
US20120016349A1 (en) 2001-01-29 2012-01-19 Amo Development, Llc. Hybrid ophthalmic interface apparatus and method of interfacing a surgical laser with an eye
US20030060878A1 (en) * 2001-08-31 2003-03-27 Shadduck John H. Intraocular lens system and method for power adjustment
US7763069B2 (en) 2002-01-14 2010-07-27 Abbott Medical Optics Inc. Accommodating intraocular lens with outer support structure
US7150759B2 (en) * 2002-01-14 2006-12-19 Advanced Medical Optics, Inc. Multi-mechanistic accommodating intraocular lenses
US20070100445A1 (en) * 2003-02-03 2007-05-03 Shadduck John H Intraocular lenses and business methods
US8048155B2 (en) 2002-02-02 2011-11-01 Powervision, Inc. Intraocular implant devices
US7261737B2 (en) * 2002-12-12 2007-08-28 Powervision, Inc. Accommodating intraocular lens system and method
US20050021139A1 (en) * 2003-02-03 2005-01-27 Shadduck John H. Ophthalmic devices, methods of use and methods of fabrication
US6695881B2 (en) * 2002-04-29 2004-02-24 Alcon, Inc. Accommodative intraocular lens
US6966649B2 (en) * 2002-08-12 2005-11-22 John H Shadduck Adaptive optic lens system and method of use
US6972033B2 (en) * 2002-08-26 2005-12-06 Advanced Medical Optics, Inc. Accommodating intraocular lens assembly with multi-functional capsular bag ring
US20040082993A1 (en) 2002-10-25 2004-04-29 Randall Woods Capsular intraocular lens implant having a refractive liquid therein
US20040082995A1 (en) * 2002-10-25 2004-04-29 Randall Woods Telescopic intraocular lens implant for treating age-related macular degeneration
US7125422B2 (en) * 2002-10-25 2006-10-24 Quest Vision Technology, Inc. Accommodating intraocular lens implant
US7662180B2 (en) * 2002-12-05 2010-02-16 Abbott Medical Optics Inc. Accommodating intraocular lens and method of manufacture thereof
CA2508143A1 (en) * 2002-12-12 2004-06-24 Powervision, Inc. Lens system for power adjustment using micropumps
US8361145B2 (en) 2002-12-12 2013-01-29 Powervision, Inc. Accommodating intraocular lens system having circumferential haptic support and method
US7247168B2 (en) * 2002-12-12 2007-07-24 Powervision, Inc. Accommodating intraocular lens system and method
US7217288B2 (en) * 2002-12-12 2007-05-15 Powervision, Inc. Accommodating intraocular lens having peripherally actuated deflectable surface and method
EP2559405A3 (en) 2002-12-12 2013-06-26 PowerVision, Inc. Accommodating intraocular lens system
US7637947B2 (en) * 2002-12-12 2009-12-29 Powervision, Inc. Accommodating intraocular lens system having spherical aberration compensation and method
US8328869B2 (en) 2002-12-12 2012-12-11 Powervision, Inc. Accommodating intraocular lenses and methods of use
US10835373B2 (en) 2002-12-12 2020-11-17 Alcon Inc. Accommodating intraocular lenses and methods of use
US6616691B1 (en) * 2003-01-10 2003-09-09 Alcon, Inc. Accommodative intraocular lens
US7238201B2 (en) * 2003-02-13 2007-07-03 Visiogen, Inc. Accommodating intraocular lens system with enhanced range of motion
JP2006523130A (ja) 2003-03-06 2006-10-12 ジョン エイチ. シャダック, 適合性光学レンズおよび製造方法
US7029497B2 (en) * 2003-05-21 2006-04-18 Alcon, Inc. Accommodative intraocular lens
US20050125058A1 (en) * 2003-12-03 2005-06-09 Eyeonics, Inc. Accommodating hybrid intraocular lens
EP1689333B1 (en) * 2003-12-05 2014-02-12 Innfocus, Inc. Improved glaucoma implant device
JP5009623B2 (ja) * 2003-12-05 2012-08-22 イノレーン リミティド ライアビリティ カンパニー 改良された眼内レンズ
US20050131535A1 (en) * 2003-12-15 2005-06-16 Randall Woods Intraocular lens implant having posterior bendable optic
US7655340B2 (en) * 2004-01-16 2010-02-02 Gm Global Technology Operations, Inc. Ultra short high pressure gradient flow path flow field
US7300464B2 (en) * 2004-09-30 2007-11-27 Alcon, Inc. Intraocular lens
US9872763B2 (en) 2004-10-22 2018-01-23 Powervision, Inc. Accommodating intraocular lenses
US8377123B2 (en) * 2004-11-10 2013-02-19 Visiogen, Inc. Method of implanting an intraocular lens
US8579970B1 (en) 2005-06-27 2013-11-12 Visiogen, Inc. Magnifying intraocular lens
US7591849B2 (en) 2005-07-01 2009-09-22 Bausch & Lomb Incorpoted Multi-component accommodative intraocular lens with compressible haptic
US20070016293A1 (en) * 2005-07-18 2007-01-18 Alcon, Inc. Accommodative intraocular lens system
US20070032868A1 (en) * 2005-08-08 2007-02-08 Randall Woods Capsular shape-restoring device
US7316713B2 (en) * 2005-08-29 2008-01-08 Alcon, Inc. Accommodative intraocular lens system
US9629712B2 (en) * 2005-09-01 2017-04-25 Donald C. Stenger Accommodating intraocular lens
US9636213B2 (en) 2005-09-30 2017-05-02 Abbott Medical Optics Inc. Deformable intraocular lenses and lens systems
US20070088433A1 (en) * 2005-10-17 2007-04-19 Powervision Accommodating intraocular lens system utilizing direct force transfer from zonules and method of use
US8241355B2 (en) 2005-10-28 2012-08-14 Abbott Medical Optics Inc. Haptic for accommodating intraocular lens
US7985253B2 (en) * 2005-12-07 2011-07-26 C&C Vision International Limited Hydrolic accommodating intraocular lens
US20070182917A1 (en) * 2006-02-09 2007-08-09 Alcon Manufacturing, Ltd. Intra-ocular device with multiple focusing powers/optics
US20070260308A1 (en) 2006-05-02 2007-11-08 Alcon, Inc. Accommodative intraocular lens system
US7918886B2 (en) * 2006-05-25 2011-04-05 Visioncare Ophthalmic Technologies Inc. Double insertion intraocular implant
US20070282438A1 (en) * 2006-05-31 2007-12-06 Xin Hong Intraocular lenses with enhanced off-axis visual performance
US8163015B2 (en) * 2006-07-25 2012-04-24 C&C Vision International Limited “W” accommodating intraocular lens
US20080051886A1 (en) * 2006-08-24 2008-02-28 Lin J T Method and device for vision correction via dual-optics accommodating intraocular lens
US20080097598A1 (en) * 2006-10-20 2008-04-24 Emin Engin Method of preparing a multielement intraocular lens for insertion
AU2007338100B2 (en) 2006-12-22 2014-01-30 Amo Groningen Bv Accommodating intraocular lens, lens system and frame therefor
US20080161914A1 (en) 2006-12-29 2008-07-03 Advanced Medical Optics, Inc. Pre-stressed haptic for accommodating intraocular lens
US7713299B2 (en) 2006-12-29 2010-05-11 Abbott Medical Optics Inc. Haptic for accommodating intraocular lens
EP2097045B1 (en) 2006-12-29 2013-11-20 Abbott Medical Optics Inc. Multifocal accommodating intraocular lens
US20080161912A1 (en) * 2007-01-02 2008-07-03 Alcon, Inc. Intraocular Lens
US8066769B2 (en) * 2007-01-29 2011-11-29 Werblin Research & Development Corp. Intraocular lens system
US8066768B2 (en) * 2007-01-29 2011-11-29 Werblin Research & Development Corp. Intraocular lens system
US9398949B2 (en) * 2007-01-29 2016-07-26 Emmetropia, Inc. Intraocular lens system
US7811320B2 (en) * 2007-01-29 2010-10-12 Werblin Research & Development Corp. Intraocular lens system
US20080306587A1 (en) * 2007-02-21 2008-12-11 Jingjong Your Lens Material and Methods of Curing with UV Light
AU2008218313B2 (en) * 2007-02-21 2014-01-09 Alcon Inc. Polymeric materials suitable for ophthalmic devices and methods of manufacture
KR100807940B1 (ko) * 2007-03-08 2008-02-28 박경진 안구내렌즈
KR100807939B1 (ko) * 2007-03-08 2008-02-28 박경진 안구내렌즈 조립체
US20080281415A1 (en) * 2007-03-13 2008-11-13 C&C Vision International Limited Second elastic hinge accommodating intraocular lens
US20090005866A1 (en) * 2007-03-13 2009-01-01 C&C Vision International Limited First elastic hinge accommodating intraocular lens
US8956408B2 (en) * 2007-07-23 2015-02-17 Powervision, Inc. Lens delivery system
US9610155B2 (en) 2008-07-23 2017-04-04 Powervision, Inc. Intraocular lens loading systems and methods of use
WO2009015226A2 (en) 2007-07-23 2009-01-29 Powervision, Inc. Accommodating intraocular lenses and methods of use
US8314927B2 (en) 2007-07-23 2012-11-20 Powervision, Inc. Systems and methods for testing intraocular lenses
AU2008279167B2 (en) * 2007-07-23 2014-10-09 Alcon Inc. Post-implant lens power modification
US8968396B2 (en) 2007-07-23 2015-03-03 Powervision, Inc. Intraocular lens delivery systems and methods of use
US8414646B2 (en) * 2007-12-27 2013-04-09 Forsight Labs, Llc Intraocular, accommodating lens and methods of use
EP2237744B1 (en) 2008-01-03 2018-04-04 Forsight Labs, Llc Intraocular accommodating lens.
US8034108B2 (en) 2008-03-28 2011-10-11 Abbott Medical Optics Inc. Intraocular lens having a haptic that includes a cap
US20100131060A1 (en) * 2008-11-20 2010-05-27 Simpson Michael J Diffractive multifocal intraocular lens with modified central distance zone
US8216307B2 (en) * 2008-12-19 2012-07-10 Novartis Ag Radially segmented apodized diffractive multifocal design for ocular implant
JP5706338B2 (ja) * 2009-01-09 2015-04-22 パワーヴィジョン・インコーポレーテッド 水晶体嚢のサイズの可変性及び埋め込み後の眼内の変化を考慮する眼内レンズ
US10299913B2 (en) 2009-01-09 2019-05-28 Powervision, Inc. Accommodating intraocular lenses and methods of use
US8858626B2 (en) * 2009-02-10 2014-10-14 Novartis Ag Accommodative intraocular lens system
WO2010093540A1 (en) * 2009-02-11 2010-08-19 Alcon, Inc. Single optic accommodative intraocular lens system
AU2010266022B2 (en) 2009-06-26 2015-04-23 Johnson & Johnson Surgical Vision, Inc. Accommodating intraocular lenses
US8343217B2 (en) 2009-08-03 2013-01-01 Abbott Medical Optics Inc. Intraocular lens and methods for providing accommodative vision
WO2011026068A2 (en) 2009-08-31 2011-03-03 Powervision, Inc. Lens capsule size estimation
US20110071628A1 (en) * 2009-09-24 2011-03-24 Rainbow Medical Ltd. Accommodative intraocular lens
EP2493421B1 (en) * 2009-10-26 2016-01-06 Novartis AG Phase-shifted center-distance diffractive design for ocular implant
US10080649B2 (en) * 2009-12-18 2018-09-25 Novartis Ag Intraocular devices and associated methods
EP2539351B1 (en) 2010-02-23 2017-07-12 PowerVision, Inc. Fluid for accommodating intraocular lenses
CN102883682A (zh) 2010-04-27 2013-01-16 雷恩斯根公司 调节眼内晶状体的装置
US10278810B2 (en) 2010-04-29 2019-05-07 Ojo, Llc Injectable physiologically adaptive intraocular lenses (IOL's)
US9220590B2 (en) 2010-06-10 2015-12-29 Z Lens, Llc Accommodative intraocular lens and method of improving accommodation
US8734512B2 (en) 2011-05-17 2014-05-27 James Stuart Cumming Biased accommodating intraocular lens
US9918830B2 (en) 2010-06-21 2018-03-20 James Stuart Cumming Foldable intraocular lens with rigid haptics
US9295545B2 (en) 2012-06-05 2016-03-29 James Stuart Cumming Intraocular lens
US9351825B2 (en) 2013-12-30 2016-05-31 James Stuart Cumming Semi-flexible posteriorly vaulted acrylic intraocular lens for the treatment of presbyopia
US9295544B2 (en) 2012-06-05 2016-03-29 James Stuart Cumming Intraocular lens
US10736732B2 (en) 2010-06-21 2020-08-11 James Stuart Cumming Intraocular lens with longitudinally rigid plate haptic
US8523942B2 (en) 2011-05-17 2013-09-03 James Stuart Cumming Variable focus intraocular lens
US9585745B2 (en) 2010-06-21 2017-03-07 James Stuart Cumming Foldable intraocular lens with rigid haptics
WO2012006616A2 (en) 2010-07-09 2012-01-12 Powervision, Inc. Intraocular lens delivery devices and methods of use
US9295546B2 (en) 2013-09-24 2016-03-29 James Stuart Cumming Anterior capsule deflector ridge
USD689611S1 (en) * 2011-09-06 2013-09-10 Santen Pharmaceutical Co., Ltd. Intraocular lens
US10433949B2 (en) 2011-11-08 2019-10-08 Powervision, Inc. Accommodating intraocular lenses
US9364316B1 (en) 2012-01-24 2016-06-14 Clarvista Medical, Inc. Modular intraocular lens designs, tools and methods
US10080648B2 (en) 2012-01-24 2018-09-25 Clarvista Medical, Inc. Modular intraocular lens designs, tools and methods
US9095424B2 (en) 2012-01-24 2015-08-04 Clarvista Medical, Inc. Modular intraocular lens designs and methods
US10028824B2 (en) 2012-01-24 2018-07-24 Clarvista Medical, Inc. Modular intraocular lens designs, tools and methods
US8900300B1 (en) 2012-02-22 2014-12-02 Omega Ophthalmics Llc Prosthetic capsular bag and method of inserting the same
US9757227B2 (en) * 2012-04-20 2017-09-12 Hanita Lenses Intraocular assembly
US9084674B2 (en) 2012-05-02 2015-07-21 Abbott Medical Optics Inc. Intraocular lens with shape changing capability to provide enhanced accomodation and visual acuity
US20130304206A1 (en) * 2012-05-10 2013-11-14 Ioannis Pallikaris Intraocular Device to Restore Natural Capsular Tension after Cataract Surgery
US9364318B2 (en) 2012-05-10 2016-06-14 Z Lens, Llc Accommodative-disaccommodative intraocular lens
US9925039B2 (en) 2012-12-26 2018-03-27 Rainbow Medical Ltd. Accommodative intraocular lens
US10258462B2 (en) * 2012-12-26 2019-04-16 Rainbow Medical Ltd. Accommodative intraocular lens
US9486311B2 (en) 2013-02-14 2016-11-08 Shifamed Holdings, Llc Hydrophilic AIOL with bonding
US20140330375A1 (en) * 2013-03-11 2014-11-06 Sean J. McCafferty Accommodating intraocular lens system with mutually-deforming opposing surfaces
EP3785668A1 (en) 2013-03-15 2021-03-03 Alcon Inc. Intraocular lens storage and loading devices and methods of use
US10195018B2 (en) 2013-03-21 2019-02-05 Shifamed Holdings, Llc Accommodating intraocular lens
CA3193600A1 (en) 2013-03-21 2014-09-25 Shifamed Holdings, Llc Accommodating intraocular lens
EP2851038A1 (en) 2013-09-24 2015-03-25 Consejo Superior De Investigaciones Cientificas Intraocular lens with accomodation capacity
EP3977962A1 (en) * 2013-11-01 2022-04-06 Lensgen, Inc. Two-part accomodating intraocular lens device
EP3062741B1 (en) 2013-11-01 2023-04-26 Lensgen, Inc. Accomodating intraocular lens device
US9615916B2 (en) 2013-12-30 2017-04-11 James Stuart Cumming Intraocular lens
EP3107510B1 (en) 2014-02-18 2023-04-19 Alcon Inc. Apparatus for the removal of an intraocular lens
WO2015195825A1 (en) 2014-06-19 2015-12-23 Omega Ophthalmics Llc Prostheticcapsular devices, systems, and methods
US10004596B2 (en) 2014-07-31 2018-06-26 Lensgen, Inc. Accommodating intraocular lens device
EP4574093A3 (en) 2014-08-26 2025-09-17 Shifamed Holdings, LLC Accommodating intraocular lens
US10299910B2 (en) 2014-09-22 2019-05-28 Kevin J. Cady Intraocular pseudophakic contact lens with mechanism for securing by anterior leaflet of capsular wall and related system and method
US11938018B2 (en) 2014-09-22 2024-03-26 Onpoint Vision, Inc. Intraocular pseudophakic contact lens (IOPCL) for treating age-related macular degeneration (AMD) or other eye disorders
US10945832B2 (en) 2014-09-22 2021-03-16 Onpoint Vision, Inc. Intraocular pseudophakic contact lens with mechanism for securing by anterior leaflet of capsular wall and related system and method
US11109957B2 (en) 2014-09-22 2021-09-07 Onpoint Vision, Inc. Intraocular pseudophakic contact lens with mechanism for securing by anterior leaflet of capsular wall and related system and method
US10159562B2 (en) 2014-09-22 2018-12-25 Kevin J. Cady Intraocular pseudophakic contact lenses and related systems and methods
US12447007B2 (en) 2014-09-22 2025-10-21 Onpoint Vision, Inc. Intraocular pseudophakic contact lens with mechanism for securing by anterior leaflet of capsular wall and related system and method
JP6754755B2 (ja) 2014-09-23 2020-09-16 レンスゲン、インコーポレイテッド 調節性眼内レンズ用の高分子材料
AU2015380300B2 (en) 2015-01-30 2020-01-02 Alcon Inc. Modular intraocular lens designs
US9358103B1 (en) 2015-02-10 2016-06-07 Omega Ophthalmics Llc Prosthetic capsular devices, systems, and methods
EP3067015B1 (en) 2015-03-10 2018-06-06 Consejo Superior De Investigaciones Científicas Photochemically induced engagement of intraocular implants
CN113730030B (zh) 2015-11-04 2024-08-16 克拉维斯塔医疗有限公司 模块化人工晶状体设计、工具和方法
CN108348328B (zh) 2015-11-06 2020-04-10 力景公司 可调节人工晶状体和制造方法
US11141263B2 (en) * 2015-11-18 2021-10-12 Shifamed Holdings, Llc Multi-piece accommodating intraocular lens
WO2017087358A1 (en) 2015-11-18 2017-05-26 Shifamed Holdings, Llc Multi-piece accommodating intraocular lens
CN108778185B (zh) 2015-12-01 2021-04-27 雷恩斯根公司 调节性人工晶状体装置
US11045309B2 (en) 2016-05-05 2021-06-29 The Regents Of The University Of Colorado Intraocular lens designs for improved stability
IL245775A0 (en) * 2016-05-22 2016-08-31 Joshua Ben Nun Hybrid accommodative intraocular lens
EP3463188B1 (en) 2016-05-27 2023-04-26 LensGen, Inc. Lens oil having a narrow molecular weight distribution for intraocular lens devices
US10327886B2 (en) * 2016-06-01 2019-06-25 Rainbow Medical Ltd. Accomodative intraocular lens
EP4147674A1 (en) 2016-06-06 2023-03-15 Omega Ophthalmics LLC Prosthetic capsular device
JP7074960B2 (ja) 2016-08-24 2022-05-25 カール ツァイス メディテック アーゲー デュアルモード調節型-非調節型眼内レンズ
WO2018075932A1 (en) 2016-10-21 2018-04-26 Omega Ophthalmics Llc Prosthetic capsular devices, systems, and methods
US10350056B2 (en) 2016-12-23 2019-07-16 Shifamed Holdings, Llc Multi-piece accommodating intraocular lenses and methods for making and using same
CN110446474B (zh) 2016-12-23 2021-04-23 施菲姆德控股有限责任公司 多片式调节性人工晶状体及其制造和使用方法
US10441411B2 (en) 2016-12-29 2019-10-15 Rainbow Medical Ltd. Accommodative intraocular lens
US10966819B2 (en) * 2017-05-29 2021-04-06 Rxsight, Inc. Composite light adjustable intraocular lens
AU2018277037B2 (en) 2017-05-30 2024-04-18 Shifamed Holdings, Llc Surface treatments for accommodating intraocular lenses and associated methods and devices
EP4205702B1 (en) 2017-06-07 2025-09-10 Shifamed Holdings, LLC Adjustable optical power intraocular lenses
US11382736B2 (en) 2017-06-27 2022-07-12 Alcon Inc. Injector, intraocular lens system, and related methods
CA3075214A1 (en) 2017-09-11 2019-03-14 Amo Groningen B.V. Methods and apparatuses to increase intraocular lenses positional stability
CA3095098A1 (en) 2018-04-06 2019-10-10 Omega Ophthalmics Llc Prosthetic capsular devices, systems, and methods
GB2578639A (en) 2018-11-02 2020-05-20 Rayner Intraocular Lenses Ltd Hybrid accommodating intraocular lens assemblages including discrete lens unit with segmented lens haptics
DE202019104086U1 (de) 2019-07-24 2019-08-19 Valentin Videa Akkommodative Intraokularlinse
BR112022005526A2 (pt) 2019-10-04 2022-06-21 Alcon Inc Lentes intraoculares ajustáveis e métodos de ajuste pós-operatório de lentes intraoculares
JP7762158B2 (ja) 2020-03-27 2025-10-29 アルコン インコーポレイティド モジュール式iolの設計
US11786362B2 (en) 2020-04-16 2023-10-17 Alcon Inc. Stable IOL base design to support second optic
DE102020123518B3 (de) 2020-09-09 2021-09-16 Carl Zeiss Meditec Ag Akkommodative Intraokularlinse
CA3198430A1 (en) 2020-10-12 2022-04-21 Omega Ophthalmics Llc Prosthetic capsular devices, systems, and methods
BR112023018612A2 (pt) 2021-04-06 2023-10-24 Alcon Inc Aparelho, sistemas e métodos para avaliar objetivamente a acomodação em um olho
US11357620B1 (en) 2021-09-10 2022-06-14 California LASIK & Eye, Inc. Exchangeable optics and therapeutics
DE102021125295B3 (de) * 2021-09-29 2022-11-03 Carl Zeiss Meditec Ag Akkommodative intraokularlinse zum erzeugen einer rückstellkraft
WO2024217706A1 (en) 2023-04-21 2024-10-24 Rayner Intraocular Lenses Limited Accommodative intraocular lens system and set for assembling the accommodative intraocular lens system
WO2024217705A1 (en) 2023-04-21 2024-10-24 Rayner Intraocular Lenses Limited Accommodative intraocular lens system
WO2025006182A1 (en) 2023-06-30 2025-01-02 Alcon Inc. System and methods for compensating for intraocular lens tilt

Family Cites Families (44)

* Cited by examiner, † Cited by third party
Publication number Priority date Publication date Assignee Title
US4718904A (en) 1986-01-15 1988-01-12 Eye Technology, Inc. Intraocular lens for capsular bag implantation
JP2718961B2 (ja) 1988-11-04 1998-02-25 株式会社メニコン 眼内レンズ
US4946469A (en) 1989-04-20 1990-08-07 Faezeh Sarfarazi Intraocular lens
US6197059B1 (en) 1990-04-27 2001-03-06 Medevec Licensing, B.V. Accomodating intraocular lens
US5476514A (en) 1990-04-27 1995-12-19 Cumming; J. Stuart Accommodating intraocular lens
US5326347A (en) * 1991-08-12 1994-07-05 Cumming J Stuart Intraocular implants
US5578081A (en) 1991-11-12 1996-11-26 Henry H. McDonald Eye muscle responsive artificial lens unit
US5203789A (en) 1991-11-12 1993-04-20 Henry H. McDonald Foldable plastic optical lens with reduced thickness light blocking segments
US5203790A (en) 1991-11-12 1993-04-20 Henry H. McDonald Foldable plastic optical lens with reduced thickness light blocking segments, and anchoring means
US5275623A (en) 1991-11-18 1994-01-04 Faezeh Sarfarazi Elliptical accommodative intraocular lens for small incision surgery
US6423094B1 (en) 1991-11-18 2002-07-23 Faezeh M. Sarfarazi Accommodative lens formed from sheet material
US6322589B1 (en) 1995-10-06 2001-11-27 J. Stuart Cumming Intraocular lenses with fixated haptics
DE4403326C1 (de) * 1994-02-03 1995-06-22 Hans Reinhard Prof Dr Koch Intraokulare Linsenanordnung zur Astigmatismuskorrektur
CA2212459C (en) 1995-02-15 2006-05-16 J. Stuart Cumming Accommodating intraocular lens having t-shaped haptics
US5728155A (en) * 1996-01-22 1998-03-17 Quantum Solutions, Inc. Adjustable intraocular lens
EP0877586A1 (en) * 1996-01-26 1998-11-18 Vision Pharmaceuticals L.P. Primary and supplemental intraocular lens system
US5769889A (en) * 1996-09-05 1998-06-23 Kelman; Charles D. High myopia anterior chamber lens with anti-glare mask
US5843188A (en) 1997-10-20 1998-12-01 Henry H. McDonald Accommodative lens implantation
SE9800853D0 (sv) 1998-03-16 1998-03-16 Pharmacia & Upjohn Bv Intraocular lens
JP2002530913A (ja) * 1998-11-16 2002-09-17 コーニンクレッカ フィリップス エレクトロニクス エヌ ヴィ 安定手段を備えた増幅器
US6197058B1 (en) * 1999-03-22 2001-03-06 Valdemar Portney Corrective intraocular lens system and intraocular lenses and lens handling device therefor
US6488708B2 (en) * 1999-04-09 2002-12-03 Faezeh Sarfarazi Open chamber, elliptical, accommodative intraocular lens system
US6406494B1 (en) * 1999-04-30 2002-06-18 Allergan Sales, Inc. Moveable intraocular lens
US6616692B1 (en) * 1999-04-30 2003-09-09 Advanced Medical Optics, Inc. Intraocular lens combinations
US6241777B1 (en) 1999-09-01 2001-06-05 Robert E. Kellan Phakic intraocular lenses
US6261321B1 (en) 1999-09-01 2001-07-17 Robert E. Kellan Phakic or aphakic intraocular lens assembly
US6217612B1 (en) 1999-09-10 2001-04-17 Randall Woods Intraocular lens implant having eye accommodating capabilities
US6299641B1 (en) 1999-09-10 2001-10-09 Randall Woods Intraocular lens implant having eye accommodating capabilities
US6645246B1 (en) 1999-09-17 2003-11-11 Advanced Medical Optics, Inc. Intraocular lens with surrounded lens zone
US6599317B1 (en) 1999-09-17 2003-07-29 Advanced Medical Optics, Inc. Intraocular lens with a translational zone
DE60004685T2 (de) 1999-09-17 2004-07-29 Abbott Gmbh & Co. Kg Pyrazolopyrimidine als arzneimittel
FR2799952B1 (fr) 1999-10-21 2001-12-14 Humanoptics Ag Implant intraoculaire
US6767363B1 (en) 1999-11-05 2004-07-27 Bausch & Lomb Surgical, Inc. Accommodating positive and negative intraocular lens system
US6342073B1 (en) 1999-12-30 2002-01-29 J. Stuart Cumming Intraocular lens for posterior vaulting
FR2804860B1 (fr) * 2000-02-16 2002-04-12 Humanoptics Ag Implant cristallinien accomodatif
US6551354B1 (en) 2000-03-09 2003-04-22 Advanced Medical Optics, Inc. Accommodating intraocular lens
US6660035B1 (en) 2000-08-02 2003-12-09 Advanced Medical Optics, Inc. Accommodating intraocular lens with suspension structure
US6558420B2 (en) * 2000-12-12 2003-05-06 Bausch & Lomb Incorporated Durable flexible attachment components for accommodating intraocular lens
US6464725B2 (en) 2001-01-23 2002-10-15 Bernt Christian Skotton Two-lens adjustable intraocular lens system
US7226478B2 (en) 2001-01-25 2007-06-05 Visiogen, Inc. Optic configuration for intraocular lens system
US20020120329A1 (en) * 2001-02-28 2002-08-29 Allergan Sales, Inc. Moveable intraocular lenses and combinations of intraocular lenses
WO2003000154A2 (en) * 2001-06-22 2003-01-03 David Miller An improved accommodating intraocular lens
US6695881B2 (en) * 2002-04-29 2004-02-24 Alcon, Inc. Accommodative intraocular lens
US6616691B1 (en) * 2003-01-10 2003-09-09 Alcon, Inc. Accommodative intraocular lens

Cited By (1)

* Cited by examiner, † Cited by third party
Publication number Priority date Publication date Assignee Title
JP2012509751A (ja) * 2008-11-26 2012-04-26 アニユー・オプテイクス・インコーポレイテツド 眼内レンズ用ハプティックデバイス

Also Published As

Publication number Publication date
US6926736B2 (en) 2005-08-09
EP1499264B1 (en) 2006-08-23
DE60307816T2 (de) 2007-02-22
US20030204255A1 (en) 2003-10-30
US20030204256A1 (en) 2003-10-30
PT1499264E (pt) 2007-01-31
DK1499264T3 (da) 2006-12-27
CA2480772A1 (en) 2003-11-13
MXPA04010096A (es) 2004-12-13
US6969403B2 (en) 2005-11-29
WO2003092552A1 (en) 2003-11-13
DE60307816D1 (de) 2006-10-05
AU2003220130B2 (en) 2007-07-19
ATE336966T1 (de) 2006-09-15
EP1499264A1 (en) 2005-01-26
EP1499264A4 (en) 2005-08-31
JP2006511245A (ja) 2006-04-06
AU2003220130A1 (en) 2003-11-17
US20030204254A1 (en) 2003-10-30
ES2269998T3 (es) 2007-04-01
US6695881B2 (en) 2004-02-24
CA2480772C (en) 2008-11-25
BR0309586A (pt) 2005-03-01

Similar Documents

Publication Publication Date Title
JP4242829B2 (ja) 調節可能な眼内レンズ
US6616691B1 (en) Accommodative intraocular lens
US7223288B2 (en) Accommodative intraocular lens
JP4490454B2 (ja) 順応的な眼球内レンズ装置
US7029497B2 (en) Accommodative intraocular lens
AU2004262515B2 (en) Intraocular lens system
US7150760B2 (en) Accommodative intraocular lens system
AU2008321009B2 (en) Accommodative intraocular lens system
US20090204209A1 (en) Accommodative Intraocular Lens System
US20100204788A1 (en) Single optic accommodative intraocular lens system
US20040249455A1 (en) Accommodative intraocular lens system
JP2008515022A (ja) 眼球内レンズ装置
JP2011520573A (ja) 薄型眼球内レンズ

Legal Events

Date Code Title Description
A131 Notification of reasons for refusal

Free format text: JAPANESE INTERMEDIATE CODE: A131

Effective date: 20080610

A601 Written request for extension of time

Free format text: JAPANESE INTERMEDIATE CODE: A601

Effective date: 20080909

A602 Written permission of extension of time

Free format text: JAPANESE INTERMEDIATE CODE: A602

Effective date: 20080917

A521 Request for written amendment filed

Free format text: JAPANESE INTERMEDIATE CODE: A523

Effective date: 20081023

TRDD Decision of grant or rejection written
A01 Written decision to grant a patent or to grant a registration (utility model)

Free format text: JAPANESE INTERMEDIATE CODE: A01

Effective date: 20081125

A01 Written decision to grant a patent or to grant a registration (utility model)

Free format text: JAPANESE INTERMEDIATE CODE: A01

A61 First payment of annual fees (during grant procedure)

Free format text: JAPANESE INTERMEDIATE CODE: A61

Effective date: 20081225

FPAY Renewal fee payment (event date is renewal date of database)

Free format text: PAYMENT UNTIL: 20120109

Year of fee payment: 3

R150 Certificate of patent or registration of utility model

Free format text: JAPANESE INTERMEDIATE CODE: R150

LAPS Cancellation because of no payment of annual fees