JP4222686B2 - トンネルの掘削施工工法および梁柱 - Google Patents
トンネルの掘削施工工法および梁柱 Download PDFInfo
- Publication number
- JP4222686B2 JP4222686B2 JP16509599A JP16509599A JP4222686B2 JP 4222686 B2 JP4222686 B2 JP 4222686B2 JP 16509599 A JP16509599 A JP 16509599A JP 16509599 A JP16509599 A JP 16509599A JP 4222686 B2 JP4222686 B2 JP 4222686B2
- Authority
- JP
- Japan
- Prior art keywords
- beam column
- connection
- main body
- column
- fitting portion
- Prior art date
- Legal status (The legal status is an assumption and is not a legal conclusion. Google has not performed a legal analysis and makes no representation as to the accuracy of the status listed.)
- Expired - Lifetime
Links
- 238000000034 method Methods 0.000 title claims description 31
- 238000009412 basement excavation Methods 0.000 title claims description 26
- 238000003780 insertion Methods 0.000 claims description 60
- 230000037431 insertion Effects 0.000 claims description 60
- 238000011900 installation process Methods 0.000 claims description 51
- 229910000831 Steel Inorganic materials 0.000 claims description 50
- 239000010959 steel Substances 0.000 claims description 50
- 238000009434 installation Methods 0.000 claims description 31
- 238000010276 construction Methods 0.000 claims description 29
- 238000005553 drilling Methods 0.000 claims description 10
- 238000007599 discharging Methods 0.000 claims description 7
- 239000004576 sand Substances 0.000 claims description 6
- 239000013049 sediment Substances 0.000 claims 1
- 238000010586 diagram Methods 0.000 description 20
- 230000000694 effects Effects 0.000 description 5
- FFBHFFJDDLITSX-UHFFFAOYSA-N benzyl N-[2-hydroxy-4-(3-oxomorpholin-4-yl)phenyl]carbamate Chemical compound OC1=C(NC(=O)OCC2=CC=CC=C2)C=CC(=C1)N1CCOCC1=O FFBHFFJDDLITSX-UHFFFAOYSA-N 0.000 description 2
- 239000000463 material Substances 0.000 description 2
- 230000013011 mating Effects 0.000 description 1
- 239000002689 soil Substances 0.000 description 1
- 239000000126 substance Substances 0.000 description 1
Images
Landscapes
- Excavating Of Shafts Or Tunnels (AREA)
Description
【発明の属する技術分野】
本発明は軌道、道路、地下埋設物直下等の比較的短いトンネルを掘削施工するトンネルの掘削施工工法および梁柱に関する。
【0002】
【従来の技術】
従来、この種のトンネルの掘削施工工法としてパイプルーフ工法、パイプビーム工法、URT工法、PCR工法、NNCB工法等が行なわれている。
【0003】
【発明が解決しようとする課題】
従来のパイプルーフ工法はパイプは仮設材であり、土留の役目しかしないとともに、パイプの径の分土被りが深く必要であるという欠点がある。
また、パイプビーム工法はパイプは仮設材であり、土留の役目しかしないとともに、両側に大きな仮受け梁が深く必要であるという欠点がある。
さらに、URT工法、PCR工法、NNCB工法はいずれも両側に大きな仮受け梁が必要であるという欠点がある。
【0004】
本発明は以上のような従来の欠点に鑑み、大規模設備を用いることなく、安全で経済的に品質が一定である梁柱を用いてトンネルの掘削施工を行なうことができるとともに、トンネルの形状を自由に形成することができるトンネルの掘削施工工法および梁柱を提供することを目的としている。
【0005】
本発明の前記ならびにそのほかの目的と新規な特徴は次の説明を添付図面と照らし合わせて読むと、より完全に明らかになるであろう。
ただし、図面はもっぱら解説のためのものであって、本発明の技術的範囲を限定するものではない。
【0006】
【課題を解決するための手段】
上記目的を達成するために、本発明はトンネルの施工箇所の一側面より梁柱挿入孔を掘削しながら該梁柱挿入孔に継手鋼管を順次押し込み、他側面まで掘削する掘削工程、この掘削工程後に梁柱挿入孔に挿入された継手鋼管を押し込み排出させながら推進方向および接続方向に嵌合する嵌合部が形成された複数本の梁柱を順次挿入させる梁柱挿入工程とで梁柱を設置する梁柱設置工程と、この梁柱設置工程で設置された梁柱の側面部位のトンネル施工箇所の一側面あるいは他側面より接続用梁柱挿入孔を掘削しながら該接続用梁柱挿入孔に継手鋼管を順次挿入して他側面あるいは一側面まで掘削する接続用掘削工程、この接続用掘削工程後に接続用梁柱挿入孔に挿入された継手鋼管を押し込み排出させながら推進方向および接続方向に嵌合する嵌合部が形成された複数本の接続用梁柱および端部に端部接続用梁柱が位置するように前記梁柱と嵌合させながら順次挿入させる接続梁柱挿入工程とで接続梁柱を設置する接続梁柱設置工程と、この接続梁柱設置工程で設置された接続梁柱の側面部位に該接続梁柱設置工程と同様な作業を順次行なって多数本の接続梁柱を並列状態で設置するトンネルの上部あるいは下部壁本体の設置工程と、この上部あるいは下部壁本体の設置工程で設置された上部あるいは下部壁本体の両端部の梁柱および接続梁柱の下面あるいは上面に前記接続梁柱設置工程と同様な作業を順次行なって両側壁本体を設置する両側壁本体設置工程と、この両側壁本体設置工程で設置された両側壁本体の端部の接続梁柱の内側面に前記接続梁柱設置工程と同様な作業を順次行なって下部あるいは上部壁本体を設置する、下部あるいは上部壁本体設置工程と、この下部あるいは上部壁本体設置工程後に上下壁本体および両側壁本体内の土砂を掘削除去しながら所定間隔に支保工を配置する支保工配置工程とでトンネルの掘削施工工法を構成している。
【0007】
また、本発明は角柱状の梁柱本体と、この梁柱本体の一端部に形成された突部状の嵌合部と、前記梁柱本体の他端部に形成された接続される梁柱本体の突部状の嵌合部が嵌合される凹部状の嵌合部と、前記梁柱本体の両側面のほぼ中央部に形成された凹部溝状あるいは突部状の嵌合部とで梁柱を構成している。
【0008】
【発明の実施の形態】
以下、図面に示す実施の形態により、本発明を詳細に説明する。
【0009】
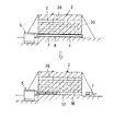
図1ないし図21に示す本発明の第1の実施の形態において、1は軌道2の直下のトンネル施工箇所3に梁柱4を設置する梁柱設置工程で、この梁柱設置工程1はトンネル施工箇所3の一側面より推進掘削装置5を用いて梁柱挿入孔6を掘削しながら、該梁柱挿入孔6に継手鋼管7を順次押し込み、他側面まで掘削する掘削工程8と、この掘削工程8後に梁柱挿入孔6に挿入された継手鋼管7を押し込み排出させながら推進方向および接続方向に嵌合する嵌合部が形成された複数本の梁柱4を順次挿入させた後、該複数本の梁柱4を超強度棒鋼等の棒鋼9で固定する梁柱挿入工程10とで構成されている。
【0010】
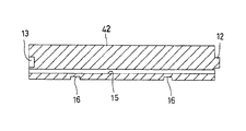
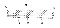
前記梁柱4は図3および図4に示すように、角柱状に形成された梁柱本体11と、この梁柱本体11の一端部の中央部に形成された突部状の嵌合部12と、前記梁柱本体11の他端部の中央部に形成された接続される梁柱4の突部状の嵌合部12が嵌合される凹部状の嵌合部13と、前記梁柱本体11の両側面のほぼ中央部に形成された凹部溝状の嵌合部14、14と、前記梁柱本体11のほぼ中央内側寄りの部位に形成された超強度棒鋼等を挿入することができる棒鋼等の挿入孔15と、前記梁柱本体11の内側となる側面の全長の4分の1部位に形成された支保工挿入凹部16、16とで構成されたものを複数個直列接続されて構成されている。
なお、前記梁柱4は棒鋼等の挿入孔15に超強度棒鋼等を挿入して使用する場合には梁柱本体11の一端部と他端部の中央部に形成する突部状の嵌合部12と凹部状の嵌合部13のない梁柱本体11を使用してもよい。
【0011】
17は前記梁柱設置工程1で設置された梁柱4の側面部位のトンネル施工箇所3に接続梁柱18を設置する接続梁柱設置工程で、この接続梁柱設置工程17は前記梁柱4の側面部位のトンネル施工箇所3の一側面あるいは他側面より接続用梁柱挿入孔19を推進掘削装置5を用いて掘削しながら該接続用梁柱挿入孔19に継手鋼管7を順次挿入して他側面あるいは一側面まで掘削する接続用掘削工程20と、この接続用掘削工程20後に接続用梁柱挿入孔19に挿入された継手鋼管7を押し込み排出させながら推進方向および接続方向に嵌合する嵌合部が形成された複数本の接続用梁柱21を、前記梁柱4と嵌合させながら順次挿入させた後、該複数本の接続用梁柱21を超強度棒鋼等の棒鋼9で固定して接続梁柱18を形成する接続梁柱挿入工程22とで構成されている。
【0012】
前記接続用梁柱21は図6および図7に示すように、角柱状に形成された接続用梁柱本体23と、この接続用梁柱本体23の一端部の中央部に形成された突部状の嵌合部12と、前記接続用梁柱本体23の他端部の中央部に形成された接続される接続梁柱18の突部状の嵌合部12が嵌合される凹部状の嵌合部13と、前記接続用梁柱本体23の一側面に形成された前記梁柱4の凹部溝状の嵌合部14と嵌合される突部状の嵌合部24と、この突部状の嵌合部24と対応する前記接続用梁柱本体23の他側面に形成された接続される接続梁柱18の突部状の嵌合部24が嵌合される凹部溝状の嵌合部14と、前記接続用梁柱本体23のほぼ中央内側寄りの部位に形成された超強度棒鋼等を挿入することができる棒鋼等の挿入孔15と、前記接続用梁柱本体23の内側となる側面の全長の4分の1部位に形成された支保工挿入凹部16、16とで構成されたものを複数個直列接続されて構成されている。
なお、前記接続用梁柱21は棒鋼等の挿入孔15に超強度棒鋼等を挿入して使用する場合には、接続用梁柱本体23の一端部と他端部の中央部に形成する突部状の嵌合部12と凹部状の嵌合部13のない接続用梁柱本体23を使用してもよい。
【0013】
なお、この接続梁柱設置工程17で梁柱4に嵌合状態で設置される接続梁柱18は、図8に示すように該接続梁柱18の接続用梁柱21の接続部が梁柱4の接続部のほぼ中央部に位置させるように設置することにより、梁柱4と接続梁柱18の支保工挿入凹部16、16部位が一致する。
【0014】
25は前記接続梁柱設置工程17で設置された接続梁柱18と前記梁柱設置工程1で設置された梁柱4の両側部に該接続梁柱設置工程17と同様な作業を順次行なって多数本の接続梁柱18を並列状態で設置するトンネルの上部壁本体26を設置する上部壁本体設置工程で、この上部壁本体設置工程25で設置する上部壁本体26の両端部には端部接続梁柱27、27が設置される。
【0015】
この端部接続梁柱27、27は図11および図12に示すように、角柱状に形成された端部接続用梁柱本体28と、この端部接続用梁柱本体28の一端部の中央部に形成された突部状の嵌合部12と、前記端部接続用梁柱本体28の他端部の中央部に形成された接続される端部接続用梁柱本体28の突部状の嵌合部12と嵌合する凹部状の嵌合部13と、前記端部接続用梁柱本体28の一側面の中央部に形成され接続される接続用梁柱21の凹部溝状の嵌合部14と嵌合する突部状の嵌合部24と、この突部状の嵌合部24と隣り合う一方の面の中央部に形成された接続される接続用梁柱21の突部状の嵌合部24と嵌合する凹部溝状の嵌合部14と、前記端部接続用梁柱本体28のほぼ中央部に形成された超強度棒鋼等を挿入することができる棒鋼等の挿入孔15と、前記端部接続用梁柱本体28の突部状の嵌合部24と凹部溝状の嵌合部14が形成された部位で該端部接続用梁柱本体28の全長の4分の1部位に形成された支保工挿入凹部16、16とで構成されたものを複数個直列接続されて構成されている。
なお、前記端部接続梁柱27は棒鋼等の挿入孔15に超強度棒鋼等を挿入して使用する場合には、端部接続用梁柱本体28の一端部と他端部の中央部に形成する突部状の嵌合部12と凹部状の嵌合部13のない端部接続用梁柱本体28を使用してもよい。
【0016】
29は前記上部壁本体設置工程25で設置された上部壁本体26の両端部の端部接続梁柱27、27に前記接続梁柱設置工程17と同様な作業を順次行なって両側壁本体30、30を設置する両側壁本体設置工程で、この両側壁本体設置工程29でも最下部位置には端部接続梁柱27、27を設置する。
【0017】
31は前記両側壁本体設置工程29で設置された両側壁本体30、30の最下部の端部接続梁柱27、27の内側面に前記接続梁柱設置工程17と同様な作業を順次行なって下部壁本体32を設置する下部壁本体設置工程である。
なお、この下部壁本体32を設置する場合には中間部に図17および図18に示すような両側面に突部状の嵌合部24、24が形成された中間接続用梁柱本体42を接続させた中間接続用梁柱41を用いる。
この中間接続用梁柱41は棒鋼等の挿入孔15に超強度棒鋼等を挿入して使用する場合には、中間接続用梁柱本体42の一端部と他端部の中央部に形成する突部状の嵌合部12と凹部状の嵌合部13のない中間接続用梁柱本体42を使用してもよい。
【0018】
33は前記下部壁本体設置工程31後に上下部壁本体26、32および両側壁本体30、30内の土砂34を掘削除去しながら梁柱4、接続梁柱18、端部接続梁柱27の支保工挿入凹部16、16、16が露出した部分に鋼材製の支保工35を順次配置してトンネル孔36を形成する支保工配設工程である。
【0019】
37は前記支保工配設工程33後に下部壁本体32、両側壁本体30、30、上部壁本体26の内側に型枠等を用いて壁コンクリート38を打設する壁コンクリート打設工程である。
【0020】
上記のような各工程を行なうトンネルの掘削施工工法でトンネル39を形成することにより、安全で経済的にトンネル39を形成することができる。
【0021】
【発明の異なる実施の形態】
次に、図22ないし図30に示す本発明の異なる実施の形態につき説明する。なお、これらの本発明の異なる実施の形態の説明に当って、前記本発明の第1の実施の形態と同一構成部分には同一符号を付して重複する説明を省略する。
【0022】
図22ないし図27に示す本発明の第2の実施の形態において、前記本発明の第1の実施の形態と主に異なる点は、トンネルの施工箇所3の一方の上部角部に図26および図27に示す端部接続用梁柱本体28Aを用いて端部接続梁柱27Aを設置する梁柱設置工程1Aを行ない、この梁柱設置工程1A後に接続梁柱設置工程17、上部壁本体設置工程25、両側壁本体設置工程29、29を順次行なった点で、このような方法を用いたトンネルの掘削施工工法を行なっても、前記本発明の第1の実施の形態と同様な作用効果が得られる。
なお、部接続梁柱27Aは棒鋼等の挿入孔15に超強度棒鋼等を挿入して使用する場合には、端部接続用梁柱本体28Aの一端部と他端部の中央部に形成する突部状の嵌合部12と凹部状の嵌合部13のない端部接続用梁柱本体28Aを使用してもよい。
【0023】
図28ないし図30に示す本発明の第3の実施の形態において、前記本発明の第1の実施の形態と主に異なる点は、梁柱設置工程1Bおよび接続梁柱設置工程17Aで、図29および図30に示すように所定間隔にジベルを取付けるための雌ねじ40を埋設した梁柱4Aおよび接続梁柱18Aを用いた点で、このような梁柱4Aや接続梁柱18Aを用いて梁柱設置工程1Bや接続梁柱設置工程17Aを行なってトンネルの掘削施工工法を行なっても、前記本発明の第1の実施の形態と同様な作用効果が得られる。
【0024】
なお、前記本発明の各実施の形態では、上部壁本体26、両側壁本体30、30、下部壁本体32を順次形成するものについて説明したが、本発明はこれに限らず、下部壁本体32、両側壁本体30、30、上部壁本体26を順次形成してもよく、また、一方の側壁本体30、上部壁本体26、下部壁本体32、他方の側壁本体30を順次形成してもよい。
なお、最初に形成する上部壁本体26あるいは下部壁本体32は中央部から形成したり、一端部から形成するが、この場合、最初に形成する梁柱は突部状の嵌合部のない梁柱本体11、端部接続用梁柱本体28Aを用いて行う。
また、上部壁本体26、両側壁本体30、30、下部壁本体32を効率よく形成するために、推進掘削装置5を2台以上用いて行なってもよい。
さらに、トンネルの施工箇所の両側面に推進掘削装置5を設置する発進立杭、到達立杭の掘削作業を梁柱設置工程1、1A前に行なったり、トンネル施工箇所に薬液注入して地盤改良を行なう作業を必要に応じて行なう。
なお、前記本発明の各実施の形態では梁柱4、4Aを構成する梁柱本体11、接続梁柱18、18Aを構成する接続用梁柱21、端部接続梁柱27、27Aを構成する端部接続用梁柱本体28、28Aおよび中間接続用梁柱41を構成する中間接続用梁柱42の一端部と他端部の中央部に形成する突部状の嵌合部12と凹部状の嵌合部13は図示以外の同半径寸法の弧状の突部状の嵌合部12と凹部状の嵌合部13や異なる半径寸法の弧状の突部状の嵌合部12と凹部状の嵌合部13であつもよく、その他の形状の突部状の嵌合部12と凹部状の嵌合部13であつてもよい。さらにT字状の嵌合部12と、このT字状の嵌合部12と側面からの押し込みによって嵌合するT字状の溝が形成された凹部状の嵌合部13であつてもよい。
【0025】
【発明の効果】
以上の説明から明らかなように、本発明にあっては次に列挙する効果が得られる。
【0026】
(1)トンネルの施工箇所の一側面より梁柱挿入孔を掘削しながら該梁柱挿入孔に継手鋼管を順次押し込み、他側面まで掘削する掘削工程、この掘削工程後に梁柱挿入孔に挿入された継手鋼管を押し込み排出させながら推進方向および接続方向に嵌合する嵌合部が形成された複数本の梁柱を順次挿入させる梁柱挿入工程とで梁柱を設置する梁柱設置工程と、この梁柱設置工程で設置された梁柱の側面部位のトンネル施工箇所の一側面あるいは他側面より接続用梁柱挿入孔を掘削しながら該接続用梁柱挿入孔に継手鋼管を順次挿入して他側面あるいは一側面まで掘削する接続用掘削工程、この接続用掘削工程後に接続用梁柱挿入孔に挿入された継手鋼管を押し込み排出させながら推進方向および接続方向に嵌合する嵌合部が形成された複数本の接続用梁柱および端部に端部接続用梁柱が位置するように前記梁柱と嵌合させながら順次挿入させる接続梁柱挿入工程とで接続梁柱を設置する接続梁柱設置工程と、この接続梁柱設置工程で設置された接続梁柱の側面部位に該接続梁柱設置工程と同様な作業を順次行なって多数本の接続梁柱を並列状態で設置するトンネルの上部あるいは下部壁本体の設置工程と、この上部あるいは下部壁本体の設置工程で設置された上部あるいは下部壁本体の両端部の梁柱および接続梁柱の下面あるいは上面に前記接続梁柱設置工程と同様な作業を順次行なって両側壁本体を設置する両側壁本体設置工程と、この両側壁本体設置工程で設置された両側壁本体の端部の接続梁柱の内側面に前記接続梁柱設置工程と同様な作業を順次行なって下部あるいは上部壁本体を設置する下部あるいは上部壁本体設置工程と、この下部あるいは上部壁本体設置工程後に上下部壁本体および両側壁本体内の土砂を掘削除去しながら所定間隔に支保工を配置する支保工配置工程とからなるので、上部壁本体、両側壁本体および下部壁本体を構成する梁柱が左右方向に嵌合部によって嵌合接続された状態にできる。
したがって、十分な強度が得られる上部壁本体、両側壁本体、下部壁本体を設置することができる。
【0027】
(2)前記(1)によって、上部壁本体、両側壁本体、下部壁本体を設置した後、内部の土砂を掘削するので、安全に掘削作業を行なうことができる。
【0028】
(3)前記(1)によって、上部壁本体、両側壁本体および下部壁本体を形成する場合に使用する接続梁柱の本数を変えることにより、自由にトンネルの形状を変えることができる。
【0029】
(4)前記(1)によって、上部壁本体、両側壁本体、下部壁本体を構成する梁柱は工場で製作されたものを使用することができ、品質が一定で、安心して使用することができる。
【0030】
(5)請求項2、3、4、5も前記(1)〜(5)と同様な効果が得られる。
【図面の簡単な説明】
【図1】本発明の第1の実施の形態の工程図。
【図2】本発明の第1の実施の形態の梁柱設置工程の説明図。
【図3】本発明の第1の実施の形態の梁柱の斜視図。
【図4】本発明の第1の実施の形態の梁柱の断面図。
【図5】本発明の第1の実施の形態の接続梁柱設置工程の説明図。
【図6】本発明の第1の実施の形態の接続用梁柱の斜視図。
【図7】本発明の第1の実施の形態の接続用梁柱の断面図。
【図8】本発明の第1の実施の形態の梁柱と接続梁柱との接続状態の説明図。
【図9】本発明の第1の実施の形態の上部壁本体の設置工程の説明図。
【図10】本発明の第1の実施の形態の上部壁本体の説明図。
【図11】本発明の第1の実施の形態の端部接続梁柱の斜視図。
【図12】本発明の第1の実施の形態の端部接続梁柱の断面図。
【図13】本発明の第1の実施の形態の両側壁本体設置工程の説明図。
【図14】本発明の第1の実施の形態の側壁本体の説明図。
【図15】本発明の第1の実施の形態の下部壁本体設置工程の説明図。
【図16】本発明の第1の実施の形態の下部壁本体の説明図。
【図17】本発明の第1の実施の形態の中間接続用梁柱の斜視図。
【図18】本発明の第1の実施の形態の中間接続用梁柱の断面図
【図19】本発明の第1の実施の形態の支保工配設工程の説明図。
【図20】本発明の第1の実施の形態の支保工の設置状態の説明図。
【図21】本発明の第1の実施の形態の壁コンクリート打設工程の説明図。
【図22】本発明の第2の実施の形態の工程図。
【図23】本発明の第2の実施の形態の梁柱設置工程の説明図。
【図24】本発明の第2の実施の形態の接続梁柱設置工程の説明図。
【図25】本発明の第2の実施の形態の上部壁本体の説明図。
【図26】本発明の第2の実施の形態の端部接続用梁柱本体の斜視図。
【図27】本発明の第2の実施の形態の端部接続用梁柱本体の断面図。
【図28】本発明の第3の実施の形態の工程図。
【図29】本発明の第3の実施の形態の梁柱の説明図。
【図30】本発明の第3の実施の形態の接続梁柱の説明図。
【符号の説明】
1、1A、1B:梁柱設置工程、
2:軌道、
3:トンネル施工箇所、
4、4A:梁柱、 5:推進掘削装置、
6:梁柱挿入孔、 7:継手鋼管、
8:掘削工程、 9:棒鋼、
10:梁柱挿入工程、 11:梁柱本体、
12:突部状の嵌合部、 13:凹部状の嵌合部、
14:凹部溝状の嵌合部、15:棒鋼等の挿入孔、
16:支保工挿入凹部、 17、17A:接続梁柱設置工程、
18、18A:接続梁柱、19:接続用梁柱挿入孔、
20:接続用掘削工程、 21:接続用梁柱、
22:接続梁柱挿入工程、23:接続用梁柱本体、
24:突部状の嵌合部、 25:上部壁本体の設置工程、
26:上部壁本体、 27、27A:端部接続梁柱、
28、28A:端部接続用梁柱本体、
29:両側壁本体設置工程、
30:側壁本体、 31:下部壁本体設置工程、
32:下部壁本体、 33:支保工配設工程、
34:土砂、 35:支保工、
36:トンネル孔、 37:壁コンクリート打設工程、
38:壁コンクリート、 39:トンネル、
40:雌ねじ、 41:中間接続用梁柱、
42:中間接続用梁柱本体。
Claims (8)
- トンネルの施工箇所の一側面より梁柱挿入孔を掘削しながら該梁柱挿入孔に継手鋼管を順次押し込み、他側面まで掘削する掘削工程、この掘削工程後に梁柱挿入孔に挿入された継手鋼管を押し込み排出させながら推進方向および接続方向に嵌合する嵌合部が形成された複数本の梁柱を順次挿入させる梁柱挿入工程とで梁柱を設置する梁柱設置工程と、この梁柱設置工程で設置された梁柱の側面部位のトンネル施工箇所の一側面あるいは他側面より接続用梁柱挿入孔を掘削しながら該接続用梁柱挿入孔に継手鋼管を順次挿入して他側面あるいは一側面まで掘削する接続用掘削工程、この接続用掘削工程後に接続用梁柱挿入孔に挿入された継手鋼管を押し込み排出させながら推進方向および接続方向に嵌合する嵌合部が形成された複数本の接続用梁柱および端部に端部接続用梁柱が位置するように前記梁柱と嵌合させながら順次挿入させる接続梁柱挿入工程とで接続梁柱を設置する接続梁柱設置工程と、この接続梁柱設置工程で設置された接続梁柱の側面部位に該接続梁柱設置工程と同様な作業を順次行なって多数本の接続梁柱を並列状態で設置するトンネルの上部あるいは下部壁本体の設置工程と、この上部あるいは下部壁本体の設置工程で設置された上部あるいは下部壁本体の両端部の梁柱および接続梁柱の下面あるいは上面に前記接続梁柱設置工程と同様な作業を順次行なって両側壁本体を設置する両側壁本体設置工程と、この両側壁本体設置工程で設置された両側壁本体の端部の接続梁柱の内側面に前記接続梁柱設置工程と同様な作業を順次行なって下部あるいは上部壁本体を設置する下部あるいは上部壁本体設置工程と、この下部あるいは上部壁本体設置工程後に上下部壁本体および両側壁本体内の土砂を掘削除去しながら所定間隔に支保工を配置する支保工配置工程とを含むことを特徴とするトンネルの掘削施工工法。
- トンネルの施工箇所の一側面より梁柱挿入孔を掘削しながら該梁柱挿入孔に継手鋼管を順次押し込み、他側面まで掘削する掘削工程、この掘削工程後に梁柱挿入孔に挿入された継手鋼管を押し込み排出させながら推進方向および接続方向に嵌合する嵌合部が形成された複数本の梁柱を順次挿入させる梁柱挿入工程とで梁柱を設置する梁柱設置工程と、この梁柱設置工程で設置された梁柱の下面あるいは上面部位のトンネル施工箇所の一側面あるいは他側面より接続用梁柱挿入孔を掘削しながら該接続用梁柱挿入孔に継手鋼管を順次挿入して他側面あるいは一側面まで掘削する接続用掘削工程、この接続用掘削工程後に接続用梁柱挿入孔に挿入された継手鋼管を押し込み排出させながら推進方向および接続方向に嵌合する嵌合部が形成された複数本の接続用梁柱および端部に端部接続用梁柱が位置するように前記梁柱と嵌合させながら順次挿入させる接続梁柱挿入工程とで接続梁柱を設置する接続梁柱設置工程と、この接続梁柱設置工程で設置された接続梁柱の下面あるいは上面に該接続梁柱設置工程と同様な作業を順次行なって多数本の接続梁柱を並列状態で設置するトンネルの一側壁本体の設置工程と、この一側壁本体の設置工程で設置された一側壁本体の上下部の梁柱および接続梁柱の側面に前記接続梁柱設置工程と同様な作業を順次行なって上下壁本体を設置する上下壁本体設置工程と、この上下壁本体設置工程で設置された上下壁本体の端部の接続梁柱の内側面に前記接続梁柱設置工程と同様な作業を順次行なって他方壁本体を設置する他方壁本体設置工程と、この他方壁本体設置工程後に上下壁本体および両側壁本体内の土砂を掘削除去しながら所定間隔に支保工を配置する支保工配置工程とを含むことを特徴とするトンネルの掘削施工工法。
- 角柱状の梁柱本体と、この梁柱本体の一端部に形成された突部状の嵌合部と、前記梁柱本体の他端部に形成された接続される梁柱本体の突部状の嵌合部が嵌合される凹部状の嵌合部と、前記梁柱本体の両側面のほぼ中央部に形成された凹部溝状あるいは突部状の嵌合部とからなることを特徴とする梁柱。
- 角柱状の接続用梁柱本体と、この接続用梁柱本体の一端部に形成された突部状の嵌合部と、前記接続用梁柱本体の他端部に形成された接続される接続用梁柱の突部状の嵌合部が嵌合される凹部状の嵌合部と、前記接続用梁柱本体の一側面のほぼ中央部に形成された凹部溝状の嵌合部と、この嵌合部と対向する前記接続用梁柱本体の他側面に形成された接続される梁柱の凹部溝状の嵌合部と嵌合する突部状の嵌合部とからなることを特徴とする接続用梁柱。
- 角柱状の端部接続梁柱本体と、この端部接続梁柱本体の一端部に形成された突部状の嵌合部と、前記端部接続梁柱本体の他端部に形成された接続される端部接続梁柱の突部状の嵌合部が嵌合される凹部状の嵌合部と、前記端部接続梁柱本体の一側面のほぼ中央部に形成された凹部溝状あるいは突部状の嵌合部と、この嵌合部が形成された前記端部接続梁柱本体の一側面の一方の側面部位の中央部に形成された突部状あるいは凹部溝状の嵌合部とからなることを特徴とする端部接続梁柱。
- 角柱状の梁柱本体と、この梁柱本体の両側面のほぼ中央部に形成された凹部溝状あるいは突部状の嵌合部と、前記梁柱本体の軸心方向に形成された超強度棒鋼等を挿入することができる棒鋼等の挿入孔とからなることを特徴とする梁柱。
- 角柱状の梁柱本体と、この梁柱本体の一側面のほぼ中央部に形成された凹部溝状の嵌合部と、この嵌合部と対向する前記梁柱本体の他側面に形成された接続される梁柱の凹部溝状の嵌合部と嵌合する突部状の嵌合部と、前記梁柱本体の軸心方向に形成された超強度棒鋼等を挿入することができる棒鋼等の挿入孔とからなることを特徴とする梁柱。
- 角柱状の端部接続梁柱本体と、この端部接続梁柱本体の一側面のほぼ中央部に形成された凹部溝状あるいは突部状の嵌合部と、この嵌合部が形成された前記梁柱本体の一側面の一方の側面部位の中央部に形成された突部状あるいは凹部溝状の嵌合部と、前記端部接続梁柱本体の軸心方向に形成された超強度棒鋼等を挿入することができる棒鋼等の挿入孔とからなることを特徴とする端部接続梁柱。
Priority Applications (1)
| Application Number | Priority Date | Filing Date | Title |
|---|---|---|---|
| JP16509599A JP4222686B2 (ja) | 1999-06-11 | 1999-06-11 | トンネルの掘削施工工法および梁柱 |
Applications Claiming Priority (1)
| Application Number | Priority Date | Filing Date | Title |
|---|---|---|---|
| JP16509599A JP4222686B2 (ja) | 1999-06-11 | 1999-06-11 | トンネルの掘削施工工法および梁柱 |
Publications (2)
| Publication Number | Publication Date |
|---|---|
| JP2000352295A JP2000352295A (ja) | 2000-12-19 |
| JP4222686B2 true JP4222686B2 (ja) | 2009-02-12 |
Family
ID=15805801
Family Applications (1)
| Application Number | Title | Priority Date | Filing Date |
|---|---|---|---|
| JP16509599A Expired - Lifetime JP4222686B2 (ja) | 1999-06-11 | 1999-06-11 | トンネルの掘削施工工法および梁柱 |
Country Status (1)
| Country | Link |
|---|---|
| JP (1) | JP4222686B2 (ja) |
Families Citing this family (1)
| Publication number | Priority date | Publication date | Assignee | Title |
|---|---|---|---|---|
| KR101381325B1 (ko) * | 2013-05-30 | 2014-04-04 | 성은주 | 다단식 소구경 강관을 이용한 비개착식 터널공법 |
-
1999
- 1999-06-11 JP JP16509599A patent/JP4222686B2/ja not_active Expired - Lifetime
Also Published As
| Publication number | Publication date |
|---|---|
| JP2000352295A (ja) | 2000-12-19 |
Similar Documents
| Publication | Publication Date | Title |
|---|---|---|
| KR101161332B1 (ko) | 지하터널의 시공방법 | |
| JP5686693B2 (ja) | インバートの施工方法及びプレキャスト部材 | |
| JP4881555B2 (ja) | 地下構造物の構築方法 | |
| KR100989984B1 (ko) | 매립식 지보재 루프식 터널 공법 | |
| JP4486136B2 (ja) | ケーソンの接続方法 | |
| KR20090120098A (ko) | 피에이치씨 말뚝을 이용한 흙막이 벽의 시공방법 | |
| KR101069702B1 (ko) | 강관압입식 지하터널 구조물 형성공법에 있어서의 측벽형성용 방수철판 및 토류방지판의 설치방법 | |
| KR100862977B1 (ko) | 프리캐스트 콘크리트 널말뚝 시공방법 | |
| KR20200133548A (ko) | 케이싱 및 파일의 연속연결을 이용한 지중연속벽체 및 그 시공방법 | |
| JP4222686B2 (ja) | トンネルの掘削施工工法および梁柱 | |
| KR102610909B1 (ko) | 침하방지를 위해 강관내부 앵커설치를 이용한 강관추진 공법 및 그 구조물 | |
| KR102633929B1 (ko) | 흙막이 벽체 시공용 케이싱 및 이를 이용한 흙막이 벽체 시공방법 | |
| KR101967167B1 (ko) | 비개착식 터널의 시공방법 | |
| JP4153456B2 (ja) | 鋼製エレメント・コンクリート型地下構造物の施工方法 | |
| KR102310091B1 (ko) | 가설기둥의 설치가 필요없는 지하구조물 설치공법 | |
| KR20130030702A (ko) | 비개착식 터널형성용 구조물 조립체 및 이의 축조방법 | |
| JP2014185514A (ja) | 地下構造物 | |
| JP3648664B2 (ja) | 建物の改築方法および建物 | |
| KR20070052109A (ko) | 슬림형 합성 바닥 구조를 이용한 슬라브와 외벽의 동시 타설 및 지하 역타설 동시구축방법 | |
| KR101285987B1 (ko) | 토목, 도로, 철도, 단지, 수자원, 구조, 항만, 상하수도 및 환경분야에 적용되는 개량된 복합형 루프식 터널 공법 | |
| KR101046794B1 (ko) | 지하구조물의 연결패널 벽체 축조공법 | |
| KR102764236B1 (ko) | 강관 연결체 및 토류강판 구조체가 연결된 벽체를 적용한 지중구조물 시공방법 | |
| KR20160125671A (ko) | 흙막이용 강관을 이용한 pc 벽체, 그 pc 벽체가 적용된 모듈식 지하구조물 및 그 pc 벽체의 연결방법 | |
| JP3646698B2 (ja) | 地下構造物の構築工法 | |
| KR102191503B1 (ko) | 상부 및 하부 사각관을 이용한 비개착식 터널굴착공법 |
Legal Events
| Date | Code | Title | Description |
|---|---|---|---|
| A621 | Written request for application examination |
Free format text: JAPANESE INTERMEDIATE CODE: A621 Effective date: 20060609 |
|
| A977 | Report on retrieval |
Free format text: JAPANESE INTERMEDIATE CODE: A971007 Effective date: 20071228 |
|
| A131 | Notification of reasons for refusal |
Free format text: JAPANESE INTERMEDIATE CODE: A131 Effective date: 20080826 |
|
| A521 | Written amendment |
Free format text: JAPANESE INTERMEDIATE CODE: A523 Effective date: 20080909 |
|
| TRDD | Decision of grant or rejection written | ||
| A01 | Written decision to grant a patent or to grant a registration (utility model) |
Free format text: JAPANESE INTERMEDIATE CODE: A01 Effective date: 20081111 |
|
| A01 | Written decision to grant a patent or to grant a registration (utility model) |
Free format text: JAPANESE INTERMEDIATE CODE: A01 |
|
| A61 | First payment of annual fees (during grant procedure) |
Free format text: JAPANESE INTERMEDIATE CODE: A61 Effective date: 20081118 |
|
| R150 | Certificate of patent or registration of utility model |
Free format text: JAPANESE INTERMEDIATE CODE: R150 Ref document number: 4222686 Country of ref document: JP Free format text: JAPANESE INTERMEDIATE CODE: R150 |
|
| FPAY | Renewal fee payment (event date is renewal date of database) |
Free format text: PAYMENT UNTIL: 20111128 Year of fee payment: 3 |
|
| FPAY | Renewal fee payment (event date is renewal date of database) |
Free format text: PAYMENT UNTIL: 20141128 Year of fee payment: 6 |
|
| R250 | Receipt of annual fees |
Free format text: JAPANESE INTERMEDIATE CODE: R250 |
|
| R250 | Receipt of annual fees |
Free format text: JAPANESE INTERMEDIATE CODE: R250 |
|
| R250 | Receipt of annual fees |
Free format text: JAPANESE INTERMEDIATE CODE: R250 |
|
| EXPY | Cancellation because of completion of term |