JP4181069B2 - プラズマ処理装置 - Google Patents

プラズマ処理装置 Download PDF

Info

Publication number
JP4181069B2
JP4181069B2 JP2004052807A JP2004052807A JP4181069B2 JP 4181069 B2 JP4181069 B2 JP 4181069B2 JP 2004052807 A JP2004052807 A JP 2004052807A JP 2004052807 A JP2004052807 A JP 2004052807A JP 4181069 B2 JP4181069 B2 JP 4181069B2
Authority
JP
Japan
Prior art keywords
plasma
coating
processing apparatus
film
plasma processing
Prior art date
Legal status (The legal status is an assumption and is not a legal conclusion. Google has not performed a legal analysis and makes no representation as to the accuracy of the status listed.)
Expired - Lifetime
Application number
JP2004052807A
Other languages
English (en)
Other versions
JP2005243987A5 (ja
JP2005243987A (ja
Inventor
雅嗣 荒井
勉 手束
浩之 橘内
宗雄 古瀬
匡規 角谷
Current Assignee (The listed assignees may be inaccurate. Google has not performed a legal analysis and makes no representation or warranty as to the accuracy of the list.)
Hitachi High Tech Corp
Original Assignee
Hitachi High Technologies Corp
Priority date (The priority date is an assumption and is not a legal conclusion. Google has not performed a legal analysis and makes no representation as to the accuracy of the date listed.)
Filing date
Publication date
Application filed by Hitachi High Technologies Corp filed Critical Hitachi High Technologies Corp
Priority to JP2004052807A priority Critical patent/JP4181069B2/ja
Publication of JP2005243987A publication Critical patent/JP2005243987A/ja
Publication of JP2005243987A5 publication Critical patent/JP2005243987A5/ja
Application granted granted Critical
Publication of JP4181069B2 publication Critical patent/JP4181069B2/ja
Anticipated expiration legal-status Critical
Expired - Lifetime legal-status Critical Current

Links

Images

Landscapes

  • Coating By Spraying Or Casting (AREA)
  • Drying Of Semiconductors (AREA)

Description

本発明は、半導体製造プロセス等の微細加工に適用されるプラズマ処理装置に係り、特に、処理室壁面の損傷が少なく、長期にわたり安定した微細加工が可能なプラズマ処理装置に関する。
シリコンウエハなどの被加工板材(以下ウエハと記述)を加工して半導体デバイスを製作する半導体製造装置として、プラズマCVDやプラズマエッチング装置などのプラズマ処理装置が広く使用されている。近年、デバイスの高集積化に伴い回路パターンは微細化の一途をたどっており、これらのプラズマ処理装置に要求される加工寸法の精度は、ますます厳しくなっている。さらに、デバイスの構成材料の多様化に伴って、エッチングレシピも複雑となり長期量産安定化も重要な課題となっている。例えば、プラズマ処理装置では、フッ化物や塩化物、さらには臭化物などの反応性ガスのプラズマを用いるために、処理室壁面が化学的及び物理的に侵食される。そのため、ウエハ処理枚数の増加に伴って、処理室内の化学組成や高周波伝播が徐々に変化して、長期的に安定した処理が不可能となる場合がある。また、侵食された処理室の壁面部材とプラズマ中の活性なラジカルが化学反応を起こし、処理室内壁に異物として再付着する場合もある。内壁に再付着した異物は、エッチングを繰り返すことで次第に厚さが増し、最悪の場合は異物がウエハ上に剥がれ落ちて製品不良を引き起こすことがある。
このような問題を対処するために、プラズマ処理装置では、処理室内壁やステージなどの部材の表面に、化学反応に安定な陽極酸化処理(いわゆるアルマイト)を施す(一般に厚さは20マイクロメータ)ことが、典型的に行われてきた。しかしながら、さらに長期間にわたって安定して処理を続ける上で、アルマイトの耐プラズマ性は十分ではないことが指摘されている。
これに対して、プラズマ処理装置の処理室壁面に耐プラズマ性材料を被覆することも行われている。たとえば、特許文献1では、処理室内に配設されている部材の表面にフッ化イットリウム(YF)を形成、又は焼結したフッ化イットリウムを用いる方法が開示されている。
さらに、特許文献2では、プラズマ処理装置の処理室壁面の少なくとも表面は周期律表第2A属元素の単体又はその化合物からなる材料で被覆した構造が開示されている。
特開2002−252209号公報 特許第3426825号公報
上記従来技術において、従来から用いられてきたアルマイトでは、長期間にわたり安定した処理を保証する目的からは、耐プラズマ性が不十分であった。さらに、アルマイトが削れて生じたアルミニウムによって被処理対象である半導体ウエハ表面に汚染が生じてしまうことが指摘されていた。
また、特許文献1,2等に開示された技術は、耐プラズマ性の観点からは有効ではあるが、部材の耐熱、耐久性や、高寿命および製作上の配慮がなされておらず、耐プラズマ性材料の効果を充分に引き出しているとは言いがたい。
例えば従来技術1〜2では、試料台内に配置された電極により静電吸着された半導体ウエハ等の試料に対して生じたプラズマの電位の不均一や偏りによって、特定の部分が他の部分よりも多くプラズマの入射を受けて削れてしまう。つまり、プラズマの入射が集中する部位が、部材の交換時期、ひいては装置の稼働率や効率に大きく影響を与え、他の部分では交換時期に達していなくとも交換を行わなければならず、部材の交換時期が来てしまうという問題点については考慮されていなかった。
また、上記の従来技術では、こうしたプラズマに晒される処理室内部の部材の形状について、その変形を十分に考慮して形状が決定されていなかった。
さらにまた、上記の従来技術では、処理室内に耐プラズマ性を有する部材を取り付ける作業を考慮した適切な構成については考慮が不十分であった。
本発明の目的は、長期間安定して被処理対象の試料を処理できるプラズマ処理装置を提供することにある。
本発明は、処理室の内側に配置された試料台上に載置された試料を、前記処理室内に生成したプラズマを用いて処理するプラズマ処理装置において、前記処理室内に着脱可能に取り付けられた部材を備え、前記部材は、前記プラズマと接する側の表面に被覆された耐プラズマ性の高い材料またはこれらの混合材から構成された第1の被膜と前記処理室内に取り付けられる面を被覆する第2の被膜であって前記第1の被膜の耐プラズマ性の高い材料またはこれらの混合材よりも強度の高い材料からなる第2の被膜とを有し、前記第1および第2の被膜同士の境界部では、前記第1の被膜が前記第2の被膜の上面を覆うように被覆されるとともに、それぞれ被膜がそれぞれの境界に向かうにつれてその厚さが薄くされたプラズマ処理装置である。
また、本発明は、前記第1の被膜は、Y 、Yb またはYF を主成分とした材料あるいはこれらの混合材から構成されたプラズマ処理装置である。
そして、本発明は、本発明は、前、YbまたはYFを主成分とした材料あるいはこれらの混合材から構成された被膜が溶射されて被覆され、該被膜の表面がフッ素樹脂、SiO2、ポリイミドまたはシリコーンを用いた封孔処理が施されたプラズマ処理装置である。
本発明によれば、長期間安定して被処理対象の試料を処理できるプラズマ処理装置を得ることができる。
本発明を実施するための最良の形態を説明する。
以下、本発明のプラズマ処理装置について、図示の実施の形態により詳細に説明する。
図1は、本発明の一実施例に係るプラズマ処理装置の断面図である。図1に示すプラズマ処理装置は、処理室100、その上部に電磁波を放射するアンテナ101を、下部には半導体ウエハWなどの被処理体である試料を載置する保持ステージ150を備えている。アンテナ101は、真空容器の一部としてのハウジング105に保持され、アンテナ101と保持ステージ150は平行して対向する形で設置される。
処理室100の周囲には、たとえば電磁コイルとヨークよりなる磁場形成手段102が設置されている。
保持ステージ150は、一般に静電吸着電極と呼ばれているものである。図1に示すように、静電吸着電極である保持ステージ150は、アルミニウム製の電極ブロック151、誘電体膜152、それにアルミナ製の電極カバー153で構成される。図示していないが、電極ブロック151内には、温調ユニット109において所定の温度に調節されて供給された冷媒が循環する流路4が形成されている。アルミナ製の電極カバー153は、誘電体膜152を保護するためのカバーである。静電吸着電極である保持ステージ150の大きさは、12インチ(直径300mm)の半導体ウエハWを対象とした場合には、直径が340mmで、全体の厚さが40mmである。電極ブロック151は、高電圧電源106とバイアス電源107がそれぞれ接続されている。誘電体膜152には、放射状に伸びる直線状のスリットと、これに連通した複数条の同心円状のスリットとが設けてあり、これらに連通して開口されたガス導入孔から伝熱用のHeガスが導入され、これらスリット(及びこの誘電体膜152)とこの上に載置される被処理体である半導体ウエハWとの間に形成される空間に両者の熱伝達を行うためのHeガスが導入され、半導体ウエハWの裏面に均一な圧力のHeガス(通常1000Pa程度)が充填される。
本実施例に示す誘電体膜は、厚さは0.1mmの溶射法で形成したアルミナセラミックスからなり、この誘電体膜152の材質や厚さは、この例に限られたものではなく、例えば合成樹脂の場合は、それに応じて0.1mmから数mmの厚さが選択できる。また、この誘電体膜152内部には、前記した被処理対象である半導体ウエハWを誘電体膜152(保持ステージ150)上に吸着して保持するための電圧が印加される薄膜状の電極が設けられている。
処理室100は真空排気系103により、10000分の1Paの圧力の真空を達成できる真空容器である。被処理体のエッチング、成膜等の処理を行なう処理ガスは、図示しないガス供給手段から所定の流量と混合比をもって処理室100内に供給され、真空排気系103と排気調整手段104により処理室100内の圧力が制御される。本発明のようなプラズマ処理装置では、一般に、エッチング中の処理圧力を0.1Paから10Pa以下の範囲に調整して使用することが典型的である。
アンテナ101には、マッチング回路122を介してアンテナ電源121が接続される。アンテナ電源121は、300MHzから1GHzのUHF帯周波数の電力を供給するもので、本実施例ではアンテナ電源121の周波数を450MHzとしている。静電吸着電極Sには、静電吸着用の高電圧電源106と、たとえば200kHzから13.56MHzの範囲のバイアス電力を供給するバイアス電源107がマッチング回路108を介して、それぞれ接続される。また、静電吸着電極Sには、温度制御用の温調ユニット109が接続される。なお、本実施例では、バイアス電源107の周波数を2MHzとしている。
このようなエッチング処理装置では、高周波の電界と磁場コイルの磁界との相互作用によって、処理室内に導入されたエッチングガスが効率良くプラズマ化される。また、エッチング処理に当たっては、ウエハに入射するプラズマ中のイオンの入射エネルギーを高周波バイアスによって制御し、所望のエッチング形状が得られる。
次に処理室100の構成について、図2を用いて説明する。図2に、本発明に係わるプラズマ処理装置の処理室100の断面を詳細に示す。処理室100は、少なくともその側壁がアルミニウム製である内径600mmのチャンバー1と、チャンバー1に対してボルト2で締結されたアースカバー3、厚さ25mmの石英により構成された石英板4aおよび石英板4a直下に位置するシャワープレート4bを備えている。
アースカバー3には、後述する理由から、プラズマと接する面の表面に純度99.9パーセントのYBが溶射されて被覆されている。その他の部分の表面には、アルマイトにより被覆が施されている。このような構成の処理室では、アースカバー3がチャンバー1と別部材となっているので、アースカバー3の交換やこれを含めた処理室内のクリーニングが容易に行われ、クリーニングの作業が短縮され、ひいてはプラズマ処理装置の稼働効率を向上させる。
本実施例に示したプラズマ処理装置では、電磁コイルとヨークよりなる磁場形成手段102により、図2中に示すような磁力線130が形成される。そのため、アンテナより印加された高周波と磁力線130により、シャワープレート4bの直下には密度の高いプラズマ131が生成される。さらに、生成されたプラズマは磁力線130によって拘束されるので、磁力線130の延長上にあるアースカバー3表面のプラズマの密度も高くなる。このとき、プラズマ処理装置では、バイアス電力を供給するバイアス電源、静電吸着電極である保持ステージ150、プラズマ、アースカバー3表面との間で電気回路が形成される。この回路では、プラズマ密度の高いアースカバー表面が接地面になる。接地面であるアースカバー3の表面にはプラズマ中の電子が高速で移動するので、取り残されたイオンにより電場、すなわち、イオンシースが安定して生じる。したがって、アースカバー3では、イオンシース(電場)によりプラズマ中のイオンが入射するので、著しく侵食する。また、イオンの入射のみならずプラズマ中の活性なラジカルで腐食も生じる。
従来のプラズマ処理装置では、耐プラズマ性材料として陽極酸化処理(アルマイト)が多く用いられて来たが、さらに長期間にわたって安定して処理を行える材料が求められている。そこで、各種材料からエッチング処理装置の内壁材に適用しても、デバイスに影響を及ぼさないことを確認したYb、YおよびYFと、現内壁材であるアルマイトの耐プラズマ性を評価した。さらに、アルマイト(非結晶のAl)と同じ組成である焼結で製作したAl、溶射法で製作したAlの耐プラズマ性も評価した。なお、Yb、YおよびYFは、溶射法による被覆膜とした。
耐プラズマ性の評価実験では、角20mmの大きさの試験片を供した。アルマイトおよび溶射の試験片は、厚さ5mmの高純度のアルミニウム表面に0.2から0.5mmの厚さに形成したものとし、焼結材のAlは厚さ0.5mmのものとした。実験では、まず、試験片をウエハ上に導電性接着剤で貼り付けた。次に、前記ウエハをプラズマ処理装置内に搬入し、所定の時間プラズマを照射した。終了後、エッチングレートの測定および表面様相を観察した。なお、試験片の厚さが材質毎に異なるが、イオンの入射量は本実験の範囲では材質の厚さによらずイオンシースの抵抗と負荷した高周波のパワーで決まるので、影響が無い。
結果の一例として、図3に塩素ガスのプラズマでエッチングした際のエッチングレートを示す。同図は、図1に示したエッチング処理装置を用いて、圧力:0.5Pa、Cl流量:150mL/min、UHFのパワー:500W、静電吸着電極のRFパワー:100Wとした条件でエッチングした結果である。この図3より、アルマイト、焼結材のAl、溶射で製作したAlのエッチングレートには相違が認められずほぼ同程度であることがわかる。さらに、Y、YbおよびYFのエッチングレートは、アルマイト、Alに比べ、約1/3になっている。各試験片の試験前後の表面を電子顕微鏡で観察したが、試験片によらず平滑な様相を示し、化学的な反応が顕著に生じている様相は認められなかった。なお、フッ素系や塩素系の多種にわたる条件でも同様な結果が得られた。
さらに、図4に静電吸着電極のRFパワーとアルマイトのエッチングレートの関係を示す。同図は、図3に示した条件を基本に、静電吸着電極のRFパワーを変化させた場合のレートの変化を示している。同図より、エッチングレートはRFパワーの増加に伴い速くなることがわかる。これは、エッチングレートがスパッタによる侵食で決まっているためである。したがって、アルマイト、焼結材のAl、溶射で製作したAlのエッチングレートに相違が認められなかったこと、Y、YbおよびYFのエッチングレートが、Alに比べ、1/3になったのはスパッタが主とした侵食作用がエッチングレートになっていたためである。このことから、重い元素ほど、処理室壁面の壁材として最適であると考えられる。
図5に、本実施例のプラズマ処理装置に用いられるアースカバー3の断面図を示す。同図に示すアースカバー3は、そのプラズマと接する表面に純度99.9パーセント、厚さ200ミクロンのYbが溶射された膜(以下Yb溶射膜と略す)31が形成されており、その他の部分の表面には、厚さ20ミクロンのアルマイト膜2が施されている。
前述したように、Yb溶射膜31はアルマイト膜32(非晶質のAl)に比べ、元素が重いためにスパッタレートが低いことから、Yb溶射膜31の被覆をアースカバー3表面に施すと良いが、一方、必要以上の広範囲に溶射膜を施さない方がより好適なプラズマ処理装置を得られるという知見を得られた。すなわち、溶射法は、高温に加熱した微粒子を高速で対象の表面に吹き付けるもので、形成された溶射膜の表面の凹凸が大きく、接触面や寸法の公差が厳しい部材の面については被覆後にその表面を研磨することが必要となり、製作にさらに時間を要し、製造コストがアップしてしまう。
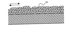
さらには、強度及び信頼性の点から見て、溶射膜は、図6に示すように、半溶融した粒子の固まり33が層状になって形成しているため、せん断力に対して充分な強度を備えさせることは難しく、表面からの被覆材料が欠け、剥げ等脱離を生じやすい。例えば、アルマイトと溶射膜のせん断強度を比較したが、アルマイトは溶射膜の5倍程度の強度を有していることを確認している。したがって、本実施例で示したアースカバー3のボルト締結部のような個所では、プラズマからの入熱でアースカバー3が膨張した際にせん断力が生じ、溶射膜が剥離してしまう虞が有り、この剥離した溶射膜が行っている半導体ウエハの処理に悪影響を及ぼす可能性がある。
一方、相対的にアルマイトはYb膜と比べ製作が容易で、強度も大きくすることができる。例えば、アルマイトは電解液中で化学的に反応させて成膜するので、製法条件を任意にすることで容易に硬さ、膜厚を調節してその膜の被覆を形成することができる。また、柱状にアルマイトが成長しているので、せん断にも強く、締結部のような場所に用いても過大なクラックを生じることが少ない。
以上のような理由から、プラズマと接する面には、Yb、YおよびYF等の耐プラズマ性に優れた材料を形成し、プラズマと接しない面には、膜厚の管理が容易で、かつ強度に優れたアルマイトを施すことが好ましい。なお、アースカバー3の形状は、図5に示したものに限定されるものではなく、たとえば、図7(a)に示すように、プラズマによる侵食の厳しい領域のみにY、YbおよびYF等の耐プラズマ性の材料を被覆しても良い。また、図7(b)に示すようにハンドリング性、再生利用を考慮して分割した構造としても良い。あるいは、アースカバー3のうちで、こうした耐プラズマ性を有する材料を被覆する部位を1つの部材として構成して、他の部位と別体で構成してその表面にYb、YおよびYF等の耐プラズマ性に優れた材料を被覆して、他の部位の箇所と組み合わせて構成しても良い。
次に、アルマイトと溶射膜との境界の形構造について、記述する。アルマイトは、アルミニウム(Al)を陽極として希硫酸や蓚酸水溶液中で、電気分解により、Al表面に酸化皮膜を形成する手法である。一方、溶射膜は高温の粒子を吹き付けて製作するものである。その付着強度は、主にアンカー効果によるものである。このようなアルマイト、溶射膜をアースカバー3に成膜する手順を図8に示す。同図(a)は、溶射膜を形成後にアルマイトを形成する場合、同図(b)は、アルマイトを形成後に溶射膜を形成する手順である。
同図(a)に示すように、溶射膜31を形成後にアルマイト膜32を形成すると、両者の境界は明確になり加熱時にクラックが生じやすくなる。さらに、アルマイト成膜時の電解液が溶射膜内に浸透し、残留することも懸念される。一方、同図(b)に示すように、アルマイト膜32を形成後に溶射膜31を形成すると、アルマイト膜32の上に溶射膜31が覆うように形成されることから、明確な境界ができないので、クラックが生じにくい。なお、アルマイト膜32上に溶射膜31を被覆する場合は、アルマイトの表面を若干粗した方が、アンカー効果が増し、密着力も高くなるという効果を奏することができる。
さらに、アルマイト32と溶射膜31の境界は図9に示すような構造が好ましい。同図に示すように、アルマイトと溶射膜の境界それぞれの材質が徐々薄くなるようにすることで、両者の熱膨張係数が徐々に変化するので、耐熱性が著しく向上する。特に、形状が不連続となるエッジ部でこのような構造とすることが好ましい。
本実施例のアースカバー3のコーナー部は、形状的に特異点となっているため、電界が集中しやすいという条件がある。本実施例に示したプラズマ処理装置では、アースリングの上部のプラズマ密度が高いために、そのスパッタレートも速い(たとえば、プラズマ条件にもよるが、スパッタ速度は2倍程度になることを確認している)。そのため、エッジ部では他の箇所と比べて侵食が進みやすくなる。ここで、アースカバー3上の一部にアルミニウム母材が露出すると、他の面がまた十分にプラズマに対して耐久性を有しており使用可能であったとしても、アースカバー3を交換せざるをえない。すなわち、こうしたプラズマに面する箇所のコーナー部分での対プラズマ性がアースカバー3全体の寿命、装置の稼働率や効率を決定することになる。
本発明の実施例では、図10に示すようにアースカバー3のコーナー部のエッジにおける溶射膜31の厚さを他の箇所より厚くすることで、アースカバー3全体の寿命が伸び交換時期を長くすることができる。また、こうしたコーナー部は、特に、アースカバー3の半導体ウエハW或いは保持ステージ150に近い側のコーナー部において、溶射膜31の厚さを厚くすることが必要である。このようなコーナー部の厚さは、溶射膜31を、コーナー部を介して隣り合う面を各々溶射する際、このコーナー部を含めて成膜することで、複数回数コーナー部が溶射され、溶射膜31の厚さをコーナー部で厚く形成するようにしてもよい。
溶射膜では、層状になっているのでその境界が空洞になっている。そのため、この空洞に水分が吸着しやすく、溶射した部材を真空中にそのまま設置すると、吸着した水分の放出により真空排気に時間を要してしまう。さらに、プラズマ中で使用される塩素ガスなどが溶射膜内の空洞に吸着し、そのまま大気開放すると、大気中の水分と塩素が反応して母材に腐食を生じることもある。そのため、空洞を埋める封孔処理が重要である。封孔材の材質としては、直接イオンのアタックがないので、耐プラズマ性よりエッチングに影響を及ぼさない観点から選択すれば良い。特に、フッ素樹脂、SiO、ポリイミド又はシリコーン等が好ましい。
本発明の一実施例に係るプラズマ処理装置の断面図。 本発明の一実施例に係るプラズマ処理装置内の処理室100の断面図。 アルマイト、焼結で製作したAl、溶射法で製作したAl、Y、YFの塩素プラズマ中におけるエッチングレートを比較した図。 静電吸着電極のRFパワーとアルマイトのエッチングレートの関係を説明するグラフ。 本発明の一実施例に係るアースカバーの断面図。 本発明の一実施例に係る溶射膜の断面様相を示す図。 本発明の一実施例に係るアースカバーの一例を示す断面図。 本発明の一実施例に係るアースカバーの製法手順を示す図。 本発明の一実施例に係る溶射膜とアルマイトの境界の形状を示す図。 本発明の一実施例に係るアースカバーのエッチ部の断面を示す図。
符号の説明
1…チャンバー、2…ボルト、3…アースカバー、4a…石英板、4b…シャワープレート、31…Yb溶射膜、32…アルマイト膜、33…半溶融した粒子の固まり
100…処理室、101…アンテナ、105…ハウジング、102…磁場形成手段、S…静電吸着電極、W…半導体ウエハ、103…真空排気系、104…排気調整手段、106…高電圧電源、107…バイアス電源、108…マッチング回路、109…音調ユニット、121…アンテナ電源、122…マッチング回路

Claims (3)

  1. 処理室の内側に配置された試料台上に載置された試料を、前記処理室内に生成したプラズマを用いて処理するプラズマ処理装置において、
    前記処理室内に着脱可能に取り付けられた部材を備え、
    前記部材は、前記プラズマと接する側の表面に被覆された耐プラズマ性の高い材料またはこれらの混合材から構成された第1の被膜と前記処理室内に取り付けられる面を被覆する第2の被膜であって前記第1の被膜の耐プラズマ性の高い材料またはこれらの混合材よりも強度の高い材料からなる第2の被膜とを有し、前記第1および第2の被膜同士の境界部では、前記第1の被膜が前記第2の被膜の上面を覆うように被覆されるとともに、それぞれ被膜がそれぞれの境界に向かうにつれてその厚さが薄くされたプラズマ処理装置。
  2. 請求項1に記載のプラズマ処理装置であって
    前記第1の被膜は、Y 、Yb またはYF を主成分とした材料あるいはこれらの混合材から構成されたことを特徴とするプラズマ処理装置。
  3. 請求項1または2に記載のプラズマ処理装置であって、
    、YbまたはYFを主成分とした材料あるいはこれらの混合材から構成された被膜が溶射されて被覆され、該被膜の表面がフッ素樹脂、SiO2、ポリイミドまたはシリコーンを用いた封孔処理が施されたことを特徴とするプラズマ処理装置。
JP2004052807A 2004-02-27 2004-02-27 プラズマ処理装置 Expired - Lifetime JP4181069B2 (ja)

Priority Applications (1)

Application Number Priority Date Filing Date Title
JP2004052807A JP4181069B2 (ja) 2004-02-27 2004-02-27 プラズマ処理装置

Applications Claiming Priority (1)

Application Number Priority Date Filing Date Title
JP2004052807A JP4181069B2 (ja) 2004-02-27 2004-02-27 プラズマ処理装置

Publications (3)

Publication Number Publication Date
JP2005243987A JP2005243987A (ja) 2005-09-08
JP2005243987A5 JP2005243987A5 (ja) 2005-11-17
JP4181069B2 true JP4181069B2 (ja) 2008-11-12

Family

ID=35025389

Family Applications (1)

Application Number Title Priority Date Filing Date
JP2004052807A Expired - Lifetime JP4181069B2 (ja) 2004-02-27 2004-02-27 プラズマ処理装置

Country Status (1)

Country Link
JP (1) JP4181069B2 (ja)

Families Citing this family (11)

* Cited by examiner, † Cited by third party
Publication number Priority date Publication date Assignee Title
JP2007115973A (ja) * 2005-10-21 2007-05-10 Shin Etsu Chem Co Ltd 耐食性部材
JP2007243020A (ja) * 2006-03-10 2007-09-20 Hitachi High-Technologies Corp プラズマ処理装置
JP4905697B2 (ja) * 2006-04-20 2012-03-28 信越化学工業株式会社 導電性耐プラズマ部材
JP4887910B2 (ja) * 2006-05-30 2012-02-29 パナソニック株式会社 プラズマ処理装置
JP5071856B2 (ja) * 2007-03-12 2012-11-14 日本碍子株式会社 酸化イットリウム材料及び半導体製造装置用部材
JP5551353B2 (ja) * 2008-10-30 2014-07-16 株式会社日本セラテック 耐食性部材
JP5782293B2 (ja) * 2011-05-10 2015-09-24 東京エレクトロン株式会社 プラズマ生成用電極およびプラズマ処理装置
US9123651B2 (en) * 2013-03-27 2015-09-01 Lam Research Corporation Dense oxide coated component of a plasma processing chamber and method of manufacture thereof
JP6156850B2 (ja) * 2014-12-25 2017-07-05 東京エレクトロン株式会社 プラズマ処理装置及びプラズマ処理装置の部材の交換判断方法
CN108463345B (zh) * 2015-11-16 2021-04-09 阔斯泰公司 耐腐蚀组件和制造方法
KR102384436B1 (ko) * 2016-11-16 2022-04-12 쿠어스 테크, 인코포레이티드 내부식성 부품 및 제조 방법

Also Published As

Publication number Publication date
JP2005243987A (ja) 2005-09-08

Similar Documents

Publication Publication Date Title
TWI795981B (zh) 稀土氧化物系抗電漿腐蝕薄膜塗層
US9460898B2 (en) Plasma generation chamber with smooth plasma resistant coating
CN109256326B (zh) 等离子体处理装置用部件及其喷镀方法
CN103794445B (zh) 用于等离子体处理腔室的静电夹盘组件及制造方法
US20150311043A1 (en) Chamber component with fluorinated thin film coating
US20130162142A1 (en) Plasma processing apparatus and method
US20080236744A1 (en) Plasma etching equipment
KR101828862B1 (ko) 플라즈마 처리 장치 및 샤워 헤드
US20080314321A1 (en) Plasma processing apparatus
US20170260616A1 (en) Plasma resistant coating with tailorable coefficient of thermal expansion
JP4181069B2 (ja) プラズマ処理装置
US8715782B2 (en) Surface processing method
JP4856978B2 (ja) プラズマエッチング装置及び処理室の内壁の形成方法
CN104241183A (zh) 静电吸盘的制造方法,静电吸盘及等离子体处理装置
JP4098259B2 (ja) プラズマ処理装置
CN104241181A (zh) 静电吸盘的制造方法,静电吸盘及等离子体处理装置
US20050199183A1 (en) Plasma processing apparatus
KR102229990B1 (ko) 플라즈마 처리 장치용 부재 및 플라즈마 처리 장치
JP2008098660A (ja) プラズマ処理装置
KR100819530B1 (ko) 플라즈마 에칭장치 및 플라즈마 처리실 내 부재의 형성방법
TW202217908A (zh) 用於氫與氨電漿應用的具有保護性陶瓷塗層的處理套件
JP2006222240A (ja) プラズマ処理装置
JP2007324186A (ja) プラズマ処理装置
WO2023086165A1 (en) Coated part for capacitively coupled chamber

Legal Events

Date Code Title Description
A521 Request for written amendment filed

Free format text: JAPANESE INTERMEDIATE CODE: A523

Effective date: 20050930

A621 Written request for application examination

Free format text: JAPANESE INTERMEDIATE CODE: A621

Effective date: 20050930

A977 Report on retrieval

Free format text: JAPANESE INTERMEDIATE CODE: A971007

Effective date: 20070919

A131 Notification of reasons for refusal

Free format text: JAPANESE INTERMEDIATE CODE: A131

Effective date: 20071002

A521 Request for written amendment filed

Free format text: JAPANESE INTERMEDIATE CODE: A523

Effective date: 20071203

A131 Notification of reasons for refusal

Free format text: JAPANESE INTERMEDIATE CODE: A131

Effective date: 20080311

A521 Request for written amendment filed

Free format text: JAPANESE INTERMEDIATE CODE: A523

Effective date: 20080509

TRDD Decision of grant or rejection written
A01 Written decision to grant a patent or to grant a registration (utility model)

Free format text: JAPANESE INTERMEDIATE CODE: A01

Effective date: 20080826

A01 Written decision to grant a patent or to grant a registration (utility model)

Free format text: JAPANESE INTERMEDIATE CODE: A01

A61 First payment of annual fees (during grant procedure)

Free format text: JAPANESE INTERMEDIATE CODE: A61

Effective date: 20080828

R150 Certificate of patent or registration of utility model

Ref document number: 4181069

Country of ref document: JP

Free format text: JAPANESE INTERMEDIATE CODE: R150

Free format text: JAPANESE INTERMEDIATE CODE: R150

FPAY Renewal fee payment (event date is renewal date of database)

Free format text: PAYMENT UNTIL: 20110905

Year of fee payment: 3

FPAY Renewal fee payment (event date is renewal date of database)

Free format text: PAYMENT UNTIL: 20120905

Year of fee payment: 4

FPAY Renewal fee payment (event date is renewal date of database)

Free format text: PAYMENT UNTIL: 20130905

Year of fee payment: 5

S531 Written request for registration of change of domicile

Free format text: JAPANESE INTERMEDIATE CODE: R313531

S533 Written request for registration of change of name

Free format text: JAPANESE INTERMEDIATE CODE: R313533

R350 Written notification of registration of transfer

Free format text: JAPANESE INTERMEDIATE CODE: R350

EXPY Cancellation because of completion of term