JP4138427B2 - 照光機構 - Google Patents

照光機構 Download PDF

Info

Publication number
JP4138427B2
JP4138427B2 JP2002283353A JP2002283353A JP4138427B2 JP 4138427 B2 JP4138427 B2 JP 4138427B2 JP 2002283353 A JP2002283353 A JP 2002283353A JP 2002283353 A JP2002283353 A JP 2002283353A JP 4138427 B2 JP4138427 B2 JP 4138427B2
Authority
JP
Japan
Prior art keywords
light guide
guide member
light
illumination
transparent
Prior art date
Legal status (The legal status is an assumption and is not a legal conclusion. Google has not performed a legal analysis and makes no representation as to the accuracy of the status listed.)
Expired - Fee Related
Application number
JP2002283353A
Other languages
English (en)
Other versions
JP2004118008A (ja
Inventor
健二 河野
Current Assignee (The listed assignees may be inaccurate. Google has not performed a legal analysis and makes no representation or warranty as to the accuracy of the list.)
Alps Alpine Co Ltd
Original Assignee
Alps Electric Co Ltd
Priority date (The priority date is an assumption and is not a legal conclusion. Google has not performed a legal analysis and makes no representation as to the accuracy of the date listed.)
Filing date
Publication date
Application filed by Alps Electric Co Ltd filed Critical Alps Electric Co Ltd
Priority to JP2002283353A priority Critical patent/JP4138427B2/ja
Priority to DE2003620195 priority patent/DE60320195T2/de
Priority to EP20030021496 priority patent/EP1403667B1/en
Publication of JP2004118008A publication Critical patent/JP2004118008A/ja
Application granted granted Critical
Publication of JP4138427B2 publication Critical patent/JP4138427B2/ja
Anticipated expiration legal-status Critical
Expired - Fee Related legal-status Critical Current

Links

Images

Classifications

    • GPHYSICS
    • G02OPTICS
    • G02BOPTICAL ELEMENTS, SYSTEMS OR APPARATUS
    • G02B6/00Light guides; Structural details of arrangements comprising light guides and other optical elements, e.g. couplings
    • G02B6/0001Light guides; Structural details of arrangements comprising light guides and other optical elements, e.g. couplings specially adapted for lighting devices or systems
    • G02B6/0005Light guides; Structural details of arrangements comprising light guides and other optical elements, e.g. couplings specially adapted for lighting devices or systems the light guides being of the fibre type
    • G02B6/0006Coupling light into the fibre

Landscapes

  • Physics & Mathematics (AREA)
  • General Physics & Mathematics (AREA)
  • Optics & Photonics (AREA)
  • Switch Cases, Indication, And Locking (AREA)
  • Details Of Measuring Devices (AREA)
  • Illuminated Signs And Luminous Advertising (AREA)
  • Arrangements Of Lighting Devices For Vehicle Interiors, Mounting And Supporting Thereof, Circuits Therefore (AREA)
  • Light Guides In General And Applications Therefor (AREA)

Description

【0001】
【発明の属する技術分野】
本発明は、操作パネルなどに組み込まれた導光体によって光源の光を照光領域へと導く照光機構に係り、特に、照光色の異なる複数の照光領域を有する装置に用いて好適な照光機構に関する。
【0002】
【従来の技術】
車載用の操作パネルには、夜間などの暗所における視認性を確保するために、内蔵した光源の光によって操作部やその周辺を照光可能とする照光機構が備えられている。かかる照光機構には、通常、ランプやLED等の光源だけでなく、光源の光を所定の照光領域へと導く導光体が使用されている。
【0003】
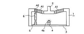
図3は、従来の照光機構の一例を示す断面図である。同図において、パネル部材1は操作つまみ2の周辺が照光領域A1,A2となっている。これらの照光領域A1,A2は無色透明な領域に有色印刷を施して形成したものであり、操作つまみ2を包囲する比較的広い照光領域A1は第1の照光色(例えば黄橙色)に着色されており、それよりも狭い照光領域A2は第2の照光色(例えば青色)に着色されている。パネル部材1の内部に組み込まれた回路基板3上には、操作つまみ2の後方に位置する光源4と、照光領域A2の後方に位置する光源5とが並設されており、光源5と照光領域A2との間には無色透明な柱状の導光体6が介設されている。この導光体6はアクリル樹脂等の光透過性材料からなり、光源5から出射された白色光を効率よく照光領域A2へと導くので、照光領域A2を印刷色を反映した第2の照光色で照光させることができる。また、光源4には調色キャップ4aが取り付けてあるので、光源4から出射された白色光は調色キャップ4aを透過すると第1の照光色に近い色に変化して照光領域A1に照射される。したがって、照光領域A1を主たる照光色である第1の照光色で照光させることができる。
【0004】
なお、照光領域A1,A2の照光色がほぼ同系色であれば、後方から同じ色の光を照射しても印刷色によって区別することが可能であるが、実際には、両照光領域A1,A2を明確に区別できるような照光色(例えば一方で暖色系で他方が寒色系)に設定されることが多いので、図3に示すように各照光領域A1,A2に対して後方から異なる色の光を照射するという構成が広く採用されている。
【0005】
【発明が解決しようとする課題】
上述したように複数の照光領域A1,A2に対して後方から同じ色の光を照射することができない場合、従来は図3に示すように各照光領域A1,A2ごとに光源4,5を配設して調色キャップ4aや導光体6を併用しているが、かかる構成は部品点数が多くなってしまうので、照光機構の高コスト化を余儀なくされるという問題があった。
【0006】
本発明は、このような従来技術の実情に鑑みてなされたもので、その目的は、共通の光源を用いて複数の照光領域に対して異なる色の照射光を供給することができ、もって低コスト化が図れる照光機構を提供することにある。
【0007】
【課題を解決するための手段】
上述した目的を達成するため、本発明の照光機構では、光透過性材料からなり光源を覆う位置に配置された第1の導光部材と、光透過性材料からなり前記第1の導光部材に密着接合されて一端面を前記光源に対向させ、かつ他端面を所定の照光領域に対向させた第2の導光部材とを備え、これら第1および第2の導光部材のいずれか一方が無色透明で他方が有色透明である照光機構であって、前記第1の導光部材の光透過性材料が前記第2の導光部材の光透過性材料よりも溶融温度が高く、かつ、予め成形した前記第1の導光部材を前記第2の導光部材の成形金型の一部として使用する2色成形を行うことによってこれら両導光部材が一体化されている構成とした。
【0008】
このように有色透明な導光部材と無色透明な導光部材とを密着接合してなる導光体を用いると、光源から出射された光のうち、有色透明な導光部材を透過して色が変化した光が照射される照光領域と、無色透明な導光部材を透過した光が照射される別の照光領域とで、照光色を大きく異ならせることができるため、照光機構の光源の数が減らせ調色キャップも不要となる。
【0009】
また、かかる導光体は2色成形技術によって製造することが好ましい。すなわち、第1の導光部材の光透過性材料として第2の導光部材の光透過性材料よりも溶融温度の高いもの(例えば前者がポリカーボネイト樹脂で後者がアクリル樹脂)を選択し、予め成形した第1の導光部材を第2の導光部材の成形金型の一部として使用する2色成形を行うことによって、これら両導光部材を一体化してなる導光体を容易に製造できる。
【0010】
また、かかる導光体は、第1の導光部材が有色透明で第2の導光部材が無色透明であることが好ましい。すなわち、無色透明な導光部材は光透過率が高いので、第2の導光部材の一端面に入射される光源の光は光路長が長くても他端面まで効率よく導かれることとなり、一方、有色透明な導光部材は内壁面に入射される光源の光を短い光路長で外壁面から出射させれば調色機能を果たすので、第1の導光部材によって照射される照光領域が輝度不足を起こす心配もなくなる。
【0011】
その場合、無色透明な第2の導光部材が、有色透明な第1の導光部材の外表面を被覆する被覆部と、この被覆部から突出する光案内部とを有すると共に、該被覆部と第1の導光部材とからなる積層構造部に光源が配置される内側の空間を外側の空間と連通させるための切欠きを設けておけば、第1および第2の導光部材を広い面積で密着接合させることができるため機械的強度が確保しやすくなると共に、光源の発生する熱が積層構造部の外部へ放出されやすくなるので導光体の熱損傷が防止できて好ましい。
【0012】
【発明の実施の形態】
発明の実施の形態について図面を参照して説明すると、図1は本発明の実施形態例に係る照光機構の説明図、図2は該照光機構に備えられる導光体の斜視図であり、図3に対応する部分には同一符号を付してある。
【0013】
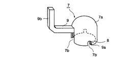
図1,2において、符号7は2色成形技術によって製造した導光体である。この導光体7は、ポリカーボネイト樹脂に顔料を添加して薄橙色に染色した光透過性の導光部材8と、アクリル樹脂からなる無色透明な導光部材9とを密着接合した構造になっている。有色透明な導光部材8は略半球状に成形されたモールド品であり、光源4を覆う位置に配置されて照光領域A1に照射光を供給する。無色透明な導光部材9は、導光部材8の外表面を被覆する略半球状の被覆部9aと、略直角に折れ曲がった棒状体である光案内部9bとからなるモールド品である。この導光部材9は、光案内部9bの一端面が光源4と対向して他端面が照光領域A2と対向するように配置され、照光領域A2に照射光を供給する。つまり、導光体7は外観上、導光部材8と被覆部9aとが密着接合されている略半球状の積層構造部7aと、この積層構造部7aから側方へ突出して前方へ延びるL字状の光案内部9bとに区別することができる。なお、積層構造部7aの複数箇所には、内側の空間を外側の空間と連通させるための切欠き7bが設けられている。
【0014】
かかる導光体7を製造する際には、まず導光部材8を成形し、次いでこの導光部材8を成形金型の一部として導光部材9を成形するという2色成形を行う。このとき、導光部材8の材料であるポリカーボネイト樹脂は耐熱性が高く、導光部材9の材料であるアクリル樹脂の溶融温度では溶融しないので、導光部材9の成形時に導光部材8が変形することはない。こうして2色成形を行うことにより、有色透明な導光部材8と無色透明な導光部材9とが密着接合された一体品の導光体7が得られる。この導光体7の第1および第2の導光部材8,9は、広い面積で密着接合しているため強固に一体化されている。
【0015】
図1に示すように、かかる導光体7が組み込まれた照光機構には操作つまみ2の周辺に照光領域A1,A2が設けられている。これらの照光領域A1,A2はパネル部材1の無色透明な領域に有色印刷を施して形成したものであり、操作つまみ2を包囲する比較的広い照光領域A1は第1の照光色(黄橙色)に着色されており、それよりも狭い照光領域A2は第2の照光色(青色)に着色されている。また、パネル部材1の内部に組み込まれた回路基板3上には、操作つまみ2の後方に光源4が実装されており、この光源4を覆う位置に導光体7の積層構造部7aが配置されている。したがって、光源4から出射された白色光は薄橙色の導光部材8を透過すると第1の照光色に近い色に変化し、この光が無色透明な被覆部9aを透過して照光領域A1に後方から照射されることになる。これにより、照光領域A1を主たる照光色である第1の照光色で照光させることができる。また、導光体7の光案内部9bは一端面が光源4と対向して他端面が照光領域A2と対向するように配置されているので、光源4の白色光を色を変化させずにそのまま照光領域A2へと導くことができる。これにより、照光領域A2を印刷色を反映した第2の照光色で照光させることができる。
【0016】
なお、有色透明な第1の導光部材8は、内壁面に入射される光源4の光を短い光路長で外壁面から出射させて調色機能を果たすので、第1の導光部材8によって照射される照光領域A1が輝度不足を起こす心配はない。また、無色透明な第2の導光部材9は光透過率が高いので、光案内部9bの一端面に入射される光源4の光は光路長が長くても他端面まで効率よく導かれ、よって照光領域A2が輝度不足を起こす心配もない。
【0017】
このように本実施形態例においては、有色透明な導光部材8と無色透明な導光部材9とを密着接合してなる導光体7を用いているため、互いの照光色が大きく異なる照光領域A1と照光領域A2を共通の光源4によって照光させることができて、調色キャップも不要となっている。また、この導光体7は2色成形技術によって容易に製造できる。したがって、光源や調色キャップ等の部品点数削減に伴い簡素な構成の照光機構が実現できて、顕著なコストダウンが期待できる。
【0018】
また、本実施形態例で用いた導光体7は、積層構造部7aの内壁側を耐熱性の高いポリカーボネイト樹脂製の導光部材8とし、かつ積層構造部7aに切欠き7bを設けて光源4の熱を外部へ放出しやすくしているので、光源4に調色キャップ4aを直接取り付けていた従来例(図3参照)に比べると、光源4の熱で導光体7が損傷する心配はない。
【0019】
なお、本実施形態例で用いた導光体7には光源4の光を所定の照光領域へと導く光案内部9bが一つだけしか設けていないが、同様の光案内部を複数箇所に突出形成したり分岐形成しておけば、導光部材9によって複数箇所の照光領域に光源4の光を分配することができる。
【0020】
【発明の効果】
本発明は、以上説明したような形態で実施され、以下に記載されるような効果を奏する。
【0021】
有色透明な導光部材と無色透明な導光部材とを密着接合してなる導光体を用いており、光源から出射された光のうち、有色透明な導光部材を透過して色が変化した光が照射される照光領域と、無色透明な導光部材を透過した光が照射される別の照光領域とで、照光色を大きく異ならせることができるため、照光機構の光源の数が減らせ調色キャップも不要となる。それゆえ、部品点数の削減に伴って簡素な構成の照光機構が実現できて、顕著なコストダウンが期待できる。また、かかる導光体は2色成形技術によって容易に製造することができる。
【図面の簡単な説明】
【図1】本発明の実施形態例に係る照光機構の断面図である。
【図2】該照光機構に備えられる導光体の斜視図である。
【図3】従来例に係る照光機構の断面図である。
【符号の説明】
1 パネル部材
2 操作つまみ
3 回路基板
4 光源
7 導光体
7a 積層構造部
7b 切欠き
8 導光部材(第1の導光部材)
9 導光部材(第2の導光部材)
9a 被覆部
9b 光案内部
A1,A2 照光領域

Claims (3)

  1. 光透過性材料からなり光源を覆う位置に配置された第1の導光部材と、光透過性材料からなり前記第1の導光部材に密着接合されて一端面を前記光源に対向させ、かつ他端面を所定の照光領域に対向させた第2の導光部材とを備え、これら第1および第2の導光部材のいずれか一方が無色透明で他方が有色透明である照光機構であって、
    前記第1の導光部材の光透過性材料が前記第2の導光部材の光透過性材料よりも溶融温度が高く、かつ、予め成形した前記第1の導光部材を前記第2の導光部材の成形金型の一部として使用する2色成形を行うことによってこれら両導光部材が一体化されていることを特徴とする照光機構。
  2. 請求項1の記載において、前記第1の導光部材が有色透明で前記第2の導光部材が無色透明であることを特徴とする照光機構。
  3. 請求項の記載において、前記第2の導光部材が、前記第1の導光部材の外表面を被覆する被覆部と、この被覆部から突出する光案内部とを有すると共に、前記被覆部と前記第1の導光部材とからなる積層構造部に前記光源が配置される内側の空間を外側の空間と連通させるための切欠きを設けたことを特徴とする照光機構。
JP2002283353A 2002-09-27 2002-09-27 照光機構 Expired - Fee Related JP4138427B2 (ja)

Priority Applications (3)

Application Number Priority Date Filing Date Title
JP2002283353A JP4138427B2 (ja) 2002-09-27 2002-09-27 照光機構
DE2003620195 DE60320195T2 (de) 2002-09-27 2003-09-23 Beleuchtungsvorrichtung
EP20030021496 EP1403667B1 (en) 2002-09-27 2003-09-23 Illumination mechanism

Applications Claiming Priority (1)

Application Number Priority Date Filing Date Title
JP2002283353A JP4138427B2 (ja) 2002-09-27 2002-09-27 照光機構

Publications (2)

Publication Number Publication Date
JP2004118008A JP2004118008A (ja) 2004-04-15
JP4138427B2 true JP4138427B2 (ja) 2008-08-27

Family

ID=31973349

Family Applications (1)

Application Number Title Priority Date Filing Date
JP2002283353A Expired - Fee Related JP4138427B2 (ja) 2002-09-27 2002-09-27 照光機構

Country Status (3)

Country Link
EP (1) EP1403667B1 (ja)
JP (1) JP4138427B2 (ja)
DE (1) DE60320195T2 (ja)

Families Citing this family (1)

* Cited by examiner, † Cited by third party
Publication number Priority date Publication date Assignee Title
US9822944B2 (en) * 2015-05-22 2017-11-21 Magna International Inc. Vehicle light assembly having a colored appearance in an unlit state

Family Cites Families (2)

* Cited by examiner, † Cited by third party
Publication number Priority date Publication date Assignee Title
DE561922C (de) * 1930-01-28 1932-10-19 Sendlinger Optische Glaswerke Leuchte mit im Innern eines Behaelters mit rueckstrahlenden Waenden angeordneter Lichtquelle und entfernt liegenden Lichtaustrittsstellen
DE2029317A1 (de) * 1970-06-13 1971-12-16 Hanel G Bifunktionsleuchte

Also Published As

Publication number Publication date
EP1403667B1 (en) 2008-04-09
DE60320195T2 (de) 2009-07-09
JP2004118008A (ja) 2004-04-15
EP1403667A1 (en) 2004-03-31
DE60320195D1 (de) 2008-05-21

Similar Documents

Publication Publication Date Title
US12214720B2 (en) Vehicular exterior rearview mirror assembly
CN113165580B (zh) 用于机动车的标志装置
US8469563B2 (en) Turn-indicator light module for a vehicle mirror assembly and vehicle mirror assembly comprising a turn-indicator light module
JP6590935B2 (ja) エンブレムを照明するための光アセンブリ
JP2001163117A (ja) 自動車用照明プレート
JP2006509343A (ja) 車両用ランプ
US20050094405A1 (en) Illumination device for license plate
GB2489813A (en) An illuminating formed part, especially a decorative covering part for the interior space of a vehicle
CN115570952B (zh) 机动车辆、车门与发光玻璃总成
US12429189B2 (en) Mini or micro LED-based light module configured to perform plural light functions seamlessly with different light guides in unitary assembly
CN112601678A (zh) 用于机动车的照明装置
CN113167456A (zh) 用于机动车的灯
JP2004265697A (ja) 信号灯具及び信号灯具の反射構造
CN108877568A (zh) 可视化标识组件和机动车辆
JP4138427B2 (ja) 照光機構
JP2003281908A (ja) 照明装置
JP2007523004A (ja) 信号組立体
US20240274771A1 (en) Optoelectronic lighting device
JP2003222541A (ja) 発光装置
JP7614066B2 (ja) 車両用灯具
JP6984334B2 (ja) 発光装置
CN223045667U (zh) 发光徽标组件和车辆
CN223148308U (zh) 发光总成
JP7139140B2 (ja) 車両用照明装置、車両用灯具、車両用灯具付きウィンドウパネル、車載ディスプレイ
KR20250122498A (ko) 차체 부분 및 광원을 갖는 차량

Legal Events

Date Code Title Description
A621 Written request for application examination

Free format text: JAPANESE INTERMEDIATE CODE: A621

Effective date: 20050420

A131 Notification of reasons for refusal

Free format text: JAPANESE INTERMEDIATE CODE: A131

Effective date: 20080226

A521 Written amendment

Free format text: JAPANESE INTERMEDIATE CODE: A523

Effective date: 20080421

TRDD Decision of grant or rejection written
A01 Written decision to grant a patent or to grant a registration (utility model)

Free format text: JAPANESE INTERMEDIATE CODE: A01

Effective date: 20080513

A01 Written decision to grant a patent or to grant a registration (utility model)

Free format text: JAPANESE INTERMEDIATE CODE: A01

A61 First payment of annual fees (during grant procedure)

Free format text: JAPANESE INTERMEDIATE CODE: A61

Effective date: 20080605

R150 Certificate of patent or registration of utility model

Free format text: JAPANESE INTERMEDIATE CODE: R150

Ref document number: 4138427

Country of ref document: JP

Free format text: JAPANESE INTERMEDIATE CODE: R150

FPAY Renewal fee payment (event date is renewal date of database)

Free format text: PAYMENT UNTIL: 20110613

Year of fee payment: 3

FPAY Renewal fee payment (event date is renewal date of database)

Free format text: PAYMENT UNTIL: 20120613

Year of fee payment: 4

FPAY Renewal fee payment (event date is renewal date of database)

Free format text: PAYMENT UNTIL: 20120613

Year of fee payment: 4

FPAY Renewal fee payment (event date is renewal date of database)

Free format text: PAYMENT UNTIL: 20130613

Year of fee payment: 5

FPAY Renewal fee payment (event date is renewal date of database)

Free format text: PAYMENT UNTIL: 20140613

Year of fee payment: 6

S533 Written request for registration of change of name

Free format text: JAPANESE INTERMEDIATE CODE: R313533

R350 Written notification of registration of transfer

Free format text: JAPANESE INTERMEDIATE CODE: R350

LAPS Cancellation because of no payment of annual fees