JP4100482B2 - 排ガス浄化装置、方法およびコロナ放電装置 - Google Patents

排ガス浄化装置、方法およびコロナ放電装置 Download PDF

Info

Publication number
JP4100482B2
JP4100482B2 JP14397799A JP14397799A JP4100482B2 JP 4100482 B2 JP4100482 B2 JP 4100482B2 JP 14397799 A JP14397799 A JP 14397799A JP 14397799 A JP14397799 A JP 14397799A JP 4100482 B2 JP4100482 B2 JP 4100482B2
Authority
JP
Japan
Prior art keywords
water
discharge
exhaust gas
water surface
electrode
Prior art date
Legal status (The legal status is an assumption and is not a legal conclusion. Google has not performed a legal analysis and makes no representation as to the accuracy of the status listed.)
Expired - Fee Related
Application number
JP14397799A
Other languages
English (en)
Other versions
JP2000325745A (ja
Inventor
靖史 荒生
富朗 藤井
Current Assignee (The listed assignees may be inaccurate. Google has not performed a legal analysis and makes no representation or warranty as to the accuracy of the list.)
Kawasaki Motors Ltd
Original Assignee
Kawasaki Jukogyo KK
Priority date (The priority date is an assumption and is not a legal conclusion. Google has not performed a legal analysis and makes no representation as to the accuracy of the date listed.)
Filing date
Publication date
Application filed by Kawasaki Jukogyo KK filed Critical Kawasaki Jukogyo KK
Priority to JP14397799A priority Critical patent/JP4100482B2/ja
Publication of JP2000325745A publication Critical patent/JP2000325745A/ja
Application granted granted Critical
Publication of JP4100482B2 publication Critical patent/JP4100482B2/ja
Anticipated expiration legal-status Critical
Expired - Fee Related legal-status Critical Current

Links

Images

Classifications

    • YGENERAL TAGGING OF NEW TECHNOLOGICAL DEVELOPMENTS; GENERAL TAGGING OF CROSS-SECTIONAL TECHNOLOGIES SPANNING OVER SEVERAL SECTIONS OF THE IPC; TECHNICAL SUBJECTS COVERED BY FORMER USPC CROSS-REFERENCE ART COLLECTIONS [XRACs] AND DIGESTS
    • Y02TECHNOLOGIES OR APPLICATIONS FOR MITIGATION OR ADAPTATION AGAINST CLIMATE CHANGE
    • Y02ATECHNOLOGIES FOR ADAPTATION TO CLIMATE CHANGE
    • Y02A50/00TECHNOLOGIES FOR ADAPTATION TO CLIMATE CHANGE in human health protection, e.g. against extreme weather
    • Y02A50/20Air quality improvement or preservation, e.g. vehicle emission control or emission reduction by using catalytic converters

Landscapes

  • Electrostatic Separation (AREA)
  • Exhaust Gas After Treatment (AREA)
  • Processes For Solid Components From Exhaust (AREA)
  • Chimneys And Flues (AREA)
  • Treating Waste Gases (AREA)

Description

【0001】
【発明の属する技術分野】
本発明は、窒素酸化物、硫黄酸化物および粉塵を含む排ガスを浄化する排ガス浄化装置に関する。
【0002】
【従来の技術】
従来から、火力発電所などの大容量のボイラから排出される窒素酸化物(以後、NOxと略称することがある)および硫黄酸化物(以後、SOxと略称することがある)は脱硝装置および脱硫装置によってそれぞれ除去されている。
【0003】
脱硝装置では、通常アンモニア還元法によって排ガスの脱硝処理が行われている。アンモニア還元法は、触媒層を備える脱硝反応器にNOxを含む高温の排ガスを導き、アンモニアを噴霧して両者を反応させ、NOxをアンモニアによって還元して窒素と水蒸気とに分解させる方法である。この方法には、脱硝反応器でアンモニアとNOxとが化学反応を起こし、粉末状の硝安が発生して飛散することがあるので、脱硝反応器の下流側に電気集塵機を設ける必要がある。また脱硝反応器で化学反応を起こさなかったアンモニアが処理ガスとともに流出するおそれがあるので、アンモニア流出防止装置を設ける必要がある。このように、従来の脱硝装置には、構成が複雑になるという問題がある。
【0004】
脱硫装置では、通常湿式石灰石こう法によって排ガスの脱硫処理が行われている。湿式石灰石こう法は、SOxを含む排ガスを吸収塔に導き、アルカリ原料を含む吸収液を噴霧してSOxを吸収し、空気を吹き込んで吸収液中の亜硫酸を酸化し、酸化反応によって生成した硫酸を石灰石によって中和し、中和反応によって得られた石こうを回収する方法である。この方法には、超微細粒子であるSO3ミストの除去効率が低く、除去に長時間を要するという問題がある。また固形物の廃棄物である石こうが生じるという問題がある。
【0005】
さらに、従来の脱硝処理および脱硫処理は前述のように異なる原理に基づいてそれぞれ行われているので、各処理毎に処理装置を設ける必要があり、1つの装置で同時に脱硝および脱硫処理を行うことができないという問題がある。このような従来技術の問題点を解消するために、いくつかの先行技術が開示されている。
【0006】
特開平10−15346号公報には、排ガスを導通する排ガス流通路を備え、その排ガス流通路に一対のパルス放電電極を備えた放電室を形成し、放電室にミストもしくは水蒸気を供給する水分供給装置を設け、放電室を水分存在下でコロナ放電自在に形成した脱硝装置が開示されている。この先行技術では、一対のパルス放電電極間にコロナ放電を発生させて排ガスの脱硝処理が行われるので、脱硝処理を効率的に行うには一方の電極を排ガスの流れ方向に沿って放電室全域にわたって延びるように形成する必要があり、電極が大形化するという問題がある。
【0007】
特開平8−10643号公報には、SOxを含む排ガスを湿式電気集塵装置に導き、その集塵極板の全表面にわたって均一にアルカリ吸収液膜を流下させ、コロナ放電を発生させて脱硫処理を行う脱硫方法が開示されている。この先行技術では、湿式電気集塵装置の集塵極板の全表面に液膜を形成して脱硫処理が行われるので、吸収液の循環装置を設ける必要があり、構成が複雑になるという問題がある。
【0008】
【発明が解決しようとする課題】
本発明の目的は、前記問題を解決し、簡単な構成で効率的に排ガスの脱硝、脱硫および除塵処理を同時に行うことのできる排ガス浄化装置を提供することである。
【0009】
【課題を解決するための手段】
本発明は、排ガスを導く排ガス管路と、
排ガス管路の下流側に連なる処理容器であって、内部空間には部分的に水が貯留され、水面よりも上方に放電空間10が形成される処理容器と、
放電空間に水面から間隔をあけて設けられ、水流路を有し、先端が水面に向かうにつれて先細状に鋭く尖っており、この先端から、水流路からの水がミスト状に、噴射される放電ノズル18,28と、
水中に設けられる電14と、
放電ノズル18,28の先端と電極14との間に高電圧を印加し、放電ノズル18,28と水面との間にコロナ放電を発生させて水面を波立たせる電源とを含むことを特徴とする排ガス浄化装置である。
本発明は、放電ノズル18は、
水流路24と空気流路25とを有し、
先端部は、水面に向かうにつれて先細状に形成されており、この先端部には、噴出口26が形成され、その最先端は鋭く尖っており、
放電ノズル18内で水流路24からの水が空気流路25からの空気によってミスト化され、ミスト化された水が噴出口26から放電空間10に空気とともに噴射されることを特徴とする。
本発明は、放電ノズル28は、
(a)供給口31から水面に向かう吐出口33に直角に屈曲した水流路を有するノズル本体29と、
(b)ノズル本体29の吐出口33に取付けられる金属製シャワーリング30であって、
基端部内周面に、水噴射方向下流側に向かうにつれてシャワーリング30の軸線30aから離間する円錐台状の傾斜面34が形成され、
遊端部に、水噴射方向下流側に向かうにつれて先細状に延び、先端が鋭く尖っている三角形の突起35が、周方向に間隔をあけて形成され、
傾斜面34に沿って吐出される水が、突起35に衝突し、ミスト化されて円錐台状に噴霧されるシャワーリング30とを含むことを特徴とする。
【0010】
本発明に従えば、放電ノズル18,28と水面との間にコロナ放電が発生するので、空気からオゾンおよび各種ラジカルを発生させることができる。排ガス中に窒素酸化物、硫黄酸化物および粉塵が含まれる場合、オゾンは排ガス中の一酸化窒素および二酸化硫黄を酸化して二酸化窒素および三酸化硫黄に変換する。二酸化窒素および三酸化硫黄は水に溶解しやすいので、水と接触させれば水に溶解して排ガス中から除去される。また、コロナ放電によって粉塵を帯電させて水面に付着させることができる。これによって、簡単な構成で排ガス中の窒素酸化物、硫黄酸化物および粉塵を効率的に同時に除去することができる。
【0012】
放電ノズル18,28から水を噴霧することができるので、水に溶解しやすい二酸化窒素および三酸化硫黄をその場で噴霧水中に溶解することができる。また粉塵を噴霧水に付着させて除去することができる。したがって、排ガス中の窒素酸化物、硫黄酸化物および粉塵をさらに効率的に除去することができる。
放電ノズル18,28には水面に向かうにつれて先細状に延びる部分が形成されているので、まわりの電場をその部分に集中させることができ、コロナ放電の発生を容易にすることができる。
【0013】
また本発明は、前記排ガス管路に水噴霧装置を設けることを特徴とする。
【0014】
本発明に従えば、水噴霧装置から排ガス管路を介して放電空間に噴霧水を供給することができるので、水に溶解しやすい二酸化窒素および三酸化硫黄をその場で噴霧水中に溶解することができる。また、粉塵を噴霧水に付着させて除去することができる。したがって、排ガス中の窒素酸化物、硫黄酸化物および粉塵をさらに効率的に除去することができる。
【0015】
また本発明で、前記電源は、放電ノズル18,28の先端と電極14との間にパルス電圧を印加することを特徴とする。
【0016】
本発明に従えば、放電ノズル18,28と電極14との間にパルス電圧が印加されるので、後述のように大電流のパルスコロナ放電を発生させることができる。コロナ電流の増大は、オゾンおよびラジカル(活性種)の発生量を増大させるので、これによって脱硝および脱硫反応を促進することができる。したがって、放電時間が短いにもかかわらず、連続的なコロナ放電の場合とほぼ同一の脱硝および脱硫効率を達成することができる。また放電時間が極めて短いので、電流値が大きくても連続的なコロナ放電と比べて大幅に電力を少なくすることができる。
【0019】
また本発明で前記排ガス管路に導かれる排ガスは、窒素酸化物、硫黄酸化物、粉塵などの可溶性汚染物質のうちの少なくとも1つを含むことを特徴とする。
【0020】
本発明に従えば、排ガスには可溶性汚染物質が含まれるので、放電ノズル18,28と水面との間のコロナ放電によって排ガスを確実に浄化することができる。
【0021】
また本発明は、前記の排ガス浄化装置を準備し、
前記排ガス管路に窒素酸化物、硫黄酸化物、粉塵などの可溶性汚染物質のうちの少なくとも1つを含む排ガスを供給し、
放電ノズル18,28と電極14との間に高電圧を印加し、放電ノズル18,28と水面との間にコロナ放電を発生させることを特徴とする排ガス浄化方法である。
【0022】
本発明に従えば、放電ノズル18,28と水面との間にコロナ放電が発生している状態で可溶性汚染物質を含む排ガスが供給されるので、排ガスを確実に浄化することができる。
【0023】
また本発明は、(a)内部空間を有し、内部空間には部分的に水が貯留され、水面よりも上方に放電空間10が形成される処理容器4と、
(b)放電空間10に水面から間隔をあけて設けられる放電ノズル18であって、この放電ノズル18は、
水流路24と空気流路25とを有し、
先端部は、水面に向かうにつれて先細状に形成されており、この先端部には、噴出口26が形成され、その最先端は鋭く尖っており、
放電ノズル18内で水流路24からの水が空気流路25からの空気によってミスト化され、ミスト化された水が噴出口26から放電空間10に空気とともに噴射される放電ノズル18と、
(c)水中に設けられる電極14と、
(d)放電ノズル18の先端と電極14との間に高電圧を印加し、放電ノズル18と水面との間にコロナ放電を発生させて水面を波立たせる電源とを含むことを特徴とするコロナ放電装置である。
本発明は、(a)内部空間を有し、内部空間には部分的に水が貯留され、水面よりも上方に放電空間10が形成される処理容器4と、
(b)放電空間10に水面から間隔をあけて設けられる放電ノズル28であって、この放電ノズル28は、
(b1)供給口31から水面に向かう吐出口33に直角に屈曲した水流路を有するノズル本体29と、
(b2)ノズル本体29の吐出口33に取付けられる金属製シャワーリング30であって、
基端部内周面に、水噴射方向下流側に向かうにつれてシャワーリング30の軸線30aから離間する円錐台状の傾斜面34が形成され、
遊端部に、水噴射方向下流側に向かうにつれて先細状に延び、先端が鋭く尖っている三角形の突起35が、周方向に間隔をあけて形成され、
傾斜面34に沿って吐出される水が、突起35に衝突し、ミスト化されて円錐台状に噴霧されるシャワーリング30とを含む放電ノズル28と、
(c)水中に設けられる電極14と、
(d)シャワーリング30と電極14との間に高電圧を印加し、シャワーリング30と水面との間にコロナ放電を発生させて水面を波立たせる電源とを含むことを特徴とするコロナ放電装置である。
【0024】
本発明に従えば、放電空間10において放電ノズル18,28と水面との間にコロナ放電を発生させることができるので、後述の図2に示すようにコロナ放電開始から火花放電で至るまでの電圧と電流との関係を直線的にすることができる。したがって、電圧制御が容易であり、火花放電を発生させることなく、安定したコロナ放電を発生させることができる。
【0025】
【発明の実施の形態】
図1は、本発明の第1参考例である排ガス浄化装置1の構成を簡略化して示す正面図である。排ガス浄化装置1は、排ガスを導く排ガス管路3と、排ガス管路3の排ガス流れ方向下流側に連なる処理容器4とを備える。排ガス管路3には、排ガス導入口5および整流板6が設けられており、整流板6には、複数の絞り孔7が形成されている。処理容器4は、内部空間を有し、内部空間には部分的に水が貯留され、水面よりも上方に放電空間10が形成されている。処理容器4の排ガス流れ方向上流側側壁12aには、複数の絞り孔7が形成されており、処理容器4の下流側側壁12b付近には排ガス排出口11が設けられている。
【0026】
処理容器4の放電空間10の上部には、複数の第1電極13が設けられている。第1電極13は、水面に向かうにつれて先細状に延びる部分を少なくとも有することが好ましい。これは、まわりの電場を先細状の部分に集中させることができ、電界強度を高めてコロナ放電の発生を容易にすることができるからである。第1電極13は、金属製であり、たとえば針状の形状を有する。この第1電極13の形状については、特定の形状に限定されるものではなく、局部的に大きな電場を形成できるものであれば様々な形状のものを適用することができる。処理容器4の水中には、第2電極14が浸漬されている。第2電極14は、たとえば金属製平板電極であり、ほぼ水平方向に延在する。処理容器4の近傍には、電源である直流電源15が設けられており、直流電源15は第1電極13と第2電極14とに接続される。第1および第2電極13,14の極性は切換え自在に構成される。
【0027】
排ガス管路に導かれる排ガスは、NOx,SOxなどの可溶性汚染物質および粉塵のうちの少なくとも1つを含むことが好ましい。これは、後述のように排ガス浄化装置1によってNOx、SOxなどの可溶性汚染物質および粉塵を効率的に除去することができるからである。NOx、SOxなどの可溶性汚染物質および粉塵を含む排ガスは、排ガス導入口5から排ガス管路3に流入し、絞り孔7を通過して整流化され、処理容器4の放電空間10内に導かれる。放電空間10に導入された排ガスは、後述のように脱硝、脱硫および除塵処理され、排ガス排出口11から排出される。直流電源15は、第1および第2電極13,14間に直流高電圧を印加し、第1電極13と水面との間にコロナ放電(以後、水面コロナ放電と呼ぶことがある)を発生させる。
【0028】
図2は、水面コロナ放電における電圧と電流との関係の一例を示すグラフである。図中の●印は第1電極13が正極であることを示す記号であり、■印は第1電極13が負極であることを示す記号である。水の初期導電率は0.21mS/cmである。図2から、コロナ放電開始電圧は第1電極13の極性にかかわらず約6kVであること、火花放電に至るまでの電圧と電流との間にはほぼ直線的な正比例関係が存在すること、第1電極13が正極であるときの火花放電発生電圧は第1電極13が負極であるときよりも小さいことなどが判る。また本発明者らの研究によれば、コロナ放電開始電圧および火花放電に至るまでの電圧と電流との関係は、第1電極13の極性にかかわらず第1電極13の先端と水面との距離に依存し、水の導電率にはほとんど影響されないこと、水面コロナ放電の第1電極13と水面との距離はほぼ気中コロナ放電の電極間の距離に対応していることなどが判明した。
【0029】
これらの特性から、コロナ放電開始電圧は第1電極13の先端の電界強度に依存し、その後のコロナ電流は空気と水との複合誘導体による電界および水の導電性に依存するものと考えられる。すなわち、水面コロナ放電は第1電極13と第2電極14との間で開始され、引続き第1電極13と水面との間で進行するものと考えられる。このように、コロナ放電開始後には水面がいわば広い電極として作用するので、第2電極14は水面下の全域にわたって設けなくてもよい。したがって、第2電極14の面積を減少させることができ、電極の構成を簡単にすることができる。また火花放電に至るまでの電圧と電流との間には、ほぼ直線的な関係が存在するので、電圧制御が容易であり、火花放電が発生しないように電圧を確実に制御することができる。
【0030】
図3は第1電極13が負極のときにおける水面コロナ放電の電力と、排ガス中のNOx濃度との関係を示すグラフであり、図4は第1電極13が正極のときにおける水面コロナ放電の電力と排ガス中のNOx濃度との関係を示すグラフである。図3および図4の水面コロナ放電は、第1電極13の先端から水面までの距離および第2電極14の浸漬深さをそれぞれ12mm,5mmに設定し、NOxおよび粉塵を含む排ガスを放電空間10に導入して行った。図3および図4中の■印は、排ガス中のNOx濃度を表す記号であり、●印は排ガス中の水に溶解しにくい成分である一酸化窒素(以後、NOと呼ぶ)濃度を表す記号であり、▲印は排ガス中の水に溶解しやすい成分である二酸化窒素(以後、NO2と呼ぶ)濃度を表す記号である。このうち、NOxおよびNO濃度はガス分析によって求めた分析値であり、NO2濃度はNOx濃度からNO濃度を減算して求めた計算値である。
【0031】
図3および図4から次のことが判る。
(a)NO濃度は、第1電極13の極性にかかわらず電力の増加につれて減少し、第1電極13が負極のとき約9Wで、第1電極13が正極のとき約3.5Wでそれぞれ零になる。
(b)NOx濃度は、第1電極13の極性にかかわらず電力の増加につれて減少し、第1電極13が負極のとき約12Wで、第1電極13が正極のとき約5.5Wでそれぞれ初期濃度に比べて半減する。
(c)NO2濃度は、第1電極13の極性にかかわらずNO濃度の減少につれて増加し、NO濃度が零になると電力の増加により次第に減少する。
【0032】
このような排ガス中のNOx,NO,NO2の変化は、つぎのような反応によって生じるものと考えられる。放電空間10では、水面コロナ放電によって空気中の酸素からオゾンが発生し、オゾンによって排ガス中のNOが酸化されて化1に示す反応式でNO2に変換され、可溶性のNO2が化2に示す反応式で水に溶解して排ガス中から除去される。また水面コロナ放電では、放電に伴うイオン風が水面に向かって発生するので、NO2が水面に向かって移動するとともに水面が波立ってNO2の水への溶解を促進する。さらに、コロナ電流の増加とともに水蒸気が発生して放電空間へ水蒸気が供給されるので、OHラジカルが発生してNOxの分解を促進する。
【0033】
【化1】
NO + O3 → NO2 + O2
【0034】
【化2】
3NO2 + H2O → 2HNO3 + NO
【0035】
このように排ガス浄化装置1では、放電空間で水面コロナ放電を発生させてNOx中の水に溶解しにくい成分を水に溶解しやすい成分に変換し、変換した成分を水に溶解させて脱硝処理を行うので、簡単な構成で排ガス中のNOxを効率的に除去することができる。また第1電極13の極性を正極にすると、それを負極にするときよりも少ない電力で排ガス中のNOxを除去することができる。したがって、水面コロナ放電によって脱硝処理を行うときには第1電極13の極性を正極にすることが好ましい。
【0036】
このような排ガス中のNOxを除去する原理は、排ガス中のSOxの除去にも応用できる。すなわち、オゾンによって排ガス中のSOおよびSO2を酸化して水に溶解しやすい成分であるSO3に変換し、SO3を水に溶解して排ガス中のSOxを除去することができる。放電空間10における脱硫反応は、化3〜化5によって進行する。
【0037】
【化3】
SO + O3 → SO2 + O2
【0038】
【化4】
SO2 + O3 → SO3 + O2
【0039】
【化5】
SO3 + H2O → H2SO4
【0040】
このように排ガス浄化装置1では、放電空間10で水面コロナ放電を発生させてSOx中の水に溶解しにくい成分を水に溶解しやすい成分に変換し、変換した成分を水に溶解させて脱硫処理を行うので、簡単な構成で排ガス中のSOxを効率的に除去することができる。
【0041】
前述のように、排ガス浄化装置1では、電極間に高電圧を印加し、水面コロナ放電を発生させるように構成されている。このような構成は排ガス中の粉塵(以後、ダストと呼ぶことがある)の除去にも応用できる。すなわち、水面コロナ放電によってダストを帯電させ、ダストを水面に付着させて除去することができる。
【0042】
図5は第1電極13が負極のときにおける水面コロナ放電の電流とダスト除去率との関係を示すグラフであり、図6は第1電極13が正極のときにおける水面コロナ放電の電流とダスト除去率との関係を示すグラフである。図5および図6の水面コロナ放電は、第1電極13の先端から水面までの距離および第2電極14の浸漬深さを、それぞれ12mm,5mmに設定し、粉塵およびNOxを含むディーゼルエンジンの排ガスを放電空間10に導入して行った。図5および図6から、第1電極13の極性にかかわらず水面コロナ放電の発生とともにダスト除去率が80%以上になること、第1電極13の極性にかかわらず電流値の増大につれてダスト除去率が高くなり、微小な電流値でダスト除去率が90%以上になること、ダスト除去率がほぼ100%に達する電流値は第1電極13の極性が正極のときの方が小さいことなどが判る。
【0043】
このように、第1参考例の集塵装置におけるダスト除去率が良好である理由は、コロナ放電によって絶縁物ダストが帯電するとともにカーボンなど導電物ダストもイオンが付着して帯電すること、水面に集塵・付着したダストは水の粘性により再飛散しにくいことなどによるものと考えられる。
【0044】
前述のように、排ガス浄化装置1は排ガス中のNOx、SOxおよびダストをそれぞれ効率的に除去することができる。これは、1つの装置で同時に脱硝、脱硫および除塵処理を行うことができることを示している。したがって、排ガス浄化装置1は、脱硝脱硫除塵装置として好適に使用できる。
【0045】
図7は、本発明の実施の第1形態である排ガス浄化装置17の主要部の構成を簡略化して示す正面図である。排ガス浄化装置17の主要部の構成は、前記排ガス浄化装置1の主要部の構成と類似しており、対応する部分には同一の参照符号を付し説明を省略する。注目すべきは、第1電極18の先端部付近から水を噴霧することができる点である。以後、水噴霧可能な第1電極を放電ノズルと呼ぶ。
【0046】
放電ノズル18は、先端部を水面に向けてノズルヘッダ19に取付けられている。ノズルヘッダ19には、直流電源15が接続されており、かつポンプ20が水供給管21を介して接続されている。直流電源15は、ノズルヘッダ19を介して放電ノズル18に電圧を印加する。ポンプ20は、水タンク22内の水を水供給管21を介してノズルヘッダ19および放電ノズル18に供給する。また、ノズルヘッダ19には図示しない空気供給管が接続されている。水供給管21および空気供給管は絶縁材料から成る。
【0047】
図8は図7に示す放電ノズル18の概略構成を示す正面図であり、図9は図7のIX−IXから見た底面図であり、図10は図7に示すノズルヘッダ19の概略構成を示す正面図である。放電ノズル18は2流体ノズルであり、その内部には水流路24および空気流路25が形成されている。水流路24は、放電ノズル18の中心部に形成されており、空気流路25はその外側に形成されている。放電ノズル18の先端部は、水面に向かうにつれて先細状に形成されており、その最先端は鋭く尖っている。これによって、コロナ放電を発生しやすくすることができる。放電ノズル18の先端部には、複数(本実施の形態では6個)の噴出口26が周方向に間隔をあけて形成されている。
【0048】
ノズルヘッダ19には、複数の放電ノズル18が間隔をあけて取付けられている。放電ノズル18の個数は適宜定められる。またノズルヘッダ19には、水導入口19aおよび空気導入口19bが設けられている。水導入口19aおよび空気導入口19bには、水供給管21および空気供給管が接続される。
【0049】
ノズルヘッダ19に供給された水および空気は、各放電ノズル18に導かれ、放電ノズル18内で空気によって水がミスト化され、ミスト化された水(以後、ミストと略称する)が噴出口26から放電空間に空気とともに噴射される。放電ノズル18と第2電極14との間には直流電源15から高電圧が印加され、放電ノズル18と水面との間にコロナ放電を発生させる。放電ノズル18から噴射されたミストは同じ極性に帯電し、相互に反発してさらに微細に分散する。
【0050】
このような放電空間10、すなわちミストの存在下でコロナ放電が発生している放電空間10にNOx、SOxおよび粉塵を含む排ガスを導入すると、前記化1、化3および化4の反応によってNO、SOおよびSO2がNO2およびSO3に変換され、さらにNO2およびSO3が化2および化5の反応によってミスト中に溶解する。このように生成したNO2およびSO3がその場でミスト中に溶解除去されるので、生成したNO2およびSO3が水面まで移動して水中に溶解除去される前記排ガス浄化装置1よりも迅速にNO2およびSO3を溶解除去することができる。また、ミストによってダストを除去することができるので、前記排ガス浄化装置1よりも迅速にダストを除去することができる。したがって、本実施の形態の排ガス浄化装置17は、排ガス浄化装置1よりも効率的に排ガス中のNOx、SOxおよび粉塵を除去することができる。
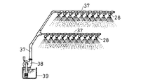
【0051】
図11は、本発明の実施の第2形態である放電ノズル28の概略構成を示す正面図であり、図12は図11に示す放電ノズル28の取付の一例を示す正面図である。放電ノズル28は、水を噴射する1流体ノズルであり、ノズル本体29とシャワーリング30とを含む。ノズル本体29には供給口31と吐出口33とが形成されており、ノズル本体29の内部には、供給口31と吐出口33とを結ぶ水流路が形成されている。水流路は直角に屈曲している。
【0052】
シャワーリング30は金属製リングであり、ノズル本体29の吐出口33に取付けられている。シャワーリング30の基端部側(ノズル本体側)内周面には、略円錐台状の傾斜面34が水噴射方向下流側に向かうにつれてシャワーリング30の軸線30aから離間するように形成されている。シャワーリング30の遊端部側には、水噴射方向下流側に向かうにつれて先細状に延びる略三角形の突起35が周方向に間隔をあけて形成されている。シャワーリング30は外周電極を形成する。シャワーリング30の突起35の先端は鋭く尖っており、コロナ放電の発生を容易にしている。ノズル本体29に供給された水は、水流路を経て吐出口33に達し、吐出口33に取付けられているシャワーリング30の傾斜面34に沿って吐出される。吐出された水は、シャワーリング30の突起35に衝突し、ミスト化されて充円錐台状に噴霧される。
【0053】
放電ノズル28は、突起35の先端を水面に向けて水供給管37に間隔をあけて複数個取付けられている。水供給管37は、複数列たとえば2列放電室10内に配置される。水供給管37には、ポンプ38が接続されており、ポンプ38は、水タンク39内の水を水供給管37を介して各放電ノズル28に供給する。放電ノズル28は、放電ノズル18のように空気によって水をミスト化する必要がないので、構成を簡単にすることができる。
【0054】
図13は本発明の第2参考例である放電ノズル40の概略構成を示す平面図であり、図14は図13の正面断面図である。放電ノズル40は、X形ワーラ41を備えており、X形ワーラ41によってミスト化された水を噴出口43から噴霧する。放電ノズル40の先端部は略円筒形であり、直流電圧が印加されると尖った先端隅部44と水面との間にコロナ放電を発生する。放電ノズル40は、ヘッダ45に複数個(第2参考例では7個)取付けられており、広い範囲にわたってミストを噴霧することができる。本発明の実施の第3形態では、放電ノズル40に代えて、放電ノズル18,28が用いられる
【0055】
図15は、本発明の第3参考例である排ガス浄化装置47の概略構成を示す正面図である。排ガス浄化装置47は、排ガス浄化装置1に類似しており、対応する部分には同一の参照符号を付し説明を省略する。注目すべきは、排ガス浄化装置47の排ガス管路3に水噴霧装置48が設けられている点である。水噴霧装置48は、たとえば超音波ミスト発生器であり、排ガス管路3を通過する排ガス中にミストを供給する。これによって、排ガス浄化装置47は排ガス浄化装置17と同様に放電空間10において排ガス中のNO、SOおよびSO2から変換されたNO2およびSO3をその場でミスト中に溶解して除去することができる。また、ミストによってダストを除去することができる。したがって、第3参考例の排ガス浄化装置47は排ガス浄化装置1よりも効率的に排ガス中のNOx、SOxおよびダストを除去することができる。本発明の実施の第4形態では、排ガス浄化装置47の第1電極13に代わって放電ノズル18,28設けられる
【0056】
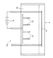
以上述べたように、排ガス浄化装置1,17,47は直流電源15から電極間に直流高電圧を印加するように構成されているけれども、本発明の実施の第5形態として各排ガス浄化装置1,17,47にパルス電圧発生電源50を設け、パルス電圧発生電源50から電極間にパルス電圧を印加し、パルスコロナ放電を発生させるように構成してもよい。パルス電圧発生電源50は、図16に示すように直流電源15で抵抗Rを介してコンデンサCを充電し、蓄えられた電荷をコンデンサCに接続された球ギャップG間で放電させることによってパルス電圧を発生する。パルス電圧の波長は、抵抗R1によって調整され、パルス電圧の立上がり時間はインダクタンスLによって調整される。
【0057】
図17は、パルス電圧の立上がり時間とピーク電流との関係を示すグラフである。パルス電圧の立上がり時間は、ピーク電圧の10%〜90%に到達するまでの所要時間を表す。図17から、パルス電圧の立上がり時間が短時間になるほどピーク電流値が大きくなること、立上がり時間100〜50nsに対応するピーク電流値が大きくなること、立上がり時間100〜50nsに対応するピーク電流値は6〜16Aであることが判る。前記図2に示すように、パルス電圧を印加しない直流コロナ放電の電流値は0〜1mAであるので、立上がり時間の短い急峻パルス電圧を印加することによって大電流値を得ることができる。これは、急峻パルス電圧を印加することによって初期電界によって電子のみが選択的に加速され、加速電子によるいわゆるストリーマコロナ放電が発生することによるものである。
【0058】
このように、急峻パルスコロナ放電は放電空間に大電流を流すことができるので、オゾンの発生量を増加させることができ、また高エネルギー加速電子によってラジカル生成密度を大きくすることができ、放電空間における脱硝反応を促進することができる。したがって、放電時間が短いにもかかわらず、前記連続コロナ放電とほぼ同一の脱硝効率を達成することができる。また、連続コロナ放電と比べて放電時間が極めて短く、1μsec程度であるので、電流値が大きくても電力を少なくすることができる。この結果、本実施の第5形態では、低電力で効率的に排ガス中のNOxを除去することができる。
【0059】
図18は、本発明の第4参考例であるコロナ放電装置53の概略構成を示す正面図である。コロナ放電装置53は、前記排ガス浄化装置1と類似しており、対応する部分には同一の参照符号を付し、説明を省略する。注目すべきは、コロナ放電装置53には排ガス浄化装置1の排ガス管路3が設けられていない点である。
【0060】
コロナ放電装置53の放電特性は図2に示す放電特性と同一であり、コロナ放電開始から火花放電に至るまでの電圧と電流との関係を直線的にすることができる。したがって、電圧制御が容易であり、火花放電の発生を確実に防止することができる。コロナ放電装置53は安定したコロナ放電発生装置として様々な用途に用いることができる。
【0061】
また直流電源15に代って、交流電源およびパルス電圧発生電源50を設けてもよい。本発明の実施の第6形態では、第1電極13に代って、放電ノズル18,28設けられる
【0062】
【発明の効果】
以上のように請求項1〜3記載の本発明によれば、排ガス中に窒素酸化物、硫黄酸化物および粉塵が含まれる場合コロナ放電によって窒素および硫黄酸化物中の水に溶解しにくい成分を水に溶解しやすい成分に変換することができるので、変換成分を水に溶解させて除去することができる。また、コロナ放電によって粉塵を帯電させて水面に付着させることができる。したがって、簡単な構成で排ガスを効率的に浄化することができる。
【0063】
放電ノズル18,28から水を噴霧することができるので、窒素および硫黄酸化物中の水に溶解しやすい成分をその場で噴霧水中に溶解することができる。また粉塵を噴霧水に付着させて除去することができる。したがって、排ガスをさらに効率的に浄化することができる。
放電ノズル18,28には水面に向かうにつれて先細状に延びる部分が形成されているので、まわりの電場をその部分に集中させることができ、コロナ放電の発生を容易にすることができる。
【0064】
また請求項記載の本発明によれば、水噴霧装置から噴霧水を供給することができるので、排ガスをさらに効率的に浄化することができる。
【0065】
また請求項記載の本発明によれば、放電ノズル18,28の先端と電極14との間にパルス電圧が印加されるので低電力で効率的に排ガスを浄化することができる。
【0067】
また請求項6記載の本発明によれば、排ガスには窒素酸化物、硫黄酸化物などの可溶性汚染物質および粉塵のうちの少なくとも1つが含まれるので、放電ノズル18,28と水面との間のコロナ放電によって排ガスを確実に浄化することができる。
【0068】
また請求項7記載の本発明によれば、放電ノズル18,28と水面との間にコロナ放電が発生している状態で窒素酸化物、硫黄酸化物などの可溶性汚染物質および粉塵のうちの少なくとも1つを含む排ガスが供給されるので、排ガスを確実に浄化することができる。
【0069】
また請求項8,9記載の本発明によれば、火花放電を発生させることなく、安定したコロナ放電を発生させることができる。
【図面の簡単な説明】
【図1】 本発明の第1参考例である排ガス浄化装置1の構成を簡略化して示す正面図である。
【図2】 水面コロナ放電における電圧と電流との関係の一例を示すグラフである。
【図3】 第1電極13が負極のときにおける水面コロナ放電の電力と排ガス中のNOx濃度との関係を示すグラフである。
【図4】 第1電極13が正極のときにおける水面コロナ放電の電力と排ガス中のNOx濃度との関係を示すグラフである。
【図5】 第1電極13が負極のときにおける水面コロナ放電の電流とダスト除去率との関係を示すグラフである。
【図6】 第1電極13が正極のときにおける水面コロナ放電の電流とダスト除去率との関係を示すグラフである。
【図7】 本発明の実施の第1形態である排ガス浄化装置17の主要部の構成を簡略化して示す正面図である。
【図8】 図7に示す放電ノズル18の概略構成を示す正面図である。
【図9】 図7のIX−IXから見た底面図である。
【図10】 図7に示すノズルヘッダ19の概略構成を示す正面図である。
【図11】 本発明の実施の第2形態である放電ノズル28の概略構成を示す正面図である。
【図12】 図11に示す放電ノズル28の取付けの一例を示す正面図である。
【図13】 本発明の第2参考例である放電ノズル40の概略構成を示す平面図である。
【図14】 図13の放電ノズル40の正面断面図である。
【図15】 本発明の第3参考例である排ガス浄化装置47の概略構成を示す正面図である。
【図16】 パルス電圧発生電源50の概略構成を示す回路図である。
【図17】 パルス電圧の立上がり時間とピーク電流との関係を示すグラフである。
【図18】 本発明の第4参考例であるコロナ放電装置53の概略構成を示す正面図である。
【符号の説明】
1,17,47 排ガス浄化装置
3 排ガス管路
4 処理容器
5 排ガス導入口
6 整流板
7 絞り孔
10 放電空間
11 排ガス排出口
13 第1電極
14 第2電極
15 直流電源
18,28,40 放電ノズル
48 水噴霧装置
50 パルス電圧発生電源

Claims (9)

  1. 排ガスを導く排ガス管路と、
    排ガス管路の下流側に連なる処理容器であって、内部空間には部分的に水が貯留され、水面よりも上方に放電空間10が形成される処理容器と、
    放電空間に水面から間隔をあけて設けられ、水流路を有し、先端が水面に向かうにつれて先細状に鋭く尖っており、この先端から、水流路からの水がミスト状に、噴射される放電ノズル18,28と、
    水中に設けられる電14と、
    放電ノズル18,28の先端と電極14との間に高電圧を印加し、放電ノズル18,28と水面との間にコロナ放電を発生させて水面を波立たせる電源とを含むことを特徴とする排ガス浄化装置。
  2. 放電ノズル18は、
    水流路24と空気流路25とを有し、
    先端部は、水面に向かうにつれて先細状に形成されており、この先端部には、噴出口26が形成され、その最先端は鋭く尖っており、
    放電ノズル18内で水流路24からの水が空気流路25からの空気によってミスト化され、ミスト化された水が噴出口26から放電空間10に空気とともに噴射されることを特徴とする請求項1記載の排ガス浄化装置。
  3. 放電ノズル28は、
    (a)供給口31から水面に向かう吐出口33に直角に屈曲した水流路を有するノズル本体29と、
    (b)ノズル本体29の吐出口33に取付けられる金属製シャワーリング30であって、
    基端部内周面に、水噴射方向下流側に向かうにつれてシャワーリング30の軸線30aから離間する円錐台状の傾斜面34が形成され、
    遊端部に、水噴射方向下流側に向かうにつれて先細状に延び、先端が鋭く尖っている三角形の突起35が、周方向に間隔をあけて形成され、
    傾斜面34に沿って吐出される水が、突起35に衝突し、ミスト化されて円錐台状に噴霧されるシャワーリング30とを含むことを特徴とする請求項1記載の排ガス浄化装置。
  4. 前記排ガス管路に水噴霧装置を設けることを特徴とする請求項1〜3のうちの1つに記載の排ガス浄化装置。
  5. 前記電源は、放電ノズル18,28の先端と電極14との間にパルス電圧を印加することを特徴とする請求項1〜4のいずれかに記載の排ガス浄化装置。
  6. 前記排ガス管路に導かれる排ガスは、窒素酸化物、硫黄酸化物、粉塵などの可溶性汚染物質のうちの少なくとも1つを含むことを特徴とする請求項1〜5のいずれかに記載の排ガス浄化装置。
  7. 請求項1〜6のうちの1つに記載された排ガス浄化装置を準備し、
    前記排ガス管路に窒素酸化物、硫黄酸化物、粉塵などの可溶性汚染物質のうちの少なくとも1つを含む排ガスを供給し、
    放電ノズル18,28と電極14との間に高電圧を印加し、放電ノズル18,28と水面との間にコロナ放電を発生させることを特徴とする排ガス浄化方法。
  8. (a)内部空間を有し、内部空間には部分的に水が貯留され、水面よりも上方に放電空間10が形成される処理容器と、
    (b)放電空間10に水面から間隔をあけて設けられる放電ノズル18であって、この放電ノズル18は、
    水流路24と空気流路25とを有し、
    先端部は、水面に向かうにつれて先細状に形成されており、この先端部には、噴出口26が形成され、その最先端は鋭く尖っており、
    放電ノズル18内で水流路24からの水が空気流路25からの空気によってミスト化され、ミスト化された水が噴出口26から放電空間10に空気とともに噴射される放電ノズ ル18と、
    (c)水中に設けられる電14と、
    (d)放電ノズル18の先端と電極14との間に高電圧を印加し、放電ノズル18と水面との間にコロナ放電を発生させて水面を波立たせる電源とを含むことを特徴とするコロナ放電装置。
  9. (a)内部空間を有し、内部空間には部分的に水が貯留され、水面よりも上方に放電空間10が形成される処理容器4と、
    (b)放電空間10に水面から間隔をあけて設けられる放電ノズル28であって、この放電ノズル28は、
    (b1)供給口31から水面に向かう吐出口33に直角に屈曲した水流路を有するノズル本体29と、
    (b2)ノズル本体29の吐出口33に取付けられる金属製シャワーリング30であって、
    基端部内周面に、水噴射方向下流側に向かうにつれてシャワーリング30の軸線30aから離間する円錐台状の傾斜面34が形成され、
    遊端部に、水噴射方向下流側に向かうにつれて先細状に延び、先端が鋭く尖っている三角形の突起35が、周方向に間隔をあけて形成され、
    傾斜面34に沿って吐出される水が、突起35に衝突し、ミスト化されて円錐台状に噴霧されるシャワーリング30とを含む放電ノズル28と、
    (c)水中に設けられる電極14と、
    (d)シャワーリング30と電極14との間に高電圧を印加し、シャワーリング30と水面との間にコロナ放電を発生させて水面を波立たせる電源とを含むことを特徴とするコロナ放電装置。
JP14397799A 1999-05-24 1999-05-24 排ガス浄化装置、方法およびコロナ放電装置 Expired - Fee Related JP4100482B2 (ja)

Priority Applications (1)

Application Number Priority Date Filing Date Title
JP14397799A JP4100482B2 (ja) 1999-05-24 1999-05-24 排ガス浄化装置、方法およびコロナ放電装置

Applications Claiming Priority (1)

Application Number Priority Date Filing Date Title
JP14397799A JP4100482B2 (ja) 1999-05-24 1999-05-24 排ガス浄化装置、方法およびコロナ放電装置

Publications (2)

Publication Number Publication Date
JP2000325745A JP2000325745A (ja) 2000-11-28
JP4100482B2 true JP4100482B2 (ja) 2008-06-11

Family

ID=15351458

Family Applications (1)

Application Number Title Priority Date Filing Date
JP14397799A Expired - Fee Related JP4100482B2 (ja) 1999-05-24 1999-05-24 排ガス浄化装置、方法およびコロナ放電装置

Country Status (1)

Country Link
JP (1) JP4100482B2 (ja)

Families Citing this family (13)

* Cited by examiner, † Cited by third party
Publication number Priority date Publication date Assignee Title
JP4543603B2 (ja) * 2001-05-28 2010-09-15 ダイキン工業株式会社 プラズマ式ガス浄化装置及びストリーマ放電回路
JP2005211704A (ja) * 2004-01-27 2005-08-11 Koken Ltd 連続空気浄化装置
JP2009045341A (ja) * 2007-08-22 2009-03-05 Daikin Ind Ltd ストリーマ放電装置及び空気処理装置
JP2010167352A (ja) * 2009-01-21 2010-08-05 Toto Ltd ミスト生成装置及びミスト生成方法
CN105986855B (zh) * 2015-01-30 2018-10-30 北京纳米能源与系统研究所 尾气处理装置
KR101732700B1 (ko) 2015-10-27 2017-05-11 삼성중공업 주식회사 배기가스 오염물질 저감장치
CN109803690A (zh) * 2016-10-06 2019-05-24 卓水(北京)科技有限公司 放电处理装置及其放电处理单元
CN108636089A (zh) * 2018-05-24 2018-10-12 四川锐源能环科技有限公司 一种恶臭废气净化装置
CN111228996A (zh) * 2020-03-23 2020-06-05 广东佳德环保科技有限公司 一种臭氧氧化协同湿法脱硫脱硝的烟气处理系统及处理方法
CN111569618A (zh) * 2020-05-13 2020-08-25 珠海市润泽科技有限公司 一种消除空气中氮氧化物的技术设备
KR102576278B1 (ko) * 2021-08-20 2023-09-08 연세대학교 산학협력단 Pou 가스 스크러버 연계 전기집진장치
JP7740656B2 (ja) * 2021-12-01 2025-09-17 学校法人近畿大学 空気処理装置及びその処理方法
KR102902815B1 (ko) * 2022-12-27 2025-12-22 연세대학교 산학협력단 배기가스 처리 장치

Also Published As

Publication number Publication date
JP2000325745A (ja) 2000-11-28

Similar Documents

Publication Publication Date Title
JP4100482B2 (ja) 排ガス浄化装置、方法およびコロナ放電装置
KR101117677B1 (ko) 선박용 배기가스의 탈황 탈질 처리장치
CN100531865C (zh) 流光放电等离子体烟气污染物同步净化方法
CN101496987B (zh) 湿式脉冲电晕烟气治理反应器
WO2007145984A2 (en) Wet electrostatic precipitator for treating oxidized biomass effluent
CN110917826A (zh) 一种药剂削峰的脉冲电晕等离子体烟气脱硫脱硝装置
JP3984059B2 (ja) 排ガス浄化装置
KR101321117B1 (ko) 수직형 플라즈마 장치와 스크러버 장치로 이루어진 유해가스 처리장치
CN107469580A (zh) 一种湿法烟气脱硫脱汞除尘一体化装置及工艺
KR101321113B1 (ko) 유해성 가스 처리용 와이어-실린더형 플라즈마 반응기
US7459009B2 (en) Method and apparatus for flue gas desulphurization
KR101408178B1 (ko) 배기가스 처리장치
JPH10249151A (ja) 脱硫脱窒方法及び脱硫脱窒装置
JP3322654B2 (ja) 排ガス浄化装置
KR100355179B1 (ko) 오존을 이용한 배기가스의 탈황, 탈질 처리방법 및 그 장치
WO2007100494A2 (en) Hybrid wet and dry electrostatic precipitator ammonia scrubber
KR100510049B1 (ko) 저온플라즈마와 저온촉매 복합 공정을 이용한 동시탈황탈질방법 및 이에 사용되는 장치
KR102049832B1 (ko) 배기가스 처리장치
CN107441898A (zh) 一种脉冲电晕等离子体烟气脱硫脱硝一体化装置
CN113680194A (zh) 一种半干法脱硫脱硝的烟气处理系统及烟气处理方法
KR101300194B1 (ko) 냉각용 열교환기가 설치된 펄스 플라즈마 반응기
KR100448632B1 (ko) 플라즈마를 이용한 대기오염물질 처리장치 및 그 방법
KR102049831B1 (ko) 배기가스 처리장치
KR102331862B1 (ko) 유해가스 처리장치 및 이를 이용한 유해가스 처리방법
CN207430001U (zh) 一种脉冲电晕等离子体烟气脱硫脱硝一体化装置

Legal Events

Date Code Title Description
A621 Written request for application examination

Free format text: JAPANESE INTERMEDIATE CODE: A621

Effective date: 20060203

A977 Report on retrieval

Free format text: JAPANESE INTERMEDIATE CODE: A971007

Effective date: 20070927

A131 Notification of reasons for refusal

Free format text: JAPANESE INTERMEDIATE CODE: A131

Effective date: 20071002

A521 Written amendment

Free format text: JAPANESE INTERMEDIATE CODE: A523

Effective date: 20071130

TRDD Decision of grant or rejection written
A01 Written decision to grant a patent or to grant a registration (utility model)

Free format text: JAPANESE INTERMEDIATE CODE: A01

Effective date: 20080311

A61 First payment of annual fees (during grant procedure)

Free format text: JAPANESE INTERMEDIATE CODE: A61

Effective date: 20080312

FPAY Renewal fee payment (event date is renewal date of database)

Free format text: PAYMENT UNTIL: 20110328

Year of fee payment: 3

R150 Certificate of patent or registration of utility model

Free format text: JAPANESE INTERMEDIATE CODE: R150

FPAY Renewal fee payment (event date is renewal date of database)

Free format text: PAYMENT UNTIL: 20120328

Year of fee payment: 4

FPAY Renewal fee payment (event date is renewal date of database)

Free format text: PAYMENT UNTIL: 20120328

Year of fee payment: 4

FPAY Renewal fee payment (event date is renewal date of database)

Free format text: PAYMENT UNTIL: 20130328

Year of fee payment: 5

FPAY Renewal fee payment (event date is renewal date of database)

Free format text: PAYMENT UNTIL: 20130328

Year of fee payment: 5

FPAY Renewal fee payment (event date is renewal date of database)

Free format text: PAYMENT UNTIL: 20140328

Year of fee payment: 6

FPAY Renewal fee payment (event date is renewal date of database)

Free format text: PAYMENT UNTIL: 20150328

Year of fee payment: 7

R250 Receipt of annual fees

Free format text: JAPANESE INTERMEDIATE CODE: R250

LAPS Cancellation because of no payment of annual fees