JP4099809B2 - レンガ壁およびレンガ壁施工方法 - Google Patents
レンガ壁およびレンガ壁施工方法 Download PDFInfo
- Publication number
- JP4099809B2 JP4099809B2 JP2001274701A JP2001274701A JP4099809B2 JP 4099809 B2 JP4099809 B2 JP 4099809B2 JP 2001274701 A JP2001274701 A JP 2001274701A JP 2001274701 A JP2001274701 A JP 2001274701A JP 4099809 B2 JP4099809 B2 JP 4099809B2
- Authority
- JP
- Japan
- Prior art keywords
- rail
- brick
- tile
- hardware
- bricks
- Prior art date
- Legal status (The legal status is an assumption and is not a legal conclusion. Google has not performed a legal analysis and makes no representation as to the accuracy of the status listed.)
- Expired - Lifetime
Links
- 239000011449 brick Substances 0.000 title claims description 120
- 238000010276 construction Methods 0.000 title claims description 79
- 239000000463 material Substances 0.000 claims description 16
- 238000000034 method Methods 0.000 claims description 10
- 230000008569 process Effects 0.000 claims description 5
- 229910052751 metal Inorganic materials 0.000 claims description 4
- 239000002184 metal Substances 0.000 claims description 4
- 241000255777 Lepidoptera Species 0.000 claims 1
- 239000007858 starting material Substances 0.000 description 15
- 210000005069 ears Anatomy 0.000 description 10
- 239000004570 mortar (masonry) Substances 0.000 description 10
- 238000005452 bending Methods 0.000 description 6
- 230000000694 effects Effects 0.000 description 6
- XEEYBQQBJWHFJM-UHFFFAOYSA-N Iron Chemical compound [Fe] XEEYBQQBJWHFJM-UHFFFAOYSA-N 0.000 description 4
- HCHKCACWOHOZIP-UHFFFAOYSA-N Zinc Chemical compound [Zn] HCHKCACWOHOZIP-UHFFFAOYSA-N 0.000 description 4
- 238000005260 corrosion Methods 0.000 description 4
- 230000007797 corrosion Effects 0.000 description 4
- 229910052725 zinc Inorganic materials 0.000 description 4
- 239000011701 zinc Substances 0.000 description 4
- 238000009825 accumulation Methods 0.000 description 3
- 229920003002 synthetic resin Polymers 0.000 description 3
- 239000000057 synthetic resin Substances 0.000 description 3
- 229910000831 Steel Inorganic materials 0.000 description 2
- 229910052782 aluminium Inorganic materials 0.000 description 2
- XAGFODPZIPBFFR-UHFFFAOYSA-N aluminium Chemical compound [Al] XAGFODPZIPBFFR-UHFFFAOYSA-N 0.000 description 2
- 229910052742 iron Inorganic materials 0.000 description 2
- 238000012423 maintenance Methods 0.000 description 2
- 239000011148 porous material Substances 0.000 description 2
- 230000008439 repair process Effects 0.000 description 2
- 229910001220 stainless steel Inorganic materials 0.000 description 2
- 239000010935 stainless steel Substances 0.000 description 2
- 239000010959 steel Substances 0.000 description 2
- XLYOFNOQVPJJNP-UHFFFAOYSA-N water Substances O XLYOFNOQVPJJNP-UHFFFAOYSA-N 0.000 description 2
- 230000008901 benefit Effects 0.000 description 1
- 230000000903 blocking effect Effects 0.000 description 1
- 230000008859 change Effects 0.000 description 1
- 230000006866 deterioration Effects 0.000 description 1
- 238000002845 discoloration Methods 0.000 description 1
- 239000000428 dust Substances 0.000 description 1
- -1 etc. Substances 0.000 description 1
- 238000005338 heat storage Methods 0.000 description 1
- 230000014759 maintenance of location Effects 0.000 description 1
- 238000000465 moulding Methods 0.000 description 1
- 238000002360 preparation method Methods 0.000 description 1
- 230000001105 regulatory effect Effects 0.000 description 1
- 238000009418 renovation Methods 0.000 description 1
- 238000005406 washing Methods 0.000 description 1
- 229940045860 white wax Drugs 0.000 description 1
Images
Landscapes
- Finishing Walls (AREA)
Description
【発明の属する技術分野】
本発明はレンガ壁およびレンガ壁の施工方法に関する。
【0002】
【従来の技術】
建家の外壁やその施工法として、高級感や重厚感を醸し出すことができるうえに、多孔質であることによる適度の放湿性と高い蓄熱性によってかびの発生等を防止できるメリットがあることから、外装化粧を兼ねてレンガ張りが汎用されつつある。
【0003】
かかるレンガを用材とする壁状体の施工法として、下地としてモルタル層を設け、このモルタル層に20mmないし25mmの厚さの厚肉プレート状のレンガを押し付けて圧着する方法が一般に採用されていた。
【0004】
しかし、この方法は、縦、横および前後のレベル出しが難しく、施工に高い熟練度を必要としてしかも非常に手間と時間がかかり、施工コストが高くなるという問題があった。また、レンガの背面がモルタルに圧着されているだけであるため、地震等によってレンガがモルタル層から剥離、滑落しやすいという問題があった。また、モルタルを下地としているため、モルタル成分中のいわゆる灰汁がレンガのポアを通して外部ににじみ出るため、白華現象やいわゆる耳垂れが発生しやすく、それによってレンガが汚損され、しかもそうした汚れはレンガの表面を洗っても除去することができないため経時的に外観が劣化し、前述した滑落の改修とともに高価なメンテナンス工事を必要とするという問題があった。
【0005】
この対策として、下地に胴縁を所定間隔で固定し、この胴縁と交差するようにレール状金物を多段状に配列固定し、それらレール状金物にタイル状レンガを上部の溝と下部の平坦面をもって受支させるように配置し、各タイル状レンガ間の隙間を埋める如くレール状金物に目地を塗着することでレンガ壁面を築造する方法が開発されている。
【0006】
【発明が解決しようとする課題】
先行技術は、図18(a)のようにプレート状レンガ1,2の高さに合致する幅の帯板状面部40の上縁部と下縁部にそれぞれ水平部43,43とこれから直角状に屈曲した耳部42,44とを有するトップ用のレール4aと、図18(b)のように、プレート状レンガ1,2の高さに合致した幅の帯板状面部40の上縁部にラップ用張り出し部45を屈曲形成し、下縁部に前記張り出し部45よりも大きく張出した受支用の水平部43とこれから直角状に屈曲した耳部44とを有する標準用のレール4bと、図18(c)のように、プレート状レンガ1,2の高さに合致した幅の帯板状面部40の上縁部にラップ用の張り出し部45を形成し、下縁部に壁下端基礎に当接可能な受支用の水平部43を形成したスタート用(最下段用)のレール4cを使用し、下地3に所要間隔で胴縁6,6を固定した状態で、図19のようにスタート用レール4cを胴縁6,6と交差するように配して固定し、スタート用レル4cの上縁部のラップ用の張り出し部45に標準レール4bの下縁の水平部43がラップするように配して固定し、これを必要段数繰り返し、最上段の下の標準レール4bの張り出し部45にトップ用レール4aのラップ用の張り出し部43を重合して固定し、図19のようなレンガ壁を形成していた。
【0007】
【発明が解決しようとする課題】
しかし、この先行技術は水平精度を出すことが難しく、誤差の累積により各段が壁面ごとで異なったり、段差が生じてしまうことが多いという問題があった。
すなわち、先行技術は、スタート用レール4cを固定し、その上に次の標準用レールをラップさせて固定し、その標準用レール4bの上に次段の標準用レール4bをラップさせて固定する作業を繰り返して壁面を構成していくようにしているが、各レールの帯板状面部の幅寸法を正確に出して上下縁にそれぞれ水平部を曲げ加工することは難しく、各レール自体にかなりの誤差が存在する。
このため、そうした誤差のあるレールを水平部同士ラップするように重ねつつ胴縁にあてながらて釘打ちする際にずれることが多い。こうしたことから、水平度を正しく出しにくく、積上げ誤差が累積され、積上げが進むにつれて誤差が大きくなることが避けられず、これにより、レール状金物に取り付けるタイル状レンガの配列間隔がずれることになり、壁の各面でのレンガの並びが不揃いになるなど、見映えがよくなくなる可能性があった。
【0008】
この対策としては、各段のレールを配置するたびにに細かく墨線を打って、その墨線にレールを合わせて固定するほかないが、建物には最低でも四隅があり、隅の多い建物は墨線を曲げなくてはならないので、水平出しの作業そのものに多大の時間と労力が必要であった。
これを解消するためには、レール状金物の曲げ精度を上げてベースレール自体に定規の役割を持たせ、レール状金物をアゼ倉方式に積上げる方法が考えられる。しかし、仮にレール状金物にかなりの水平精度を出しても、これを取付ける際に前記したような配置の誤差が生ずることは変わりがなく、やはり積上げが進むにつれて誤差が大きくなることを解消できない。
【0009】
本発明は前記のような問題点を解消するためになされたもので、その目的とするところは、レール状金物の曲げ精度を特に高くせずとも多数段のレール状金物の水平度がよく保たれ、基準墨を一回引くだけで熟練度を必要とせず単純作業により配列誤差のない整然としたレール状金物を張付け固定でき、これにより平行精度がよく美麗で能率良く短期間で安価に築造することができるレンガ壁を提供することにある。
【0010】
本発明の第2の目的は、基準墨を一回引くだけで熟練度を必要とせず単純作業により配列誤差のない整然とした平行精度のがよい美麗なレンガ壁を能率良く短期間で安価に築造することができるレンガ壁施工法を提供することにある。
【0011】
本発明において、「レンガ壁」とは、一般住宅の建家における本体やベランダなどの外壁のほか、塀、門柱、あるいは建家の内装壁などを含む概念である。
【0013】
上記目的を達成するため本発明によるレンガ壁は、下地に所定間隔で固定された胴縁の所要間隔のものに固定され、水準出し用の位置決め突起を下端から高さ方向で一定間隔で形成している帯板状の施工用ガイド板と、上面に溝を有し下端面がフラットな複数個のタイル状レンガと、タイル状レンガの高さにほぼ対応する幅を有する面板部の端縁にタイル状レンガを受支する水平部とこれの先端から直角よりも適度に内方に屈曲しタイル状レンガの溝と係合する耳部を有し、それぞれ前記施工用ガイド板の各段の位置決め突起に前記水平部を当接させて配列された多段のレール状金物と、前記レール状金物の水平部と耳部によって各々が支持されたタイル状レンガの隙間を埋める如くレール状金物に塗着された目地とを備えていることを特徴としている。
【0014】
また、本発明によるレンガ壁の施工方法は、防水性能を有する下地に所要間隔で胴縁を固定する工程と、下端から位置決め突起が一定間隔ごとに突出した帯板状の施工用ガイド板を所定間隔ごとの胴縁に固定する工程と、タイル状レンガの高さにほぼ対応する幅を有する面板部の端縁にタイル状レンガ受支用の水平部とこれの先端から直角よりも適度に内方に屈曲した耳部とを有する複数のレール状金物を、前記水平部が施工用ガイド板の位置決め突起に当接するように配置して胴縁に固定することを繰り返す工程と、上端面に溝を有する多数のタイル状レンガを、前記レール状金物の耳部に前記溝を係合させ下端面を水平部にて支持させるように差し込んで配列する工程と、配列済みのタイル状レンガ相互間の隙間にレール状金物を下地として目地材を塗着する工程とからなることを特徴としている。
【0015】
【発明の実施の形態】
以下本発明の実施例を添付図面を参照して説明する。
図1は本発明を適用して得られたレンガ壁を示しており、建家のコーナーを含む4つの外面に第1れんが壁A1〜第4れんが壁A4が施工されている。図2ないし図3はその詳細を示しており、1は標準的なタイル状レンガ、2はコーナーのタイル状レンガであり、基礎面の近傍から多段状に一定間隔をおいて整然と張設されている。
【0016】
前記タイル状レンガ1,2は、背部が多数列のレール状金物4によって支持されており、そのレール状金物4は、トップレール4aと標準レール4bおよびボトムレール4cから構成されている。それらレール状金物4は、下地3に一定のピッチで打ち付けた樹脂製や木製の胴縁6,6の所要間隔ごとに固定した施工用ガイド板5によって水平出しされ、その状態で耐食性の釘類7によって胴縁6,6に固定されている。そして、配列した標準レンガ1やコーナーレンガ2の上下、左右間のレール状金物4には目地材8が塗着されている。なお、3’は前記下地3の表面の防水層であり、通常の場合、防水シートからなっている。
【0017】
図4ないし図7は本発明のレンガ壁およびその施工法で使用するのに好適な部材を示している。
〔施工用ガイド板について〕
施工用ガイド板は平面領域用とコーナー用の2種からなり、いずれも耐食性の良好な帯板を精密金型で板金加工されてなる。その例としては、ステンレス、アルミニウムなどのほか、鋼板あるいは亜鉛や亜鉛/アルミめっき鉄板などがあげられる。しかし、場合によっては合成樹脂成形品などであってもよい。
【0018】
図4は平面領域用の施工用ガイド板5を示している。この施工用ガイド板5はたとえば長さが2m、横幅が100mm、厚さが0.30〜0.50mmの帯板からなり、幅方向両側の下端縁に、前方に適度の量で水平状に張り出す位置決め突起50,50’を有し、この下端縁の位置決め突起50,50’から所定の等間隔(たとえば95mmピッチ)で位置決め突起51,51’が順次形成されており、また、幅方向中央線上には、所定の間隔で通孔53が穿設されている。この多数の通孔53は釘類を打ち込むための孔として機能するほか、後述するコーナー用に屈曲する場合の曲げ基準として機能する。
【0019】
前記位置決め突起51,51’はこの例では切り起しによって構成されている。すなわち、図4(c)のように、素帯板5aの幅方向両側部分に一端が側縁に達するL状カット線500,500’を所定ピッチで加工し、そのL状カット線500,500’の縦頂点p1,p1を素帯板の板面と直角に屈曲することにより作られている。そして、必要な長さの位置で縦頂点p1,p1を結ぶ線上(520は切断線)で切断しており、したがって、最上位には縦頂点p1,p1の高さに相当する突辺52が形成される。この突辺52は高さ方向の継ぎ足しの際の定規として機能する。
【0020】
図5(a)(b)はコーナー用の施工用ガイド板5’の第1例(凸コーナー用)を示しており、図4の施工用ガイド板5における中央線上の各通孔53を基準として板幅方向中央に沿って外側方向に屈曲されてなり、折り曲げ線55を境としてそれぞれの半部に位置決め突起50,50’と位置決め突起51,51’が配されている。
図5(c)はコーナー用の施工用ガイド板5’の第2例(凹コーナー用)を示しており、図4の施工用ガイド板5における中央線上の通孔53を定規として板幅方向中央に沿って内側方向に屈曲され、それぞれの半部に位置決め突起50,50’と位置決め突起51,51’が配されている。
【0021】
〔レール状金物について〕
使用するレール状金物4は任意であるが、図6(a)ないし(e)はその例を示しており、(a)(b)は最上列に使用するトップレール4aを、(c)(d)は標準レール(ベースレール)4bを、(c)は最下位列に使用するスタータレール(ボトムレール)4cをそれぞれ示している。
前記トップレール4aと標準レール4bおよびスタータレール4cは、それぞれ耐食性の良好な材料からなっている。その例としては、ステンレス、アルミニウムなどのほか、鋼板あるいは亜鉛や亜鉛/アルミめっき鉄板、合成樹脂成形品などが選択的に用いられる。寸法としては、たとえば長さが2000mm、幅(高さ)107mm、厚さ0.30〜0.50mmである。
【0022】
トップレール4aは、施工部分の最上位列に使用するための部材であり、前記標準レンガ1やコーナーレンガ2の高さよりも適度に小さい幅(高さ)の面板部40の上端に面板部40と直角状に張り出す水平部41と、これの先端から下方に直角よりも適度に小さい傾斜角度αたとえば85度に屈曲された耳部42を有している。
【0023】
標準レール4bは、トップレール4aより下位の各列に使用する部材であり、前記標準レンガ1やコーナーレンガ2の高さよりも適度に小さい幅(高さ)の面板部40の下縁に、レンガ受支用の水平部43と、これの先端から下方に直角よりも適度に小さい傾斜角度αたとえば85度に屈曲された係合用の耳部44を有している。
【0024】
スタータレール4cは、施工部分の最下位部位に使用する部材である。該スタータレール4cは、標準レンガ1やコーナーレンガ2の高さよりも適度に小さい幅(高さ)の面板部40の下縁に、前記施工用ガイド板5,5’の下端の位置決め突起50,50’に重ね合わされる水平部43を有している。
前記各レールの水平部41,43の張出し寸法は、一般的に、標準レンガ1やコーナーレンガ2の厚さの約半分程度とする。
【0025】
〔タイル状レンガ〕
本発明で使用するタイル状レンガは、通常、標準レンガ1とコーナーレンガ2の2種からなる。
標準レンガ1は、図7(a)のように、略長方形状をなし、上端面の略中央部位には、長手方向に走る溝(スリット)10が形成されている。寸法としては、たとえば幅(長さ)が230mm、高さ75mm、厚さ25mmである。
【0026】
コーナーレンガ2は、図7(b)のように、長辺2aと短辺2bとにより平面略L状をなし、上端面には平面略L状をなすように溝(スリット)20が形成されている。溝20は必ずしも連続している必要はない。寸法としては、たとえば長辺が230mm、短辺が110mm、高さが75mm、厚さが25mmである。 前記標準レンガ1とコーナーレンガ2の溝10,20は、前記トップレール4a、標準レール4bおよびスチーターレール4cにおける耳部42,44にはめられることにより外れないように支持させるためのものであり、下端面の約半分の厚さが水平部43によって受支されている。
【0027】
次に、本発明の施工方法を説明すると、図8ないし図12はそれを段階的に示している。まず、図8のように、防水シート3’を張設するなどした防水性の下地3に胴縁6を所定の間隔たとえば40〜50cmで配し、釘類7で固定する。ついで、建物の下端付近面に平面用とコーナー用の各施工用ガイド板5,5’を配し、所要間隔ごとの胴縁6,6に施工用ガイド板5,5’を固定する。
【0028】
詳しく述べると、建物の下端付近面に正しく水平度を取った基準墨線HLを引き、これを建物周囲に一回引く。そして、この基準墨線HLに平面用のガイドレール板5の下端の位置決め突起50,50’を合せ、各通孔53を通して釘類7を胴縁6,6に打ち込む。また、建物の各隅にコーナー用ガイド板5’を同様に配し、基準墨線HLに平面用のガイドレール板5の下端の位置決め突起51,51’を合せ、各通孔53を通して釘類7を胴縁6,6に打ち込む。各通孔53はちょうど屈曲縁に沿って配されているので、簡単に胴縁のコーナーに釘類を打ち込み固定できる。これで、東西南北の各面の水平基準ができあがる。図9と図10はこの状態を示している。
【0029】
なお、3階建てのような場合には、施工用ガイド板5や5’をそれぞ複数本使用し、最下位の施工用ガイド板の突辺52を次上位の施工用ガイド板の下縁54と突合せるように直列に配して胴縁6に固定することで自在に対応できる。
【0030】
以上のように施工用ガイド板5,5’を固定することにより東西南北各方面の水平基準ができるので、次に、施工用ガイド板5,5’の位置決め突起50,50’と中間の位置決め突起51,51’にレール状金物の水平部が重なるように当接させ、壁下地の胴縁6,6にくぎ類7で固定する。
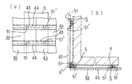
詳しく説明すると、レール状金物4の配列固定は、施工部分の最下位のスターターレール4cから開始するもので、この作業は、図11のように、スターターレール4cを、施工用ガイド板5,5’と交差するように横に配し、下端縁の水平部43を施工用ガイド板5,5’の下端縁の位置決め突起50,50’に載せ、釘類7を胴縁6に打ち込むだけでよいから簡単であり、しかも、下端縁の位置決め突起50,50’は前端の工程で水平度が取られているから、自動的にスタートレール4cは精度のよい水平配置とされる。これは各4面とも同じである。
【0031】
ついで、前記最下位の位置決め突起50,50’の一つ上(2番目)の位置決め突起51,51’と2つ上(3番目)の位置決め突起51,51’との間の面部に標準レール4bの面板部40が当接するように挿入し、下端縁の水平部43の下面を2番目の位置決め突起51,51’に載せる。これが図11(a)(b)の状態であり、第1段目用の標準レール4bは上下の間隔が正確に決められている位置決め突起51,51’に載せられることにより自動的に水平出し状態での位置決めがなされ、従前のような基準用の墨入れを要しない。固定は、胴縁6,6に対応する部分の帯板状面部40から耐食性の釘類7を打ち込むことにより行なう。
【0032】
次に、第2番目と第3番目の位置決め突起51,51’との間の面部に第2段用の標準レール4bを挿入し、前記と同様に下縁の水平部43の下面を3番目の位置決め突起51,51’に載せ、その状態で標準レール4bを釘類7によって胴縁6,6に固定する。以下同様の作業を繰り返すことにより図12(a)(b)のように、レール状金物は施工用ガイド板5,5’の各段の位置決め突起51,51’を基準として各コーナーも含めて正しく水平度を保たれた状態に張設される。横方向の端部においては、図13のように左右の標準レール4b,4bは、施工用ガイド板5,5’の左右の位置決め突起51,51’にそれぞれ受支されて水平位置決めされる。
【0033】
こうして最上位に達したならば、トップレール4aの面板部40を次位の標準レール4bの面板部40に重ね、胴縁6,6に対応する部分の面板部40を通して釘類7を打ち込むことにより固定すればよく、東西南北4方のすべてのレール状金物の端部は水平面が一致する。
本発明は、レール状金物の端部同士(水平部と耳部)がオーバーラップするように配列するのでなく、施工用ガイド板5,5’の左右の位置決め突起51,51’に各段のレール状金物の水平部40を当接する方式であるから、各レール状金物の面板部の高さ寸法に若干のバラツキがあっても水平度には影響せず、かりにレール状金物が若干の張り誤差が生じても、累積されることがない。したがってタイル状レンガを後に嵌合した時にタイル状レンガの水平度が正しく維持される。
【0034】
なお、図示するものでは、ガイド板を効率的に使用するため、レール状金物の長さ方向両端部だけをガイド板5,5’の位置決め突起50,50’、51,51’で受支して水平度を得ているが、もちろん、レール状金物の長さ方向の中間部に対応する胴縁6にガイド板を固定し、それの位置決め突起50,50’、51,51’でレール状金物の長さ方向の中間部を受支して水平度をさらに良く確保するようにしてもよい。
【0035】
本発明は、施工用ガイド板を使用することにより、レール状金物の断面を小さくすることがてきるので、材料の使用量を節約することができる。すなわち、ガイド板は原則として各レール状金物ベースの両端部にあればよく、レール状金物の長さを2mとすると、2mに1本ですむ。一方、本発明では、スターターレール、標準レールにおいてオーバーラップ用の上縁の張出しを省略することができ、トップレールにおいて下縁の水平部を省略することができる。それら上縁の張出しと水平部を合算した分の断面積は施工用ガイド板の使用材料の合計よりもはるかに大きいから、材料費、加工費とも少なくてすむ。また、1種類の施工用ガイド板を使って平面用とコーナー用の2種を構成できるためコストが安くなる。なお、コーナー用ガイド板5’の曲げ角度は、90度に限らず、施工すべき壁のコーナー角度にあわせて任意な角度とすることができる。
【0036】
以上でレール状金物の配列固定が終わるので、次に、配列固定したレール状金物にタイル状レンガを取り付ける工程に移る。この工程も、壁の底辺であるスターターレール4cから先に、しかもコーナーから先に行うことが好ましい。
コーナーにおいては、コーナーレンガ2を斜めに挿入し、上端のL状の溝20を、スターターレール4cの直上に固定されている左右の標準レール4b,4bの水平部43,43から下っている耳部44,44に嵌めつつ垂直に姿勢を変化させ、レンガ背面を左右のスタートレール4cの面板部40,40に接触させるように押し込めばよい。これによりコーナーレンガ2の下端面はスターターレール4cの水平部43,43に受支される。
【0037】
同様に次のコーナーレンガ2を次位の標準レール4b,4bの耳部44,44にはめつつ垂直にすることにより上端部が溝20,20と耳部44,44との係合で支持され、下端が第2位の標準レール4b,4bの水平部43,43で受支されるため安定した保持がなされる。以下トップレール4aに最上位のコーナーレンガ2が取り付けられるまで同様な作業を繰り返す。
【0038】
かかる作業を終えたならば、標準レンガ1を同様にスターターレール4cに所定の継目用すき間Sをもたせながら横配列して取り付けてゆく。かかる作業は上縁の溝10を上位のレールから下る耳部44にはめ合わせつつ下端を当該段のレールの水平部43に受支させるだけであるため簡単である。かかる標準レンガ1もトップレール4aに最上位の標準レンガ1が列状に取り付けられるまで同様な作業を繰り返す。
図14はこのようなレンガ取付け工程が完了した状態を示している。
【0039】
この状態においては、各タイル状レンガ1,2は溝10,20よりも前面側が約1/2の厚さ分だけレール耳部表面から突出し、下端面も約1/2の厚さ分がレールの水平部43から突出する。前記タイル状レンガの取り付け時において、本発明の標準レール4aとトツプレール4bの耳部42,44は水平部43に対して垂直でなく、適度の傾斜角度αで内側に傾斜している。したがって、溝10,20の幅を広くしても、傾斜状の耳部42,44によって溝内側壁が付勢され、レール状金物の面板部に向けて押しつけられるので、各タイル状レンガ1,2は溝10,20を広めの幅にして耳部42,44との係合を容易にしても、取り付けが終わるとガタつかず安定している。そして、前段の作業でレール状金物が建物全体に渡って正しく水平度を維持されているので、タイル状レンガ1,2は自動的に上下間隔も一定に揃い、整然とした配列とされる。
【0040】
以上のようにタイルレンガの取付けを行ったのち、レンガ1,2間の左右、上下のすき間に目地材8を塗込む。かかる作業は目地材8をすき間に押し込むように塗付け、コテで仕上げるだけの操作で足りる。上下のすき間については、この部分にレール4a,4bの耳部42,44が位置していることにより耳部表面が塗布基準面となるため簡単であり、目地材8の一部が溝10,20と耳部44,42のわずかな隙間に流入するため、レンガ1,2はより確実に固定される。
左右は耳部42,44の一部が基準面となるほか、各レンガの背面が帯板状面部40に接している関係からレンガ左右端面間に溝が形成され、したがって目地材はこれらの溝によって充填量が規制される。
以上のようにして図1ないし図3に示すように化粧レンガ壁が完成する。
【0041】
なお、図示するものは本発明の数例であり、これに限定されるものではない。
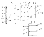
1)施工用ガイド板5の水準出し用の位置決め突起50,50’、51,51’はレール状金物4の水平を出すことができればよいので、実施例のように板面から水平面として突出させた切起し片に限らず、図15と図6に例示するような各種態様を取り得る。
【0042】
図15(a)(b)は第1例であり、帯板の幅方向両側に等間隔で切欠き54,54を形成し、その切欠部で分離された部分を板厚方向に折り曲げることにより上端面が平らな屈折状の位置決め突起50,50’、51,51’を形成したものである。もちろん水平レベルを出すために、各施工用ガイド板5はそれぞれ同じ高さ位置に位置決め突起50,50’、51,51’があるように切断されている。
【0043】
図16(a)は第2例であり、上下の切欠き54,54間の部分全体を板厚方向に曲げ、上端面が平らな屈折状の位置決め突起50,50’、51,51’を形成したものである。この例ではくの字状をなしているが、もちろん曲率状ををなしていてもよい。
図16(b)は第3例であり、打出し加工によって位置決め突起(ダボ)50,50’,51,51’を形成したものである。図示するものでは三角形であるがもちろん円形など任意である。
【0044】
図16(c)は第4例であり、ビード出し加工により板幅方向に走る山形状の位置決め突起50,50’,51,51’を形成したものである。図示するものでは位置決め突起50,50’,51,51’は全幅にあるが、もちろん中間部分に設けないようにしてもよい。
図16(d)は第5例であり、帯板に等間隔でリベット類を打ち込むことにより位置決め突起50,50’,51,51’を形成したものである。
【0045】
2)本発明の施工法において、一般的には、レール状金物4の受支用水平部43は、施工用ガイド板5の位置決め突起50,50’、51,51’の上面に当接させて水準出しをするが、場合によっては、位置決め突起50,50’、51,51’の下面に当接させて水準出しをしてもよい。
【0046】
図17はこの例を示しており、レール状金物4の受支用水平部41の上面端部を施工用ガイド板5の位置決め突起51,51’の下面に当接させる。施工用ガイド板5の左右の位置決め突起51,51’は同一高さにあるとともに上下方向で等間隔に配されており、かつまた左右に間隔的に固定されている各施工用ガイド板5において、各段の位置決め突起51,51’は整合している。
したがって、レール状金物4は自動的に水平になり、この状態でレール状金物4を釘類によって胴縁6に固定することにより、レール状金物4を各段ごとに正確な水平度で配列することができ、それによりタイル状レンガ1,2をきれいに上下の間隔が揃った状態に貼ることができる。
この図17の態様における施工法および得られるレンガ壁は前記実施例の場合と同様であるから、説明は援用するものとする。ただ、この図17の態様によれば、図6のトップレール4aに相当するものを標準レールとしても利用できるので、レール状金物4が1種類あるいはスタートレール4cと2種類で足りることになり、コストを安くすることができる利点がある。
【0047】
2)下地3は必ずしもコンポーネントパネルである場合に限らず、改修の場合などでは既設のモルタル壁などであってもよい。下地が防水性能を有している場合には、防水シートなどによる防水層を省略してもよい。
3)コーナーレンガの取付けにおいて、L状の溝20が左右のレールの耳部にはめにくい場合には、短辺側部分の溝より内側部分を除去してもよい。
4)施工用ガイド板は合成樹脂で作られていてもよい。その場合には、位置決め突起は成形時に一体成形されたものでよい。
なお、本発明はレンガだけでなくこれに類するタイルなどの他の化粧材の施工にも適用することができる。
【0048】
【実施例の作用】
本発明においては、従来のように胴縁6,6にレール状金物をあてがってレール状金物の精度を目安として配列するのでなく、胴縁6,6にあらかじめ高さ方向で等間隔に位置決め突起50,50’、51,51’を形成したガイド板5,5’を固定しておき、このガイド板5,5’の各段の位置決め突起50,50’、51,51’にレール状金物4の水平部43,43を当接させることで水平位置決めするので、ガイド板5,5’の下端面を正しく水平出しておきさえすれば、レール状金物4はコーナー部分も含め正確な水平度と間隔で配列される。
したがって、タイル状レンガの上縁の溝10,20をレール状金物の耳部42,44にはめ、下縁部を水平部43に受支させるだけでレンガはコーナーでも食い違いを起さずに正確な水平度をもって配列される。このため、何の熟練も要さず簡単、確実、迅速に施工することができる。
【0049】
取付け状態においては、タイル状レンガ1,2は上端面の溝10,20がレール状金物4の内側に傾斜した耳部42,44と係合して背方に押圧されるのでガタつくことなく安定して受支され、この状態で目地とめされるので、地震などによっても剥落することはなく、耐久性を高いものとすることができる。また、レール状金物が下地壁面全面に張られるので、建物強度を増すことができ、地震や強風に耐久力を高く保つことができる。
【0050】
レンガ1,2はモルタルを下地として接着したものではなく、レール状金物によって保持固定されているので、モルタル成分中の灰汁による白華現象、耳垂れ現象が皆無となり、変色や体裁の悪化が回避され、埃などで汚れた場合に散水によって簡単に洗浄することができ、経年によって自然の風格が創成される。また、モルタルを下地とした場合のような手間と時間の係る補修を要さないので、特別なメンテナンスも要さず、このコストも節減できる。
【0051】
タイル状レンガ1,2はポアを有しているため雨水で濡れでも通気性によって放散し、水が浸透してもレンガ1,2の背面は耐水性のレール状金物が面状に張られているから、これによる遮断作用で下地3に至ることがない。そして胴縁6およびカイド板4によってレール状金物 と下地3との間には適度のすき間が形成されるので、良好な遮熱効果が得られるとともに湿気の滞留を防ぐことができる。
【0054】
【発明の効果】
請求項 1 によれば、特に下端から高さ方向にレール状金物4の受支用水平部を当接させて水準出しするための位置決め突起50,50´、51,51´を一定間隔ごとに形成した施工用カイド板5,5´を用いているので、基準墨を建物などの四面に一回引くだけでレール状金物4とタイル状レンガ1,2の各段の水平度が正確に保たれコーナーを含めてきれいに各段の水平度と間隔が形成された美麗なレンガ壁とすることができ、施工も極めて単純で熟練を要さず、短期間で行なうことができる。しかも、施工用ガイド板5,5´の使用によりレール状金物4はオーバーラップ用部分を形成する必要がなくなり、レール状金物の断面積を少なくすることができるので、トータルの材料使用量が節減され、かつレール状金物4の断面形状変更により曲げ加工工数も減少するので経済的であるなどのすぐれた効果が得られる。
【0055】
さらに請求項 1によれば、レール状金物4の構造が簡単で断面積が小さものとなるので、材料費、加工費を節減することができ、しかも、レール状金物4の水平部に続く耳部42,44が直角でなく内方に傾斜しているので、嵌め込みを容易にすべくタイル状レンガ1,2の溝幅を広くとっても、タイル状レンガ1,2をしっかりとレール状金物4の面板部方向に付勢し、ガタツキなく安定して支持させることができ、この状態で目地とめされるので、地震などによっても剥落することはなく、耐久性を高いものとすることができるというすぐれた効果が得られる。
【0056】
請求項2によれば、特に下端から高さ方向に位置決め突起50,50´、51,51´を一定間隔ごとに形成した施工用ガイド板5,5´を胴縁6,6に固定し、この施工用ガイド板5,5´の位置決め突起50,50´、51,51´にレール状金物4の受支用水平部を当接させて水準出しするため、基準墨を建物などの四面に一回引くだけで、レール状金物4とタイル状レンガ1,2の各段の水平度が正確に保たれ、コーナーを含めてきれいに各段の水平度と間隔が形成されたレンガ壁を、熟練を要さず単純な作業により、短期間内で作ることができ、またレール状金物4として小型で簡単な構造のものを使用できるので、材料費も安くなり、安価に施工することができるというすぐれた効果が得られる。
しかも、レール状金物4の水平部に続く耳部42,44が直角でなく内方に傾斜しているので、嵌め込みを容易にすべくタイル状レンガ1,2の溝幅を広くとっても、タイル状レンガ1,2をしっかりとレール状金物4の面板部方向に付勢し、ガタツキなく安定して支持させることができ、この状態で目地とめされるので、地震などによっても剥落することはなく、耐久性を高いものとすることができる。
【図面の簡単な説明】
【図1】(a)は本発明による施工例を示す平面図、(b)は(a)の部分的斜視図である。
【図2】(a)は図1(b)のW−W線に沿う断面図、(b)は(a)の一部拡大図である。
【図3】図1(b)のX−X線に沿う断面図である。
【図4】(a)は本発明における平坦部用の施工用ガイド板の一例を示す正面図、(b)はその部分切欠拡大斜視図、(c)は施工用ガイド板の製作時の素板を示す平面図である。
【図5】(a)は本発明におけるコーナー用の施工用ガイド板の一例を示す斜視図、(b)はその拡大断面図、(c)は凹コーナー用とした施工用ガイド板の断面図である。
【図6】(a)は本発明で使用するレール状金物のトップレールを示す斜視図、(b)はその一部拡大側面図、(c)はレール状金物の標準レールを示す斜視図、(d)はその一部拡大側面図、(e)はレール状金物のスターターレールを示す斜視図である。
【図7】(a)は本発明に使用するレンガの一例を示す斜視図、(b)は他のレンガを示す斜視図である。
【図8】(a)は本発明の施工法の準備段階を示す部分切欠正面図である。
【図9】胴縁への施工用ガイド板の固定完了状態を示す斜視図である。
【図10】(a)は図9のY−Y線に沿う拡大断面図、(b)は図9のZ−Z線に沿う拡大断面図である。
【図11】(a)は施工用ガイド板にスターターレールを配置固定した段階の正面図、(b)は施工用ガイド板にスターターレールを配置固定し、次の標準レールを配置した段階を示す部分的断面図である。
【図12】(a)は施工用ガイド板にレール状金物を配置固定した段階の正面図、(b)はその断面図である。
【図13】(a)は施工用ガイド板にレール状金物を配置固定した段階の部分的正面図、(b)は施工用ガイド板にレール状金物を配置固定した段階のコーナー部分の多段面である。
【図14】(a)はレール状金物にタイル状レンガを取り付けた状態の正面図、(b)はその部分的断面図である。
【図15】(a)は本発明における施工用ガイド板の他の例を示す部分切欠斜視図、(b)はおなじくその使用状態を示す断面図である。
【図16】(a)は本発明における施工用ガイド板の他の例を示す部分的斜視図、(b)は同じく他の例を示す正面図、(c)は同じく他の例を示す正面図、(e)は同じく他の例を示す断面図である。
【図17】本発明による施工用ガイド板を使用した別のレンガ壁およびレンガ壁施工方法を示す部分的断面図である。
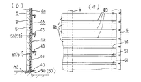
【図18】(a)(b)(c)は従来のレンガ壁施工に使用されたレール状金物の斜視図である。
【図19】従来のレンガ壁施工状態を示す断面図である。
【符号の説明】
1,2 タイル状レンガ
3 下地
4 レール状金物
4a トップレール
4b 標準レール
4c スターターレール
5 施工用ガイド板
6 胴縁
8 目地材
10,20 溝
41,43 水平部
42,44 耳部
50,50’,51,51’ 位置決め突起
Claims (2)
- 下地に所定間隔で固定された胴縁の所要間隔のものに固定され、水準出し用の位置決め突起を下端から高さ方向で一定間隔で形成している帯板状の施工用ガイド板と、上面に溝を有し下端面がフラットな複数個のタイル状レンガと、タイル状レンガの高さにほぼ対応する幅を有する面板部の端縁にタイル状レンガを受支する水平部とこれの先端から直角よりも適度に内方に屈曲しタイル状レンガの溝と係合する耳部を有し、それぞれ前記施工用ガイド板の各段の位置決め突起に前記水平部を当接させて配列された多段のレール状金物と、前記レール状金物の水平部と耳部によって各々が支持されたタイル状レンガの隙間を埋める如くレール状金物に塗着された目地とを備えていることを特徴とするレンガ壁。
- 防水性能を有する下地に所要間隔で胴縁を固定する工程と、下端から位置決め突起が一定間隔ごとに突出した帯板状の施工用ガイド板を所定間隔ごとの胴縁に固定する工程と、タイル状レンガの高さにほぼ対応する幅を有する面板部の端縁にタイル状レンガ受支用の水平部とこれの先端から直角よりも適度に内方に屈曲した耳部とを有する複数のレール状金物を、前記水平部が施工用ガイド板の位置決め突起に当接するように配置して胴縁に固定することを繰り返す工程と、上端面に溝を有する多数のタイル状レンガを、前記レール状金物の耳部に前記溝を係合させ下端面を水平部にて支持させるように差し込んで配列する工程と、配列済みのタイル状レンガ相互間の隙間にレール状金物を下地として目地材を塗着する工程とからなることを特徴とするレンガ壁の施工方法。
Priority Applications (1)
| Application Number | Priority Date | Filing Date | Title |
|---|---|---|---|
| JP2001274701A JP4099809B2 (ja) | 2001-08-31 | 2001-09-11 | レンガ壁およびレンガ壁施工方法 |
Applications Claiming Priority (3)
| Application Number | Priority Date | Filing Date | Title |
|---|---|---|---|
| JP2001-263986 | 2001-08-31 | ||
| JP2001263986 | 2001-08-31 | ||
| JP2001274701A JP4099809B2 (ja) | 2001-08-31 | 2001-09-11 | レンガ壁およびレンガ壁施工方法 |
Publications (2)
| Publication Number | Publication Date |
|---|---|
| JP2003147936A JP2003147936A (ja) | 2003-05-21 |
| JP4099809B2 true JP4099809B2 (ja) | 2008-06-11 |
Family
ID=26621426
Family Applications (1)
| Application Number | Title | Priority Date | Filing Date |
|---|---|---|---|
| JP2001274701A Expired - Lifetime JP4099809B2 (ja) | 2001-08-31 | 2001-09-11 | レンガ壁およびレンガ壁施工方法 |
Country Status (1)
| Country | Link |
|---|---|
| JP (1) | JP4099809B2 (ja) |
Families Citing this family (4)
| Publication number | Priority date | Publication date | Assignee | Title |
|---|---|---|---|---|
| CN105569287A (zh) * | 2015-12-31 | 2016-05-11 | 青建集团股份公司 | 外墙仿石材et板施工工艺 |
| CN108756120A (zh) * | 2018-07-30 | 2018-11-06 | 王圣保 | 一种装配式集成墙面砖系统中缝固定式构件及其装配方法 |
| CN109083356B (zh) * | 2018-07-30 | 2023-10-03 | 王圣保 | 一种装配式集成墙面砖系统横向整体式构件及其装配方法 |
| JP6945911B1 (ja) * | 2021-07-13 | 2021-10-06 | 株式会社ヒロコーポレーション | 透かしレンガ積み壁材の構築方法 |
-
2001
- 2001-09-11 JP JP2001274701A patent/JP4099809B2/ja not_active Expired - Lifetime
Also Published As
| Publication number | Publication date |
|---|---|
| JP2003147936A (ja) | 2003-05-21 |
Similar Documents
| Publication | Publication Date | Title |
|---|---|---|
| JP2739944B2 (ja) | パネルおよびその構築方法 | |
| US4238915A (en) | Tile setting assembly, tile wall and method for building a tile wall | |
| US4461128A (en) | Soffit and fascia construction | |
| US4011702A (en) | Building wall constructions | |
| US6460311B1 (en) | Fixture for boarding, and horizontal boarding method using the fixture | |
| US9140018B2 (en) | Cladding element | |
| US20180135309A1 (en) | Panel veneer systems | |
| US5277009A (en) | Exterior wall units comprising siding members and tiles | |
| JP2010520388A (ja) | 建築システム | |
| US8522508B1 (en) | Flashing support cant for a wall assembly and associated method | |
| US3234692A (en) | Tile construction | |
| JP4099809B2 (ja) | レンガ壁およびレンガ壁施工方法 | |
| JP3955831B2 (ja) | レンガ等小片状部材を用いた壁構造およびその施工方法 | |
| JP2004278224A (ja) | 壁面施工アセンブリ,化粧板,化粧板固定部材,目地部材および壁面施工方法 | |
| GB2248864A (en) | Union of siding material with tiles | |
| JPH068557B2 (ja) | タイルブロツクを用いた建物の外装壁 | |
| JPH0628593Y2 (ja) | 壁面装飾パネルユニット | |
| JPS594110Y2 (ja) | タイルとその張り付け用パネルの組合せ | |
| RU2696689C1 (ru) | Фасадный облицовочный модуль | |
| JPS6317791Y2 (ja) | ||
| US3239985A (en) | Lapped multiplanar surfacing | |
| JP2517969Y2 (ja) | 自在曲面壁材 | |
| JP2002213063A (ja) | レンガ壁およびその施工方法 | |
| JPS625468Y2 (ja) | ||
| JP3053259B2 (ja) | 縦目地構造 |
Legal Events
| Date | Code | Title | Description |
|---|---|---|---|
| A621 | Written request for application examination |
Free format text: JAPANESE INTERMEDIATE CODE: A621 Effective date: 20051005 |
|
| A977 | Report on retrieval |
Free format text: JAPANESE INTERMEDIATE CODE: A971007 Effective date: 20070801 |
|
| A131 | Notification of reasons for refusal |
Free format text: JAPANESE INTERMEDIATE CODE: A131 Effective date: 20070904 |
|
| A521 | Written amendment |
Free format text: JAPANESE INTERMEDIATE CODE: A523 Effective date: 20071102 |
|
| TRDD | Decision of grant or rejection written | ||
| A01 | Written decision to grant a patent or to grant a registration (utility model) |
Free format text: JAPANESE INTERMEDIATE CODE: A01 Effective date: 20080212 |
|
| A61 | First payment of annual fees (during grant procedure) |
Free format text: JAPANESE INTERMEDIATE CODE: A61 Effective date: 20080307 |
|
| FPAY | Renewal fee payment (event date is renewal date of database) |
Free format text: PAYMENT UNTIL: 20110328 Year of fee payment: 3 |
|
| R150 | Certificate of patent or registration of utility model |
Ref document number: 4099809 Country of ref document: JP Free format text: JAPANESE INTERMEDIATE CODE: R150 Free format text: JAPANESE INTERMEDIATE CODE: R150 |
|
| R250 | Receipt of annual fees |
Free format text: JAPANESE INTERMEDIATE CODE: R250 |
|
| FPAY | Renewal fee payment (event date is renewal date of database) |
Free format text: PAYMENT UNTIL: 20120328 Year of fee payment: 4 |
|
| FPAY | Renewal fee payment (event date is renewal date of database) |
Free format text: PAYMENT UNTIL: 20130328 Year of fee payment: 5 |
|
| R250 | Receipt of annual fees |
Free format text: JAPANESE INTERMEDIATE CODE: R250 |
|
| FPAY | Renewal fee payment (event date is renewal date of database) |
Free format text: PAYMENT UNTIL: 20130328 Year of fee payment: 5 |
|
| FPAY | Renewal fee payment (event date is renewal date of database) |
Free format text: PAYMENT UNTIL: 20140328 Year of fee payment: 6 |
|
| R250 | Receipt of annual fees |
Free format text: JAPANESE INTERMEDIATE CODE: R250 |
|
| S111 | Request for change of ownership or part of ownership |
Free format text: JAPANESE INTERMEDIATE CODE: R313117 |
|
| S533 | Written request for registration of change of name |
Free format text: JAPANESE INTERMEDIATE CODE: R313533 |
|
| R350 | Written notification of registration of transfer |
Free format text: JAPANESE INTERMEDIATE CODE: R350 |
|
| R250 | Receipt of annual fees |
Free format text: JAPANESE INTERMEDIATE CODE: R250 |
|
| R250 | Receipt of annual fees |
Free format text: JAPANESE INTERMEDIATE CODE: R250 |
|
| R250 | Receipt of annual fees |
Free format text: JAPANESE INTERMEDIATE CODE: R250 |
|
| R250 | Receipt of annual fees |
Free format text: JAPANESE INTERMEDIATE CODE: R250 |
|
| R250 | Receipt of annual fees |
Free format text: JAPANESE INTERMEDIATE CODE: R250 |
|
| R250 | Receipt of annual fees |
Free format text: JAPANESE INTERMEDIATE CODE: R250 |
|
| R250 | Receipt of annual fees |
Free format text: JAPANESE INTERMEDIATE CODE: R250 |
|
| R250 | Receipt of annual fees |
Free format text: JAPANESE INTERMEDIATE CODE: R250 |
|
| EXPY | Cancellation because of completion of term |