JP4097201B2 - ストッパ装置及び構造物のアンカー構造 - Google Patents
ストッパ装置及び構造物のアンカー構造 Download PDFInfo
- Publication number
- JP4097201B2 JP4097201B2 JP2003076052A JP2003076052A JP4097201B2 JP 4097201 B2 JP4097201 B2 JP 4097201B2 JP 2003076052 A JP2003076052 A JP 2003076052A JP 2003076052 A JP2003076052 A JP 2003076052A JP 4097201 B2 JP4097201 B2 JP 4097201B2
- Authority
- JP
- Japan
- Prior art keywords
- sliding
- stopper
- sliding body
- hard
- anchor
- Prior art date
- Legal status (The legal status is an assumption and is not a legal conclusion. Google has not performed a legal analysis and makes no representation as to the accuracy of the status listed.)
- Expired - Fee Related
Links
- 239000000463 material Substances 0.000 claims description 49
- 238000005096 rolling process Methods 0.000 claims description 35
- 238000013016 damping Methods 0.000 claims description 26
- 230000002093 peripheral effect Effects 0.000 claims description 11
- 238000012856 packing Methods 0.000 description 10
- 229910000831 Steel Inorganic materials 0.000 description 5
- 230000000694 effects Effects 0.000 description 5
- 239000010959 steel Substances 0.000 description 5
- PXHVJJICTQNCMI-UHFFFAOYSA-N Nickel Chemical compound [Ni] PXHVJJICTQNCMI-UHFFFAOYSA-N 0.000 description 4
- 238000006243 chemical reaction Methods 0.000 description 4
- 238000005097 cold rolling Methods 0.000 description 4
- 238000010276 construction Methods 0.000 description 4
- 239000013013 elastic material Substances 0.000 description 4
- 229920005989 resin Polymers 0.000 description 4
- 239000011347 resin Substances 0.000 description 4
- 230000001788 irregular Effects 0.000 description 3
- 238000002955 isolation Methods 0.000 description 3
- 238000000034 method Methods 0.000 description 3
- 238000005498 polishing Methods 0.000 description 3
- 230000001105 regulatory effect Effects 0.000 description 3
- 238000005482 strain hardening Methods 0.000 description 3
- 238000009423 ventilation Methods 0.000 description 3
- QNRATNLHPGXHMA-XZHTYLCXSA-N (r)-(6-ethoxyquinolin-4-yl)-[(2s,4s,5r)-5-ethyl-1-azabicyclo[2.2.2]octan-2-yl]methanol;hydrochloride Chemical compound Cl.C([C@H]([C@H](C1)CC)C2)CN1[C@@H]2[C@H](O)C1=CC=NC2=CC=C(OCC)C=C21 QNRATNLHPGXHMA-XZHTYLCXSA-N 0.000 description 2
- VTYYLEPIZMXCLO-UHFFFAOYSA-L Calcium carbonate Chemical compound [Ca+2].[O-]C([O-])=O VTYYLEPIZMXCLO-UHFFFAOYSA-L 0.000 description 2
- OKTJSMMVPCPJKN-UHFFFAOYSA-N Carbon Chemical compound [C] OKTJSMMVPCPJKN-UHFFFAOYSA-N 0.000 description 2
- JOYRKODLDBILNP-UHFFFAOYSA-N Ethyl urethane Chemical compound CCOC(N)=O JOYRKODLDBILNP-UHFFFAOYSA-N 0.000 description 2
- 238000010521 absorption reaction Methods 0.000 description 2
- 238000006073 displacement reaction Methods 0.000 description 2
- 239000006260 foam Substances 0.000 description 2
- 238000009434 installation Methods 0.000 description 2
- JEIPFZHSYJVQDO-UHFFFAOYSA-N iron(III) oxide Inorganic materials O=[Fe]O[Fe]=O JEIPFZHSYJVQDO-UHFFFAOYSA-N 0.000 description 2
- 229910052759 nickel Inorganic materials 0.000 description 2
- 238000007747 plating Methods 0.000 description 2
- -1 polytetrafluoroethylene Polymers 0.000 description 2
- 230000002265 prevention Effects 0.000 description 2
- 229920000049 Carbon (fiber) Polymers 0.000 description 1
- YCKRFDGAMUMZLT-UHFFFAOYSA-N Fluorine atom Chemical compound [F] YCKRFDGAMUMZLT-UHFFFAOYSA-N 0.000 description 1
- 239000004677 Nylon Substances 0.000 description 1
- 229920002292 Nylon 6 Polymers 0.000 description 1
- 229920002302 Nylon 6,6 Polymers 0.000 description 1
- 229930182556 Polyacetal Natural products 0.000 description 1
- 239000004698 Polyethylene Substances 0.000 description 1
- 238000005299 abrasion Methods 0.000 description 1
- 239000010425 asbestos Substances 0.000 description 1
- 229910000019 calcium carbonate Inorganic materials 0.000 description 1
- 239000004917 carbon fiber Substances 0.000 description 1
- 239000000919 ceramic Substances 0.000 description 1
- 239000003795 chemical substances by application Substances 0.000 description 1
- 239000011248 coating agent Substances 0.000 description 1
- 238000000576 coating method Methods 0.000 description 1
- 238000013329 compounding Methods 0.000 description 1
- 238000005520 cutting process Methods 0.000 description 1
- 239000000428 dust Substances 0.000 description 1
- 239000004744 fabric Substances 0.000 description 1
- 239000011737 fluorine Substances 0.000 description 1
- 229910052731 fluorine Inorganic materials 0.000 description 1
- 239000003365 glass fiber Substances 0.000 description 1
- 239000010439 graphite Substances 0.000 description 1
- 229910002804 graphite Inorganic materials 0.000 description 1
- 238000010438 heat treatment Methods 0.000 description 1
- 239000011256 inorganic filler Substances 0.000 description 1
- 229910003475 inorganic filler Inorganic materials 0.000 description 1
- 239000000314 lubricant Substances 0.000 description 1
- 238000004519 manufacturing process Methods 0.000 description 1
- 229910052751 metal Inorganic materials 0.000 description 1
- 239000002184 metal Substances 0.000 description 1
- VNWKTOKETHGBQD-UHFFFAOYSA-N methane Chemical compound C VNWKTOKETHGBQD-UHFFFAOYSA-N 0.000 description 1
- 239000010445 mica Substances 0.000 description 1
- 229910052618 mica group Inorganic materials 0.000 description 1
- 230000000116 mitigating effect Effects 0.000 description 1
- 238000002156 mixing Methods 0.000 description 1
- 238000012986 modification Methods 0.000 description 1
- 230000004048 modification Effects 0.000 description 1
- CWQXQMHSOZUFJS-UHFFFAOYSA-N molybdenum disulfide Chemical compound S=[Mo]=S CWQXQMHSOZUFJS-UHFFFAOYSA-N 0.000 description 1
- 229910052982 molybdenum disulfide Inorganic materials 0.000 description 1
- 229920001778 nylon Polymers 0.000 description 1
- 239000004033 plastic Substances 0.000 description 1
- 229920003023 plastic Polymers 0.000 description 1
- 229920001225 polyester resin Polymers 0.000 description 1
- 239000004645 polyester resin Substances 0.000 description 1
- 229920000573 polyethylene Polymers 0.000 description 1
- 229920006324 polyoxymethylene Polymers 0.000 description 1
- 229920006327 polystyrene foam Polymers 0.000 description 1
- 229920001343 polytetrafluoroethylene Polymers 0.000 description 1
- 239000004810 polytetrafluoroethylene Substances 0.000 description 1
- 229910052895 riebeckite Inorganic materials 0.000 description 1
- 102200029231 rs11551768 Human genes 0.000 description 1
- 239000007787 solid Substances 0.000 description 1
- 229910001220 stainless steel Inorganic materials 0.000 description 1
- 239000010935 stainless steel Substances 0.000 description 1
- 238000004381 surface treatment Methods 0.000 description 1
- 229920003002 synthetic resin Polymers 0.000 description 1
- 239000000057 synthetic resin Substances 0.000 description 1
Images
Landscapes
- Buildings Adapted To Withstand Abnormal External Influences (AREA)
- Vibration Prevention Devices (AREA)
- Vibration Dampers (AREA)
Description
【発明の属する技術分野】
本発明は、構造物の上部構造と下部構造との間に装着され、下部構造の上に上部構造を固定する構造物のアンカー構造と、構造物のアンカー構造に用いるストッパ装置に関するものである。
【0002】
【従来の技術】
住宅などの軽量構造物は、一般に布基礎とも言われる基礎コンクリート101の上に建築されている。基礎コンクリート101(下部構造)の上に建築物(構造物)の土台103(上部構造)を固定する場合は、例えば、図12に示すように、L字状のアンカーボルト102の下部を基礎コンクリート101に埋設し、アンカーボルト102の上部を土台103に貫通させ、その土台103の上面に突出した部分をワッシャ104、ナット105で固定している。
【0003】
しかし、単に土台103を基礎コンクリート101の上に固定しただけでは、大型車の通行により生じる交通振動が、基礎コンクリート101から土台103にそのまま伝わる。このため、図13に示すように、土台103と基礎コンクリート101の間にゴム板100を挟んで、交通震動を緩和するものがあった。しかし、この場合でも、アンカーボルト102が土台103と基礎コンクリート101をしっかりと連結しており、アンカーボルト102を介して基礎コンクリート101から土台103に震動がそのまま伝わり、震動はさほど緩和されず、十分な免震効果は得られなかった。
【0004】
なお、このようなゴム板100は、住宅の基礎部の通気用の基礎パッキン材としての機能を備えている。すなわち、ゴム板100を、基礎コンクリート101と住宅の土台103との間に所定の間隔を開けて複数配設することにより、土台103と基礎コンクリート101との間に生じた隙間から基礎コンクリート101の内部の換気が行え、基礎コンクリート101内の空気の流れが良くなり、湿気を低減させることができる。また、基礎コンクリート101と土台103との縁を切ることにより、基礎コンクリート101が吸った水分を土台103に伝えないという作用がある。
【0005】
この種の基礎パッキン材の一般的な技術水準を示す公知文献としては、下記の特許文献1が知られている。
【0006】
また、ダンプカーなどの大型の自動車や鉄道車両の通行に伴う交通振動や地震による振動を吸収する制振機能を兼ね備えた基礎パッキン材としては、上下の硬質板の間に円形の穴を有する復元用のゴム材を配設し、ゴム材の穴の中に硬球体を転動可能に配設した転がり支承構造を備えたものが下記の特許文献2に提案されている。
【0007】
【特許文献1】
特開2001−355350号公報
【特許文献2】
特開2000−110403号公報
【0008】
【発明が解決しようとする課題】
上述した特許文献1に記載されている基礎パッキン材は、構造物の上部構造と下部構造の間にゴム材を挟んだだけであり、地震やダンプカーなどの大型の自動車による振動や鉄道車両の通行に伴う交通振動を吸収する制振機能が十分でなかった。
【0009】
また、特許文献2に記載されている基礎パッキン材は、一定の制振効果は期待できるものの、構造上、設置時に硬球体がゴム材の穴の中央に位置していることが保証されていない。このため、硬球体がゴム材の穴の内周面に接した状態で配設されている可能性があり、このような場合には振動時に硬球体がすぐにゴム材に乗り上げてしまう。本発明者らの知見によれば、ゴム材に硬球体が乗り上げると、硬球体が乗り上げた位置でゴム材が破損する場合があるので、十分な制振効果を得ることができない。
【0010】
また、積層ゴムとオイルダンパーを組み合わせた免震装置はよく知られているが、このような免震工法で用いられる積層ゴムやオイルダンパーは1基あたりの装置が負担する鉛直荷重や水平荷重が大きいため、また装置の構造上、小型化することが難しいために、装置が大きく、設置コストや設置スペースが嵩み、一般住宅などの比較的小さな構造物には不経済であり、あまり普及していない。
【0011】
そこで、本発明は、嵩張らず、安価で、振動吸収性能と基礎パッキン材としての機能を兼ね備えた構造物のアンカー構造の提供、及び、斯かる構造物のアンカー構造に適用するのに好適なストッパ装置の提供を目的としている。
【0012】
【課題を解決するための手段】
本発明に係るストッパ装置は、構造物の上部構造と下部構造の向かい合う面にそれぞれ配設した上下の硬質板と、上下の硬質板の間において、下側の硬質板の上に滑動自在に配設した円柱状の滑動体と、上下の硬質板の向かい合う面に滑動体の滑動領域を画定するように突設した円筒状のストッパ部材と、滑動体の外周面及び/又はストッパ部材の内周面に配設した弾性緩衝材とを備えている。さらに、滑動体の滑動抵抗を小さくするため、構造物の上部構造と下部構造との間に配設する際に、転がり支承装置又は滑り支承装置と一緒に配設すると共に、滑動体と上側の硬質板との間に隙間を設け、前記滑動体を上側の硬質板に対して非接触状態で水平方向に移動可能に構成したことを特徴としている。
【0013】
滑動体は、滑動時に転倒しないようにするため、高さに対して十分に広い滑動面を備えていることが望ましく、具体的には、滑動体の直径寸法を高さ寸法の1.5倍以上に設定するとよい。また、前記滑動体と上側の硬質板との間に設けた隙間は、1mm以上に設定すると良い。
【0014】
上述したストッパ装置は、嵩張らず、安価に製造、設置できる。このストッパ装置を用いた構造物のアンカー構造は、振動吸収性能と基礎パッキン材としての機能を兼ね備えた転がり支承装置又は滑り支承装置を、構造物の上部構造の鉛直荷重を支持するように、構造物の下部構造と上部構造との間に分散させて配設するとともに、高減衰ゴムの上下端面に硬質板をそれぞれ取り付けた複数の制振装置を、前記構造物の上部構造の捩じれ振動を抑制するように、構造物の下部構造と上部構造との間に分散させて配設した構造物のアンカー構造において、構造物の下部構造と上部構造との間に上述したストッパ装置を配設したものである。
【0015】
【発明の実施の形態】
以下、本発明の実施形態に係るストッパ装置及びストッパ装置を用いた構造物のアンカー構造を図面に基づいて説明する。
【0016】
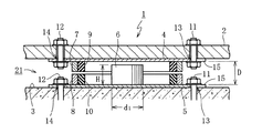
ストッパ装置1は、図1に示すように、住宅の土台2(構造物の上部構造)と基礎コンクリート3(下部構造)の向かい合う面に配設した上下の硬質板4、5と、下側の硬質板5の上に滑動自在に配設した円柱状の滑動体6と、上下の硬質板4、5の向かい合う面において、滑動体6の滑動領域を画定するストッパ部材7、8と、滑動体6とストッパ部材7、8との衝突時の衝撃を緩和する弾性緩衝材9、10を備えている。
【0017】
硬質板4、5は、図2に示すように、所要の硬さと平面度を備えた略ひし形の板状部材である。下側の硬質板5の上面には、中央部には中心から滑動体6の直径の2倍以上の距離(例えば、滑動体6の直径が40mmであれば80mm)を半径とする円を含む滑動面を備えている。滑動面は、滑動体6の円滑な滑動を確保するため、滑らかに仕上げている。なお、上下の硬質板4、5の間隔Dは、住宅の土台2と基礎コンクリート3との間に、別途設けた支承装置(転がり支承装置、滑り支承装置)の高さにより定まる。
【0018】
滑動体6は、円柱状の部材であり、上下の硬質板4、5の間で滑動自在に配設している。この滑動体6の高さHは、上下の硬質板4、5の間隔Dよりも低く設定し、滑動体6と上側の硬質板4を非接触にして、滑動体6の滑動に対する抵抗を軽減している。滑動体6の上面と上側の硬質板4の下面との隙間は、滑動体6の円滑な滑動を確保するため、1mm以上に設定するとよい。また、滑動体6は、滑動時に転倒するのを防止するため、直径寸法d1を高さ寸法Hの1.5倍以上に設定するとよい。
【0019】
滑動面となる下側の硬質板5の上面と滑動体6の下面は、円滑な滑動を確保するため摩擦係数を小さくすると良く、例えば、研磨加工又は樹脂コーティングなどの表面処理を施したものでも良いし、具体的には、ポリアセタール樹脂、ポリエステル樹脂、ナイロン樹脂(ナイロン6、ナイロン66)等の自己潤滑性及び耐磨耗性に優れたものや、硬質なプラスチックにガラス繊維、カーボン繊維、アスベスト、炭酸カルシウム、マイカ(雲母)、ウィスカー等の各種無機質充填材、又は二硫化モリブデン、カーボン粉末、グラファイトの様な固体潤滑材を混入させたものや、ステンレスの様な金属板又は合成樹脂板にポリテトラフルオロエチレン等のフッ素系樹脂をコーティングしたものや、表面を平滑面としたセラミックスを用いると良い。
【0020】
ストッパ部材7、8は、滑動体6の転動領域を画定するべく、硬質板4、5の滑動面の周縁に突設した円筒形状の部材であり、上下の硬質板4、5にそれぞれ突設している。ストッパ部材7、8の内周面には、滑動体6がストッパ部材7、8に衝突したときの衝撃、及び衝突音を緩和する弾性緩衝材9、10が配設されている。弾性緩衝材9、10には、ゴムや軟質ウレタン材などの弾性素材を用いると良い。
【0021】
このストッパ装置1は、図1に示すように、上下の硬質板4、5の間に滑動体6を配設した状態で、住宅の土台2(構造物の上部構造)と基礎コンクリート3(下部構造)との間に施工される。
【0022】
このストッパ装置1の上下の硬質板4、5の両側には、図2に示すように、アンカーボルト11、12を締結するボルト締結部13、14が設けられている。片側の第1ボルト締結部13には両側のボルト締結部13、14を結ぶ直線Lに沿って切欠き15を形成しており、反対側の第2ボルト締結部14には両側のボルト締結部13、14を結ぶ直線Lに直交する方向に沿って切欠き16を形成している。第2ボルト締結部14の切欠き16は、詳しくは、第1ボルト締結部13の所定の締結位置(例えば、設計上のボルト締結位置O)を中心とし、所定のボルトピッチ(例えば、設計上のボルトピッチP)を半径とする円弧Cに沿って形成している。なお、各ボルト締結部13、14の切欠き15、16の幅は、アンカーボルト11、12の直径よりも少し大きくなっており、切欠き15、16に沿ってアンカーボルト11、12を装着・離脱させることができるようになっている。また、切欠き15、16は、施工時の誤差を許容できるように、設計上のボルト締結位置よりも深く形成している。
【0023】
このストッパ装置1を施工するときは、図3に示すように、切欠き15に沿って第1ボルト締結部13に片側のアンカーボルト11に装着し、図中の2点鎖線で示すように、ストッパ装置1を回動させて切欠き16に沿って反対側のアンカーボルト12を第2ボルト締結部14に装着し、ナットでストッパ装置1を固定するとよい。
【0024】
このストッパ装置1は、住宅の土台2(構造物の上部構造)と基礎コンクリート3(下部構造)の間に転がり支承装置や滑り支承装置、及び、制振装置と一緒に施工され、住宅の土台2と基礎コンクリート3の間に制振層を構成する。
【0025】
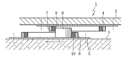
地震発生時は、住宅の土台2と基礎コンクリート3が相対的に水平方向に変位する。このストッパ装置1は、図4に示すように、住宅の土台2と基礎コンクリート3の相対変位に応じて、上下の硬質板4、5が相対的に水平方向に変位する。滑動体6は、図5に示すように、上下の硬質板4、5の何れか一方のストッパ部材7、8(弾性緩衝材9、10)に当接して、下側の硬質板5の上を滑り始める。そして、図6に示すように、滑動体6が上下の硬質板4、5に設けたストッパ部材7、8に挟持されたところで、滑動体6の滑動が規制され、滑動体6を介して住宅の土台2と基礎コンクリート3の相対的な水平方向の変位が規制される。
【0026】
このストッパ装置1によれば、滑動体6とストッパ部材7、8が面当りして、水平方向の反力により滑動体6の滑動を規制している。このため、滑動体6が下側の硬質板5のストッパ部材8に乗り上げたり、上側の硬質板4のストッパ部材7が滑動体6に乗り上げたりすることにより、上側の硬質板4を浮き上がらせるような動きが生じることはない。
【0027】
また、ストッパ部材7、8の内周に弾性緩衝材9、10を配設しており、滑動体6と上下のストッパ部材7、8が衝突した時に構造物の上部構造に伝わる衝撃を緩和することができ、また衝撃音を小さくすることができる。また、上下の硬質板4、5のストッパ部材7、8に設けた弾性緩衝材9、10により、水平方向の両側から滑動体6を挟み込んで、滑動体6の動きを規制することができるので、衝突時の滑動体6の不規則な動きを防止することができ、円滑に滑動体6の滑動を規制するとともに衝撃を吸収することができる。
【0028】
次に、このストッパ装置1を用いた構造物のアンカー構造の実施形態を説明する。
【0029】
本発明者らは、安価で嵩張らず、地震の振動を吸収する機能と、住宅の床下の換気を行う基礎パッキンとしての機能を兼ね備えた構造物のアンカー構造20に関し、図7に示すように、住宅(構造物の上部構造)の鉛直荷重を略均等に支承するように、複数の転がり支承装置22(又は滑り支承装置)を分散させて配設するとともに、協働して住宅(構造物の上部構造)の捩じれ振動を抑制するように、複数の制振装置23を分散させて配設した構造物のアンカー構造20を提案している。構造物のアンカー構造20の転がり支承装置22(又は滑り支承装置)と制振装置23については、具体的には、住宅(構造物の上部構造)の鉛直荷重を略均等に支承するように、複数の転がり支承装置22(又は滑り支承装置)を分散させて配設するとともに、協働して住宅(構造物の上部構造)の捩じれ振動を抑制するように、複数の制振装置23を分散させて配設することを提案している。
【0030】
構造物のアンカー構造20に用いる転がり支承装置22には、例えば、図8に示すように、硬球体31と、硬球体31を内部に収容する円筒形状の位置決め部材32と、硬球体31及び位置決め部材32を上下に挟む硬質板33、34を備えたものを用いる。制振装置23には、例えば、図9に示すように、高減衰ゴム製のゴム状弾性体からなる円柱状の制振部材41と、制振部材41を上下に挟む硬質板42、43と、ゴム製の被覆材44を備え、制振部材41の上端及び下端にそれぞれ硬質板42、43を加硫接着し、制振部材41の外周面をゴム製の被覆材44で被覆したものを用いる。
【0031】
この転がり支承装置22と制振装置23は、嵩張らないので、基礎パッキンの機能を兼ね備えた構造物のアンカー構造に好適である。なお、転がり支承装置22に替えて、滑り支承装置(図示省略)を用いても良い。制振装置23は、具体的には、構造物の上部構造2と下部構造3との間の制振層21の偏心率が3%以内になるように配設する。なお、構造物の上部構造2と下部構造3との間の制振層21の偏心率は、後記式1により算出するとよい。
【0032】
また、本発明に係るストッパ装置1も、安価に製造・設置でき、嵩張らないので、上述した構造物のアンカー構造に用いるのに好適である。斯かる構造物のアンカー構造20において、ストッパ装置1を構造物の上部構造と下部構造の間に配設することにより、上述した転がり支承装置22の硬球体31の転動を所定の転動領域内に規制することができるとともに、制振装置23の過変形により、制振部材41が破損するのを防止することができる。
【0033】
なお、ストッパ装置1を配設する位置は、任意に定めることができるが、好ましくは、構造物の上部構造と下部構造の間に分散させて配設すると良い。また、ストッパ装置1を配設する数は、構造物のアンカー構造20全体のコストを抑えるため、住宅の重さ、地震時に作用する慣性力、ストッパ部材7、8の耐力を考慮して、ストッパ部材7、8が壊れない程度に、適当な数に抑えると良い。
【0034】
このストッパ装置1によれば、上述したように、滑動体6とストッパ部材7、8が面あたりし、水平方向の反力によって、構造物の上部構造2と下部構造3の水平方向の動きを規制するので、滑動体6が下側の硬質板5のストッパ部材8に乗り上げたり、上側の硬質板4のストッパ部材7が滑動体6に乗り上げたりすることがなく、構造物の上部構造2を浮き上がらせるような動きが生じることはない。また、ストッパ部材7、8の内周に弾性緩衝材8、9を配設しているので、滑動体6と上下のストッパ部材7、8が衝突した時に構造物の上部構造2に伝わる衝撃を緩和することができ、また衝撃音を小さくすることができる。また、上下の硬質板4、5のストッパ部材7、8に設けた弾性緩衝材8、9により、水平方向の両側から滑動体6を挟み込んで、滑動体6の動きを規制するので、滑動体6の滑動を規制したときの衝撃を緩和するとともに、衝突時の衝撃により滑動体6に不規則な動きが生じるのを防止することができる。
【0035】
以下に、構造物のアンカー構造に用いる転がり支承装置22と制振装置23を具体的に説明する。
【0036】
転がり支承装置22に用いる硬球体31は、所要の硬さと真球度を備えた球体であり、例えば、略球形に粗加工した鋼材に転動加工を施して製造すると良い。転動加工は、略球形に粗加工した鋼材を研磨板で上下に挟み、研磨板間で転動させて鋼材の表面の歪を除去しながら、球形に整形するものである。硬球体31は、転動加工により加工硬化が生じて硬さが増す。この転動加工によれば、S15Cなどの安価な鋼材を用いて、HRC20以上の硬さと、高度な真球度を備えた硬球体31を得ることができ、硬球体31の部品コストを安くすることができる。なお、硬球体31には、例えば、ニッケルメッキなどの防錆処理を施しておくことが望ましい。
【0037】
また、転がり支承装置22に用いる硬質板33、34は、所要の硬さと平面度を備えた略ひし形の板状部材であり、中央部に位置決め部材32を接着して硬球体31を中央に位置決めしている。硬質板33、34には、硬球体31を位置決めする位置を中心として、硬球体31の直径の2倍以上の距離を半径とする円を含む転動面を備えている。硬質板33、34の転動面もニッケルメッキなどの防錆処理を施しておくとよい。上下の硬質板33、34の両側には、施工を容易にするため、ストッパ装置1と同様のボルト締結部13、14(図2、図3参照)を設けている。
【0038】
硬質板33、34は、例えば、板状素材に冷間圧延加工を施すことにより製造するとよい。冷間圧延加工は、板状素材を圧延ローラで挟みながら引き抜くものであり、熱処理を施すことがないので歪が生じることがなく、これにより所要の平面度を確保することができる。また加工硬化により所要の硬さを得ることができる。この冷間圧延加工によれば、SUS304などの鋼材を用いて、HRC20以上、より好ましくはHRC25以上の硬質板33、34を得ることができる。
【0039】
また、硬質板33、34は、設置後、硬球体31から鉛直方向の荷重を受けるのでクリープ歪みにより、鉛直方向に窪みが生じる。地震時に硬球体31を滑らかに転動させるためには、このクリープ歪み量は小さければ小さいほど良い。上述したように冷間圧延加工により加工硬化させたものは、クリープ歪みが小さくなるので好適である。具体的には、60年相当の鉛直沈み込み量が200μm以下のものを用いることにより、硬球体31の円滑な転動を長期間(一般的な住宅の耐用年数期間)維持することができる。
【0040】
また、位置決め部材32は、例えば、軟質ウレタンフォームやポリスチレン発泡体やポリエチレン発泡体などの軟質弾性材料を用いると良い。位置決め部材32の内径は、硬球体31の直径と同じか、硬球体31の直径よりも少し小さいものを用い、硬球体31の位置決めを確実に行えるようにすると良い。また、図8のように、硬球体31の周囲を位置決め部材32で覆うことにより、硬球体31の転動領域に塵や埃が入るのを防止することができる。
【0041】
なお、この転がり支承装置22は、位置決め部材32を下側の硬質板34又は上側の硬質板33の何れかにだけ接着しており、また、位置決め部材32は、外周側を接着しており、内周側は接着していない。これにより、地震時に硬球体31が転動すると、硬球体31の転動に応じて容易に変形するようになり、硬球体31の転がりに対する抵抗が軽減している。
【0042】
また、制振装置23に用いる制振部材41は、高減衰ゴムを用いるとよく、後記表1に、ゴム材料の好適な配合例を示す。なお、表1中、phrは、配合剤の質量をゴム100部に対する部数で示すときに用いる記号である。
【0043】
以上、本発明に係るストッパ装置の実施の形態、及び、本発明者らの提案する構造物のアンカー構造20への適用を説明したが、本発明に係るストッパ装置は上記に限定されるものではない。
【0044】
例えば、図1においては、弾性緩衝材9、10をストッパ部材7、8の内周に配設したものを例示したが、図10に示すように、滑動体6の外周に弾性緩衝材51を配設したものでもよい。この場合、弾性緩衝材51に用いる弾性材料の量が少なくて済むので、製造コストを低廉化させることができる。また、図11に示すように、弾性緩衝材9、10、51をストッパ部材7、8の内周及び滑動体6の外周の両方に設けてもよい。なお、弾性緩衝材51を滑動体6の外周に配設する場合には、弾性緩衝材51が下側の硬質板5に接触して弾性緩衝材51が滑動体6の滑動の妨げにならないように、上下の硬質板4、5から弾性緩衝材51を離して配設するとよい。
【0045】
また、ストッパ装置の弾性緩衝材の断面形状は適宜に設計変更すれば良く、また弾性緩衝材に用いる弾性材料も適宜に選択すると良い。
【0046】
【表1】
【0047】
【式1】
【0048】
【発明の効果】
本発明に係るストッパ装置は、滑動体とストッパ部材が面あたりし、水平方向の反力によって、構造物の上部構造と下部構造の水平方向の動きを規制するので、滑動体が下側の硬質板のストッパ部材に乗り上げたり、上側の硬質板のストッパ部材が滑動体に乗り上げたりすることがなく、構造物の上部構造を浮き上がらせるような動きが生じることはない。また、滑動体と上側の硬質板との間に隙間を設けているので、滑動体が滑動時に滑動体と上側の硬質板とが接触せず、滑動体の滑動抵抗が小さく、地震時に円滑にストッパが機能する。
【0049】
また、滑動体の外周面及び/又はストッパ部材の内周面に弾性緩衝材を配設しているので、滑動体と上下のストッパ部材が衝突した時に構造物の上部構造に伝わる衝撃を緩和することができ、また衝撃音を小さくすることができる。また、上下の硬質板のストッパ部材に設けた弾性緩衝材により、水平方向の両側から滑動体を挟み込んで、滑動体の動きを規制するので、滑動体の滑動を規制したときの衝撃を緩和するとともに、衝突時の衝撃により滑動体に不規則な動きが生じるのを防止することができる。
【図面の簡単な説明】
【図1】 本発明の第1実施形態に係るストッパ装置を示す縦断面図。
【図2】 ストッパ装置の平面図。
【図3】 ストッパ装置の施工工程を示す平面図。
【図4】 ストッパ装置の使用状態を示す縦断面図。
【図5】 ストッパ装置の使用状態を示す縦断面図。
【図6】 ストッパ装置の使用状態を示す縦断面図。
【図7】 構造物のアンカー構造を示す平面図。
【図8】 構造物のアンカー構造に用いる転がり支承装置の一実施形態を示す縦断面図。
【図9】 構造物のアンカー構造に用いる制振装置の一実施形態を示す縦断面図。
【図10】 ストッパ付き転がり支承装置の変形例を示す縦断面図。
【図11】 ストッパ付き転がり支承装置の変形例を示す縦断面図。
【図12】 従来の住宅の上部構造のアンカー構造を示す図。
【図13】 基礎パッキン材を示す図。
【符号の説明】
1 ストッパ装置
2 住宅の土台(構造物の上部構造)
3 基礎コンクリート(構造物の下部構造)
4、5 上下の硬質板
6 滑動体
7、8 ストッパ部材
9 弾性緩衝材
Claims (4)
- 構造物の上部構造と下部構造の向かい合う面にそれぞれ配設した上下の硬質板と、
前記上下の硬質板の間において、下側の硬質板の上に滑動自在に配設した円柱状の滑動体と、
前記上下の硬質板の向かい合う面に前記滑動体の滑動領域を画定するように突設した円筒状のストッパ部材と、
前記滑動体の外周面及び/又はストッパ部材の内周面に配設した弾性緩衝材とを備え、
構造物の上部構造と下部構造との間に配設する際に、転がり支承装置又は滑り支承装置と一緒に配設すると共に、滑動体と上側の硬質板との間に隙間を設け、前記滑動体を上側の硬質板に対して非接触状態で水平方向に移動可能に構成したことを特徴とするストッパ装置。 - 前記滑動体の直径寸法が、高さ寸法の1.5倍以上に設定されていることを特徴とする請求項1に記載のストッパ装置。
- 前記滑動体と上側の硬質板との隙間を1mm以上に設定したことを特徴とする請求項1又は2に記載のストッパ装置。
- 転がり支承装置又は滑り支承装置を、構造物の上部構造の鉛直荷重を支持するように、構造物の下部構造と上部構造との間に分散させて配設するとともに、
高減衰ゴムの上下端面に硬質板をそれぞれ取り付けた複数の制振装置を、前記構造物の上部構造の捩じれ振動を抑制するように、構造物の下部構造と上部構造との間に分散させて配設した構造物のアンカー構造において、
前記構造物の下部構造と上部構造との間に請求項1から3の何れかに記載のストッパ装置を配設したことを特徴とする構造物のアンカー構造。
Priority Applications (1)
| Application Number | Priority Date | Filing Date | Title |
|---|---|---|---|
| JP2003076052A JP4097201B2 (ja) | 2003-03-19 | 2003-03-19 | ストッパ装置及び構造物のアンカー構造 |
Applications Claiming Priority (1)
| Application Number | Priority Date | Filing Date | Title |
|---|---|---|---|
| JP2003076052A JP4097201B2 (ja) | 2003-03-19 | 2003-03-19 | ストッパ装置及び構造物のアンカー構造 |
Publications (2)
| Publication Number | Publication Date |
|---|---|
| JP2004285589A JP2004285589A (ja) | 2004-10-14 |
| JP4097201B2 true JP4097201B2 (ja) | 2008-06-11 |
Family
ID=33291200
Family Applications (1)
| Application Number | Title | Priority Date | Filing Date |
|---|---|---|---|
| JP2003076052A Expired - Fee Related JP4097201B2 (ja) | 2003-03-19 | 2003-03-19 | ストッパ装置及び構造物のアンカー構造 |
Country Status (1)
| Country | Link |
|---|---|
| JP (1) | JP4097201B2 (ja) |
Families Citing this family (2)
| Publication number | Priority date | Publication date | Assignee | Title |
|---|---|---|---|---|
| JP4812463B2 (ja) * | 2006-02-27 | 2011-11-09 | 大成建設株式会社 | 免震床構造 |
| CN115246584B (zh) * | 2021-11-30 | 2024-12-10 | 徐州瑞马智能技术有限公司 | 一种热镀锌产线专用定量给料装置 |
-
2003
- 2003-03-19 JP JP2003076052A patent/JP4097201B2/ja not_active Expired - Fee Related
Also Published As
| Publication number | Publication date |
|---|---|
| JP2004285589A (ja) | 2004-10-14 |
Similar Documents
| Publication | Publication Date | Title |
|---|---|---|
| CN107747255B (zh) | 一种横向刚度和竖向刚度分开控制的钢轨减振扣件 | |
| WO2008013652A2 (en) | Geometric shaped side bearing pad | |
| JP7241227B1 (ja) | 球面滑り支承 | |
| JP4097201B2 (ja) | ストッパ装置及び構造物のアンカー構造 | |
| CN115559160A (zh) | 一种锁紧式压缩型减振扣件及其安装方法 | |
| JP2004300776A (ja) | ストッパ付き滑り支承装置及び構造物のアンカー構造 | |
| JP4097202B2 (ja) | 浮き上がり防止装置及び構造物のアンカー構造 | |
| CN218969749U (zh) | 一种具有防落梁功能的铁路桥梁用减震球型支座 | |
| JP4094013B2 (ja) | 構造物用弾性支承体 | |
| JP2004278550A (ja) | ストッパ付き転がり支承装置及び構造物のアンカー構造 | |
| CN213709156U (zh) | 一种坡面导向式自复位减隔震支座 | |
| CN117533364A (zh) | 一种高静低动减振器 | |
| KR102368724B1 (ko) | 다층 마찰 면진장치 | |
| CN110056242B (zh) | 一种支承摆式双向调谐质量阻尼器 | |
| JP4097198B2 (ja) | 転がり支承装置及び構造物のアンカー構造 | |
| JP2006077395A (ja) | 橋梁用支承装置 | |
| KR100992615B1 (ko) | 마찰을 이용한 탄성받침 | |
| JP4140831B2 (ja) | 構造物のアンカー構造、構造物のアンカー構造に用いる制振装置及び転がり支承装置 | |
| JP4315828B2 (ja) | 鉄道車両用低騒音連結装置 | |
| JP3859609B2 (ja) | 固定式の荷重支持部材 | |
| KR200360336Y1 (ko) | 고감쇠 고무를 이용한 교좌장치 | |
| JP2004232853A (ja) | ストッパ付き転がり支承装置及び構造物のアンカー構造 | |
| JP4107413B2 (ja) | 制振装置 | |
| JP2003329081A (ja) | 制振装置 | |
| JP7419411B2 (ja) | 免震構造用すべり支承 |
Legal Events
| Date | Code | Title | Description |
|---|---|---|---|
| A621 | Written request for application examination |
Free format text: JAPANESE INTERMEDIATE CODE: A621 Effective date: 20060203 |
|
| A977 | Report on retrieval |
Free format text: JAPANESE INTERMEDIATE CODE: A971007 Effective date: 20071108 |
|
| A131 | Notification of reasons for refusal |
Free format text: JAPANESE INTERMEDIATE CODE: A131 Effective date: 20071114 |
|
| A521 | Written amendment |
Free format text: JAPANESE INTERMEDIATE CODE: A523 Effective date: 20080109 |
|
| TRDD | Decision of grant or rejection written | ||
| A01 | Written decision to grant a patent or to grant a registration (utility model) |
Free format text: JAPANESE INTERMEDIATE CODE: A01 Effective date: 20080307 |
|
| A61 | First payment of annual fees (during grant procedure) |
Free format text: JAPANESE INTERMEDIATE CODE: A61 Effective date: 20080307 |
|
| R150 | Certificate of patent or registration of utility model |
Ref document number: 4097201 Country of ref document: JP Free format text: JAPANESE INTERMEDIATE CODE: R150 Free format text: JAPANESE INTERMEDIATE CODE: R150 |
|
| FPAY | Renewal fee payment (event date is renewal date of database) |
Free format text: PAYMENT UNTIL: 20110321 Year of fee payment: 3 |
|
| FPAY | Renewal fee payment (event date is renewal date of database) |
Free format text: PAYMENT UNTIL: 20110321 Year of fee payment: 3 |
|
| FPAY | Renewal fee payment (event date is renewal date of database) |
Free format text: PAYMENT UNTIL: 20120321 Year of fee payment: 4 |
|
| R250 | Receipt of annual fees |
Free format text: JAPANESE INTERMEDIATE CODE: R250 |
|
| FPAY | Renewal fee payment (event date is renewal date of database) |
Free format text: PAYMENT UNTIL: 20120321 Year of fee payment: 4 |
|
| FPAY | Renewal fee payment (event date is renewal date of database) |
Free format text: PAYMENT UNTIL: 20130321 Year of fee payment: 5 |
|
| R250 | Receipt of annual fees |
Free format text: JAPANESE INTERMEDIATE CODE: R250 |
|
| FPAY | Renewal fee payment (event date is renewal date of database) |
Free format text: PAYMENT UNTIL: 20130321 Year of fee payment: 5 |
|
| FPAY | Renewal fee payment (event date is renewal date of database) |
Free format text: PAYMENT UNTIL: 20140321 Year of fee payment: 6 |
|
| R250 | Receipt of annual fees |
Free format text: JAPANESE INTERMEDIATE CODE: R250 |
|
| R250 | Receipt of annual fees |
Free format text: JAPANESE INTERMEDIATE CODE: R250 |
|
| R250 | Receipt of annual fees |
Free format text: JAPANESE INTERMEDIATE CODE: R250 |
|
| R250 | Receipt of annual fees |
Free format text: JAPANESE INTERMEDIATE CODE: R250 |
|
| R250 | Receipt of annual fees |
Free format text: JAPANESE INTERMEDIATE CODE: R250 |
|
| R250 | Receipt of annual fees |
Free format text: JAPANESE INTERMEDIATE CODE: R250 |
|
| R250 | Receipt of annual fees |
Free format text: JAPANESE INTERMEDIATE CODE: R250 |
|
| LAPS | Cancellation because of no payment of annual fees |
