JP4092237B2 - 動索用繊維ロープ - Google Patents
動索用繊維ロープ Download PDFInfo
- Publication number
- JP4092237B2 JP4092237B2 JP2003094016A JP2003094016A JP4092237B2 JP 4092237 B2 JP4092237 B2 JP 4092237B2 JP 2003094016 A JP2003094016 A JP 2003094016A JP 2003094016 A JP2003094016 A JP 2003094016A JP 4092237 B2 JP4092237 B2 JP 4092237B2
- Authority
- JP
- Japan
- Prior art keywords
- fiber
- rope
- composite
- strand
- bundles
- Prior art date
- Legal status (The legal status is an assumption and is not a legal conclusion. Google has not performed a legal analysis and makes no representation as to the accuracy of the status listed.)
- Expired - Fee Related
Links
Images
Classifications
-
- D—TEXTILES; PAPER
- D07—ROPES; CABLES OTHER THAN ELECTRIC
- D07B—ROPES OR CABLES IN GENERAL
- D07B1/00—Constructional features of ropes or cables
- D07B1/06—Ropes or cables built-up from metal wires, e.g. of section wires around a hemp core
- D07B1/0673—Ropes or cables built-up from metal wires, e.g. of section wires around a hemp core having a rope configuration
-
- D—TEXTILES; PAPER
- D07—ROPES; CABLES OTHER THAN ELECTRIC
- D07B—ROPES OR CABLES IN GENERAL
- D07B1/00—Constructional features of ropes or cables
- D07B1/02—Ropes built-up from fibrous or filamentary material, e.g. of vegetable origin, of animal origin, regenerated cellulose, plastics
- D07B1/025—Ropes built-up from fibrous or filamentary material, e.g. of vegetable origin, of animal origin, regenerated cellulose, plastics comprising high modulus, or high tenacity, polymer filaments or fibres, e.g. liquid-crystal polymers
-
- D—TEXTILES; PAPER
- D07—ROPES; CABLES OTHER THAN ELECTRIC
- D07B—ROPES OR CABLES IN GENERAL
- D07B1/00—Constructional features of ropes or cables
- D07B1/14—Ropes or cables with incorporated auxiliary elements, e.g. for marking, extending throughout the length of the rope or cable
- D07B1/145—Ropes or cables with incorporated auxiliary elements, e.g. for marking, extending throughout the length of the rope or cable comprising elements for indicating or detecting the rope or cable status
-
- D—TEXTILES; PAPER
- D07—ROPES; CABLES OTHER THAN ELECTRIC
- D07B—ROPES OR CABLES IN GENERAL
- D07B1/00—Constructional features of ropes or cables
- D07B1/16—Ropes or cables with an enveloping sheathing or inlays of rubber or plastics
- D07B1/162—Ropes or cables with an enveloping sheathing or inlays of rubber or plastics characterised by a plastic or rubber enveloping sheathing
Landscapes
- Chemical & Material Sciences (AREA)
- Crystallography & Structural Chemistry (AREA)
- Ropes Or Cables (AREA)
- Lift-Guide Devices, And Elevator Ropes And Cables (AREA)
Description
【技術分野】
この発明は,クレーン用の動索,エレベータ用の動索,その他の用途に用いられる動索用繊維ロープに関する。
【0002】
【従来技術】
動索として,ワイヤロープが使用されている。一般的に動索に使用するワイヤロープは,中心に繊維束を配置し,その周りに鋼製のストランドを撚り合わせた構造のものである。繊維束は,その周りに撚り合わせたストランドを支えてワイヤロープの形状を保つとともに,グリースをストランドに補給してストランドの損傷,腐食を防ぐ。鋼製のストランドがワイヤロープの主構成要素であるから,軽量化を図ることが難しい。
【0003】
一方,繊維ロープは,鋼製の同径のワイヤロープに比べ,軽量であり,柔軟性があり,繰り返し引張りおよび曲げに対する疲労強度があるが,損傷等の検出または劣化の診断が困難であるため,動索として使用することが困難である。
【0004】
【発明の開示】
この発明は,損傷等の検出または劣化の診断が容易にできる動索用繊維ロープを提供することを目的とする。
【0005】
第1の発明による動索用繊維ロープは,少なくとも一本の複合ストランドと少なくとも一本の繊維ストランドとが撚り合わされて繊維裸ロープが構成され,この繊維裸ロープの外側周囲を覆うように被覆層が形成され,上記複合ストランドは,少なくとも一束の複合繊維束と少なくとも一束の繊維束とが撚り合わされて,または複数束の複合繊維束が撚り合わされて構成され,上記複合繊維束には,繊維よりも伸びの大きい,寿命検知用金属線,または複数本の金属線が撚り合わされてなる寿命検知用金属撚り線が含まれているものである。
【0006】
撚り合わされて繊維裸ロープを構成する複合ストランドと繊維ストランドとの本数および配置は動索用繊維ロープの径の大きさ,要求される強度等に応じて定められる。少なくとも一本の複合ストランドと少なくとも一本の繊維ストランドとが含まれていればよい。複合ストランドおよび繊維ストランドの撚り方,形状および径の大きさは,動索用繊維ロープの形状,径の大きさ,要求される引張り,曲げに対する強度等に応じて定められる。
【0007】
繊維裸ロープの外側周囲にこれを覆うように形成される被覆層は,合成樹脂を繊維裸ロープの外周面に溶着するまたは密着させる,合成樹脂テープを繊維裸ロープの外周に巻回する,合成繊維によって編組する,これらを組合せる等の方法によって形成することができる。さらに被覆層の厚さは動索用繊維ロープの径の大きさ,要求される被覆層の強度等に応じて定められる。被覆層により,動索用繊維ロープの摩擦による外傷または腐食を防ぐことができる。
【0008】
複合ストランドは,少なくとも一束の複合繊維束と少なくとも一束の繊維束とが撚り合わされて,または複数束の複合繊維束が撚り合わされて構成される。撚り合わされる複合繊維束および繊維束の束数および配置はそれぞれ要求される径,強度等に応じて定められる。
【0009】
繊維ストランドは,複数束の繊維束が撚り合わされて構成される。繊維束は,アラミド繊維等の合成繊維または天然繊維等の多数本のフィラメント(繊維)を束ね合わせたものである。
【0010】
これらの複合ストランドまたは繊維ストランドを構成するための複合繊維束または繊維束の撚り方,形状および径の大きさは,動索用繊維ロープの形状,径の大きさ,要求される引張り,曲げに対する強度等に応じて定められる。
【0011】
複合ストランドの構成要素である複合繊維束は,寿命検知用金属線(1本もしくは複数本),または複数本の金属線が撚り合わされてなる寿命検知用金属撚り線(1本もしくは複数本)が,アラミド繊維等の合成繊維または天然繊維等の多数本のフィラメント(繊維)とともに束ねられているものである。寿命検知用金属線または寿命検知用金属撚り線は,多数本のフィラメントのどこに(中央でも,周辺でも)位置していてもよい。
【0012】
寿命検知用金属線は,スチールワイヤ等を含む電導性の金属線である。寿命検知用金属撚り線は,複数本の金属線を撚り合わせたものである。寿命検知用金属線の,または寿命検知用金属撚り線を構成する金属線の材質,断面形状,径の大きさおよび本数は,動索用繊維ロープの損傷,劣化等により動索用繊維ロープを交換すべき時期(動索用繊維ロープの寿命がきた時期)に断線するような,または断線が検知されるような強度をもつように設定される。
【0013】
いずれにしても,寿命検知用金属線または寿命検知用金属撚り線は,動索用繊維ロープの一端から他端までとぎれることなく(断線していることなく)連続的につながった状態で複合繊維束内に設けられる。
【0014】
寿命検知用金属線または寿命検知用金属撚り線は動索用繊維ロープに加わる負荷(主に引張り荷重)を負担する必要はない。むしろ,寿命検知用金属線または寿命検知用金属撚り線が動索用繊維ロープに加わる負荷を負担しないようにすることが望ましい。このために寿命検知用金属線または寿命検知用金属撚り線は,負荷を負担する繊維(繊維束,複合繊維束,繊維ストランドまたは複合ストランドを構成するもの)よりも伸びが大きいものとする。もちろん,寿命検知用金属線または寿命検知用金属撚り線は動索用繊維ロープと一緒に曲がるもの(曲げやすいもの)であることが前提である。
【0015】
寿命検知用金属線を繊維よりも伸びの大きなものにするために,一実施態様では,寿命検知用金属線の外周面に,長手方向に沿って凹溝または凸条を螺旋状に形成する(クリンプ加工)。寿命検知用金属撚り線は,短い撚りピッチで撚ることにより(好ましくは,複合ストランドの撚りピッチよりも短く),伸びやすくすることができる。
【0016】
以上のように動索用繊維ロープは,基本的には(負荷を負担する部分についていうと),繊維ロープであるから,同径の鋼製のロープよりも軽量であり,弾性係数が小さく,疲労強度がある。すわなち,動索用繊維ロープは軽量であり,曲げやすく,繰返し引張りおよび曲げに対して疲労しにくい。また動索用繊維ロープには,その長手方向に沿って一または複数本の寿命検知用金属線または寿命検知用金属撚り線が入っているので,ワイヤロープの損傷検出器(その一例が実開平6−87861号に示されている)を使用して寿命検知用金属線または寿命検知用金属撚り線の損傷等による断線の箇所を容易に検出することができる。寿命検知用金属線または寿命検知用金属撚り線の断線が検出されたときには,動索用繊維ロープにも損傷等が生じている,劣化している,または損傷等が生じるであろう,劣化の時期にきているであろう,したがって動索用繊維ロープには寿命がきており,交換すべき時期であると予測できる。これにより,動索用繊維ロープの交換時期を誤ることなく,安全性を確保できる。
【0017】
第2の発明による動索用繊維ロープは,複数本の複合ストランドが撚り合わされて繊維裸ロープが構成され,この繊維裸ロープの外側周囲を覆うように被覆層が形成され,上記複合ストランドは,少なくとも一束の複合繊維束と少なくとも一束の繊維束とが撚り合わされて,または複数束の複合繊維束が撚り合わされて構成され,上記複合繊維束には,繊維よりも伸びの大きい,寿命検知用金属線,または複数本の金属線が撚り合わされてなる寿命検知用金属撚り線が含まれているものである。
【0018】
本願第2発明による動索用繊維ロープと,第1の発明による動索用繊維ロープとの違いは,第1の発明による動索用繊維ロープが少なくとも一本の複合ストランドと少なくとも一本の繊維ストランドを含むのに対して,第2の発明による動索用繊維ロープは,複数本の複合ストランドを撚り合わせて繊維裸ロープが構成される点にある。第2の発明による動索用繊維ロープは,複数本の複合ストランドにより構成されており,複合ストランドは,少なくとも1束の複合繊維束を含でいる。複合繊維束には,寿命検知用金属線(1本もしくは複数本)または寿命検知用金属撚り線(1本もしくは複数本)が入っているので,寿命検知用金属線または寿命検知用金属撚り線の断線検知により,動索用繊維ロープ全体の損傷等の検出または劣化の診断が容易に可能となる。さらに主要構成が繊維ロープであるため,軽量化を図り,曲げ,引張りに対して疲労強度を高めることができる。
【0019】
第3の発明による動索用繊維ロープは,少なくとも一束の複合繊維束と少なくとも一束の繊維束とが撚り合わされて複合ストランドが構成され,この複合ストランドの外側周囲を覆うように被覆層が形成され,上記複合繊維束には,繊維よりも伸びの大きい,寿命検知用金属線,または複数本の金属線が撚り合わされてなる寿命検知用金属撚り線が含まれているものである。
【0020】
第1または第2の発明による動索用繊維ロープが,複数の繊維ストランドまたは複合ストランドを含むものであり,比較的大径の動索用繊維ロープに適しているのに対して,第3の発明による動索用繊維ロープは1つの複合ストランドを含むものであるから,比較的小径の動索用繊維ロープに適している。第3の発明による動索用繊維ロープは,1つの複合ストランドにより構成されており,複合ストランドは,少なくとも1束の複合繊維束を含でいる。複合繊維束には,寿命検知用金属線(1本もしくは複数本)または寿命検知用金属撚り線(1本もしくは複数本)が入っているので,寿命検知用金属線または寿命検知用金属撚り線の断線検知により,動索用繊維ロープ全体の損傷等の検出または劣化の診断が容易に可能となる。さらに主要構成が繊維ロープであるため,軽量化を図り,曲げ,引張りに対して疲労強度を高めることができる。
【0021】
第4の発明による動索用繊維ロープは,複数束の複合繊維束が撚り合わされて複合ストランドが構成され,この複合ストランドの外側周囲にこれを覆うように被覆層が形成され,上記複合繊維束には,繊維よりも伸びの大きい,寿命検知用金属線,または複数本の金属線が撚り合わされてなる寿命検知用金属撚り線が含まれているものである。
【0022】
本願第4発明による動索用繊維ロープと,第3の発明による動索用繊維ロープとの違いは,第3の発明による動索用繊維ロープを構成する複合ストランドが少なくとも一束の複合繊維束と少なくとも一束の繊維束を含むのに対して,第4の発明による動索用繊維ロープは,複数束の複合繊維束を撚り合わせて1つの複合ストランドが構成される点にある。第4発明による動索用繊維ロープは1つの複合ストランドにより構成され,複合ストランドはそのすべてが複数束の複合繊維束により構成される。複合繊維束には,寿命検知用金属線(1本もしくは複数本)または寿命検知用金属撚り線(1本もしくは複数本)が入っているので,寿命検知用金属線または寿命検知用金属撚り線の断線検知により,動索用繊維ロープ全体の損傷等の検出または劣化の診断が容易に可能となる。さらに主要構成が繊維ロープであるため,軽量化を図り,曲げ,引張りに対して疲労強度を高めることができる。
【0023】
【実施例の説明】
第1実施例の動索用繊維ロープを図1および図2に示す。図1は動索用繊維ロープの断面図であり,図2は動索用繊維ロープの構成要素である複合ストランドの拡大断面図である。
【0024】
動索用繊維ロープ1は,1本の複合ストランド20Aと複数本の繊維ストランド20とが撚り合わされて繊維裸ロープが構成され,この繊維裸ロープの外側周囲にこれを覆うように被覆層4が形成されているものである。
【0025】
繊維裸ロープは,径が 3.5mmの6本の繊維ストランド20と,径が 3.5mmの1本の複合ストランド20Aとを,複合ストランド20Aを中心に配置して,撚りピッチ60mmで撚り合わせて,径が10mmに構成されている。繊維ストランド20は,径が 1.2mmの7束の繊維束21を,撚りピッチ24mmで撚り合わせて構成されている。複合ストランド20Aは,図2に示すように,径が 1.2mmの4束の繊維束21と,径が 1.2mmの3束の複合繊維束21Aとを,複合繊維束21Aが隣り合うことなく,各々の複合繊維束21Aの間に繊維束21を配置して,撚りピッチ24mmで撚り合わせて構成されている。
【0026】
繊維束21は,径が12μmの数千本のアラミド系繊維のフィラメント22を束ねたものである。また,複合繊維束21Aは,1本の寿命検知用スチールワイヤ撚り線31Aが,中央の位置で,数千本のフィラメント22とともに束ねられて構成されている。スチールワイヤ撚り線31Aは,径が 0.365mmの3本のスチールワイヤ32Aを,撚りピッチ7mm(繊維裸ロープの撚りピッチ60mm,複合ストランドの撚りピッチ24mmよりも小さく)で,撚り合わせて構成されている。スチールワイヤ撚り線31Aは,繊維よりも伸びやすくするために複合ストランド20Aの撚りピッチ以下の撚りピッチで撚り合わされている。
【0027】
動索用繊維ロープ1の外周には,その全周囲にわたって,厚さ1mmでポリエチレン被覆が施され,被覆層4が形成されている。たとえば,被覆層4は,繊維裸ロープを筒状体に挿通して移動させながらこの筒状体内に加熱して軟化(流動化)させたポリエチレンを圧入してポリエチレンを繊維裸ロープの外周面に付着させ,繊維裸ロープの周囲に付着したポリエチレンの外形をダイス等に通して整え,冷却させることにより形成される。合成樹脂被覆層4により,動索用繊維ロープ1の摩擦による外傷または腐食を防ぐことができる。
【0028】
表1に,図1に示す第1実施例の動索用繊維ロープ1および従来のワイヤロープ(従来例)についての疲労試験結果を示す。従来例のワイヤロープは,中心に配置されたポリプロピレンの繊維束の周りに鋼製のストランドを撚り合わしたもので,6×Fi(29)の構造を有する。従来例のワイヤロープの径は10mm,撚りピッチは60mmである。
【0029】
【表1】
【0030】
疲労試験は,図4に示すように,被試験ロープ(第1実施例の動索用繊維ロープ1または従来例のワイヤロープ)を駆動シーブ10に掛け,さらに2つの同じ径の試験シーブ12,13に掛け(S曲げして),テンションシーブ11に掛ける。テンションシーブ11に重り14を吊下げることにより被試験ロープに張力を与える。駆動シーブ10は,5サイクル/分で往復回転する。1サイクルのストロークは,3000mmである。疲労試験は,安全率6で,試験シーブ12,13の径Dと被試験ロープの径dとの比D/dが10,16,および20の場合について行った。動索用繊維ロープ1については,動索用繊維ロープ1内に入れられたスチールワイヤ撚り線31Aが断線するまでの総ストロークと動索用繊維ロープ1が破断するまでの総ストローク(1サイクルのストロークとサイクル数との積)とを測定した。また従来例のワイヤロープについては,ワイヤロープが破断するまでの総ストロークを測定した。
【0031】
表1の寿命比は,D/d=10の場合において従来例のワイヤロープが破断するまでの総ストロークを基準(すなわち1)として表わしている。すなわち,動索用繊維ロープ1内に入れられたスチールワイヤ撚り線31Aが断線するまでの総ストローク,動索用繊維ロープ1が破断するまでの総ストローク,または従来例のワイヤロープが破断するまでの総ストロークを,D/d=10の場合において従来例のワイヤロープが破断するまでの総ストロークで除算して,小数点以下を切り捨てて,整数値としてそれぞれの寿命比を求めた。疲労試験の結果,動索用繊維ロープ1内に入れられたスチールワイヤ撚り線31Aの断線検知までの総ストロークは,D/dが10,16,および20のいずれの場合も,従来のワイヤロープの破断までの総ストロークの2倍以上であった(寿命比はそれぞれ2,8および12)。また動索用繊維ロープ1の破断までの総ストロークは,D/dが10,16,および20のいずれの場合においても,従来例のワイヤロープの破断までの総ストロークの4倍以上であった(寿命比はそれぞれ4,16および24)。したがって,動索用繊維ロープ1は,ワイヤロープよりも疲労強度が高いことが確認できた。また,スチールワイヤ撚り線31Aの断線検知までの総ストロークの方が,動索用繊維ロープ1の破断までの総ストロークよりも小さいことが確認できた。すなわち,スチールワイヤ撚り線31Aの断線は,動索用繊維ロープ1が破断するよりも早期に生じるので,スチールワイヤ撚り線31Aの断線を検知することにより,動索用繊維ロープ1が破断する前にその交換時期を判断することができる。
【0032】
第1実施例の動索用繊維ロープにおいては,寿命検知用スチールワイヤ撚り線31Aが動索用繊維ロープ1の一端から他端まで連続的に複合繊維束21A内に設けられているので,損傷検出器等の機器を使用してスチールワイヤ撚り線31Aの損傷等による断線の有無および断線の箇所を検出することができる。スチールワイヤ撚り線31Aの断線が検出されたときには,動索用繊維ロープ1にも損傷等が生じている,劣化している,または損傷等が生じるであろう,劣化の時期にきているであろう,したがって動索用繊維ロープ1には寿命がきており,交換すべき時期であると予測できる。これにより,動索用繊維ロープ1の交換時期を誤ることなく,安全性を確保できる。
【0033】
複合ストランドは,図3に示す複合ストランド20Bのように,繊維束を用いることなく複数束の複合繊維束21Aのみを撚り合わせて構成してもよい。
【0034】
複合繊維束は,寿命検知用スチールワイヤ撚り線を用いるものではなく,一または複数本の単線の寿命検知用スチールワイヤと,数千本のフィラメントとを束ね合わて構成したものであってもよい。寿命検知用スチールワイヤを繊維よりも伸びやすくするために,その外周面に,長手方向に沿って,複合ストランドの撚りピッチよりも短いピッチで,凹溝または凸条を螺旋状に形成する(クリンプ加工)。
【0035】
第1実施例の動索用繊維ロープの変形例を図5および図6に示す。図5は動索用繊維ロープの断面図である。図6は動索用繊維ロープの構成要素である複合ストランドの拡大断面図である。第1実施例の動索用繊維ロープ1においては,1本の複合ストランド20Aを中心に配置して6本の繊維ストランド20を撚り合わせて繊維裸ロープが構成されているのに対し,動索用繊維ロープ1Bの繊維裸ロープは,1本の繊維ストランド20を中心に配置して,その周りに5本の繊維ストランド20と1本の複合ストランド20Cとを撚り合わせて構成されている。複合ストランド20Cは,1束の繊維束21を中心に配置して,3束の繊維束21と3束の複合繊維束21Bとがその周りに撚り合わされて構成されている。複合繊維束21Bは,2本の単線の寿命検知用スチールワイヤ32Bが互いに間隔をあけてフィラメント22とともに束ね合わされている。2本の単線の寿命検知用スチールワイヤ32Bの外側周囲には,長手方向に沿って螺旋状にクリンプが形成されている。このように複合ストランド20Cは,繊維裸ロープにおいていずれの位置に配置してもよい。また,スチールワイヤの本数および配置する位置も動索用ロープの損傷,劣化等により動索用繊維ロープを交換する時期に断線が検知されるように定めればよい。
【0036】
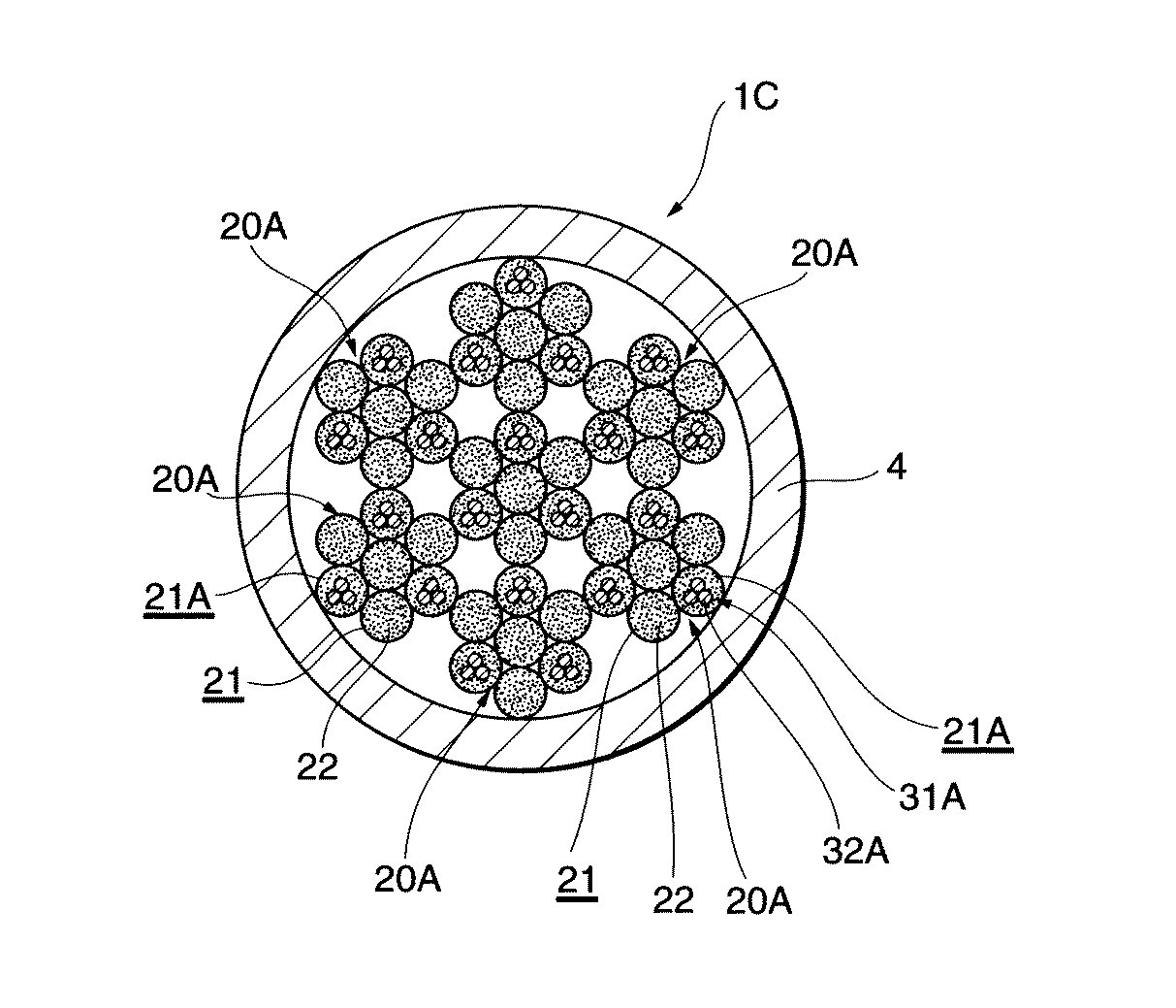
図7は,第1実施例の動索用繊維ロープの他の変形例の断面図である。図1に示す第1実施例の動索用繊維ロープ1においては,1本の複合ストランド20Aを中心に配置して6本の繊維ストランド20を撚り合わせて繊維裸ロープが構成されているのに対し,図7に示す動索用繊維ロープ1Cの繊維裸ロープは,1本の複合ストランド20Aを中心に配置してその周りに6本の複合ストランド20Aを撚り合わせて構成されている。すなわち,繊維ストランドを用いることなく複合ストランド20Aのみを撚り合わせて繊維裸ロープが構成されている。複合ストランド20Aは,1束の繊維束21を中心に配置して,3束の繊維束21と3束の複合繊維束21Aとがその周りに撚り合わされて構成されている。複合繊維束21Aは1本の寿命検知用スチールワイヤ撚り線31Aを中央に配置して数千本のフィラメント22とともに束ね合わされて構成されている。スチールワイヤ撚り線31Aは,3本のスチールワイヤ32Aを,複合ストランド20Aの撚りピッチよりも短いピッチで,撚り合わせて構成されている。
【0037】
図8は,第2実施例の動索用繊維ロープの断面図である。動索用繊維ロープ1Dの繊維裸ロープは,1本の繊維ストランド20を中心に配置して,その周りに5本の繊維ストランド20と1本の複合ストランド20Aとを撚り合わせ,さらにその外側には11本の繊維ストランド20と1本の複合ストランド20Aとを撚り合わせて構成されている。複合ストランド20Aは,1束の繊維束21を中心に配置して,3束の繊維束21と3束の複合繊維束21Aとがその周りに撚り合わされて構成されている。複合繊維束21Aは,1本の寿命検知用スチールワイヤ撚り線31Aを中央に配置して数千本のフィラメント22とともに束ねられて構成されている。スチールワイヤ撚り線31Aは,3本のスチールワイヤ32Aを,複合ストランド20Aの撚りピッチよりも小さい撚りピッチで,撚り合わせて構成されている。動索用繊維ロープ1Dの繊維裸ロープは,1+6+12の三層構造からなり,繊維裸ロープの第2層目と3層目とにそれぞれ複合ストランド20Aが1本ずつ配置されている。このように動索用繊維ロープを構成する繊維裸ロープの構造は,要求される径,強度等に応じてさまざまな形態とすることができる。
【0038】
図9は,第3実施例の動索用繊維ロープの断面図である。第3実施例の動索用繊維ロープ1Eの繊維裸ロープは,1束の繊維束21を中心に配置して,その周りに3束の繊維束21と3束の複合繊維束21Aとを撚り合わせて構成されている。すなわち,繊維裸ロープは複合ストランド20Aである。複合繊維束21Aは,1本の寿命検知用スチールワイヤ撚り線31Aを中央に配置して数千本のフィラメント22とともに束ね合わされて構成されている。スチールワイヤ撚り線31Aは,3本のスチールワイヤ32Aを,複合ストランド20Aの撚りピッチよりも短いピッチで,撚り合わせて構成されている。第1,2実施例の動索用繊維ロープ1,1B,1Cおよび1Dが比較的大径の動索用繊維ロープに適しているのに対して,第3実施例の動索用繊維ロープ1Eは,比較的小径の動索用繊維ロープに適している。
【0039】
図10は,第3実施例の動索用繊維ロープの変形例の断面図である。図9に示す動索用繊維ロープ1Eにおいては1束の繊維束21を中心に配置してその周りに3束の繊維束21と3束の複合繊維束21Aとを撚り合わせて繊維裸ロープ(複合ストランド20A)が構成されているのに対して,図10に示す動索用繊維ロープ1Fの繊維裸ロープは,1束の複合繊維束21Aを中心に配置して,その周りに6束の複合繊維束21Aを撚り合わせて構成されている。すなわち,繊維裸ロープは複合ストランド20Bであり,複合ストランド20Bは繊維束を用いることなく複合繊維束21Aのみを撚り合わせて構成されている。複合繊維束21Aは,1本の寿命検知用スチールワイヤ撚り線31Aを中央に配置して数千本のフィラメント22とともに束ね合わされて構成されている。スチールワイヤ撚り線31Aは,3本のスチールワイヤ32Aを,複合ストランド20Aの撚りピッチよりも短いピッチで,撚り合わされて構成されている。
【図面の簡単な説明】
【図1】第1実施例の動索用繊維ロープの断面図である。
【図2】第1実施例の動索用繊維ロープの構成要素である複合ストランドの拡大断面図である。
【図3】複合ストランドの変形例の拡大断面図である。
【図4】疲労試験装置の構成を示す。
【図5】第1実施例の変形例の動索用繊維ロープの断面図である。
【図6】第1実施例の変形例の動索用繊維ロープの構成要素である複合ストランドの拡大断面図である。
【図7】第1実施例の動索用繊維ロープの他の変形例の断面図である。
【図8】第2実施例の動索用繊維ロープの断面図である。
【図9】第3実施例の動索用繊維ロープの断面図である。
【図10】第3実施例の動索用繊維ロープの変形例の断面図である。
【符号の説明】
1,1B,1C,1D,1E,1F 動索用繊維ロープ
4 被覆層
20 繊維ストランド
20A,20B,20C 複合ストランド
21 繊維束
21A,21B 複合繊維束
22 繊維フィラメント
31A 寿命検知用スチールワイヤ撚り線
32B 寿命検知用スチールワイヤ
Claims (4)
- 少なくとも一本の複合ストランドと少なくとも一本の繊維ストランドとが撚り合わされて繊維裸ロープが構成され,この繊維裸ロープの外側周囲を覆うように被覆層が形成され,
上記複合ストランドは,少なくとも一束の複合繊維束と少なくとも一束の繊維束とが撚り合わされて,または複数束の複合繊維束が撚り合わされて構成され,
上記複合繊維束には,外周面にクリンプ加工が施された寿命検知用金属線,または複数本の金属線が上記複合ストランドの撚りピッチよりも短い撚りピッチで撚り合わされてなる寿命検知用金属撚り線が含まれている,動索用繊維ロープ。 - 複数本の複合ストランドが撚り合わされて繊維裸ロープが構成され,この繊維裸ロープの外側周囲を覆うように被覆層が形成され,
上記複合ストランドは,少なくとも一束の複合繊維束と少なくとも一束の繊維束とが撚り合わされて,または複数束の複合繊維束が撚り合わされて構成され,
上記複合繊維束には,外周面にクリンプ加工が施された寿命検知用金属線,または複数本の金属線が上記複合ストランドの撚りピッチよりも短い撚りピッチで撚り合わされてなる寿命検知用金属撚り線が含まれている,動索用繊維ロープ。 - 少なくとも一束の複合繊維束と少なくとも一束の繊維束とが撚り合わされて複合ストランドが構成され,この複合ストランドの外側周囲を覆うように被覆層が形成され,
上記複合繊維束には,外周面にクリンプ加工が施された寿命検知用金属線,または複数本の金属線が上記複合ストランドの撚りピッチよりも短い撚りピッチで撚り合わされてなる寿命検知用金属撚り線がが含まれている,動索用繊維ロープ。 - 複数束の複合繊維束が撚り合わされて複合ストランドが構成され,この複合ストランドの外側周囲を覆うように被覆層が形成され,
上記複合繊維束には,外周面にクリンプ加工が施された寿命検知用金属線,または複数本の金属線が上記複合ストランドの撚りピッチよりも短い撚りピッチで撚り合わされてなる寿命検知用金属撚り線が含まれている,動索用繊維ロープ。
Priority Applications (1)
| Application Number | Priority Date | Filing Date | Title |
|---|---|---|---|
| JP2003094016A JP4092237B2 (ja) | 2003-03-31 | 2003-03-31 | 動索用繊維ロープ |
Applications Claiming Priority (1)
| Application Number | Priority Date | Filing Date | Title |
|---|---|---|---|
| JP2003094016A JP4092237B2 (ja) | 2003-03-31 | 2003-03-31 | 動索用繊維ロープ |
Publications (2)
| Publication Number | Publication Date |
|---|---|
| JP2004300609A JP2004300609A (ja) | 2004-10-28 |
| JP4092237B2 true JP4092237B2 (ja) | 2008-05-28 |
Family
ID=33406676
Family Applications (1)
| Application Number | Title | Priority Date | Filing Date |
|---|---|---|---|
| JP2003094016A Expired - Fee Related JP4092237B2 (ja) | 2003-03-31 | 2003-03-31 | 動索用繊維ロープ |
Country Status (1)
| Country | Link |
|---|---|
| JP (1) | JP4092237B2 (ja) |
Families Citing this family (28)
| Publication number | Priority date | Publication date | Assignee | Title |
|---|---|---|---|---|
| PL1809563T3 (pl) * | 2004-11-02 | 2010-05-31 | Toray Int Inc | Włókienny pas nośny oraz sposób oszacowania jego charakterystyki roboczej |
| JP2010254394A (ja) * | 2009-04-22 | 2010-11-11 | Mitsubishi Electric Building Techno Service Co Ltd | ワイヤロープおよびそのワイヤロープの寿命を点検する方法 |
| KR20140015462A (ko) | 2011-04-12 | 2014-02-06 | 티코나 엘엘씨 | 연속 섬유 보강된 열가소성 봉 및 그를 제조하기 위한 인발 방법 |
| AU2012242983A1 (en) | 2011-04-12 | 2013-10-03 | Ticona Llc | Umbilical for use in subsea applications |
| MX2013011890A (es) | 2011-04-12 | 2013-11-01 | Ticona Llc | Nucleo compuesto para cables de transmision electricos. |
| CN103547440B (zh) | 2011-04-12 | 2017-03-29 | 提克纳有限责任公司 | 用于浸渍纤维粗纱的模具浸渍部分和方法 |
| EP2697040B1 (en) | 2011-04-12 | 2016-08-17 | Ticona LLC | Die and method for impregnating fiber rovings |
| RU2594016C2 (ru) | 2011-04-12 | 2016-08-10 | Саутвайэ Компэни | Электрический кабель и способ его изготовления |
| CA2775445C (en) | 2011-04-29 | 2019-04-09 | Ticona Llc | Die and method for impregnating fiber rovings |
| CA2775442C (en) | 2011-04-29 | 2019-01-08 | Ticona Llc | Impregnation section with upstream surface and method for impregnating fiber rovings |
| PL2701886T3 (pl) | 2011-04-29 | 2017-06-30 | Ticona Llc | Dysza z rozpraszającą strumień bramką przejściową oraz sposób impregnowania włókien niedoprzędów |
| US10336016B2 (en) | 2011-07-22 | 2019-07-02 | Ticona Llc | Extruder and method for producing high fiber density resin structures |
| EP2788178B1 (en) | 2011-12-09 | 2019-02-06 | Ticona LLC | Impregnation section of die for impregnating fiber rovings |
| BR112014012309A2 (pt) | 2011-12-09 | 2017-06-13 | Ticona Llc | fita de polímero reforçado com fibra assimétrica |
| US9283708B2 (en) | 2011-12-09 | 2016-03-15 | Ticona Llc | Impregnation section for impregnating fiber rovings |
| US9409355B2 (en) | 2011-12-09 | 2016-08-09 | Ticona Llc | System and method for impregnating fiber rovings |
| WO2013086269A1 (en) | 2011-12-09 | 2013-06-13 | Ticona Llc | Impregnation section of die for impregnating fiber rovings |
| JP2013142202A (ja) * | 2012-01-06 | 2013-07-22 | Endo Kogyo Kk | ワイヤロープ及びスプリングバランサー |
| US9410644B2 (en) | 2012-06-15 | 2016-08-09 | Ticona Llc | Subsea pipe section with reinforcement layer |
| CN104603605A (zh) * | 2012-09-04 | 2015-05-06 | 帝人芳纶有限公司 | 用于合成绳非破坏性试验的方法和适用于其中的绳 |
| DE102013103118A1 (de) * | 2013-03-27 | 2014-10-02 | Pfeifer Drako Drahtseilwerk Gmbh & Co. Kg | Mehrlitziges Stahldrahtseil mit einer mehrschäftigen Fasereinlage |
| WO2016139168A1 (en) * | 2015-03-02 | 2016-09-09 | Dsm Ip Assets B.V. | Indicator yarn construction |
| JP6969973B2 (ja) * | 2017-10-19 | 2021-11-24 | 東京製綱株式会社 | 損傷検知機能付繊維強化プラスチック線状体 |
| CN107881819A (zh) * | 2017-11-18 | 2018-04-06 | 浙江海轮绳网有限公司 | 一种深海工程缆绳 |
| CN112064383A (zh) * | 2020-07-20 | 2020-12-11 | 抚州大力实业发展有限公司 | 一种改良的复合材料绳子结构 |
| CN113327701B (zh) * | 2021-06-08 | 2023-01-03 | 广东伟坤翔电力建设有限公司 | 一种高强度柔性纤维芯电力输送绞线 |
| CN114875697A (zh) * | 2022-06-01 | 2022-08-09 | 武钢维尔卡钢绳制品有限公司 | 一种复合芯、钢丝绳及其制作方法 |
| JP7279250B1 (ja) | 2022-10-31 | 2023-05-22 | 東京製綱株式会社 | 損傷検知機能付き繊維強化樹脂ケーブルおよび電線 |
-
2003
- 2003-03-31 JP JP2003094016A patent/JP4092237B2/ja not_active Expired - Fee Related
Also Published As
| Publication number | Publication date |
|---|---|
| JP2004300609A (ja) | 2004-10-28 |
Similar Documents
| Publication | Publication Date | Title |
|---|---|---|
| JP4092237B2 (ja) | 動索用繊維ロープ | |
| CN102892946B (zh) | 混合绳及其制造方法 | |
| AU610043B2 (en) | Rope with fiber core and method of forming same | |
| CN103451981B (zh) | 混合芯绳索 | |
| US8632432B2 (en) | Flat-belt-like supporting and drive means with tensile carriers | |
| US7086217B2 (en) | Rope of synthetic fiber with reinforcement element for frictionally engaged power transmission and rope of synthetic fiber with reinforcement element for positively engaged power transmission | |
| EP1920092B1 (en) | Wire rope incorporating fluoropolymer fiber | |
| JP6760824B2 (ja) | 高強度ワイヤロープ | |
| GB2036825A (en) | Synthetic Fibre Rope | |
| JPH10140490A (ja) | 繊維芯入りワイヤロープ | |
| JP4034629B2 (ja) | ハイブリッドロープ | |
| US12529186B2 (en) | Cable, strand, and method and device for producing a cable and a strand | |
| JPH0673672A (ja) | ゴム補強用スチールコード | |
| JP2000130427A (ja) | コントロールケーブルの内索 | |
| EP1329413A1 (en) | Hoisting rope | |
| CN111801462A (zh) | 合成绳 | |
| JP2007177362A (ja) | ゴム製品補強用スチールコード | |
| JP7412126B2 (ja) | 耐屈曲絶縁電線 | |
| JPH0874190A (ja) | 耐内部腐食及び耐内部摩耗ワイヤロープ | |
| JP7486300B2 (ja) | 耐屈曲絶縁電線 | |
| JP7412125B2 (ja) | 耐屈曲絶縁電線 | |
| JP2021068574A (ja) | 耐屈曲絶縁電線 | |
| JPH0550142U (ja) | コントロールケーブルのインナケーブル | |
| HU183399B (en) | Method for producing multi-layer flexible tubular products particularly cables, ducts and hoses exerted tensile and compressive load as well as cable resisting increasedly tensile load |
Legal Events
| Date | Code | Title | Description |
|---|---|---|---|
| A621 | Written request for application examination |
Free format text: JAPANESE INTERMEDIATE CODE: A621 Effective date: 20051021 |
|
| A977 | Report on retrieval |
Free format text: JAPANESE INTERMEDIATE CODE: A971007 Effective date: 20071130 |
|
| A131 | Notification of reasons for refusal |
Free format text: JAPANESE INTERMEDIATE CODE: A131 Effective date: 20071211 |
|
| A521 | Request for written amendment filed |
Free format text: JAPANESE INTERMEDIATE CODE: A523 Effective date: 20080201 |
|
| TRDD | Decision of grant or rejection written | ||
| A01 | Written decision to grant a patent or to grant a registration (utility model) |
Free format text: JAPANESE INTERMEDIATE CODE: A01 Effective date: 20080226 |
|
| A61 | First payment of annual fees (during grant procedure) |
Free format text: JAPANESE INTERMEDIATE CODE: A61 Effective date: 20080303 |
|
| R150 | Certificate of patent or registration of utility model |
Ref document number: 4092237 Country of ref document: JP Free format text: JAPANESE INTERMEDIATE CODE: R150 Free format text: JAPANESE INTERMEDIATE CODE: R150 |
|
| FPAY | Renewal fee payment (event date is renewal date of database) |
Free format text: PAYMENT UNTIL: 20110307 Year of fee payment: 3 |
|
| FPAY | Renewal fee payment (event date is renewal date of database) |
Free format text: PAYMENT UNTIL: 20110307 Year of fee payment: 3 |
|
| S531 | Written request for registration of change of domicile |
Free format text: JAPANESE INTERMEDIATE CODE: R313531 |
|
| FPAY | Renewal fee payment (event date is renewal date of database) |
Free format text: PAYMENT UNTIL: 20110307 Year of fee payment: 3 |
|
| R350 | Written notification of registration of transfer |
Free format text: JAPANESE INTERMEDIATE CODE: R350 |
|
| FPAY | Renewal fee payment (event date is renewal date of database) |
Free format text: PAYMENT UNTIL: 20140307 Year of fee payment: 6 |
|
| R250 | Receipt of annual fees |
Free format text: JAPANESE INTERMEDIATE CODE: R250 |
|
| R250 | Receipt of annual fees |
Free format text: JAPANESE INTERMEDIATE CODE: R250 |
|
| R250 | Receipt of annual fees |
Free format text: JAPANESE INTERMEDIATE CODE: R250 |
|
| R250 | Receipt of annual fees |
Free format text: JAPANESE INTERMEDIATE CODE: R250 |
|
| R250 | Receipt of annual fees |
Free format text: JAPANESE INTERMEDIATE CODE: R250 |
|
| R250 | Receipt of annual fees |
Free format text: JAPANESE INTERMEDIATE CODE: R250 |
|
| R250 | Receipt of annual fees |
Free format text: JAPANESE INTERMEDIATE CODE: R250 |
|
| R250 | Receipt of annual fees |
Free format text: JAPANESE INTERMEDIATE CODE: R250 |
|
| R250 | Receipt of annual fees |
Free format text: JAPANESE INTERMEDIATE CODE: R250 |
|
| R250 | Receipt of annual fees |
Free format text: JAPANESE INTERMEDIATE CODE: R250 |
|
| LAPS | Cancellation because of no payment of annual fees |
