JP4058630B2 - 半導体装置及びその製造方法、回路基板並びに電子機器 - Google Patents
半導体装置及びその製造方法、回路基板並びに電子機器 Download PDFInfo
- Publication number
- JP4058630B2 JP4058630B2 JP2003184567A JP2003184567A JP4058630B2 JP 4058630 B2 JP4058630 B2 JP 4058630B2 JP 2003184567 A JP2003184567 A JP 2003184567A JP 2003184567 A JP2003184567 A JP 2003184567A JP 4058630 B2 JP4058630 B2 JP 4058630B2
- Authority
- JP
- Japan
- Prior art keywords
- resin portion
- semiconductor device
- electrode
- electrodes
- resin
- Prior art date
- Legal status (The legal status is an assumption and is not a legal conclusion. Google has not performed a legal analysis and makes no representation as to the accuracy of the status listed.)
- Expired - Fee Related
Links
- 239000004065 semiconductor Substances 0.000 title claims description 138
- 238000004519 manufacturing process Methods 0.000 title claims description 30
- 239000011347 resin Substances 0.000 claims description 139
- 229920005989 resin Polymers 0.000 claims description 139
- 239000000758 substrate Substances 0.000 claims description 51
- 238000002161 passivation Methods 0.000 claims description 21
- 238000000034 method Methods 0.000 claims description 16
- 239000000463 material Substances 0.000 claims description 13
- 239000010410 layer Substances 0.000 description 36
- 229910000679 solder Inorganic materials 0.000 description 7
- 238000010586 diagram Methods 0.000 description 6
- 230000015572 biosynthetic process Effects 0.000 description 4
- 229920001721 polyimide Polymers 0.000 description 3
- 239000009719 polyimide resin Substances 0.000 description 3
- UMIVXZPTRXBADB-UHFFFAOYSA-N benzocyclobutene Chemical compound C1=CC=C2CCC2=C1 UMIVXZPTRXBADB-UHFFFAOYSA-N 0.000 description 2
- 230000000694 effects Effects 0.000 description 2
- 239000003822 epoxy resin Substances 0.000 description 2
- 229920002577 polybenzoxazole Polymers 0.000 description 2
- 229920000647 polyepoxide Polymers 0.000 description 2
- 229920001296 polysiloxane Polymers 0.000 description 2
- 229910004298 SiO 2 Inorganic materials 0.000 description 1
- 229910045601 alloy Inorganic materials 0.000 description 1
- 239000000956 alloy Substances 0.000 description 1
- 230000008602 contraction Effects 0.000 description 1
- 239000002184 metal Substances 0.000 description 1
- 230000002093 peripheral effect Effects 0.000 description 1
- 230000001681 protective effect Effects 0.000 description 1
- 239000012779 reinforcing material Substances 0.000 description 1
- 238000007650 screen-printing Methods 0.000 description 1
- 229910052710 silicon Inorganic materials 0.000 description 1
- 239000010703 silicon Substances 0.000 description 1
- 239000002356 single layer Substances 0.000 description 1
- 230000009466 transformation Effects 0.000 description 1
Images
Classifications
-
- H—ELECTRICITY
- H01—ELECTRIC ELEMENTS
- H01L—SEMICONDUCTOR DEVICES NOT COVERED BY CLASS H10
- H01L2224/00—Indexing scheme for arrangements for connecting or disconnecting semiconductor or solid-state bodies and methods related thereto as covered by H01L24/00
- H01L2224/01—Means for bonding being attached to, or being formed on, the surface to be connected, e.g. chip-to-package, die-attach, "first-level" interconnects; Manufacturing methods related thereto
- H01L2224/10—Bump connectors; Manufacturing methods related thereto
- H01L2224/11—Manufacturing methods
Landscapes
- Internal Circuitry In Semiconductor Integrated Circuit Devices (AREA)
Description
【発明の属する技術分野】
本発明は、半導体装置及びその製造方法、回路基板並びに電子機器に関する。
【0002】
【従来の技術】
【0003】
【特許文献1】
国際公開00/55898号パンフレット
【0004】
【発明の背景】
半導体装置のパッケージとして、CSP(チップスケール/サイズパッケージ)の普及率が高まってきている。また、パッケージをウエハレベルで製造する技術(ウエハレベルパッケージ)が開発されている。この方法で製造されたパッケージ(例えばウエハレベルCSP)は、外部寸法が半導体チップ寸法になっているため、従来のパッケージとは構造が異なっているが、従来のパッケージと同等又はそれ以上の信頼性が要求される。
【0005】
本発明の目的は、信頼性の高い半導体装置及びその製造方法、回路基板並びに電子機器を提供することにある。
【0006】
【課題を解決するための手段】
(1)本発明に係る半導体装置は、内部に電気的に接続された電極と、前記電極が形成された面の前記電極よりも外側の領域にすべての前記電極を囲むように一体的に形成された囲繞部材と、それぞれの前記電極の少なくとも一部を露出させるように前記電極及び前記囲繞部材を覆うパッシベーション膜とを有する、集積回路が形成された半導体基板と、
前記半導体基板の前記電極が形成された面の中央部に、前記電極を避けて形成された第1の樹脂部と、
前記半導体基板の前記電極が形成された面に前記囲繞部材と平面的に重なる領域を避けて配置されてなる、すべての前記電極を囲むように一体的に形成された第2の樹脂部と、
前記電極に電気的に接続され、前記第1の樹脂部上にランドを有する配線と、
前記第1の樹脂部と前記配線との上から前記第2の樹脂部を覆うように形成された樹脂層と、
を有する。本発明によれば、半導体装置は第2の樹脂部を有する。そして、樹脂層は第2の樹脂部を覆うように形成されてなる。これによると、樹脂層が収縮することにより発生する力は、第2の樹脂部に吸収される。そのため、樹脂層の収縮による影響を受けにくい、信頼性の高い半導体装置を提供することができる。
(2)この半導体装置において、
前記第2の樹脂部は、前記電極を避けて形成されていてもよい。これによれば、電気的な信頼性の高い半導体装置を提供することができる。
(3)この半導体装置において、
前記第1の樹脂部と前記第2の樹脂部とは、同じ高さであってもよい。
(4)この半導体装置において、
前記第1の樹脂部と前記第2の樹脂部とは、同じ材料で形成されていてもよい。
(5)本発明に係る回路基板には、上記半導体装置が実装されてなる。
(6)本発明に係る電子機器は、上記半導体装置を有する。
(7)本発明に係る半導体装置の製造方法は、内部に電気的に接続された電極と、前記電極が形成された面の前記電極よりも外側の領域にすべての前記電極を囲むように一体的に形成された囲繞部材と、それぞれの前記電極の少なくとも一部を露出させるように前記電極及び前記囲繞部材を覆うパッシベーション膜とを有する、集積回路が形成された半導体基板を用意すること、
前記半導体基板の前記電極が形成された面の中央部に、第1の樹脂部を、前記電極を避けて形成すること、
前記半導体基板の前記電極が形成された面に前記囲繞部材と平面的に重なる領域を避けて、第2の樹脂部を、すべての前記電極を囲むように一体的に形成すること、
前記電極に電気的に接続し、前記第1の樹脂部上にランドを有するように配線を形成すること、及び、
前記第1の樹脂部と前記配線との上から、前記第2の樹脂部を覆うように樹脂層を形成することを含む。本発明によれば、半導体装置には第2の樹脂部が形成される。そして、樹脂層は第2の樹脂部を覆うように形成される。これによると、樹脂層が収縮することにより発生する力を、第2の樹脂部に吸収させることが可能な、信頼性の高い半導体装置を製造することができる。
(8)この半導体装置の製造方法において、
前記第2の樹脂部を、前記電極を避けて形成してもよい。これによれば、電気的な信頼性の高い半導体装置を製造することができる。
(9)この半導体装置の製造方法において、
前記第1の樹脂部と前記第2の樹脂部とを、一括して形成してもよい。これによれば、半導体装置の製造効率を高めることができる。
(10)この半導体装置の製造方法において、
前記第1の樹脂部と前記第2の樹脂部とを、同じ高さに形成してもよい。
(11)この半導体装置の製造方法において、
前記第1の樹脂部と前記第2の樹脂部とを、同じ材料で形成してもよい。
【0007】
【発明の実施の形態】
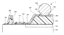
以下、本発明を適用した実施の形態について図面を参照して説明する。ただし、本発明は、以下の実施の形態に限定されるものではない。図1及び図2は、本発明を適用した実施の形態に係る半導体装置を説明するための図である。ここで、図1は、本発明を適用した実施の形態に係る半導体装置1の断面の一部拡大図である。また、図2は、説明のために配線30、樹脂層40及び外部端子50を取り除いた半導体装置の平面図である。
【0008】
本実施の形態に係る半導体装置は、半導体基板10を有する。半導体基板10の材料は特に限定されないが、例えばシリコンであってもよい。半導体基板10は、半導体チップであってもよい(図2参照)。半導体チップの平面形状は矩形であることが一般的であるが、これに限られるものではない。ただし、半導体基板は、半導体ウエハであってもよい。
【0009】
図1に示すように、半導体基板10には、1つ又は複数の(半導体チップには1つの、半導体ウエハには複数の)集積回路12が形成されている。集積回路12は、半導体基板10の一方の面側に形成されていてもよい。
【0010】
半導体基板10は、電極14を有する。電極14は、半導体基板10の内部に電気的に接続されていてもよい。電極14は、集積回路12に電気的に接続されていてもよい。あるいは、集積回路12に電気的に接続されていない電極を、電極14としてもよい。電極14は、半導体基板10の平行な2辺に沿って配列されていてもよいし(図3参照)、4辺に沿って配列されていてもよい。電極14は、半導体基板10の端部付近に配置されていてもよく、中央部付近に配置されていてもよい。なお、半導体基板10には、1つの集積回路12に対して、複数の電極14が形成されていてもよい。電極14の材料は特に限定されないが、例えばAlであってもよい。
【0011】
半導体基板10は、囲繞部材16を有する。ここで、囲繞部材16は、半導体基板10と後述するパッシベーション膜18との間に浸入する水分が、半導体基板10の素子領域に到達することを防止する役割を果たすものである。囲繞部材16によって、半導体装置の信頼性を高めることができる。囲繞部材16は、半導体基板10の電極14が形成された面の電極14よりも外側の領域に形成されてなる(図1及び図2参照)。囲繞部材16は、すべての電極14を囲むように形成されている。詳しくは、囲繞部材16は、1つの集積回路12に対応して形成された一群の電極14のすべてを囲むように形成されている(図2参照)。半導体基板として、複数の集積回路を有する半導体ウエハを用意する場合、半導体基板は、各集積回路に対応した複数の囲繞部材16を有することになる。囲繞部材16は、一体的に形成されていることが一般的である。囲繞部材16の材料は特に限定されず、例えばAlであってもよい。囲繞部材16は、電極14を形成する工程で、これと同時に形成してもよく、このとき、電極14と同じ材料で形成してもよい。
【0012】
半導体基板10は、パッシベーション膜18を有する。パッシベーション膜18は、半導体基板10の表面(電極14が形成された面)を保護するための絶縁保護膜である。パッシベーション膜18は、半導体基板10の表面(電極14が形成された面)に形成されている。パッシベーション膜18は、それぞれの電極14の少なくとも一部を露出させるように、電極14及び囲繞部材16を覆っている。パッシベーション膜18は、例えば、SiN、SiO2、ポリイミド樹脂等で形成されていてもよい。
【0013】
本実施の形態に係る半導体装置は、第1の樹脂部20を有する。第1の樹脂部20は、半導体基板10の電極14が形成された面の中央部に形成されてなる。第1の樹脂部20は、電極14を避けて形成されてなる。第1の樹脂部20は、図1に示すように、パッシベーション膜18上に形成されていてもよい。第1の樹脂部20の材料は特に限定されないが、例えば、ポリイミド樹脂、シリコーン変性ポリイミド樹脂、エポキシ樹脂、シリコーン変性エポキシ樹脂、ベンゾシクロブテン(BCB;benzocyclobutene)、ポリベンゾオキサゾール(PBO;polybenzoxazole)等の樹脂であってもよい。
【0014】
本実施の形態に係る半導体装置は、第2の樹脂部25を有する。第2の樹脂部25は、半導体基板10の電極14が形成された面に、囲繞部材16と平面的に重なる領域を避けて配置されてなる。図2に示すように、第2の樹脂部25は、すべての電極14を囲むように一体的に形成されてなる。詳しくは、第2の樹脂部25は、1つの集積回路12に対応して形成された一群の電極14のすべてを囲むように形成されている。半導体基板として、複数の集積回路を有する半導体ウエハを用意する場合、半導体基板は、各集積回路に対応した複数の第2の樹脂部25を有することになる。図1及び図2に示すように、第2の樹脂部25は、囲繞部材16の内側に形成されていてもよい。本実施の形態では、半導体装置は、後述するように、第2の樹脂部25を覆うように形成された樹脂層40を有する。樹脂層40は、第2の樹脂部25を覆うように形成されるため、第2の樹脂部25が囲繞部材16の内側に形成されている場合、樹脂層40の形成領域を小さくすることができる。すなわち、樹脂層40を半導体基板10の端部から離して形成することができる。これにより、樹脂部40の収縮応力が半導体基板10の端面にかからないようにすることができ、信頼性の高い半導体装置を提供することができる。ただしこれとは別に、第2の樹脂部25は、囲繞部材16の外側に形成されていてもよい(図示せず)。また、第2の樹脂部25は、パッシベーション膜18の形成領域内に形成されていてもよく、パッシベーション膜18の外側に至るように形成されていてもよい。図1及び図2に示すように、第2の樹脂部25は、電極14を避けて形成されていてもよい。詳しくは、第2の樹脂部25は、電極14におけるパッシベーション膜18から露出した部分と接触しないように形成されていてもよい。これにより、電極14上に水分が入り込みにくくなり、電気的な信頼性の高い半導体装置を提供することができる。第2の樹脂部25は、第1の樹脂部20と同じ高さであってもよい。なお、ここでいう「高さ」とは、半導体基板10の表面(電極14が形成された面)からの高さを指す。第2の樹脂部25の材料は特に限定されるものではなく、第1の樹脂部20の説明で挙げた材料のいずれかを適用してもよい。第1の樹脂部20と第2の樹脂部25とは、同じ材料で形成されていてもよい。
【0015】
図1に示すように、本実施の形態に係る半導体装置は、配線30を有する。配線30は、複数本形成されることが一般的である。配線30は、一層又は複数層で形成されていてもよい。配線30の材料は特に限定されないが、例えばCuで形成された層を有してもよい。配線30は、電極14に電気的に接続されてなる。配線30は、電極14におけるパッシベーション膜18から露出した部分の全てを覆っていてもよい。配線30は、電極14から第1の樹脂部20の上面(パッシベーション膜18とは反対側の面)に至るように形成されてなる。配線30は、第1の樹脂部20上にランド32を有する。ランド32は、配線30の一部である。すなわち、配線30は、ランド32と、ランド32と電極14とを電気的に接続するラインとを含む。ランド32は、配線30のラインよりも幅が広くなっていてもよい。ランド32の平面形状は特に限定されないが、例えば円形であってもよい。第1の樹脂部20の上面には、複数のランド32が形成されていてもよい。配線30は、ラインの少なくとも一部が第1の樹脂部20の上面に至るように形成されていてもよい。
【0016】
図1に示すように、本実施の形態に係る半導体装置は、樹脂層40を有する。樹脂層40を、ソルダーレジストと称してもよい。樹脂層40は、第1の樹脂部20と配線30との上から、第2の樹脂部25を覆うように形成されてなる。樹脂層40は、図1に示すように、囲繞部材16よりも内側の領域に形成されていてもよい。樹脂層40を囲繞部材16よりも内側の領域に形成することで、樹脂層40の形成領域を小さくすることができる。すなわち、樹脂層40を半導体基板10の端部から離して形成することができる。これにより、樹脂層40の収縮応力が半導体基板10の端面にかからないようにすることができ、信頼性の高い半導体装置を提供することができる。なお、このとき、第2の樹脂部25は、囲繞部材16の内側に形成されてなる。ただしこれとは別に、樹脂層40は、囲繞部材16とオーバーラップする部分を有するように形成されていてもよい(図示せず)。また、樹脂層40は、図1に示すように、パッシベーション膜18の形成領域内に形成されていてもよい。あるいは、樹脂層40は、パッシベーション膜18の外側に至るように形成されていてもよい。
【0017】
樹脂層40は開口42を有してもよい。開口42は、それぞれのランド32の少なくとも一部を露出させる。開口42からランド32を露出させることで、後述する外部端子50とランド32との電気的な接続を図ることができる。例えば、ランド32の中央部を開口42から露出させ、ランド32の周縁部を覆うように、樹脂層40を形成してもよい。
【0018】
図1に示すように、本実施の形態に係る半導体装置は、外部端子50を有してもよい。外部端子50は、ランド32に設けられてなる。外部端子50は、樹脂層40の開口42の内側を通るように形成される。このとき、外部端子50における開口42内に配置される部分を、根元部52と称してもよい。外部端子50は、導電性を有する金属(例えば合金)であって、溶融させて電気的な接続を図るもの(例えばハンダ)である。外部端子50は、軟ろう(soft solder)又は硬ろう(hard solder)のいずれで形成されてもよい。外部端子50は、球状をなしてもよく、例えばハンダボールであってもよい。
【0019】
本発明を適用した実施の形態に係る半導体装置1は、以上のように構成されてなる。通常、半導体装置の製造工程や、半導体装置をマザーボード等に実装する工程において、半導体装置には熱が加えられる。この影響で、樹脂層(ソルダーレジスト)が収縮し、パッシベーション膜や、半導体基板に力がかかることがあった。ところで、本発明を適用した実施の形態に係る半導体装置1は、第2の樹脂部25を有し、そして、樹脂層40(ソルダーレジスト)は、第2の樹脂部25を覆うように形成されてなる。これにより、樹脂層40の収縮により発生する応力を、第2の樹脂部25によって吸収させることが可能となる。そのため、樹脂層40の収縮応力の影響を受けにくい、信頼性の高い半導体装置を提供することができる。なお、図3には、本発明を適用した実施の形態に係る半導体装置1が実装された回路基板1000を示す。また、本発明を適用した実施の形態に係る半導体装置を有する電子機器として、図4にはノート型パーソナルコンピュータが、図5には、携帯電話が、それぞれ示されている。
【0020】
以下、本発明を適用した実施の形態に係る半導体装置1の製造方法を説明する。半導体装置1の製造方法は、半導体基板10を用意することを含む。半導体基板10は、既に説明した内容のいずれかを適用してもよい。例えば、半導体基板10は、電極14と囲繞部材16とパッシベーション膜18とを有し、集積回路12が形成されてなる。
【0021】
半導体装置1の製造方法は、半導体基板10の電極14が形成された面の中央部に、第1の樹脂部20を、電極14を避けて形成することを含む。半導体装置1の製造方法は、半導体基板10の電極14が形成された面に囲繞部材16と平面的に重なる領域を避けて、第2の樹脂部25を、すべての電極14を囲むように一体的に形成することを含む。ここで、第1の樹脂部20及び第2の樹脂部25は、既に公知となっているいずれかの方法によって形成してもよい。これらは、異なる工程で形成してもよく、あるいは、一括して形成してもよい。第1の樹脂部20及び第2の樹脂部25を一括して形成することで、半導体装置の製造効率を高めることができる。第1の樹脂部20及び第2の樹脂部25は、例えば、半導体基板10の表面(電極14が形成された面)の全面に樹脂の層を形成し、その後、露光及び現像する工程を経て形成してもよい。マスクのパターンを調整することで、第1の樹脂部20と第2の樹脂部25とを一括して形成してもよい。ただし、これとは別に、例えばスクリーン印刷法等を適用して、第1の樹脂部20及び第2の樹脂部25を形成してもよい。
【0022】
半導体装置1の製造方法は、電極14に電気的に接続し、第2の樹脂部25上にランド32を有するように配線30を形成することを含む。配線30は、既に公知となっているいずれかの方法を適用して形成してもよい。
【0023】
半導体装置1の製造方法は、第1の樹脂部20と配線30との上から、第2の樹脂部25を覆うように樹脂層40を形成することを含む。樹脂層40は、開口42を有するように形成してもよい。
【0024】
半導体装置1の製造方法は、外部端子50を形成することを含んでもよい。そして、図示しない根元補強材を形成する工程や、半導体基板を半導体ウエハで用意した場合には、これを個片に切り出す工程を経て、半導体装置1を製造してもよい。なお、半導体装置の製造方法として、半導体装置1の構成の説明で記載した内容から導き出せるいずれかの事項を適用してもよい。
【0025】
なお、本発明は、上述した実施の形態に限定されるものではなく、種々の変形が可能である。例えば、本発明は、実施の形態で説明した構成と実質的に同一の構成(例えば、機能、方法及び結果が同一の構成、あるいは目的及び効果が同一の構成)を含む。また、本発明は、実施の形態で説明した構成の本質的でない部分を置き換えた構成を含む。また、本発明は、実施の形態で説明した構成と同一の作用効果を奏する構成又は同一の目的を達成することができる構成を含む。また、本発明は、実施の形態で説明した構成に公知技術を付加した構成を含む。
【図面の簡単な説明】
【図1】 図1は、本発明を適用した実施の形態に係る半導体装置を説明するための図である。
【図2】 図2は、本発明を適用した実施の形態に係る半導体装置を説明するためのである。
【図3】 図3は、本発明を適用した実施の形態に係る半導体装置が実装された回路基板を示す図である。
【図4】 図4は、本発明を適用した実施の形態に係る半導体装置を有する電子機器を示す図である。
【図5】 図5は、本発明を適用した実施の形態に係る半導体装置を有する電子機器を示す図である。
【符号の説明】
10 半導体基板、 12 集積回路、 14 電極、 16 囲繞部材、
18 パッシベーション膜、 20 第1の樹脂部、 25 第2の樹脂部、
30 配線、 32 ランド、 40 樹脂層、 50 外部端子
Claims (11)
- 内部に電気的に接続された電極と、前記電極が形成された面の前記電極よりも外側の領域にすべての前記電極を囲むように一体的に形成された囲繞部材と、それぞれの前記電極の少なくとも一部を露出させるように前記電極及び前記囲繞部材を覆うパッシベーション膜とを有する、集積回路が形成された半導体基板と、
前記半導体基板の前記電極が形成された面の中央部に、前記電極を避けて形成された第1の樹脂部と、
前記半導体基板の前記電極が形成された面に前記囲繞部材と平面的に重なる領域を避けて配置されてなる、すべての前記電極を囲むように一体的に形成された第2の樹脂部と、
前記電極に電気的に接続され、前記第1の樹脂部上にランドを有する配線と、前記第1の樹脂部と前記配線との上から前記第2の樹脂部を覆うように形成された樹脂層と、
を有する半導体装置。 - 請求項1記載の半導体装置において、
前記第2の樹脂部は、前記電極を避けて形成されてなる半導体装置。 - 請求項1又は請求項2記載の半導体装置において、
前記第1の樹脂部と前記第2の樹脂部とは、同じ高さである半導体装置。 - 請求項1から請求項3のいずれかに記載の半導体装置において、
前記第1の樹脂部と前記第2の樹脂部とは、同じ材料で形成されてなる半導体装置。 - 請求項1から請求項4のいずれかに記載の半導体装置が実装された回路基板。
- 請求項1から請求項4のいずれかに記載の半導体装置を有する電子機器。
- 内部に電気的に接続された電極と、前記電極が形成された面の前記電極よりも外側の領域にすべての前記電極を囲むように一体的に形成された囲繞部材と、それぞれの前記電極の少なくとも一部を露出させるように前記電極及び前記囲繞部材を覆うパッシベーション膜とを有する、集積回路が形成された半導体基板を用意すること、
前記半導体基板の前記電極が形成された面の中央部に、第1の樹脂部を、前記電極を避けて形成すること、
前記半導体基板の前記電極が形成された面に前記囲繞部材と平面的に重なる領域を避けて、第2の樹脂部を、すべての前記電極を囲むように一体的に形成すること、
前記電極に電気的に接続し、前記第1の樹脂部上にランドを有するように配線を形成すること、及び、
前記第1の樹脂部と前記配線との上から、前記第2の樹脂部を覆うように樹脂層を形成することを含む半導体装置の製造方法。 - 請求項7記載の半導体装置の製造方法において、
前記第2の樹脂部を、前記電極を避けて形成する半導体装置の製造方法。 - 請求項7又は請求項8記載の半導体装置の製造方法において、
前記第1の樹脂部と前記第2の樹脂部とを、一括して形成する半導体装置の製造方法。 - 請求項7から請求項9のいずれかに記載の半導体装置の製造方法において、
前記第1の樹脂部と前記第2の樹脂部とを、同じ高さに形成する半導体装置の製造方法。 - 請求項7から請求項10のいずれかに記載の半導体装置の製造方法において、
前記第1の樹脂部と前記第2の樹脂部とを、同じ材料で形成する半導体装置の製造方法。
Priority Applications (1)
| Application Number | Priority Date | Filing Date | Title |
|---|---|---|---|
| JP2003184567A JP4058630B2 (ja) | 2003-06-27 | 2003-06-27 | 半導体装置及びその製造方法、回路基板並びに電子機器 |
Applications Claiming Priority (1)
| Application Number | Priority Date | Filing Date | Title |
|---|---|---|---|
| JP2003184567A JP4058630B2 (ja) | 2003-06-27 | 2003-06-27 | 半導体装置及びその製造方法、回路基板並びに電子機器 |
Publications (2)
| Publication Number | Publication Date |
|---|---|
| JP2005019809A JP2005019809A (ja) | 2005-01-20 |
| JP4058630B2 true JP4058630B2 (ja) | 2008-03-12 |
Family
ID=34184294
Family Applications (1)
| Application Number | Title | Priority Date | Filing Date |
|---|---|---|---|
| JP2003184567A Expired - Fee Related JP4058630B2 (ja) | 2003-06-27 | 2003-06-27 | 半導体装置及びその製造方法、回路基板並びに電子機器 |
Country Status (1)
| Country | Link |
|---|---|
| JP (1) | JP4058630B2 (ja) |
Cited By (1)
| Publication number | Priority date | Publication date | Assignee | Title |
|---|---|---|---|---|
| US8716874B2 (en) | 2010-09-15 | 2014-05-06 | Ricoh Company, Ltd. | Semiconductor device having metal posts non-overlapping with other devices and layout method of semiconductor device |
-
2003
- 2003-06-27 JP JP2003184567A patent/JP4058630B2/ja not_active Expired - Fee Related
Cited By (1)
| Publication number | Priority date | Publication date | Assignee | Title |
|---|---|---|---|---|
| US8716874B2 (en) | 2010-09-15 | 2014-05-06 | Ricoh Company, Ltd. | Semiconductor device having metal posts non-overlapping with other devices and layout method of semiconductor device |
Also Published As
| Publication number | Publication date |
|---|---|
| JP2005019809A (ja) | 2005-01-20 |
Similar Documents
| Publication | Publication Date | Title |
|---|---|---|
| US9431447B2 (en) | Package of finger print sensor and fabricating method thereof | |
| US20060017161A1 (en) | Semiconductor package having protective layer for re-routing lines and method of manufacturing the same | |
| JP3356921B2 (ja) | 半導体装置およびその製造方法 | |
| JP5249080B2 (ja) | 半導体装置 | |
| TWI886258B (zh) | 半導體封裝 | |
| JP2001110831A (ja) | 外部接続突起およびその形成方法、半導体チップ、回路基板ならびに電子機器 | |
| JP2004104102A (ja) | 半導体装置及びその製造方法、回路基板並びに電子機器 | |
| JP2004104103A (ja) | 半導体装置及びその製造方法、回路基板並びに電子機器 | |
| JP7001445B2 (ja) | 半導体装置およびその製造方法 | |
| JP4058630B2 (ja) | 半導体装置及びその製造方法、回路基板並びに電子機器 | |
| JP3666495B2 (ja) | 半導体装置及びその製造方法、回路基板並びに電子機器 | |
| JP3726906B2 (ja) | 半導体装置及びその製造方法、回路基板並びに電子機器 | |
| JP4016276B2 (ja) | 半導体装置及びその製造方法、回路基板並びに電子機器 | |
| JP4240226B2 (ja) | 半導体装置及びその製造方法、回路基板並びに電子機器 | |
| JP4038692B2 (ja) | 半導体装置及びその製造方法、回路基板並びに電子機器 | |
| JP4038691B2 (ja) | 半導体装置及びその製造方法、回路基板並びに電子機器 | |
| JP3949077B2 (ja) | 半導体装置、基板、半導体装置の製造方法、及び半導体装置の実装方法 | |
| JP2008047732A (ja) | 半導体装置及びその製造方法 | |
| JP4015660B2 (ja) | 半導体装置の実装構造体 | |
| JP3943037B2 (ja) | 半導体装置の製造方法 | |
| JP2004172163A (ja) | 半導体装置及びその製造方法 | |
| CN100524716C (zh) | 半导体装置 | |
| JP2005038944A (ja) | 半導体装置 | |
| JP2004014893A (ja) | 半導体装置及びその製造方法 | |
| JP2005026299A (ja) | 半導体装置及びその製造方法、回路基板並びに電子機器 |
Legal Events
| Date | Code | Title | Description |
|---|---|---|---|
| RD04 | Notification of resignation of power of attorney |
Free format text: JAPANESE INTERMEDIATE CODE: A7424 Effective date: 20060112 |
|
| A621 | Written request for application examination |
Free format text: JAPANESE INTERMEDIATE CODE: A621 Effective date: 20060524 |
|
| A977 | Report on retrieval |
Free format text: JAPANESE INTERMEDIATE CODE: A971007 Effective date: 20071116 |
|
| TRDD | Decision of grant or rejection written | ||
| A01 | Written decision to grant a patent or to grant a registration (utility model) |
Free format text: JAPANESE INTERMEDIATE CODE: A01 Effective date: 20071121 |
|
| A61 | First payment of annual fees (during grant procedure) |
Free format text: JAPANESE INTERMEDIATE CODE: A61 Effective date: 20071204 |
|
| FPAY | Renewal fee payment (event date is renewal date of database) |
Free format text: PAYMENT UNTIL: 20101228 Year of fee payment: 3 |
|
| R150 | Certificate of patent or registration of utility model |
Ref document number: 4058630 Country of ref document: JP Free format text: JAPANESE INTERMEDIATE CODE: R150 Free format text: JAPANESE INTERMEDIATE CODE: R150 |
|
| FPAY | Renewal fee payment (event date is renewal date of database) |
Free format text: PAYMENT UNTIL: 20101228 Year of fee payment: 3 |
|
| FPAY | Renewal fee payment (event date is renewal date of database) |
Free format text: PAYMENT UNTIL: 20111228 Year of fee payment: 4 |
|
| FPAY | Renewal fee payment (event date is renewal date of database) |
Free format text: PAYMENT UNTIL: 20111228 Year of fee payment: 4 |
|
| FPAY | Renewal fee payment (event date is renewal date of database) |
Free format text: PAYMENT UNTIL: 20121228 Year of fee payment: 5 |
|
| FPAY | Renewal fee payment (event date is renewal date of database) |
Free format text: PAYMENT UNTIL: 20121228 Year of fee payment: 5 |
|
| FPAY | Renewal fee payment (event date is renewal date of database) |
Free format text: PAYMENT UNTIL: 20131228 Year of fee payment: 6 |
|
| S531 | Written request for registration of change of domicile |
Free format text: JAPANESE INTERMEDIATE CODE: R313531 |
|
| R350 | Written notification of registration of transfer |
Free format text: JAPANESE INTERMEDIATE CODE: R350 |
|
| LAPS | Cancellation because of no payment of annual fees |