JP4046881B2 - 光ディスク及びその製造方法 - Google Patents

光ディスク及びその製造方法 Download PDF

Info

Publication number
JP4046881B2
JP4046881B2 JP02283599A JP2283599A JP4046881B2 JP 4046881 B2 JP4046881 B2 JP 4046881B2 JP 02283599 A JP02283599 A JP 02283599A JP 2283599 A JP2283599 A JP 2283599A JP 4046881 B2 JP4046881 B2 JP 4046881B2
Authority
JP
Japan
Prior art keywords
disk substrate
disk
mold
outer diameter
substrate
Prior art date
Legal status (The legal status is an assumption and is not a legal conclusion. Google has not performed a legal analysis and makes no representation as to the accuracy of the status listed.)
Expired - Fee Related
Application number
JP02283599A
Other languages
English (en)
Other versions
JP2000222779A (ja
Inventor
信介 岸
一浩 三浦
Current Assignee (The listed assignees may be inaccurate. Google has not performed a legal analysis and makes no representation or warranty as to the accuracy of the list.)
Sony Music Solutions Inc
Original Assignee
Sony Disc and Digital Solutions Inc
Priority date (The priority date is an assumption and is not a legal conclusion. Google has not performed a legal analysis and makes no representation as to the accuracy of the date listed.)
Filing date
Publication date
Application filed by Sony Disc and Digital Solutions Inc filed Critical Sony Disc and Digital Solutions Inc
Priority to JP02283599A priority Critical patent/JP4046881B2/ja
Publication of JP2000222779A publication Critical patent/JP2000222779A/ja
Application granted granted Critical
Publication of JP4046881B2 publication Critical patent/JP4046881B2/ja
Anticipated expiration legal-status Critical
Expired - Fee Related legal-status Critical Current

Links

Images

Landscapes

  • Optical Record Carriers And Manufacture Thereof (AREA)
  • Manufacturing Optical Record Carriers (AREA)

Description

【0001】
【発明の属する技術分野】
本発明は、貼り合わせ型の光ディスク及びその製造方法に関するものであり、特に、バリによる貼り合わせ不良の改善に関するものである。
【0002】
【従来の技術】
光記録の分野においては、近年、急速に情報信号の高記録密度化が進められており、これに伴って、いわゆるコンパクトディスク(CD)のような単一のディスク基板を用いた単板型光ディスクに代わり、信号面を形成した2枚のディスク基板を貼り合わせた貼り合わせ光ディスクが提案されている。
【0003】
具体的には、上記信号面を形成した2枚のディスク基板のうち一方のディスク基板の信号面側と他方の基板の読み取り面側とが対向するように接着し、片側から読み取り光を照射することにより、これら各ディスク基板の信号面からの情報を読み出し可能とした光ディスクを挙げることができる。
【0004】
上記構成の貼り合わせ光ディスクは、単板型光ディスクとの上位互換を取り易いこと、再生系を簡略化し易いこと等、例えば両面タイプの貼り合わせ光ディスク等と比較して種々のメリットを有する。
【0005】
【発明が解決しようとする課題】
ところで、上記のような片側から各ディスク基板の信号面の情報を読み出し可能とした光ディスクを製造する場合、これまで全く同一条件で作製されたディスク基板同士を貼り合わせるというのが一般的である。
【0006】
しかしながら、この場合、バリによる貼り合わせ不良が頻繁に発生することがわかってきた。光ディスクにおいて、かかる貼り合わせ不良が発生すると、スキューの悪化が問題となる。
【0007】
貼り合わせ不良を解消するためには、上記バリを除去すればよいが、この場合、バリを除去するための2次工程が別途必要になり、工程が煩雑化するという欠点がある。
【0008】
一方、成形条件を工夫してディスク基板成形時になるべくバリが出ないようにすることも考えられる。
【0009】
しかしながら、この場合には、成形バリを少なくするための高精度の金型が必要となること、成形バリを少なくするための成形条件を採用することにより光学特性等を犠牲にせざるを得なくなること、等の不都合が生ずる。
【0010】
本発明は、かかる従来の実情に鑑みて提案されたものであり、バリによる影響を工程の煩雑化や金型の高精度化、光学特性の劣化等を招くことなく抑えることが可能な光ディスクを提供することを目的とし、さらには、その製造方法を提供することを目的とする。
【0011】
【課題を解決するための手段】
上述の目的を達成するために、本発明の光ディスクは、一方の主面が信号面とされるとともに他方の主面が読み取り面とされた一対のディスク基板を有し、一方のディスク基板の信号面側と他方の基板の読み取り面側とが対向するように接着されてなる光ディスクにおいて、上記読み取り面側が接着面とされたディスク基板の外径寸法が、上記信号面側が接着面とされたディスク基板の外径寸法よりも大であることを特徴とする。
【0012】
また、本発明の光ディスクの製造方法は、少なくとも何れか一方にスタンパが装着された固定側金型と可動側金型によりディスク基板の主面を成形するとともに、外周リングによりディスク基板の外周縁を成形する成形装置を用い、外径寸法の異なる2種類のディスク基板を成形し、外径寸法の大きなディスク基板の読み取り面側と外径寸法の小さなディスク基板の信号面側とが対向するように接着することを特徴とする。
【0013】
光ディスク基板を成形する際に、信号面には外方に向かってバリが発生し、読み取り面には厚さ方向のバリが発生する。
【0014】
このようなバリが発生した同一サイズのディスク基板を貼り合わせると、読み取り面側の厚さ方向のバリが信号面に当たり、貼り合わせ不良が発生し、スキューが劣化する。
【0015】
本発明では、読み取り面側が接着面とされたディスク基板の外径寸法が信号面側が接着面とされたディスク基板の外径寸法よりも大とされているので、読み取り面側の厚さ方向のバリが信号面に当たることはなく、貼り合わせ不良やスキューの劣化が解消される。
【0016】
また、バリを除去するための処理工程や、高精度金型等も不要である。
【0017】
【発明の実施の形態】
以下、本発明を適用した光ディスク及びその製造方法について、図面を参照しながら詳細に説明する。
【0018】
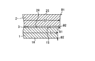
本発明の光ディスクは、例えば図1に示すように、2枚のディスク基板1,2を接着剤層3を介して貼り合わせてなるものである。
【0019】
各ディスク基板1,2は、それぞれ一方の主面が信号面1S,2Sとされるとともに、他方の主面が読み取り光が照射される読み取り面1R,2Rとされている。
【0020】
そして、これらディスク基板1,2は、一方のディスク基板1の信号面1Sに他方のディスク基板2の読み取り面2Rが対向するように貼り合わされている。したがって、ディスク基板1の読み取り面1R側から読み取り光を照射することで、各信号面1S,2Sから信号を読み取ることができる。
【0021】
上記各ディスク基板1,2は、例えばポリカーボネート等のプラスチック材料を射出成形することにより形成されるもので、信号面1S,2Sにはピット、グルーブ等、スタンパの凹凸パターンが転写形成されるとともに、読み取り面1R,2Rは平坦なミラー面とされている。
【0022】
信号面1S,2Sには、反射膜や各種記録膜が形成されるが、特にディスク基板1の信号面1Sには、ディスク基板2の信号面2Sからも信号を読み取る必要があることから、半透過性の反射膜、記録膜を形成することが好ましい。
【0023】
上記構成の貼り合わせ光ディスクにおいて、ディスク基板2の外径寸法D2がディスク基板1の外径寸法D1よりも大とされている。
【0024】
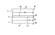
各ディスク基板1,2には、成形の際にバリが生じている。バリとしては、信号面側の外方に向かうバリB1と、読み取り面側の基板厚さ方向のバリB2である。
【0025】
ここで、ディスク基板2の外径寸法D2がディスク基板1の外径寸法D1と同じであると、図2に模式的に示すように、ディスク基板2のバリB2がディスク基板1の信号面1Sに突き当たり、貼り合わせ不良が発生し、スキューが劣化する。
【0026】
これに対して、ディスク基板2の外径寸法D2をディスク基板1の外径寸法D1よりも大とすれば、ディスク基板2のバリB2がディスク基板1の信号面1Sに突き当たることはなく、正常な貼り合わせ状態が維持される。
【0027】
このとき、ディスク基板2の読み取り面2Rのミラー領域がディスク基板1のバリB1部分を含めた信号面よりも大きいことが理想的である。
【0028】
上記ディスク基板2の外径寸法D2をディスク基板1の外径寸法D1よりも0.1mm以上大きくなるように設定すれば、ほぼ確実に前記状態とすることができる。
【0029】
次に、上記光ディスクの製造方法について説明する。
【0030】
図3は、各ディスク基板を射出成形するための金型構造の一例を示すものである。
【0031】
ディスク基板成形用の金型は、固定金型11と可動金型12とを基本要素とし、これら金型間に形成される空間(キャビティ)内に樹脂を充填することでディスク基板が成形される。
【0032】
固定金型11や可動金型12の内部には、温度調節孔11a,12aが設けられており、射出成形時の金型温度を調節するような構造とされている。
【0033】
固定金型11の中央部には、溶融樹脂が流れ込む流路となるスプルー11bが設けられ、これを中心としてスタンパ13がキャビティに臨んで取り付けられている。
【0034】
なお、上記スタンパ13は、内周スタンパ押さえ14及び外周スタンパ押さえ15により固定金型11に固定されている。
【0035】
一方、上記可動金型12の中央部には、上記スプルー11bと対向してセンターポンチ機構16が設けられており、成形されたディスク基板の突き出し、及びスプルーブッシュの打ち抜きを行うように構成されている。
【0036】
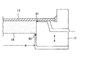
可動金型12は、ディスク基板の読み取り面を形成するためのもので、鏡面状態のミラー面とされているが、その外周には、図4に拡大して示すように、外周リング17が嵌合されている。
【0037】
外周リング17は、ディスク基板の外周形状を決めるものであるが、例えば固定金型11と可動金型12が突き合わされたとき、スタンパ13との間、及び可動金型12のミラー面との間に微少な隙間が生ずる。
【0038】
そして、ディスク基板18の成形時には、この隙間が原因となってバリB1やバリB2が発生する。
【0039】
これらのバリを解消するためには、先ず、高精度な金型を用いることが挙げられるが、この場合には多大な設備投資が必要となる。また、そのメンテナンスも煩雑である。
【0040】
バリを解消するための別の手法としては、射出成形条件の変更等も考えられるが、この場合には成形されるディスク基板の光学特性等を犠牲にせざるを得ず、問題が多い。
【0041】
そこで、本発明では、2枚のディスク基板を成形する際の金型のサイズに若干変更を加え、上記バリの問題に対応することとする。
【0042】
具体的には、読み取り面側が接着されるディスク基板を成形するための金型構造における可動金型12のミラー面の外形寸法Mを、信号面側が接着されるディスク基板を成形するための金型構造における外周リング17の内径φよりも望ましくは0.1mm以上大きくする。
【0043】
すなわち、読み取り面側が接着されるディスク基板と信号面側が接着されるディスク基板を成形するに際し、外周リングの内径及びこれに伴って可動金型のミラー面の外形寸法を変えて成形を行い、外径寸法の異なる2種類のディスク基板として作製する。
【0044】
そして、これらディスク基板を図1に示すように貼り合わせ、貼り合わせ型の光ディスクを完成する。
【0045】
かかる手法を採用することにより、バリを除去するための特別な除去工程を経ることなく正常な貼り合わせ状態を得ることができる。また、高精度な金型や射出条件の変更も不要である。
【0046】
【発明の効果】
以上の説明からも明らかなように、本発明によれば、バリによる影響を工程の煩雑化や金型の高精度化、光学特性の劣化等を招くことなく抑えることが可能である。
【0047】
したがって、スキューの劣化のない、信頼性の高い貼り合わせ型光ディスクを提供することが可能である。
【図面の簡単な説明】
【図1】本発明を適用した貼り合わせ型光ディスクの一構成例を示す要部概略断面図である。
【図2】バリによる貼り合わせ不良の様子を示す模式図である。
【図3】ディスク基板を成形するための金型構造の一例を示す概略断面図である。
【図4】外周リング近傍を拡大して示す要部概略断面図である。
【符号の説明】
1,2 ディスク基板、1S,2S 信号面、1R,2R 読み取り面

Claims (4)

  1. 一方の主面が信号面とされるとともに他方の主面が読み取り面とされた一対のディスク基板を有し、一方のディスク基板の信号面側と他方の基板の読み取り面側とが対向するように接着されてなる光ディスクにおいて、
    上記読み取り面側が接着面とされたディスク基板の外径寸法が、上記信号面側が接着面とされたディスク基板の外径寸法よりも大であることを特徴とする光ディスク。
  2. ディスク基板の外径寸法の差が0.1mm以上とされていることを特徴とする請求項1記載の光ディスク。
  3. 少なくとも何れか一方にスタンパが装着された固定側金型と可動側金型によりディスク基板の主面を成形するとともに、外周リングによりディスク基板の外周縁を成形する成形装置を用い、外径寸法の異なる2種類のディスク基板を成形し、
    外径寸法の大きなディスク基板の読み取り面側と外径寸法の小さなディスク基板の信号面側とが対向するように接着することを特徴とする光ディスクの製造方法。
  4. 読み取り面側が接着されるディスク基板を成形する金型の読み取り面ミラー外径が、信号面が接着されるディスク基板を成形する金型の外周リング内径よりも0.1mm以上大きいことを特徴とする請求項3記載の光ディスクの製造方法。
JP02283599A 1999-01-29 1999-01-29 光ディスク及びその製造方法 Expired - Fee Related JP4046881B2 (ja)

Priority Applications (1)

Application Number Priority Date Filing Date Title
JP02283599A JP4046881B2 (ja) 1999-01-29 1999-01-29 光ディスク及びその製造方法

Applications Claiming Priority (1)

Application Number Priority Date Filing Date Title
JP02283599A JP4046881B2 (ja) 1999-01-29 1999-01-29 光ディスク及びその製造方法

Publications (2)

Publication Number Publication Date
JP2000222779A JP2000222779A (ja) 2000-08-11
JP4046881B2 true JP4046881B2 (ja) 2008-02-13

Family

ID=12093775

Family Applications (1)

Application Number Title Priority Date Filing Date
JP02283599A Expired - Fee Related JP4046881B2 (ja) 1999-01-29 1999-01-29 光ディスク及びその製造方法

Country Status (1)

Country Link
JP (1) JP4046881B2 (ja)

Also Published As

Publication number Publication date
JP2000222779A (ja) 2000-08-11

Similar Documents

Publication Publication Date Title
US20050022224A1 (en) Stamper for manufacturing optical recording medium, method for forming information recording area and light transmitting layer, and optical recording medium
JP2002240101A (ja) ディスク基板及びそれを射出成形する金型装置とディスク基板取出し用ロボット
JP2005067055A (ja) 成形金型、光ディスク用基板及び光ディスク
JP4046881B2 (ja) 光ディスク及びその製造方法
JP4215923B2 (ja) 光ディスク及びその射出圧縮成形用金型
US5851620A (en) Disc metal mold and recorded disc
JP2000298879A (ja) 光記録媒体
JP4769654B2 (ja) ブルーレイディスクの製造方法
JP4093686B2 (ja) ディスク基板の成形金型及び成形装置
JP2005267738A (ja) 光ディスク基板成形用金型装置
JP2000263615A (ja) 光情報記録媒体基板の成形金型
JP4306093B2 (ja) 光学記録媒体およびその製造方法、ならびに射出成形装置
JP2003242680A (ja) ディスク状光記録媒体
JP4079541B2 (ja) ディスク基板
JP4098592B2 (ja) 光記録媒体、光記録媒体の成形用金型、および光記録媒体用の基板
JP4167422B2 (ja) ディスク状基板材料製造用金型装置及びディスク状基板材料の製造方法
JP2000094480A (ja) 円盤状記録媒体用の成形金型および射出成形機
JP3383387B2 (ja) 光ディスク用基板及びこの光ディスク用基板の成形用金型
JP2002237105A (ja) 光情報媒体用中間基板、光情報媒体、光情報媒体の製造方法
KR20040078667A (ko) 디스크형상 광기록매체의 제조방법 및 디스크형상광기록매체
JP3451842B2 (ja) 光ディスク
JP2001047471A (ja) ディスク基板の成形装置及びディスク状記録媒体
JP2003048234A (ja) 光ディスク成形金型及び成形基板並びに光ディスク
JP4109216B2 (ja) 情報記録媒体
JP2002222545A (ja) 光ディスク基板

Legal Events

Date Code Title Description
A621 Written request for application examination

Free format text: JAPANESE INTERMEDIATE CODE: A621

Effective date: 20051206

A977 Report on retrieval

Free format text: JAPANESE INTERMEDIATE CODE: A971007

Effective date: 20071015

TRDD Decision of grant or rejection written
A01 Written decision to grant a patent or to grant a registration (utility model)

Free format text: JAPANESE INTERMEDIATE CODE: A01

Effective date: 20071023

A61 First payment of annual fees (during grant procedure)

Free format text: JAPANESE INTERMEDIATE CODE: A61

Effective date: 20071121

FPAY Renewal fee payment (event date is renewal date of database)

Free format text: PAYMENT UNTIL: 20101130

Year of fee payment: 3

R150 Certificate of patent or registration of utility model

Free format text: JAPANESE INTERMEDIATE CODE: R150

FPAY Renewal fee payment (event date is renewal date of database)

Free format text: PAYMENT UNTIL: 20111130

Year of fee payment: 4

FPAY Renewal fee payment (event date is renewal date of database)

Free format text: PAYMENT UNTIL: 20111130

Year of fee payment: 4

S533 Written request for registration of change of name

Free format text: JAPANESE INTERMEDIATE CODE: R313533

FPAY Renewal fee payment (event date is renewal date of database)

Free format text: PAYMENT UNTIL: 20111130

Year of fee payment: 4

R360 Written notification for declining of transfer of rights

Free format text: JAPANESE INTERMEDIATE CODE: R360

FPAY Renewal fee payment (event date is renewal date of database)

Free format text: PAYMENT UNTIL: 20111130

Year of fee payment: 4

R360 Written notification for declining of transfer of rights

Free format text: JAPANESE INTERMEDIATE CODE: R360

R371 Transfer withdrawn

Free format text: JAPANESE INTERMEDIATE CODE: R371

FPAY Renewal fee payment (event date is renewal date of database)

Free format text: PAYMENT UNTIL: 20111130

Year of fee payment: 4

S533 Written request for registration of change of name

Free format text: JAPANESE INTERMEDIATE CODE: R313533

FPAY Renewal fee payment (event date is renewal date of database)

Free format text: PAYMENT UNTIL: 20111130

Year of fee payment: 4

R350 Written notification of registration of transfer

Free format text: JAPANESE INTERMEDIATE CODE: R350

FPAY Renewal fee payment (event date is renewal date of database)

Free format text: PAYMENT UNTIL: 20111130

Year of fee payment: 4

FPAY Renewal fee payment (event date is renewal date of database)

Free format text: PAYMENT UNTIL: 20121130

Year of fee payment: 5

FPAY Renewal fee payment (event date is renewal date of database)

Free format text: PAYMENT UNTIL: 20131130

Year of fee payment: 6

LAPS Cancellation because of no payment of annual fees