JP4046866B2 - 掘削残土・汚泥の土質別分離処理方法及びその装置 - Google Patents
掘削残土・汚泥の土質別分離処理方法及びその装置 Download PDFInfo
- Publication number
- JP4046866B2 JP4046866B2 JP26784798A JP26784798A JP4046866B2 JP 4046866 B2 JP4046866 B2 JP 4046866B2 JP 26784798 A JP26784798 A JP 26784798A JP 26784798 A JP26784798 A JP 26784798A JP 4046866 B2 JP4046866 B2 JP 4046866B2
- Authority
- JP
- Japan
- Prior art keywords
- clay
- soil
- perforated plate
- rotating
- sludge
- Prior art date
- Legal status (The legal status is an assumption and is not a legal conclusion. Google has not performed a legal analysis and makes no representation as to the accuracy of the status listed.)
- Expired - Fee Related
Links
- 239000002689 soil Substances 0.000 title claims description 111
- 239000010802 sludge Substances 0.000 title claims description 71
- 238000000926 separation method Methods 0.000 title claims description 59
- 238000003672 processing method Methods 0.000 title description 5
- 239000004927 clay Substances 0.000 claims description 124
- 238000010298 pulverizing process Methods 0.000 claims description 61
- XLYOFNOQVPJJNP-UHFFFAOYSA-N water Substances O XLYOFNOQVPJJNP-UHFFFAOYSA-N 0.000 claims description 51
- 239000004576 sand Substances 0.000 claims description 46
- 238000002347 injection Methods 0.000 claims description 21
- 239000007924 injection Substances 0.000 claims description 21
- 230000002093 peripheral effect Effects 0.000 claims description 19
- 238000007790 scraping Methods 0.000 claims description 15
- 238000001914 filtration Methods 0.000 claims description 14
- 238000000034 method Methods 0.000 claims description 13
- 238000000227 grinding Methods 0.000 claims description 12
- 238000005507 spraying Methods 0.000 claims description 12
- 239000000463 material Substances 0.000 claims 1
- 238000009412 basement excavation Methods 0.000 description 46
- 238000010586 diagram Methods 0.000 description 12
- 230000000694 effects Effects 0.000 description 6
- 238000011084 recovery Methods 0.000 description 4
- 238000007664 blowing Methods 0.000 description 2
- 238000004140 cleaning Methods 0.000 description 2
- 239000002184 metal Substances 0.000 description 2
- 238000010276 construction Methods 0.000 description 1
- 238000007599 discharging Methods 0.000 description 1
- -1 etc.) and silt Substances 0.000 description 1
- 238000009434 installation Methods 0.000 description 1
- 239000002245 particle Substances 0.000 description 1
- 238000003825 pressing Methods 0.000 description 1
- 238000004080 punching Methods 0.000 description 1
- 239000007921 spray Substances 0.000 description 1
- 229910001220 stainless steel Inorganic materials 0.000 description 1
- 229920003002 synthetic resin Polymers 0.000 description 1
- 239000000057 synthetic resin Substances 0.000 description 1
- 230000008685 targeting Effects 0.000 description 1
Images
Landscapes
- Combined Means For Separation Of Solids (AREA)
- Treatment Of Sludge (AREA)
- Separation Of Solids By Using Liquids Or Pneumatic Power (AREA)
- Filtration Of Liquid (AREA)
Description
【発明の属する技術分野】
本発明は、礫、粗砂、細砂(以下、砂等という)とシルト、粘土(以下、粘土等という)が混在した粘土塊を含む掘削残土や汚泥を土質別に分離処理するための土質別分離処理方法及びその装置に関する。
【0002】
【従来の技術】
従来、建設現場等から排出される掘削残土や汚泥を土質別に分離処理するための装置として、例えば、特開平9−239288号公報のものが提供されている。このものは、掘削残土や汚泥の分離処理装置というものであって、掘削残土や汚泥を、傾斜姿勢に配置した回転金網体に投入し、この回転金網体を回転することにより内部に投入された掘削残土や汚泥を移送しつつ、高圧ジェットノズルを回転金網体内に配置し、高圧ジェット水を噴射して、残土中の粘土塊を破砕し、且つ、粘土を強制ろ過させて、砂等と粘土等を分離するものである。
【0003】
そして、処理する掘削残土や汚泥に粘土等と砂等が混在した粘土塊を多く含むような場合には、予め掘削残土や汚泥を水槽にて水に分散する残土前処理手段を設け、この水に分散させた掘削残土や汚泥を上記分離処理装置に投入して処理している。
【0004】
【発明が解決しようとする課題】
上記分離処理方法によると、大きな粘土塊がある場合には、回転金網体に投入する前に、大きな固まりの粘土塊を残土前処理手段の水槽内の水に分散して残土の前処理を行う必要がある。この残土前処理を行なうと、前処理に処理時間が掛かり過ぎ、分離処理装置での連続処理運転ができない。更に、分離処理装置と残土前処理手段とを別設しなければならないから、設備のコストアップと、床面積の増大が免れないという問題点がある。
【0005】
本発明は、上記従来の分離処理装置に見られる問題点に鑑みて開発されたもので、大きな固まりの粘土塊がある場合でも残土前処理手段を必要とすることなく、大きな固まりの粘土塊を含む掘削残土や汚泥を直接処理できる掘削残土・汚泥の土質別分離処理方法及びその装置を提供することを目的とする。
【0006】
【課題を解決するための手段】
上記目的を達成するべく、本発明の請求項1記載の掘削残土・汚泥の土質別分離処理方法は、回転可能に取り付けられ回転駆動される回転ブラシ体と回転ブラシ体の周面に当接させた粉砕板とからなる粉砕手段に、粘土等と砂等が混在した粘土塊を含む掘削残土・汚泥を投入し、粘土塊を回転ブラシ体と粉砕板との間で粉砕し、上記粉砕手段により粉砕されたものに多孔板上で水を噴射して粘土等を強制ろ過させるようにしたことを特徴とするものである。
【0007】
また、本発明の請求項2記載の掘削残土・汚泥の土質別分離処理装置は、回転可能に取り付けられ回転駆動される回転ブラシ体と回転ブラシ体の周面に当接させた粉砕板とからなる粉砕手段と、粉砕手段により粉砕されたものに多孔板上で水を噴射して粘土等を強制ろ過させる噴射手段と、を具備したことを特徴とするものである。
【0008】
また、本発明の請求項3記載の掘削残土・汚泥の土質別分離処理装置は、回転駆動される回転多孔板と、上記回転多孔板内に配置され回転可能に取り付けられ回転駆動される回転ブラシ体と回転ブラシ体の周面に当接させた粉砕板とからなる粉砕手段と、上記回転多孔板内の粉砕手段に対応して配置され、粉砕手段によって粘土塊を粉砕して放出されたものに水を噴射して粘土等を強制ろ過させる噴射手段と、を具備したことを特徴とするものである。
【0009】
また、本発明の請求項4記載の掘削残土・汚泥の土質別分離処理装置は、請求項3記載の掘削残土・汚泥の土質別分離処理装置において、上記回転多孔板は投入側から排出側に向かって前下がりに傾斜配置され、上記回転多孔板内に軸方向に複数の粉砕手段と噴射手段とを配置したことを特徴とするものである。
【0010】
また、本発明の請求項5記載の掘削残土・汚泥の土質別分離処理装置は、請求項3記載の掘削残土・汚泥の土質別分離処理装置において、上記回転多孔板は軸方向を略水平に配置され、回転多孔板内に投入側から排出側に向かって螺旋状に掻き上げ板が配置され、上記回転多孔板内に軸方向に複数の粉砕手段と噴射手段とを配置したことを特徴とするものである。
【0011】
また、本発明の請求項6記載の掘削残土・汚泥の土質別分離処理装置は、請求項請求項2、3、4又は5記載の掘削残土・汚泥の土質別分離処理装置において、上記粉砕手段の粉砕板は、回転ブラシ体の周面に弾性的に当接され、且つ、回転ブラシ体から後退動するようにしたことを特徴とするものである。
【0012】
また、本発明の請求項7記載の掘削残土・汚泥の土質別分離処理装置は、請求項3、4又は5記載の掘削残土・汚泥の土質別分離処理装置において、上記回転多孔板の外周面に高圧水噴射手段が配置され、孔に目詰まりした砂等を除去するようにしたことを特徴とするものである。
【0013】
【作用】
上記請求項1によると、粘土等と砂等が混在した粘土塊を含む掘削残土・汚泥を、粉砕手段の回転ブラシ体と回転ブラシ体の周面に当接する粉砕板との間に投入し、粘土塊を回転するブラシ体と粉砕板との間で引きちぎるように分解し、細かく粉砕する。次に、粉砕手段により粉砕されたものを多孔板上に配置し、水を噴射して粘土等を孔から強制ろ過する。これにより、大きな粘土塊でも、効率良く分離処理できる。
【0014】
上記請求項2は上記請求項1を実施する装置であり、これによると、粘土等と砂等が混在した粘土塊を含む掘削残土・汚泥を、粉砕手段の回転ブラシ体と回転ブラシ体の周面に当接する粉砕板との間に投入し、粘土塊を回転するブラシ体と粉砕板との間で引きちぎるように分解し、細かく粉砕する。次に、粉砕手段により粉砕されたものを多孔板上に配置し、水を噴射して粘土等を孔から強制ろ過する。これにより、大きな粘土塊でも、効率良く分離処理できる。
【0015】
上記請求項3は、上記請求項1を実施する装置であり、まず、粘土等と砂等が混在した粘土塊を含む掘削残土・汚泥は、回転駆動される回転多孔板に投入する。粘土塊はこの高所に持ち上げられ、粉砕手段に落下して回転ブラシ体と粉砕板との間で粉砕され、回転多孔板の底部に放出される。そして、ここで、噴射手段により粘土塊を粉砕して放出されたものに水を噴射して、粘土等を孔から強制ろ過し、砂等と分離する処理が行われる。上記操作は回転多孔板内で循環的に繰り返されるので、大きな粘土塊でも、単工程で効率良く分離処理できる。
【0016】
上記請求項4は、上記請求項1を実施する装置であり、まず、粘土と砂等が混在した粘土塊を含む掘削残土・汚泥は、軸方向を傾斜姿勢とし回転駆動される回転多孔板に投入される。粘土塊はこの高所に持ち上げられ、粉砕手段となる回転ブラシ体と粉砕板との間に落下して破壊された後に、回転多孔板の底部に放出される。更に、噴射手段により水を噴射して粉砕・分離した粘土等を孔から強制ろ過し、砂等と分離する。上記作用は、軸方向を傾斜姿勢とし回転駆動される回転多孔板の作用により粘土塊が軸方向に移送されて複数の粉砕手段と噴射手段により繰り返して行われるので、大きな粘土塊でも、単工程で連続的に効率良く分離処理できる。尚、砂等は傾斜した回転多孔板の排出側へ移動し、排出される。
【0017】
上記請求項5は、上記請求項1を実施する装置であり、まず、粘土と砂等が混在した粘土塊を含む掘削残土・汚泥は、軸方向を略水平に配置され回転駆動される回転多孔板に投入される。粘土塊はこの高所に持ち上げられ、粉砕手段となる回転ブラシ体と粉砕板との間に落下して破壊された後に、回転多孔板の底部に放出される。更に、噴射手段により水を噴射して粉砕・分離した粘土等を孔から強制ろ過し、砂等と分離する。上記作用は、回転多孔板内に投入側から排出側に向かって螺旋状に配置された掻き上げ板により粘土塊が軸方向に移送されて複数の粉砕手段と噴射手段により繰り返して行われるので、大きな粘土塊でも、単工程で連続的に効率良く分離処理できる。尚、砂等は傾斜した回転多孔板の排出側へ移動し、排出される。
【0018】
上記請求項6によると、上記粉砕手段の粉砕板は、回転ブラシ体の周面に弾性的に当接され、且つ、回転ブラシ体から後退動するようにしたから、礫分が投入された時には、粉砕板が礫分に押されて大きな抵抗を受けると後退動する。これにより、礫分は通過するので、礫分を含む粘土塊も無理なく円滑に粉砕して分離処理できる。
【0019】
上記請求項7によると、上記回転多孔板の外周面に高圧水噴射手段が配置されているので、砂等が網目に目詰まりすると、これに対して高圧水噴射手段の噴射力により砂等を吹き飛ばして洗浄する。上記吹き飛ばし洗浄作用により、回転多孔板の底部での水噴射による強制ろ過作用が確実に維持される。
【0020】
【発明の実施の形態】
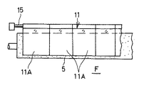
以下、図1〜図6を参照して本発明の掘削残土・汚泥の土質別分離処理方法を実行するための土質別分離処理装置100の第1実施形態を説明する。図1に示すように、先ず、回転多孔板1が、その軸方向を投入側(A)から排出側(B)に向かって前下がりに傾斜して配置されている。回転多孔板1は、円筒形の枠体に金網を張設したものである。尚、多孔板は、多数の孔を有し、砂等を通過させず、粘土等を通過させ得るものであれば良く、パンチングメタル等を使用しても良い。この回転多孔板1の網目1Mは、75μm程度の砂等をキャッチするメッシュに選定されている。すなわち、礫から粗砂が「2mm」、細砂が「0.2mm〜0.02mm」、シルトが「0.02mm」、粘土が「0.002mm」の粒径を持つことから決定している。上記回転多孔板1は、両端外周がローラ3,4に支持され、駆動手段(図示なし)により反時計方向に5〜40rpmの低速で回転駆動される。回転多孔板1の内周には、図2に示すように、複数枚の掻き上げ手段としての掻き上げ板21を回転多孔板1の軸方向(X)に向けて配置している。この掻き上げ板21は、直径75mm前後までの粘土塊を高所に持ち上げるために、その突出量を30〜40mm程度としている。これにより、投入側(A)に供給された粘土塊Dを回転多孔板の回転で掻き上げ板21が回転多孔板の高所に持ち上げ、ここから下方に配置した粉砕手段Fの回転ブラシ体5と粉砕板11との隙間に向けて落下させるように機能する。尚、上記掻き上げ手段としては掻き上げ板21に限らず、櫛状のもの等であっても良い。また、大きな粘土塊Dを上方へ持ち上げるためのものであるから、小さな粘土塊Dを対象とする時は、省略しても良い。
【0021】
上記回転多孔板1の内部には、回転ブラシ体5と粉砕板11とで粉砕手段Fを構成する。まず、上記回転多孔板1の内部における中央付近には、軸方向(X)に長く延びる回転ブラシ体5が配置され、この回転ブラシ体5の両端が軸受7,9に支持されている。上記回転ブラシ体5は、モータMにより400〜600rpm(最大1000rpm)の範囲で回転駆動される。上記回転ブラシ体5はステンレスワイヤが適しているが、腰の強いものであれば、豚毛や合成樹脂性のものでもよい。更に、上記回転ブラシ体5の周面には粉砕板11が当接される。このものは、金属等の板状部材であり、図2に示すように、回転ブラシ体5の周面が下降する位置に当接配置し、回転ブラシ体5と粉砕板11とがV字状に上方が開いた状態となるように取り付けられる。そして、上縁が支持軸15に回動可能に支持されるとともに、バネ部材13により弾性的に当接され、且つ、回転ブラシ体5から後退動するように取り付けられる。上記バネ部材13の他端は、回転多孔板1内に配置したフレームF1に固着されている。尚、粉砕板11は、固定して取り付けても良い。
【0022】
更に、上記粉砕板11は、回転ブラシ体5の側面における全長に当接すべく、図1,図3に示すように、連続した複数枚の板片11Aからなり、これらの上縁が各々支持軸15に回動可能に支持されるとともに、各々が独立したバネ部材13にて押圧力が付与されている。これにより、回転ブラシ体5と粉砕板11との間に投入された粘土塊D(粘土等D1と砂等D2が一体化したもの)は回転ブラシ体5に捕まれ粉砕板11に強く押し付けられて、引きちぎるように分解し、細かく粉砕される。そして、粉砕されたものは回転ブラシ体5から回転多孔板1の下側内壁に放出される。尚、礫分が投入された場合は、粉砕板11がバネ部材13を伸長して後退動するので、これを通過し、粉砕手段が破損することが防止される。上記回転ブラシ体5の上部には、回転多孔板1の高所から落下する粘土塊Dを回転ブラシ体5に導く案内板23を傾斜配置している。
【0023】
上記回転多孔板1内の上方には、図1,図2に示すように、粉砕手段から放出されたものに水を噴射させる噴射手段Rが回転多孔板1の軸方向に長く配置されている。この噴射手段Rは、噴射方向を粉砕手段Fにより回転多孔板1の下側内壁に放出されたものに向けて取り付けられるもので、回転多孔板1上の粉砕手段により粉砕されたものから粘土等D1を強制ろ過し、且つ、回転多孔板1の網目1M(孔)を洗浄するように構成される。上記噴射手段Rの水圧は、0.2kg/cm2前後から水道圧程度までの比較的低圧で良い。上記ろ過後の水Wは、粘土D1と一緒に外部へ排出されるようになっている。
【0024】
また、図1,図2に示すように、回転多孔板1の下方には、回収槽40を配置し、網目1Mを通過した水Wや粘土D1を回収する。この回収槽40内には、水Wが溜り、その水位Lが回転多孔板1の下面を浸している。上記回収槽40内の粘土分と汚泥を含んだ水Wは、排水管Pから外部へ排出されるようになっている。
【0025】
上記回転多孔板1の投入側(A)には、ホッパHを配置し、粘土等D1と砂等D2が混在した粘土塊Dを回転多孔板1内に供給する。排出側(B)には、排出コンベアCを配置している。更に、回転多孔板1内の排出側(B)には、複数枚の排出板25を付設し、回転多孔板の回転で排出側へ移送され高所に持ち上げられた残土や砂をここから下方の排出コンベアC上に落下するようになっている。
【0026】
上記回転多孔板1の上方には、回転多孔板1の外周面に回転多孔板の網目1Mに目詰まりする砂等D2を強制的に取り除く高圧水噴射手段HFを配置している。この高圧水噴射手段HFは、図2に示すように、回転多孔板1の網目1Mに詰まる砂D2を回転多孔板内部に吹き飛ばすとともに、網目1Mを清掃する機能を発揮する。
【0027】
次に、図1,図2,図5,図6を参照して、上記掘削残土・汚泥の土質別分離処理装置100による分離処理方法を説明する。その掘削残土・汚泥の土質別分離処理作用は、図6に示すフローチャートに沿って実行される。先ず、粘土等D1と砂等D2が混在した粘土魂D(直径40〜60mmまでの固まり)が回転多孔板1に、その投入側(A)からホッパHにより供給される。この工程が「回転多孔板への投入(イ)」となる。これで、粘土塊Dは、回転多孔板1の底部に落下し、図2に示すように、反時計方向に低速回転する回転多孔板1内に備える複数枚の掻き上げ板21の作用で回転多孔板1の高所に持ち上げられる。この工程が「回転多孔板上部へ掻き上げ(ロ)」となる。
【0028】
ここから粘土塊Dは、図5に示すように、下方に配置した回転ブラシ体5と粉砕板11とがV字状に開口する粉砕手段Fに向けて落下する。粘土塊Dは、回転ブラシ体5に捕まれ、粉砕板11に強く押し付けられて、引きちぎるように分解され、細かく粉砕される。礫分が投入された時は、粉砕板11はバネ部材13を伸ばして後退動する。この工程が「粉砕手段による粉砕」(ハ)となる。
【0029】
上記粉砕手段により粉砕されて上記回転多孔板1に放出されたものは、噴射手段Rから水Wの噴射により更に粉砕されつつ、水に溶かされて粘土等D1が網目1Mで強制ろ過される。これにより、その網目1Mから粘土D1を水Wとともに外部へ排出する。この工程が「粉砕手段により粉砕されたものの水噴射・粘土等の分離」(ニ)となる。ここで、回転多孔板1の網目1Mに残ったものは、回転多孔板1の低速回転と複数枚の掻き上げ板21により、回転多孔板の高所に持ち上げられる。この工程が「未分離のものの回転多孔板上部へ掻き上げ」(ホ)となる。ここで、再び未分離のものは粉砕手段に落下され、「粉砕手段による粉砕」(ハ)を繰り返す。上記土質別分離処理作用は、粘土塊Dが傾斜している回転多孔板1の投入側から排出側へ向かって移動しながら進められる。その繰り返し回数は、5〜7回程度となる。
【0030】
上記掘削残土・汚泥の土質別分離処理作用において、回転多孔板1の上方には、回転多孔板の外周面に高圧水噴射手段HFを配置しており、この高圧水噴射手段HFが、図2に示すように、回転多孔板1の網目1Mに詰まる砂D2を積極的に回転多孔板内に吹き込む。この工程が「砂除去」(リ)となる。
【0031】
上記粘土塊Dの土質別分離処理作用を続け、回転多孔板1の排出側(B)に向かって徐々に移動した礫分を含む砂等D2は、図1,図4に示すように、回転多孔板1の排出側(B)に備える排出板25により上方へ持ち上げられ、ここから落下して排出コンベアC上に乗せられ、外部へ排出される。この工程が「砂等の連続排出」(ト)となる。
【0032】
また、図1,図2に示すように、強制ろ過で回転多孔板1の下方網目1Mを通過した粘土・汚泥D1と水Wとは、回収槽40内に集められる。上記粘土は回収槽40で沈殿され、沈殿されずに水と混合している汚泥D1と水Wとは、排水管Pから外部へ排出される。以上のようにして、粘土塊を分離処理する作用が連続的に行われる。
【0033】
本発明の掘削残土・汚泥の土質別分離処理装置100は、上記のように作用し、以下の効果を奏する。先ず、回転多孔板1に投入した粘土塊Dは、粉砕手段Fにより積極的に粉砕され、更に水噴射による粘土等の強制ろ過作用を行うようにしたから、大きな粘土塊でも、確実に分離処理できる。
【0034】
また、回転多孔板を傾斜姿勢とし、回転多孔板の回転で粘土塊Dを移送しながら回転多孔板の高所に持ち上げて粉砕手段Fにより粉砕処理を繰り返して行うから、粘土塊Dの分離処理が連続して効率良く行える効果が発揮される。
【0035】
更に、回転多孔板の網目に高圧水噴射手段HFにより水を噴射するようにしたから、網目に付着した砂等D2を回転多孔板1内へ吹き飛ばすとともに、網目1Mを清掃し、粘土塊Dの分離処理を長期間にわたり維持できる効果が発揮される。
【0036】
尚、本発明は、上記第1実施形態の掘削残土・汚泥の土質別分離処理装置100に限定されない。例えば、図7に示す第2実施形態の掘削残土・汚泥の土質別分離処理装置200のように、上記粉砕手段Fを構成する回転ブラシ体5と粉砕板11とにおいて、1つの粉砕板11に対して2つの回転ブラシ体5を対面させたものとしても良い。勿論、1つの粉砕板11に対して、2つ以上の複数個の回転ブラシ体5を対面させたものとしても良い。上記第2実施形態の掘削残土・汚泥の土質別分離処理装置200によると、第1実施形態と同様な処理方法が実施される。即ち、回転多孔板1に投入した粘土塊Dは粉砕手段Fの2つの回転ブラシ体5により効率的に粉砕され、大きな粘土塊Dに対するより一層優れた分離処理能力が発揮される。
【0037】
更に、図8に示す第3実施形態の掘削残土・汚泥の土質別分離処理装置300のように、上記回転多孔板内に2組又は2組以上の粉砕手段Fを並べて構成しても良い。上記第3実施形態の掘削残土・汚泥の土質別分離処理装置300によると、第1実施形態と同様な処理方法が実施される。即ち、回転多孔板1に投入した粘土塊Dは、2組の粉砕手段Fにより広い落下面積にわたり粉砕されるから、大きな粘土塊Dに対するより一層優れた分離処理能力が発揮される。
【0038】
更に、図9に示す第4実施形態の掘削残土・汚泥の土質別分離処理装置400のように、バツチ式としても良い。この掘削残土・汚泥の土質別分離処理装置400は、軸方向を略水平とし回転駆動される回転多孔板1と、上記回転多孔板内に設けられた回転ブラシ体5と、これに弾性的に当接された粉砕板11とからなる粉砕手段Fと、上記回転多孔板の粉砕手段に対応して複数設けられ粉砕手段から放出されたものに水Wを噴射させる噴射手段Rと、左端に粘土塊Dの投入口Iと、右端に砂D2の排出口Oとを備えた構成になっている。
【0039】
上記第4実施形態の掘削残土・汚泥の土質別分離処理装置400においては、粘土等D1と砂等D2が混在した粘土塊を含む掘削残土・汚泥は、所定量が回転多孔板に投入され、この回転で高所に持ち上げられ、回転ブラシ体5と粉砕板11との間に落下して粉砕された後に、回転多孔板1の底部に放出される。更に、これに水Wを噴射して粉砕手段により粉砕されたものを水で溶かし、粘土等を網目1Mから強制ろ過する。この作業は、粘土塊Dがなくなるまで、連続して行うことができる。
【0040】
この第4実施形態の掘削残土・汚泥の土質別分離処理装置400によると、上記各実施形態と同様に、回転多孔板1に投入した粘土塊Dを粉砕手段Fにより粉砕し、更に水噴射により強制ろ過を受けるから、大きな粘土塊Dに対する分離処理能力が発揮されるとともに、単工程で処理でき、設置スペースも少なくて済むという効果が発揮される。
【0041】
更に、図10,11に示す第5実施形態の掘削残土・汚泥の土質別分離処理装置500は、軸方向を略水平とし回転駆動される回転多孔板1内に、複数の掻き上げ板50を、回転多孔板1内に投入側から排出側に向かって螺旋状に配置したものである。その他の構成は、上記第1実施形態と同様である。上記第5実施形態の掘削残土・汚泥の土質別分離処理装置500においては、粘土等D1と砂等D2が混在した粘土塊を含む掘削残土・汚泥は、回転多孔板に投入され、掻き上げ板50の作用で、軸方向に移送され、複数の粉砕手段と噴射手段による粉砕と粘土等の強制ろ過作用を連続して受ける。この第5実施形態の掘削残土・汚泥の土質別分離処理装置400の場合も、上記第1実施形態と同様の作用効果が発揮される。
【0042】
更に、図12に示す第6実施形態の掘削残土・汚泥の土質別分離処理装置600のように、粉砕装置Fと噴射手段Rが別個に設けられていても良い。粉砕手段Fは回転ブラシ体5と、これに弾性的に当接された粉砕板11とからなる。また、噴射手段Rは、金網等の多孔板を使用したコンベア60に粉砕手段により粉砕されたものを配置し、粉砕手段により粉砕されたものに向けて水を噴射するものである。これらは装置として別個に設けてもよいし、一連に配置してもよい。
【0043】
上記第6実施形態の掘削残土・汚泥の土質別分離処理装置600によると、粘土等D1と砂等D2が混在した粘土塊を含む掘削残土・汚泥は、まず、粉砕手段Fに投入され、ここで粉砕が行われる。続いて、粉砕と同時または時間をおいて、噴射手段Rに投入される。噴射手段Rは金網等の多孔板を使用したコンベア60に粉砕手段により粉砕されたものを乗せ、粉砕手段により粉砕されたものに向けて水を噴射する。これにより、粉砕手段により粉砕されたものから、粘土等D2を強制ろ過する。大きな粘土塊Dについては、粉砕手段Fによる粉砕後、図示しない移送手段により、粉砕手段Fに再投入し、または、噴射手段Rにより粘土等D2を強制ろ過した後、分離したものを図示しない移送手段により、粉砕手段Fに再投入することにより、粘土塊Dがなくなるまで連続して処理することができる。
【0044】
この第6実施形態の掘削残土・汚泥の土質別分離処理装置600によると、上記各実施形態と同様に、回転多孔板1に投入した粘土塊Dを粉砕手段Fにより粉砕し、更に水噴射により強制ろ過を受けるから、大きな粘土塊Dに対する分離処理能力が発揮される。
【0045】
【発明の効果】
以上詳述したように本発明の請求項1,2によると、粘土等と砂等が混在した粘土塊を含む掘削残土・汚泥を、粉砕手段の回転ブラシ体と回転ブラシ体の周面に当接する粉砕板との間に投入し、粘土塊を回転するブラシ体と粉砕板との間で引きちぎるように分解し、細かく粉砕し、粉砕手段により粉砕されたものを多孔板上に配置し、水を噴射して粘土等を孔から強制ろ過するようにしたから、大きな粘土塊でも、確実に分離処理できる。
【0046】
また、請求項3によると、粘土等と砂等が混在した粘土塊を含む掘削残土・汚泥を、回転駆動される回転多孔板に投入し、この高所に持ち上げて粉砕手段に落下させるようにしたから、粉砕と粘土等の強制ろ過が循環的に繰り返されるので、大きな粘土塊でも、単工程で効率良く分離処理できる。
【0047】
また、請求項4,5によると、粘土等と砂等が混在した粘土塊を含む掘削残土・汚泥を、回転駆動される回転多孔板に投入し、回転多孔板内を移送して連続して粉砕手段に落下させるようにしたから、粉砕と粘土等の強制ろ過が繰り返されるので、大きな粘土塊でも、単工程で連続的に効率良く分離処理できる。
【0048】
また、請求項6によると、粉砕手段の粉砕板は、回転ブラシ体の周面に弾性的に当接され、且つ、回転ブラシ体から後退動するようにしたから、礫分が投入された時には、粉砕板が後退動し、無理なく円滑に通過して粉砕手段の破損を防止できる。
【0049】
また、請求項7によると、回転多孔板の外周面に高圧水噴射手段が配置されているので、砂等が網目に目詰まりしても、砂等を吹き飛ばして洗浄することができ、強制ろ過作用を確実に維持できる。
【図面の簡単な説明】
【図1】本発明の第1実施形態を示す図で、掘削残土・汚泥の土質別分離処理装置の側面図である。
【図2】本発明の第1実施形態を示す図で、掘削残土・汚泥の土質別分離処理装置の断面図である。
【図3】本発明の第1実施形態を示す図で、掘削残土・汚泥の土質別分離処理装置の要部断面図である。
【図4】本発明の第1実施形態を示す図で、掘削残土・汚泥の土質別分離処理装置の部分図である。
【図5】本発明の第1実施形態を示す図で、掘削残土・汚泥の土質別分離処理装置の作用図である。
【図6】本発明の第1実施形態を示す図で、掘削残土・汚泥の土質別分離処理方法のフローチャート図である。
【図7】本発明の第2実施形態を示す図で、掘削残土・汚泥の土質別分離処理装置の断面図である。
【図8】本発明の第3実施形態を示す図で、掘削残土・汚泥の土質別分離処理装置の断面図である。
【図9】本発明の第4実施形態を示す図で、バッチ式の土質別分離処理装置の側面図である。
【図10】本発明の第5実施形態を示す図で、連続式の土質別分離処理装置の側面図である。
【図11】本発明の第5実施形態を示す図で、掻き上げ板の概略配置態様を示す斜視図である。
【図12】本発明の第6実施形態を示す図で、分離式の土質別分離処理装置の側面図である。
【符号の説明】
1 回転多孔板
1M 網目
3,4 ローラー
5 回転ブラシ体
11 粉砕板
13 バネ部材
21 掻き上げ板
23 案内板
25 排出板
40 回収槽
A 投入側
B 排出側
D 粘土塊
D1 粘土等
D2 砂等
F 粉砕手段
H ホッパ
M モータ
P 排水管
R 噴射手段
W 水
100 土質別分離処理装置
Claims (7)
- 回転可能に取り付けられ回転駆動される回転ブラシ体と回転ブラシ体の周面に当接させた粉砕板とからなる粉砕手段に、粘土等と砂等が混在した粘土塊を含む掘削残土・汚泥を投入し、粘土塊を回転ブラシ体と粉砕板との間で粉砕し、上記粉砕手段により粉砕されたものに多孔板上で水を噴射して粘土等を強制ろ過させるようにしたことを特徴とする掘削残土・汚泥の土質別分離処理方法。
- 回転可能に取り付けられ回転駆動される回転ブラシ体と回転ブラシ体の周面に当接させた粉砕板とからなる粉砕手段と、粉砕手段により粉砕されたものに多孔板上で水を噴射して粘土等を強制ろ過させる噴射手段と、を具備したことを特徴とする掘削残土・汚泥の土質別分離処理装置。
- 回転駆動される回転多孔板と、上記回転多孔板内に配置され回転可能に取り付けられ回転駆動される回転ブラシ体と回転ブラシ体の周面に当接させた粉砕板とからなる粉砕手段と、上記回転多孔板内の粉砕手段に対応して配置され、粉砕手段によって粘土塊を粉砕して放出されたものに水を噴射して粘土等を強制ろ過させる噴射手段と、を具備したことを特徴とする掘削残土・汚泥の土質別分離処理装置。
- 上記回転多孔板は投入側から排出側に向かって前下がりに傾斜配置され、上記回転多孔板内に軸方向に複数の粉砕手段と噴射手段とを配置したことを特徴とする請求項3記載の掘削残土・汚泥の土質別分離処理装置。
- 上記回転多孔板は軸方向を略水平に配置され、回転多孔板内に投入側から排出側に向かって螺旋状に掻き上げ板が配置され、上記回転多孔板内に軸方向に複数の粉砕手段と噴射手段とを配置したことを特徴とする請求項3記載の掘削残土・汚泥の土質別分離処理装置。
- 上記粉砕手段の粉砕板は、回転ブラシ体の周面に弾性的に当接され、且つ、回転ブラシ体から後退動するようにしたことを特徴とする請求項2、3、4又は5記載の掘削残土・汚泥の土質別分離処理装置。
- 上記回転多孔板の外周面に高圧水噴射手段が配置され、孔に目詰まりした砂等を除去するようにしたことを特徴とする請求項3、4又は5記載の掘削残土・汚泥の土質別分離処理装置。
Priority Applications (1)
| Application Number | Priority Date | Filing Date | Title |
|---|---|---|---|
| JP26784798A JP4046866B2 (ja) | 1998-09-22 | 1998-09-22 | 掘削残土・汚泥の土質別分離処理方法及びその装置 |
Applications Claiming Priority (1)
| Application Number | Priority Date | Filing Date | Title |
|---|---|---|---|
| JP26784798A JP4046866B2 (ja) | 1998-09-22 | 1998-09-22 | 掘削残土・汚泥の土質別分離処理方法及びその装置 |
Publications (2)
| Publication Number | Publication Date |
|---|---|
| JP2000093895A JP2000093895A (ja) | 2000-04-04 |
| JP4046866B2 true JP4046866B2 (ja) | 2008-02-13 |
Family
ID=17450464
Family Applications (1)
| Application Number | Title | Priority Date | Filing Date |
|---|---|---|---|
| JP26784798A Expired - Fee Related JP4046866B2 (ja) | 1998-09-22 | 1998-09-22 | 掘削残土・汚泥の土質別分離処理方法及びその装置 |
Country Status (1)
| Country | Link |
|---|---|
| JP (1) | JP4046866B2 (ja) |
Cited By (1)
| Publication number | Priority date | Publication date | Assignee | Title |
|---|---|---|---|---|
| KR100923325B1 (ko) * | 2009-02-13 | 2009-10-22 | 동부이엔티 주식회사 | 건설폐기물 중간처리 시설의 순환골재용 입형 개선 및 이물질 제거장치 |
Families Citing this family (9)
| Publication number | Priority date | Publication date | Assignee | Title |
|---|---|---|---|---|
| JP2007239378A (ja) * | 2006-03-10 | 2007-09-20 | Kotoo:Kk | 掘削残土による管埋め戻し工法 |
| KR101218055B1 (ko) * | 2010-05-26 | 2013-01-03 | 신영구 | 점토화된 굴착토사에서 점토덩어리를 분리하는 장치 |
| KR102560950B1 (ko) * | 2016-03-17 | 2023-07-27 | 고등기술연구원연구조합 | 폐유리 재활용을 위한 필름-유리 회수 플랜트의 회수물 세척-건조기 |
| WO2018134983A1 (ja) * | 2017-01-20 | 2018-07-26 | 環テックス株式会社 | 篩処理装置 |
| CN107234063A (zh) * | 2017-06-13 | 2017-10-10 | 新乡市东振机械制造有限公司 | 一种振动筛清理装置 |
| CN108499840B (zh) * | 2018-04-04 | 2021-04-02 | 浙江智卓工业机器人有限公司 | 一种带有辅助清洗装置的砂石分离器 |
| CN109092661B (zh) * | 2018-08-10 | 2021-09-21 | 孙江花 | 一种建筑用筛筒式筛沙装置 |
| KR101964939B1 (ko) * | 2018-10-01 | 2019-04-02 | 동부이엔티 주식회사 | 입형개선 및 입도조절용 개량형 트롬멜 |
| CN120139312B (zh) * | 2025-05-16 | 2025-07-18 | 中港疏浚有限公司 | 海港建筑水下开挖施工装置及方法 |
-
1998
- 1998-09-22 JP JP26784798A patent/JP4046866B2/ja not_active Expired - Fee Related
Cited By (1)
| Publication number | Priority date | Publication date | Assignee | Title |
|---|---|---|---|---|
| KR100923325B1 (ko) * | 2009-02-13 | 2009-10-22 | 동부이엔티 주식회사 | 건설폐기물 중간처리 시설의 순환골재용 입형 개선 및 이물질 제거장치 |
Also Published As
| Publication number | Publication date |
|---|---|
| JP2000093895A (ja) | 2000-04-04 |
Similar Documents
| Publication | Publication Date | Title |
|---|---|---|
| KR102073421B1 (ko) | 풍력을 이용한 골재의 이물질 분리 장치 및 그 방법 | |
| JP4003923B2 (ja) | 廃プラスチックの分別処理装置とその分別処理方法 | |
| JP4046866B2 (ja) | 掘削残土・汚泥の土質別分離処理方法及びその装置 | |
| KR20020090354A (ko) | 건설 폐기물을 이용한 재생 세 골재 제조방법 및 장치 | |
| US20150000715A1 (en) | Rotary drum washer for street sweeping waste and contaminated soil | |
| KR101711623B1 (ko) | 오염토양 정화 시스템 및 이를 이용하는 오염토양 정화방법 | |
| KR20020042569A (ko) | 폐 콘크리트를 이용한 재생 골재 제조방법 및 장치 | |
| CN104619463A (zh) | 粒状物质的磨碎装置和粒状物质的生产设备 | |
| JP6396075B2 (ja) | 汚染土壌の湿式分級洗浄方法及び装置 | |
| PL105545B1 (pl) | Sposob ciaglej obrobki odpadow drzewnych,zwlaszcza karczow i karp,w celu uzdatniania ich do wytwarzania pulpy papierniczej,oraz urzadzenie do ciaglej obrobki odpadow drzewnych,zwlaszcza karczow i karp,w celu uzdatniania ich do wytwarzania pulpy papierniczej | |
| JP3805321B2 (ja) | 分級装置 | |
| JP2012091092A (ja) | 解泥機 | |
| KR100434799B1 (ko) | 건설 폐기물의 재활용을 통한 재생 모래의 제조 방법 및그 장치 | |
| JP3975290B2 (ja) | 堀削残土・汚泥の分離処理方法及びその装置 | |
| KR100506369B1 (ko) | 건설폐기물의 파/분쇄및 선별장치 | |
| JP3823849B2 (ja) | 油汚染土壌洗浄設備 | |
| KR200298430Y1 (ko) | 폐 콘크리트를 이용한 재생 골재 제조방법 및 장치 | |
| KR102134251B1 (ko) | 오염토 세척 정화 시스템 | |
| KR101582447B1 (ko) | 폐 콘크리트의 골재 재생장치 | |
| KR20050051428A (ko) | 건설폐기물인 폐 콘크리트를 이용한 모래 재생방법 및재생장치 | |
| KR20050091123A (ko) | 재생골재 제조장치의 골재 세척장치 | |
| KR200311094Y1 (ko) | 건설 폐기물을 이용한 재생 세 골재 제조장치 | |
| JP2006095401A (ja) | し渣処理装置 | |
| KR20060045128A (ko) | 콘크리트 제조에 적합한 골재의 선별 및 세척장치와 이에의한 골재 채취 방법 | |
| CN116441295B (zh) | 一种重金属污染土壤修复装置 |
Legal Events
| Date | Code | Title | Description |
|---|---|---|---|
| A621 | Written request for application examination |
Free format text: JAPANESE INTERMEDIATE CODE: A621 Effective date: 20050408 |
|
| A977 | Report on retrieval |
Free format text: JAPANESE INTERMEDIATE CODE: A971007 Effective date: 20070216 |
|
| A131 | Notification of reasons for refusal |
Free format text: JAPANESE INTERMEDIATE CODE: A131 Effective date: 20070220 |
|
| A521 | Written amendment |
Free format text: JAPANESE INTERMEDIATE CODE: A523 Effective date: 20070417 |
|
| TRDD | Decision of grant or rejection written | ||
| A01 | Written decision to grant a patent or to grant a registration (utility model) |
Free format text: JAPANESE INTERMEDIATE CODE: A01 Effective date: 20071102 |
|
| A61 | First payment of annual fees (during grant procedure) |
Free format text: JAPANESE INTERMEDIATE CODE: A61 Effective date: 20071121 |
|
| FPAY | Renewal fee payment (event date is renewal date of database) |
Free format text: PAYMENT UNTIL: 20101130 Year of fee payment: 3 |
|
| R150 | Certificate of patent or registration of utility model |
Free format text: JAPANESE INTERMEDIATE CODE: R150 |
|
| FPAY | Renewal fee payment (event date is renewal date of database) |
Free format text: PAYMENT UNTIL: 20111130 Year of fee payment: 4 |
|
| FPAY | Renewal fee payment (event date is renewal date of database) |
Free format text: PAYMENT UNTIL: 20111130 Year of fee payment: 4 |
|
| FPAY | Renewal fee payment (event date is renewal date of database) |
Free format text: PAYMENT UNTIL: 20121130 Year of fee payment: 5 |
|
| FPAY | Renewal fee payment (event date is renewal date of database) |
Free format text: PAYMENT UNTIL: 20131130 Year of fee payment: 6 |
|
| R250 | Receipt of annual fees |
Free format text: JAPANESE INTERMEDIATE CODE: R250 |
|
| R250 | Receipt of annual fees |
Free format text: JAPANESE INTERMEDIATE CODE: R250 |
|
| LAPS | Cancellation because of no payment of annual fees |