JP4046854B2 - ピン付きプリント配線板の製造方法 - Google Patents
ピン付きプリント配線板の製造方法 Download PDFInfo
- Publication number
- JP4046854B2 JP4046854B2 JP18220698A JP18220698A JP4046854B2 JP 4046854 B2 JP4046854 B2 JP 4046854B2 JP 18220698 A JP18220698 A JP 18220698A JP 18220698 A JP18220698 A JP 18220698A JP 4046854 B2 JP4046854 B2 JP 4046854B2
- Authority
- JP
- Japan
- Prior art keywords
- wiring board
- printed wiring
- reinforcing plate
- glass epoxy
- pins
- Prior art date
- Legal status (The legal status is an assumption and is not a legal conclusion. Google has not performed a legal analysis and makes no representation as to the accuracy of the status listed.)
- Expired - Fee Related
Links
- 238000004519 manufacturing process Methods 0.000 title claims description 18
- 238000000034 method Methods 0.000 title claims description 9
- 239000002184 metal Substances 0.000 claims description 37
- 229910052751 metal Inorganic materials 0.000 claims description 37
- 230000003014 reinforcing effect Effects 0.000 claims description 32
- 239000011521 glass Substances 0.000 claims description 22
- 239000000758 substrate Substances 0.000 claims description 21
- 239000004593 Epoxy Substances 0.000 claims description 20
- 239000000853 adhesive Substances 0.000 claims description 19
- 230000001070 adhesive effect Effects 0.000 claims description 18
- 229910000679 solder Inorganic materials 0.000 claims description 10
- 238000005476 soldering Methods 0.000 claims description 9
- 230000035515 penetration Effects 0.000 claims 1
- 229920005989 resin Polymers 0.000 description 6
- 239000011347 resin Substances 0.000 description 6
- 239000003822 epoxy resin Substances 0.000 description 4
- 229920000647 polyepoxide Polymers 0.000 description 4
- 230000002787 reinforcement Effects 0.000 description 4
- 238000012790 confirmation Methods 0.000 description 3
- 239000010410 layer Substances 0.000 description 3
- 239000000463 material Substances 0.000 description 3
- RTZKZFJDLAIYFH-UHFFFAOYSA-N Diethyl ether Chemical compound CCOCC RTZKZFJDLAIYFH-UHFFFAOYSA-N 0.000 description 2
- 239000000805 composite resin Substances 0.000 description 2
- 238000010586 diagram Methods 0.000 description 2
- 239000004744 fabric Substances 0.000 description 2
- 238000003780 insertion Methods 0.000 description 2
- 230000037431 insertion Effects 0.000 description 2
- 238000004806 packaging method and process Methods 0.000 description 2
- 238000012545 processing Methods 0.000 description 2
- RYGMFSIKBFXOCR-UHFFFAOYSA-N Copper Chemical compound [Cu] RYGMFSIKBFXOCR-UHFFFAOYSA-N 0.000 description 1
- 241000587161 Gomphocarpus Species 0.000 description 1
- 239000004020 conductor Substances 0.000 description 1
- 229910052802 copper Inorganic materials 0.000 description 1
- 239000010949 copper Substances 0.000 description 1
- 230000000694 effects Effects 0.000 description 1
- 230000005496 eutectics Effects 0.000 description 1
- 239000011229 interlayer Substances 0.000 description 1
- 238000003475 lamination Methods 0.000 description 1
- 238000002844 melting Methods 0.000 description 1
- 230000008018 melting Effects 0.000 description 1
- 238000012986 modification Methods 0.000 description 1
- 230000004048 modification Effects 0.000 description 1
- 229920001721 polyimide Polymers 0.000 description 1
- 239000009719 polyimide resin Substances 0.000 description 1
- 238000003825 pressing Methods 0.000 description 1
- 239000004065 semiconductor Substances 0.000 description 1
- 229920002050 silicone resin Polymers 0.000 description 1
- 229920005992 thermoplastic resin Polymers 0.000 description 1
- 229920001187 thermosetting polymer Polymers 0.000 description 1
Images
Landscapes
- Lead Frames For Integrated Circuits (AREA)
- Production Of Multi-Layered Print Wiring Board (AREA)
Description
【発明の属する技術分野】
この発明は、半導体パッケージ、マルチチップモジュール等に使用することができる、PGAタイプのピン付きプリント配線板の製造方法に関するものである。
【0002】
【従来の技術】
従来、ガラスエポキシ基板等を使用した有機質プリント配線板では、導体層間をスルーホールによって接続していたため、このスルーホールを利用してピンを設けたいわゆるPGA(Pin Grid Array)タイプのものが主流であった。
【0003】
このスルーホール挿入タイプのピンを使用したピン付き配線板は、専用のコネクタを使用して実装する形態を取るため、実装を確実に行うことができ、配線板に装着する部品が故障した場合やグレードアップを行う場合に部品交換を行う際の作業が容易になるという利点がある。しかし、配線板にピンを挿入するためのスルーホールを設けるスペースが必要となり、高密度化や小型化が困難であるという問題点を有している。
【0004】
この高密度化や小型化が困難であるという、スルーホール挿入タイプのピン付き配線板の問題点を解決するため、スルーホールを使用しない層間接続方法として、インターステシャルバイアホール(IVH)構造が開発されるようになった。このIVH構造では、スルーホールがないことおよび実装面積をさらに縮小できるというメリットから、BGA(Ball Grid Array )タイプによる実装方式が採用されている。
【0005】
【発明が解決しようとする課題】
しかしながら、このようなIVH構造の配線板を使用したBGAタイプのピン付き配線板では、ボールとマザーボードとを接続する際に高度な実装技術が要求される他、ボールとマザーボードとの接続状態の確認が困難であるため汎用性に欠けるという問題点や、アップグレード時等の部品交換作業が困難であるという問題点を有している。
【0006】
本発明は、マザーボード等との接続および接続状態の確認を極めて簡単に行うことができ、かつアップグレード時等の部品交換作業が容易な、汎用性の高いPGAタイプのピン付きプリント配線板の製造方法を安価に提供することを目的とする。
【0007】
【課題を解決するための手段】
この目的のため、本発明の請求項1に係るピン付きプリント配線板の製造方法は、まず、PGAタイプのプリント配線板として用いる耐熱ガラスエポキシ製基板の接合面に形成されたパッドに、外部接続端子用の金属ピンをハンダ付けし、次に、前記耐熱ガラスエポキシ製基板の接合面および個々の外部接続端子用の金属ピンに対応して前記接合面側が広くなるように段付き加工されてなる貫通孔が形成された補強板の該貫通孔が形成された面の少なくとも一方に接着剤を塗布し、その後、前記金属ピンを前記貫通孔に貫通させながら前記補強板を前記耐熱ガラスエポキシ製基板の接合面に当接させて、前記補強板を前記耐熱ガラスエポキシ製基板の接合面に接着させるとともに前記貫通孔にも前記接着剤を充填することを特徴とする。
【0008】
上記目的のため、本発明の請求項2に係るピン付きプリント配線板の製造方法は、まず、接合面に外部接続端子用の金属ピンをハンダ付けするためのパッドが設けられたPGAタイプのプリント配線板として用いる耐熱ガラスエポキシ製基板を用意し、次に、個々の外部接続端子用の金属ピンに対応して前記接合面側が広くなるように段付き加工されてなる貫通孔が形成された補強板の、前記貫通孔に挿入した前記金属ピンおよび前記パッドの接合部となる部分にハンダを存在させておき、次に、前記耐熱ガラスエポキシ製基板の接合面および前記補強板の前記貫通孔が形成された面の少なくとも一方に接着剤を塗布し、次に、前記補強板の前記貫通孔が形成された面を前記耐熱ガラスエポキシ製基板の接合面に当接させて、前記補強板を前記耐熱ガラスエポキシ製基板の接合面に接着させ、その後、前記金属ピンおよび前記パッドの接合部となる部分に存在させたハンダを溶融させて前記金属ピンおよび前記パッドをハンダ付けすることを特徴とする。
【0009】
本発明の請求項1に係るピン付きプリント配線板の製造方法により製造されたピン付きプリント配線板は、マザーボード等との接続および接続状態の確認ならびにアップグレード時等の部品交換作業を極めて簡単に行うことができる汎用性の高いピン付きプリント配線板となり、しかも、PGAタイプを採用した簡単な構造であるので、安価に提供することができる。
【0010】
本発明の請求項2に係るピン付きプリント配線板の製造方法により製造されたピン付きプリント配線板は、マザーボード等との接続および接続状態の確認ならびにアップグレード時等の部品交換作業を極めて簡単に行うことができる汎用性の高いピン付きプリント配線板となり、しかも、PGAタイプを採用した簡単な構造であるので、安価に提供することができる。
【0013】
【発明の実施の形態】
以下、本発明の実施の形態を図面に基づき詳細に説明する。
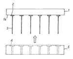
図1は本発明の第1実施形態に係るピン付きプリント配線板の構成を示す図である。図中1はプリント配線板であり、このプリント配線板1はその上面にLSI、チップ部品等を搭載して使用する。
【0014】
上記プリント配線板1としては、スルーホールが形成されていないIVH構造の有機質多層プリント配線板を用いる。このIVH構造の有機質多層プリント配線板としては、例えば、ビルトアップ構造の多層配線板、片面回路板積層方式の多層配線板(本願出願人により出願済み)、B2it 方式新高密度プリント配線板(国際実装学会誌 Vol.11 No.7 NOV.1996 P475-478を参照のこと)、全層IVH新樹脂多層配線板(国際実装学会誌 Vol.11 No.7 NOV.1996 P485-486を参照のこと)の何れかを用いることができる。
【0015】
本実施形態では、上記プリント配線板1としてビルトアップ構造の多層配線板を用いるものとし、このプリント配線板1は、一括プレスにより例えば6層構造に積層する。このプリント配線板1は、例えば、面積が35×35mmで、厚さが0.4〜0.6mmに構成するものとする。
【0016】
上記プリント配線板1として用いるビルトアップ構造の多層配線板には、ガラス布基材エポキシ樹脂製基板(以下、ガラスエポキシ製基板という)、ガラス布基材BT(ビスマレイミドートリアジン)樹脂製基板等を用いることができる。このプリント配線板1の材質は、後述する補強板と同一にするのが、熱膨張差を回避する構成とする上で好ましい。本実施形態では、上記プリント配線板1として耐熱ガラスエポキシ製基板を用いるものとする。
【0017】
上記プリント配線板1の下面には、外部接続端子用の金属ピンをハンダ付けするためのパッド2が多数形成されており、各パッド2には、外部接続端子用の金属ピン3がそれぞれハンダ付けにより接合されている。この場合、上記プリント配線板1の下面は金属ピン3の接合面1aとなる。上記パッド2としては、電気接点を構成することができる銅等の導電性金属を用いるものとする。また、上記金属ピン3としては、例えばネールヘッドピンを用いるものとする。また、上記ハンダ付けは、共晶ハンダ、高温ハンダ等を用いるものとする。
【0018】
上記プリント配線板1の金属ピン3の接合面1aにはさらに、金属ピン3に対応する複数の貫通孔4が形成された補強板5が接着剤7により接合されており、上記プリント配線板1の下面は補強板5の接合面1aともなる。上記貫通孔4は、接合面1a側が広くなるように段付き加工されており、この段付き加工は例えば2重ドリルまたはレーザ加工により行うものとする。なお、上記接着剤7は有機系接着剤からなることが望ましく、有機系接着剤としては、エポキシ樹脂、ポリイミド樹脂、熱硬化型ポリフェノレンエーテル(PPE:Polyphenylen ether)、エポキシ樹脂と熱可塑性樹脂との複合樹脂、エポキシ樹脂とシリコーン樹脂との複合樹脂、BTレジンから選ばれる少なくとも1種の樹脂であることが望ましい。
【0019】
上記補強板5としては、樹脂材料製の板を用いることができ、上述したように熱膨張差を回避する構成とするため、上記プリント配線板1と同一の材質である耐熱ガラスエポキシ製の積層板とするのが好ましい。なお、上記プリント配線板1および補強板5を共にFR−5製の積層板としてもよい。また、この補強板5は、上記プリント配線板1と同等以下の面積で、厚さが0.8mmに構成するものとする。なお、図1に示すように、補強板5を接合した状態で、上記金属ピン3が所定長さだけ補強板5から突出するように上記金属ピン3の長さを決定しておくものとする。
【0020】
本実施形態のピン付きプリント配線板は、図1に示すように構成されるが、このピン付きプリント配線板を製造する方法には以下に説明する2通りの製造方法がある。
【0021】
図2は本実施形態のピン付きプリント配線板の第1の製造方法を説明するための図であり、図1と同一の部分には同一符号を付けて説明を省略する。
第1の製造方法では、まず、プリント配線板1の下面1aに形成されたパッド2上に外部接続端子用の金属ピン3をハンダ付けにより接合しておく。次に、プリント配線板1の下面1aおよび補強板5の上面の少なくとも一方に接着剤を塗布しておく。なお、接着剤を塗布する代わりに、接着シートまたはプリプレグを用いてもよい。
【0022】
次に、個々の外部接続端子用の金属ピン3に対応して貫通孔4が形成された補強板5を図示矢印のように金属ピン3の下方から持ち上げて金属ピン3を貫通孔4に貫通させ、プリント配線板1の下面1aおよび補強板5の上面を当接させる。これにより、プリント配線板1の接合面1aに補強板5が接着されることになり、貫通孔内にも接着剤が充填され、図1に示す状態となる。
【0023】
図3は本実施形態のピン付きプリント配線板の第2の製造方法を説明するための図であり、図1と同一の部分には同一符号を付けて説明を省略する。
第2の製造方法では、まず、外部接続端子用の金属ピン3をハンダ付けするためのパッド2が設けられたプリント配線板1は金属ピン3をハンダ付けしないままにしておき、また、個々の外部接続端子用の金属ピン3に対応して貫通孔4が形成された補強板5は金属ピン3およびパッド2の接合部となる部分(すなわち金属ピン3の上面)にハンダ8を存在させた状態としておく。次に、プリント配線板1の下面1aおよび補強板5の上面の少なくとも一方に接着剤を塗布しておく。なお、接着剤を塗布する代わりに、接着シートまたはプリプレグを用いてもよい。
【0024】
次に、補強板5を図示矢印のように下方から持ち上げてプリント配線板1の下面1aおよび補強板5の上面を当接させる。これにより、プリント配線板1の接合面1aに補強板5が接着されることになる。その後、前記接合部のハンダ8を溶融させて、金属ピン3およびパッド2をハンダ付けする。これにより、プリント配線板1の接合面1aに金属ピン3がハンダ付けされることになり、図1に示す状態となる。
【0025】
上記第1または第2の製造方法により製造された本実施形態のピン付きプリント配線板は、マザーボード等との接続および接続状態の確認ならびにアップグレード時等の部品交換作業を極めて簡単に行うことができる汎用性の高いピン付きプリント配線板となり、しかも、PGAタイプを採用した簡単な構造であるので、安価に提供することができる。
【0026】
なお、上記実施形態では補強板5の貫通孔4を段付き形状としたが、代わりに図4に示すように段を付けない貫通孔6とすることにより、さらなるコストダウンを図るようにしてもよい。この場合、プリント配線板1の接合面1aに補強板5を接着する際に金属ピン3の頭部の厚さに相当する段差が生じることになるが、その段差は接着剤7により埋まることになるため、図1に示す状態と実質的に同一となる。
【0027】
【発明の効果】
以上説明したように本発明よれば、マザーボード等との接続および接続状態の確認を極めて簡単に行うことができ、かつアップグレード時等の部品交換作業が容易な、汎用性の高い、PGAタイプのピン付きプリント配線板の製造方法を安価に提供することができる。
【図面の簡単な説明】
【図1】本発明の第1実施形態に係るピン付きプリント配線板の構成を示す図である。
【図2】第1実施形態のピン付きプリント配線板の第1の製造方法を説明するための図である。
【図3】第1実施形態のピン付きプリント配線板の第2の製造方法を説明するための図である。
【図4】第1実施形態の補強板の貫通孔の変形例を示す図である。
【符号の説明】
1 プリント配線板
1a 下面(接合面)
2 パッド
3 金属ピン
4,6 貫通孔
5 補強板
7 接着剤
8 ハンダ
Claims (2)
- まず、PGAタイプのプリント配線板として用いる耐熱ガラスエポキシ製基板の接合面に形成されたパッドに、外部接続端子用の金属ピンをハンダ付けし、次に、前記耐熱ガラスエポキシ製基板の接合面および個々の外部接続端子用の金属ピンに対応して前記接合面側が広くなるように段付き加工されてなる貫通孔が形成された補強板の該貫通孔が形成された面の少なくとも一方に接着剤を塗布し、その後、前記金属ピンを前記貫通孔に貫通させながら前記補強板を前記耐熱ガラスエポキシ製基板の接合面に当接させて、前記補強板を前記耐熱ガラスエポキシ製基板の接合面に接着させるとともに前記貫通孔にも前記接着剤を充填することを特徴とするピン付きプリント配線板の製造方法。
- まず、接合面に外部接続端子用の金属ピンをハンダ付けするためのパッドが設けられたPGAタイプのプリント配線板として用いる耐熱ガラスエポキシ製基板を用意し、次に、個々の外部接続端子用の金属ピンに対応して前記接合面側が広くなるように段付き加工されてなる貫通孔が形成された補強板の、前記貫通孔に挿入した前記金属ピンおよび前記パッドの接合部となる部分にハンダを存在させておき、次に、前記耐熱ガラスエポキシ製基板の接合面および前記補強板の前記貫通孔が形成された面の少なくとも一方に接着剤を塗布し、次に、前記補強板の前記貫通孔が形成された面を前記耐熱ガラスエポキシ製基板の接合面に当接させて、前記補強板を前記耐熱ガラスエポキシ製基板の接合面に接着させ、その後、前記金属ピンおよび前記パッドの接合部となる部分に存在させたハンダを溶融させて前記金属ピンおよび前記パッドをハンダ付けすることを特徴とするピン付きプリント配線板の製造方法。
Priority Applications (1)
| Application Number | Priority Date | Filing Date | Title |
|---|---|---|---|
| JP18220698A JP4046854B2 (ja) | 1998-06-29 | 1998-06-29 | ピン付きプリント配線板の製造方法 |
Applications Claiming Priority (1)
| Application Number | Priority Date | Filing Date | Title |
|---|---|---|---|
| JP18220698A JP4046854B2 (ja) | 1998-06-29 | 1998-06-29 | ピン付きプリント配線板の製造方法 |
Publications (2)
| Publication Number | Publication Date |
|---|---|
| JP2000022019A JP2000022019A (ja) | 2000-01-21 |
| JP4046854B2 true JP4046854B2 (ja) | 2008-02-13 |
Family
ID=16114218
Family Applications (1)
| Application Number | Title | Priority Date | Filing Date |
|---|---|---|---|
| JP18220698A Expired - Fee Related JP4046854B2 (ja) | 1998-06-29 | 1998-06-29 | ピン付きプリント配線板の製造方法 |
Country Status (1)
| Country | Link |
|---|---|
| JP (1) | JP4046854B2 (ja) |
Families Citing this family (6)
| Publication number | Priority date | Publication date | Assignee | Title |
|---|---|---|---|---|
| JP5175489B2 (ja) * | 2007-04-27 | 2013-04-03 | 新光電気工業株式会社 | 半導体パッケージの製造方法 |
| JP4993754B2 (ja) * | 2008-02-22 | 2012-08-08 | 新光電気工業株式会社 | Pga型配線基板及びその製造方法 |
| JP5356876B2 (ja) * | 2008-03-28 | 2013-12-04 | 日本特殊陶業株式会社 | 多層配線基板及びその製造方法 |
| JP5340622B2 (ja) * | 2008-03-28 | 2013-11-13 | 日本特殊陶業株式会社 | 多層配線基板 |
| JP5887901B2 (ja) | 2011-12-14 | 2016-03-16 | 富士電機株式会社 | 半導体装置及び半導体装置の製造方法 |
| US9786587B2 (en) | 2011-12-14 | 2017-10-10 | Fuji Electric Co., Ltd. | Semiconductor device and method for manufacturing the semiconductor device |
-
1998
- 1998-06-29 JP JP18220698A patent/JP4046854B2/ja not_active Expired - Fee Related
Also Published As
| Publication number | Publication date |
|---|---|
| JP2000022019A (ja) | 2000-01-21 |
Similar Documents
| Publication | Publication Date | Title |
|---|---|---|
| US5831828A (en) | Flexible circuit board and common heat spreader assembly | |
| US8238109B2 (en) | Flex-rigid wiring board and electronic device | |
| JP3429734B2 (ja) | 配線基板、多層配線基板、回路部品実装体及び、配線基板の製造方法 | |
| KR100996914B1 (ko) | 칩 내장 인쇄회로기판 및 그 제조방법 | |
| US20090242262A1 (en) | Multi-layer wiring board and method of manufacturing the same | |
| US20100051326A1 (en) | Flex-rigid wiring board and electronic device | |
| JPH1174651A (ja) | プリント配線板及びその製造方法 | |
| JPH06295962A (ja) | 電子部品搭載用基板およびその製造方法並びに電子部品搭載装置 | |
| EP1916885B1 (en) | Printed circuit board and electronic component device | |
| JP2005191156A (ja) | 電気部品内蔵配線板およびその製造方法 | |
| JP6903654B2 (ja) | 多層配線板の製造方法 | |
| JP2004200201A (ja) | 電子部品内蔵型多層基板 | |
| JPH06120670A (ja) | 多層配線基板 | |
| JP4028749B2 (ja) | 配線基板 | |
| JP2000332057A (ja) | 配線基板及び電子部品を搭載した配線基板の製造方法 | |
| JP2001119147A (ja) | 電子部品内蔵多層基板及びその製造方法 | |
| US20100032194A1 (en) | Printed wiring board, manufacturing method for printed wiring board and electronic device | |
| JP4694007B2 (ja) | 三次元実装パッケージの製造方法 | |
| JP4046854B2 (ja) | ピン付きプリント配線板の製造方法 | |
| US20020189091A1 (en) | Method of making printed circuit board | |
| JPH06120671A (ja) | 部品埋め込み多層配線基板 | |
| JP2549393B2 (ja) | 回路基板の製造方法 | |
| JPH1041631A (ja) | チップ埋め込み構造高密度実装基板の製造方法 | |
| KR100895241B1 (ko) | 패키지용 기판 제조방법 | |
| JP2002246745A (ja) | 三次元実装パッケージ及びその製造方法、三次元実装パッケージ製造用接着材 |
Legal Events
| Date | Code | Title | Description |
|---|---|---|---|
| A621 | Written request for application examination |
Free format text: JAPANESE INTERMEDIATE CODE: A621 Effective date: 20050525 |
|
| RD04 | Notification of resignation of power of attorney |
Free format text: JAPANESE INTERMEDIATE CODE: A7424 Effective date: 20060718 |
|
| A977 | Report on retrieval |
Free format text: JAPANESE INTERMEDIATE CODE: A971007 Effective date: 20070122 |
|
| A131 | Notification of reasons for refusal |
Free format text: JAPANESE INTERMEDIATE CODE: A131 Effective date: 20070130 |
|
| A521 | Written amendment |
Free format text: JAPANESE INTERMEDIATE CODE: A523 Effective date: 20070330 |
|
| RD03 | Notification of appointment of power of attorney |
Free format text: JAPANESE INTERMEDIATE CODE: A7423 Effective date: 20070330 |
|
| A131 | Notification of reasons for refusal |
Free format text: JAPANESE INTERMEDIATE CODE: A131 Effective date: 20070807 |
|
| A521 | Written amendment |
Free format text: JAPANESE INTERMEDIATE CODE: A523 Effective date: 20071003 |
|
| TRDD | Decision of grant or rejection written | ||
| A01 | Written decision to grant a patent or to grant a registration (utility model) |
Free format text: JAPANESE INTERMEDIATE CODE: A01 Effective date: 20071030 |
|
| A61 | First payment of annual fees (during grant procedure) |
Free format text: JAPANESE INTERMEDIATE CODE: A61 Effective date: 20071121 |
|
| FPAY | Renewal fee payment (event date is renewal date of database) |
Free format text: PAYMENT UNTIL: 20101130 Year of fee payment: 3 |
|
| R150 | Certificate of patent or registration of utility model |
Free format text: JAPANESE INTERMEDIATE CODE: R150 |
|
| FPAY | Renewal fee payment (event date is renewal date of database) |
Free format text: PAYMENT UNTIL: 20101130 Year of fee payment: 3 |
|
| FPAY | Renewal fee payment (event date is renewal date of database) |
Free format text: PAYMENT UNTIL: 20111130 Year of fee payment: 4 |
|
| FPAY | Renewal fee payment (event date is renewal date of database) |
Free format text: PAYMENT UNTIL: 20111130 Year of fee payment: 4 |
|
| FPAY | Renewal fee payment (event date is renewal date of database) |
Free format text: PAYMENT UNTIL: 20121130 Year of fee payment: 5 |
|
| FPAY | Renewal fee payment (event date is renewal date of database) |
Free format text: PAYMENT UNTIL: 20131130 Year of fee payment: 6 |
|
| LAPS | Cancellation because of no payment of annual fees |