JP4040734B2 - 異方導電性接着剤およびこれを用いた電子部品の実装方法 - Google Patents

異方導電性接着剤およびこれを用いた電子部品の実装方法 Download PDF

Info

Publication number
JP4040734B2
JP4040734B2 JP103698A JP103698A JP4040734B2 JP 4040734 B2 JP4040734 B2 JP 4040734B2 JP 103698 A JP103698 A JP 103698A JP 103698 A JP103698 A JP 103698A JP 4040734 B2 JP4040734 B2 JP 4040734B2
Authority
JP
Japan
Prior art keywords
shape
resin particles
anisotropic conductive
adhesive
conductive adhesive
Prior art date
Legal status (The legal status is an assumption and is not a legal conclusion. Google has not performed a legal analysis and makes no representation as to the accuracy of the status listed.)
Expired - Fee Related
Application number
JP103698A
Other languages
English (en)
Other versions
JPH11199843A (ja
Inventor
憲一郎 末次
Current Assignee (The listed assignees may be inaccurate. Google has not performed a legal analysis and makes no representation or warranty as to the accuracy of the list.)
Panasonic Corp
Panasonic Holdings Corp
Original Assignee
Panasonic Corp
Matsushita Electric Industrial Co Ltd
Priority date (The priority date is an assumption and is not a legal conclusion. Google has not performed a legal analysis and makes no representation as to the accuracy of the date listed.)
Filing date
Publication date
Application filed by Panasonic Corp, Matsushita Electric Industrial Co Ltd filed Critical Panasonic Corp
Priority to JP103698A priority Critical patent/JP4040734B2/ja
Publication of JPH11199843A publication Critical patent/JPH11199843A/ja
Application granted granted Critical
Publication of JP4040734B2 publication Critical patent/JP4040734B2/ja
Anticipated expiration legal-status Critical
Expired - Fee Related legal-status Critical Current

Links

Images

Classifications

    • HELECTRICITY
    • H01ELECTRIC ELEMENTS
    • H01LSEMICONDUCTOR DEVICES NOT COVERED BY CLASS H10
    • H01L2224/00Indexing scheme for arrangements for connecting or disconnecting semiconductor or solid-state bodies and methods related thereto as covered by H01L24/00
    • H01L2224/01Means for bonding being attached to, or being formed on, the surface to be connected, e.g. chip-to-package, die-attach, "first-level" interconnects; Manufacturing methods related thereto
    • H01L2224/26Layer connectors, e.g. plate connectors, solder or adhesive layers; Manufacturing methods related thereto
    • H01L2224/28Structure, shape, material or disposition of the layer connectors prior to the connecting process
    • H01L2224/29Structure, shape, material or disposition of the layer connectors prior to the connecting process of an individual layer connector
    • H01L2224/29001Core members of the layer connector
    • H01L2224/29099Material
    • H01L2224/29198Material with a principal constituent of the material being a combination of two or more materials in the form of a matrix with a filler, i.e. being a hybrid material, e.g. segmented structures, foams
    • H01L2224/29298Fillers
    • H01L2224/29499Shape or distribution of the fillers
    • HELECTRICITY
    • H01ELECTRIC ELEMENTS
    • H01LSEMICONDUCTOR DEVICES NOT COVERED BY CLASS H10
    • H01L2924/00Indexing scheme for arrangements or methods for connecting or disconnecting semiconductor or solid-state bodies as covered by H01L24/00
    • H01L2924/01Chemical elements
    • H01L2924/01079Gold [Au]

Landscapes

  • Adhesives Or Adhesive Processes (AREA)
  • Electric Connection Of Electric Components To Printed Circuits (AREA)
  • Wire Bonding (AREA)
  • Die Bonding (AREA)

Description

【0001】
【発明の属する技術分野】
本発明は、コンデンサや半導体チップ等の電子部品を回路基板上に電気的接続をもって実装するときに用いる異方導電性接着剤と、これを用いて電子部品を実装する方法に関するものである。
【0002】
【従来の技術】
近年、回路基板に実装する電子部品の多様化に伴い、電子部品の極小化や、回路基板の電極の微細化が進んでいる。
従来、電子部品を回路基板上に電気的接続をもって実装する場合、熱硬化性の絶縁性接着剤中に導電性フィラーを分散させた異方導電性接着剤や、これをシート状に成形したものが用いられている。
【0003】
このような接着剤を用いて、電子部品、例えばベアICを回路基板上に実装するには、ベアICの電極パッド上にバンプ電極を設け、このバンプ電極と回路基板の電極との間に前記異方導電性接着剤を設置した後、前記両者を相互に機械的に加圧することにより、ベアICのバンプ電極と回路基板の電極が接着剤中に分散されていた導電性フィラーによって電気的に接続されるように接近させ、次いで絶縁性接着剤を硬化させる方法がとられている。導電性フィラーには、活性炭素繊維などが用いられている。
また、シート状のものよりも液状のものの方が、様々の形状の基板や種々の電子部品に自由に塗布することができるので使い勝手が良く、広範囲に用いられている。
【0004】
【発明が解決しようとする課題】
しかし、従来の異方導電性接着剤では、絶縁性接着剤中に分散されている導電性フィラーの粒径が極めて小さく、また、機械的な加圧を広い面積で均一におこなうことは技術的に難しいため、種々の問題が生じていた。
まず第1に、接合条件の設定が難しく、再現性がよくなかった。よって、回路基板上に多くの電子部品をすべて良好な電気的接続状態で実装することは困難であった。
第2に、電気的な接続を完全なものにするためには、機械的な加圧の荷重を大きくしなければならず、そうすると基板に歪みが生じたり、電子部品に破損等が生じたりする不都合があった。
【0005】
第3に、従来導電性フィラーとして用いてきた活性炭素繊維は、多孔質なものであるため、吸水性が高く、その結果、電子部品と回路基板の電気的な接続を不安定なものにしていた。
第4に、導電性フィラーは、絶縁性接着剤中で沈降しやすいため、これを絶縁性接着剤中に均一に分散させて使用することは難しかった。
本発明は上記課題に鑑み、様々な回路基板に種々の電子部品を電気的に良好な接続状態で安定に実装することができる異方導電性接着剤と、この接着剤を用いて電子部品を実装する方法を提供することを目的とする。
【0006】
【課題を解決するための手段】
本発明による異方導電性接着剤は、表面に導電性被膜を有する偏平形状の樹脂粒子とこれを分散している熱硬化性の絶縁性接着剤からなり、前記樹脂粒子が、前記接着剤の硬化温度より低い温度に加熱されると球形またはこれに類似の形状に復帰する形状記憶樹脂粒子であり、前記形状記憶樹脂粒子が、その内部に空孔を有することを特徴とする。
また、本発明による電子部品の実装方法は、上記の接着剤を装着しようとする電子部品の電極または回路基板の電極に塗布する工程、前記両者を相互に機械的に加圧して接近させる工程、加熱して前記形状記憶樹脂粒子を記憶させた形状に復帰させる工程、およびさらに加熱して前記絶縁性接着剤を硬化させ前記部品を基板上に固定する工程からなる。
【0007】
【発明の実施の形態】
形状記憶樹脂は、熱可塑性エラストマーの一種であって、軟質相よりも硬質相の溶融温度が高く、しかも適当な温度差をもつものである。このような形状記憶樹脂は、硬質相が溶融する温度に加熱されて成形されると、再び硬質相が溶融する温度に加熱されない限り、このとき成形された形状を記憶し続けるが、軟質相が溶融する温度に加熱されると軟化し、外部から力を加えることによって強制的に変形させることができるという性質を有する。
このように変形させたままの状態で温度を下げると、軟質相が固化するので、変形させた形状を保持する樹脂を得ることができる。しかし、この樹脂の硬質相は、変形前の形状を記憶したままであるため、外部の力を除いた状態で、軟質相が溶融する温度に加熱して樹脂を再び軟化させると、樹脂は変形前の形状に戻ってしまう。このような特性を利用することによって、樹脂に形状を記憶させることができる。
本発明の異方導電性接着剤に利用する形状記憶樹脂粒子は、上記のような特性を有する樹脂を用いたものであり、ポリウレタン系またはノルボルネン系材料からなる形状記憶樹脂を用いることが好ましい。
【0008】
形状記憶樹脂粒子は、わずかな隙間となっている電子部品の電極と回路基板の電極間を押し広げながらその形状を復帰することによって、前記両電極と直接接し、前記両電極を電気的に接続することが望まれるため、形状記憶樹脂粒子は、あらかじめ球状またはこれに類似の形状に成形して、この形状を記憶させた後、加熱して力を加え、これを偏平に変形させたものを用いる。
また、このとき両電極の電気的接合を完全なものにするには、前記形状記憶樹脂粒子が形状を復帰したときの粒子径が、10〜20μmであることが好ましい。
【0009】
本発明による異方導電性接着剤を作製するには、まず、上記のような材料を懸濁重合させて球形またはこれに類似の形状の粒子を成形する。その後、粒子の表面に導電性被膜を形成する。そして、軟質相が溶融する温度に加熱して力を加え、前記粒子を偏平状に変形して、前記の形状を記憶し、表面に導電性被膜を有する粒子を得る。最後に、この粒子を熱硬化性の絶縁性接着剤中に分散させて異方導電性接着剤を完成させる。
前記導電性被膜は、メッキ、蒸着などの方法によって、金、スズ、アルミ、ニッケルまたはカーボン等の導電性材料で形成されているのが好ましい。
このように導電性被膜で被覆されている形状記憶樹脂粒子は、従来導電性フィラーとして用いられてきた活性炭素繊維ほど、吸水性が高くないので回路基板と電子部品を長期間、安定して接続することができる。
【0010】
本発明による異方導電性接着剤を用いて電子部品を回路基板上に実装する場合、形状記憶樹脂粒子を記憶させた形状に復帰させた後、絶縁性接着剤を硬化する工程をとる。そのため、形状記憶樹脂粒子が記憶する形状に復帰する温度は、実装工程における限られた時間内で絶縁性接着剤が硬化する温度よりも低いことが必要である。前述の材料からなる形状記憶樹脂粒子を分散させる絶縁性接着剤には、エポキシ樹脂に硬化剤としてイミダゾール類を添加した接着剤、またはオキサゾリン樹脂にカルボン酸類を添加した接着剤を用いるのが好適である。
【0011】
本発明による異方導電性接着剤を用いると、例えば、半導体部品であるベアICを回路基板に実装する場合、ベアICに設けたバンプ電極のピッチ間距離が50μm以下という狭ピッチであっても、良好な電気的接続をすることができる。
また、球形またはこれに類似の形状を記憶する偏平形状の形状記憶樹脂粒子を用いることによって、両電極を安定に接合することができ、接合条件設定の再現性も容易となる。
【0012】
上記のような異方導電性接着剤を用いて電子部品を実装するには、回路基板の電極部または実装しようとする電子部品の電極部に前記接着剤を塗布し、前記両電極が対応するように位置あわせをして上で、前記回路基板と電子部品を相互に機械的に加圧する工程によって、前記の両電極を接近させる。この後、基板を加熱する工程によって、形状記憶樹脂粒子を記憶させた形状に復帰させ、さらに高い温度で加熱することによって、絶縁性接着剤を硬化させ、電子部品を回路基板上に固定する。
【0013】
形状記憶樹脂粒子の形状が復帰するとき、先に絶縁性接着剤が硬化しては、形状記憶樹脂粒子が記憶した形状に復帰することができない。したがって、電子部品を実装する加熱装置内において、まず形状記憶樹脂粒子が記憶させた形状に復帰する温度が基板にかかり、さらに高い温度がかかって、絶縁性接着剤が硬化するように装置を制御する。
上記のように、形状記憶樹脂粒子が記憶させた形状に復帰して、両電極を電気的に完全に接続するので、従来のように機械的な加圧力を大きくする必要がない。したがって、回路基板や電子部品に歪みなどを生じさせる不都合はなくなる。
【0014】
以下に、具体的な実施例を挙げ、図面を参照しながら本発明をより詳細に説明する。
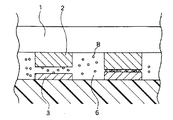
図1は、本発明による異方導電性接着剤を用いて、ベアICを回路基板に実装する工程を模式的に示す断面図である。
1は、バンプ電極2を設けたベアICを表す。このベアIC1を回路基板7に実装するには、図1(A)のように、ベアIC1と回路基板7との間に異方導電性接着剤を挟み、バンプ電極2とこれを接続する回路基板の電極3とが対応するように位置あわせをした上で、両者を機械的に加圧して接近させる。異方導電性接着剤は、偏平形状の粒子4が分散されている熱硬化性の絶縁性接着剤6からなる。前記粒子4は、直径20μmの球形の形状記憶樹脂粒子9の表面を導電性被膜5で被覆した後、40℃に加熱して力を加え偏平形状に変形させたものである。粒子4は、内部に空孔を有するため、比重が小さくなり、前記絶縁性接着剤6に均一に分散している。前記絶縁性接着剤6の硬化温度は、前記形状記憶樹脂粒子9が記憶する形状に復帰することができる温度よりも高い。
そして、図1(B)に示すように、100℃に加熱することによって、粒子4を元の球形に復帰させる。このとき前記粒子4が、前記両電極を押し広げながら復帰するので、両電極の電気的接続が完全なものとなる。そして、さらに130℃で加熱して絶縁性接着剤6を硬化させ、ベアIC1を回路基板7上に固定する。
【0015】
図2は、従来の異方導電性接着剤を用いて、回路基板上に電子部品を実装した断面図である。
ベアIC1と回路基板7が、導電性フィラー8を分散させた熱硬化性の絶縁性接着剤を間に挟んで設置され、機械的に加圧されて接近している。このとき、回路基板上に設置されたベアICを、どの場所でも同じ荷重がかかるように加圧することは難しい。そのため、回路基板7の電極3とベアIC1の電極2が、接近する場所と、離れる場所が生じる。両者が十分近くまで接近している場合は、導電性フィラー8が微細であっても、このフィラー8を介して両者を電気的に接続することができる。しかし、前記両者が離れている場合は、導電性フィラー8が両電極を接続することができない。そのため、回路基板7上に実装されたベアIC1は、電気的に接続される場所と、接続されない場所ができる。
【0016】
【実施例】
《実施例1》
図1と同様にして、異方導電性接着剤を作製した。ただし、形状記憶樹脂には、ポリウレタン系のものを用い、導電性被膜は金をメッキすることによって作成し、絶縁性接着剤は、エポキシ樹脂とイミダゾール系硬化剤からなるものを用いた。
そして、図1(A)に示すように、この異方導電性接着剤を回路基板7の電極3に塗布した後、数個のバンプ電極2を設けたベアIC1を回路基板7の電極1上に設置した。そして、ベアIC1と回路基板7を相互に機械的加圧した後、120℃で20秒間加熱して、図1(B)に示すように、粒子4をもとの球形に復帰させ、続いて130℃で30秒間加熱して、絶縁性接着剤6を硬化させた。
その結果、回路基板7上にベアIC1は固定され、その電気的接続は良好であった。
【0017】
【発明の効果】
上記のように、本発明によれば、種々の回路基板に、様々な電子部品を高性能に実装することができる。
【図面の簡単な説明】
【図1】本発明による異方導電性接着剤を用いて、ベアICを回路基板に実装する工程を模式的に示す断面図である。
【図2】従来の導電性フィラーを分散させた接着剤用いて、ベアICを回路基板に実装した図である。
【符号の説明】
1 ベアIC
2 バンプ電極
3 回路基板の電極
4 粒子
5 導電性被膜
6 絶縁性接着剤
7 回路基板
8 導電性フィラー
9 形状記憶樹脂粒子

Claims (4)

  1. 表面に導電性被膜を有する偏平形状の樹脂粒子とこれを分散している熱硬化性の絶縁性接着剤からなり、前記樹脂粒子が、前記接着剤の硬化温度より低い温度に加熱されると球形またはこれに類似の形状に復帰する形状記憶樹脂粒子であり、前記形状記憶樹脂粒子が、その内部に空孔を有することを特徴とする異方導電性接着剤。
  2. 前記形状記憶樹脂粒子が記憶する形状に復帰したときの粒子径が、10〜20μmである請求項記載の異方導電性接着剤。
  3. 前記形状記憶樹脂粒子が、ポリウレタン系またはノルボルネン系材料からなり、前記導電性被膜が、金、スズ、アルミ、ニッケルおよびカーボンからなる群より選ばれた少なくとも1種からなる請求項1または2に記載の異方導電性接着剤。
  4. 請求項1記載の異方導電性接着剤を装着しようとする電子部品の電極または回路基板の電極に塗布する工程、前記両者を相互に機械的に加圧して接近させる工程、加熱して前記形状記憶樹脂粒子を記憶させた形状に復帰させる工程、およびさらに高い温度で加熱して前記絶縁性接着剤を硬化させ前記部品を基板上に固定する工程からなることを特徴とする電子部品の実装方法。
JP103698A 1998-01-06 1998-01-06 異方導電性接着剤およびこれを用いた電子部品の実装方法 Expired - Fee Related JP4040734B2 (ja)

Priority Applications (1)

Application Number Priority Date Filing Date Title
JP103698A JP4040734B2 (ja) 1998-01-06 1998-01-06 異方導電性接着剤およびこれを用いた電子部品の実装方法

Applications Claiming Priority (1)

Application Number Priority Date Filing Date Title
JP103698A JP4040734B2 (ja) 1998-01-06 1998-01-06 異方導電性接着剤およびこれを用いた電子部品の実装方法

Publications (2)

Publication Number Publication Date
JPH11199843A JPH11199843A (ja) 1999-07-27
JP4040734B2 true JP4040734B2 (ja) 2008-01-30

Family

ID=11490347

Family Applications (1)

Application Number Title Priority Date Filing Date
JP103698A Expired - Fee Related JP4040734B2 (ja) 1998-01-06 1998-01-06 異方導電性接着剤およびこれを用いた電子部品の実装方法

Country Status (1)

Country Link
JP (1) JP4040734B2 (ja)

Families Citing this family (1)

* Cited by examiner, † Cited by third party
Publication number Priority date Publication date Assignee Title
JP4591138B2 (ja) * 2005-03-15 2010-12-01 パナソニック株式会社 導電性組成物および配線基板

Also Published As

Publication number Publication date
JPH11199843A (ja) 1999-07-27

Similar Documents

Publication Publication Date Title
KR100382759B1 (ko) 이방성 도전 접착제를 이용한 반도체 장치의 실장 방법
US5749997A (en) Composite bump tape automated bonding method and bonded structure
JP4123998B2 (ja) 電子回路装置およびその製造方法
JP2001052778A (ja) 異方導電性接着フィルムおよびその製造方法
JP3801666B2 (ja) 電極の接続方法およびこれに用いる接続部材
KR100563890B1 (ko) 전기적 접속 장치 및 전기적 접속 방법
KR19990044151A (ko) 견고하게 접착된 변형가능한 전자장치용 기판조립장치
KR100701133B1 (ko) 전기적 접속 장치 및 전기적 접속 방법
JP4040734B2 (ja) 異方導電性接着剤およびこれを用いた電子部品の実装方法
JPH08148211A (ja) 接続部材及び該接続部材を用いた電極の接続構造・接続方法
JPS63151033A (ja) 半導体装置の製造方法
JPH11103158A (ja) プリント配線板へのフリップチップ実装方法および実装構造
JP2710234B2 (ja) 端子接続方法およびこの方法により製造される回路基板
JP3162068B2 (ja) 半導体チップの実装方法
JP3745524B2 (ja) 異方導電性接着シートおよびこれを用いた電子部品の実装方法
JPS60225828A (ja) 液晶パネルの実装方法
JP2937705B2 (ja) プリント配線板の接続方法
JP4378788B2 (ja) Icチップの接続方法
US6194780B1 (en) Tape automated bonding method and bonded structure
JP2000174066A (ja) 半導体装置の実装方法
JPH0636613A (ja) 電子部品用接合材料およびそれを用いた電子機器
JP4155470B2 (ja) 接続部材を用いた電極の接続法
KR980013552A (ko) 서로 마주보는 전극들을 상호접속하기 위한 접속시트 및 이 접속시트를 사용하는 전극 접속구조 및 접속방법
JPH08102464A (ja) 突起電極構造とその形成方法及び突起電極を用いた接続構造とその接続方法
JP2940252B2 (ja) 半導体素子の実装構造および実装方法

Legal Events

Date Code Title Description
A621 Written request for application examination

Free format text: JAPANESE INTERMEDIATE CODE: A621

Effective date: 20050105

A977 Report on retrieval

Free format text: JAPANESE INTERMEDIATE CODE: A971007

Effective date: 20070717

A131 Notification of reasons for refusal

Effective date: 20070719

Free format text: JAPANESE INTERMEDIATE CODE: A131

A521 Written amendment

Effective date: 20070914

Free format text: JAPANESE INTERMEDIATE CODE: A523

TRDD Decision of grant or rejection written
A01 Written decision to grant a patent or to grant a registration (utility model)

Free format text: JAPANESE INTERMEDIATE CODE: A01

Effective date: 20071011

A61 First payment of annual fees (during grant procedure)

Free format text: JAPANESE INTERMEDIATE CODE: A61

Effective date: 20071108

FPAY Renewal fee payment (prs date is renewal date of database)

Year of fee payment: 3

Free format text: PAYMENT UNTIL: 20101116

R150 Certificate of patent (=grant) or registration of utility model

Free format text: JAPANESE INTERMEDIATE CODE: R150

FPAY Renewal fee payment (prs date is renewal date of database)

Free format text: PAYMENT UNTIL: 20111116

Year of fee payment: 4

FPAY Renewal fee payment (prs date is renewal date of database)

Free format text: PAYMENT UNTIL: 20121116

Year of fee payment: 5

LAPS Cancellation because of no payment of annual fees