JP4031684B2 - 蒸発器及び冷凍機 - Google Patents
蒸発器及び冷凍機 Download PDFInfo
- Publication number
- JP4031684B2 JP4031684B2 JP2002251081A JP2002251081A JP4031684B2 JP 4031684 B2 JP4031684 B2 JP 4031684B2 JP 2002251081 A JP2002251081 A JP 2002251081A JP 2002251081 A JP2002251081 A JP 2002251081A JP 4031684 B2 JP4031684 B2 JP 4031684B2
- Authority
- JP
- Japan
- Prior art keywords
- heat transfer
- transfer tube
- evaporator
- space
- tube groups
- Prior art date
- Legal status (The legal status is an assumption and is not a legal conclusion. Google has not performed a legal analysis and makes no representation as to the accuracy of the status listed.)
- Expired - Lifetime
Links
- 238000005192 partition Methods 0.000 claims description 41
- 239000003507 refrigerant Substances 0.000 claims description 41
- 239000000463 material Substances 0.000 claims description 13
- XLYOFNOQVPJJNP-UHFFFAOYSA-N water Substances O XLYOFNOQVPJJNP-UHFFFAOYSA-N 0.000 description 102
- 238000000605 extraction Methods 0.000 description 21
- 238000010586 diagram Methods 0.000 description 11
- 230000000694 effects Effects 0.000 description 9
- 238000009434 installation Methods 0.000 description 9
- 238000001816 cooling Methods 0.000 description 3
- 238000010438 heat treatment Methods 0.000 description 3
- 239000002826 coolant Substances 0.000 description 2
- 238000009751 slip forming Methods 0.000 description 2
- 238000003756 stirring Methods 0.000 description 2
- 238000004378 air conditioning Methods 0.000 description 1
- 239000012267 brine Substances 0.000 description 1
- 239000000498 cooling water Substances 0.000 description 1
- 230000003247 decreasing effect Effects 0.000 description 1
- 238000009795 derivation Methods 0.000 description 1
- 238000005265 energy consumption Methods 0.000 description 1
- 230000014759 maintenance of location Effects 0.000 description 1
- HPALAKNZSZLMCH-UHFFFAOYSA-M sodium;chloride;hydrate Chemical compound O.[Na+].[Cl-] HPALAKNZSZLMCH-UHFFFAOYSA-M 0.000 description 1
Images
Classifications
-
- F—MECHANICAL ENGINEERING; LIGHTING; HEATING; WEAPONS; BLASTING
- F25—REFRIGERATION OR COOLING; COMBINED HEATING AND REFRIGERATION SYSTEMS; HEAT PUMP SYSTEMS; MANUFACTURE OR STORAGE OF ICE; LIQUEFACTION SOLIDIFICATION OF GASES
- F25B—REFRIGERATION MACHINES, PLANTS OR SYSTEMS; COMBINED HEATING AND REFRIGERATION SYSTEMS; HEAT PUMP SYSTEMS
- F25B2339/00—Details of evaporators; Details of condensers
- F25B2339/02—Details of evaporators
- F25B2339/024—Evaporators with refrigerant in a vessel in which is situated a heat exchanger
- F25B2339/0242—Evaporators with refrigerant in a vessel in which is situated a heat exchanger having tubular elements
Landscapes
- Heat-Exchange Devices With Radiators And Conduit Assemblies (AREA)
Description
【発明の属する技術分野】
本発明は、加熱物(例えば水、ブライン等)と冷媒との間で熱交換を行わせて、加熱物を冷却するとともに冷媒を沸騰、気化する蒸発器、及び該蒸発器を備えた冷凍機に関する。
【0002】
【従来の技術】
例えば、ビルのような大規模構造物においては、冷凍機で冷却した加熱物を構造物内に布設した配管を通じて構内を循環させ、居室の空気と熱交換させて冷房を行うようにしている。
【0003】
この冷凍機に具備される従来の蒸発器の一例を図12から図15に示す。
図12及び図13に示す蒸発器1は、冷媒が導入される容器2内に、加熱物である冷水が流通する多数の伝熱管3からなる伝熱管群3A及び3Bと、これら伝熱管群の両端部にそれぞれ臨ませて形成され冷水が収納される水室(空間部)4とを備えている。
水室4は、該伝熱管群3Aへ冷水を供給する冷水供給空間4Aと、伝熱管群3Aから伝熱管群3Bへ冷水を折返し流通させる折返し空間4Bと、伝熱管群3Bから冷水を導出する冷水導出空間4Cとから構成されている。冷水供給空間4Aと冷水導出空間4Cは同一の水室4内にあって仕切り板5によって仕切られている。
仕切り板5は、伝熱管群3A及び伝熱管群3B間に構成されている空隙6に沿う位置に配設されている。
【0004】
上記の構成からなる蒸発器1において、冷水供給空間4Aから供給された冷水は、伝熱配管群3A内に配設された伝熱管3内を通って折返し空間3Bに至って折返し、伝熱配管群3B内に配設された伝熱管3内を通って冷水導出空間4Cから導出される。この間、容器2内の冷媒との間で熱交換を行って冷却され、冷媒は冷水から熱を奪って沸騰し気化する。
【0005】
図14及び図15に示す蒸発器1は、上記多数の伝熱管3からなる伝熱管群3A、3B、及び3Cを備えており、水室4は、冷水供給空間4Aと冷水折返し空間4B、及び冷水導出空間4Cと冷水折返し空間4Dとにそれぞれ仕切り板5によって仕切られている。
仕切り板5は、伝熱管群3Aと3B間、及び伝熱管群3Bと3C間に構成されている空隙6に沿う位置に配設されている。
【0006】
上記の構成からなる蒸発器1において、冷水供給空間4Aから供給された冷水は、伝熱管群3A内に配設された伝熱管3内を通って伝熱管群端部に臨ませて形成された折返し空間4Dに至って折返し、伝熱管群3B内に配設された伝熱管3内を通って他の伝熱管群端部に臨ませて形成された折返し空間4Bに至ってさらに折返し、伝熱管群3C内に配設された伝熱管3内を通って冷水導出空間4Cから導出される。
【0007】
【発明が解決しようとする課題】
ところで、上記従来の冷凍機を構成する蒸発器は、汎用品として製作されることから仕切り板の取り付け位置があらかじめ固定されており、冷水供給空間及び冷水導出空間の配設位置及びそれぞれに連通する伝熱管が固定されている。
そのため、冷凍機の設置条件によって、冷水供給空間に連通する伝熱管群と冷水導出空間に連通する伝熱管群とにそれぞれ属する伝熱管数を互いに増減する、或いは、冷凍機の設置場所により冷水供給空間と冷水導出空間との相対的な配設位置を変更する等の必要が生じた場合、これらの変更が困難であるため、所定の冷却性能が得られることが困難となる問題があった。
【0008】
本発明は上記事情に鑑みて成されたものであり、汎用品であっても設置条件に最適な蒸発器を容易に設定することができ、これによって冷却効率の高い蒸発器及び冷凍機を提供することを目的とする。
【0009】
【課題を解決するための手段】
本発明は、上記課題を解決するため以下の手段を採用する。
請求項1に記載の発明は、冷媒が導入される容器と、該容器内に配設され、前記冷媒を加熱して沸騰、気化させる加熱物が流通する多数の伝熱管からなる複数の伝熱管群と、これら伝熱管群の端部に臨ませて形成された、該伝熱管群のうち一の伝熱管群へ加熱物を供給する加熱物供給空間、二の伝熱管群から加熱物を導出する加熱物導出空間、一方の伝熱管群から隣接する他方の伝熱管群へ加熱物を折返し流通させる折返し空間を少なくともいずれか1つ有する空間部と、該空間部内を前記供給空間、前記導出空間、前記折返し空間に応じて仕切る仕切り板とを備えている蒸発器であって、前記複数の伝熱管群が、ほぼ鉛直方向に位置する仮想平面に沿って延在する空隙により互いに離間して配設され、前記仕切り板が、前記空隙に沿って前記空間部内の複数位置に選択的に設置可能となるように構成されていることを特徴とする。
【0010】
この発明に係わる蒸発器によれば、汎用品においても、蒸発器の設置条件にあわせて伝熱管群数及び該伝熱管群を構成する伝熱管数の配分や加熱物導出空間配設位置を容易に変更することができる。
【0011】
請求項2に記載の発明は、請求項1に記載の蒸発器において、前記伝熱管群が、ほぼ鉛直方向に位置する仮想平面に沿って延在する第1の空隙と、ほぼ水平方向に位置する仮想平面に沿って延在する第2の空隙とによって、鉛直方向及び水平方向に互いに離間して配設され、前記仕切り板が、前記空間部内の前記第1の空隙と第2の空隙とのいずれか一方又は双方に沿う位置に連続して形成されていることを特徴とする。
【0012】
この発明に係わる蒸発器によれば、汎用品においても、伝熱管群を加熱物供給空間、加熱物折返し空間、及び加熱物導出空間へ配分する自由度を増加させることができる。
【0013】
請求項3に記載の発明は、請求項1または2に記載の蒸発器において、前記複数の伝熱管群が上下に層をなすように配設され、上方の前記伝熱管が下方の前記伝熱管よりも疎に配設されていることを特徴とする。
【0014】
この発明に係わる蒸発器によれば、汎用品においても、設置条件にあわせて冷媒と加熱物との温度差を考慮して伝熱管の流路を変更できる。
【0015】
請求項4に記載の発明は、請求項1または2に記載の蒸発器において、前記複数の伝熱管群が上下に層をなすように配設され、さらに上方の伝熱管群が水平方向に互いに隣接して複数配設され、前記上方の伝熱管群が下方の伝熱管群より疎に配設され、前記上方の伝熱管群のうち、一の伝熱管群が該一の伝熱管群に水平方向に隣接する二の伝熱管群よりも疎に配設されていることを特徴とする。
【0016】
この発明に係わる蒸発器によれば、汎用品においても、加熱物供給空間に連通する伝熱管群を中心に、冷媒と加熱物との温度差及び気泡発生条件にあわせた伝熱管群の配置が可能となる。
【0017】
請求項5に記載の発明は、請求項1から4のいずれかに記載の蒸発器と、気体状の冷媒を圧縮する圧縮機と、圧縮された気体状の冷媒を冷却して凝縮、液化する凝縮器と、液化された冷媒を減圧する膨張弁とを備えていることを特徴とする。
【0018】
この発明に係わる冷凍機においては、上記のように蒸発器における伝熱管の熱伝達率が高められ、その結果として熱交換率が高められるので、エネルギー消費を抑えても従来と同等の性能が得られる。
【0019】
【発明の実施の形態】
次に、本発明の実施形態について図面を参照して説明する。
図1から図3までは、本発明の第1の実施形態を示す。
図1は、冷凍機の概略構成を示している。この図に示す冷凍機は、冷却水と気体状の冷媒との間で熱交換を行わせて冷媒を凝縮、液化する凝縮器10と、凝縮された冷媒を減圧する膨張弁11と、減圧された冷媒と冷水(加熱物)との間で熱交換を行わせて冷水を冷却する蒸発器12と、蒸発器12で蒸発、気化された冷媒を圧縮した後に上記凝縮器10に供給する圧縮機13とから構成されている。
【0020】
図2及び図3は、蒸発器12の構造を示す。
図2及び図3に示す蒸発器12は、冷媒が導入される容器14内に、冷水が流通する多数の伝熱管15からなる伝熱管群15A〜15Fと、これら伝熱管群の両端部に臨ませて形成された冷水が収納される水室(空間部)16とを備えている。
【0021】
水室16は、伝熱管群15A〜15Cへ冷水を供給する水室16A及び16B(冷水供給空間)と、伝熱管群15A〜15Cから他の隣接する伝熱管群15D〜15Fへ冷水を折返し流通させる水室16D及び16E(冷水折返し空間)と、伝熱管群15D〜15Fから冷水を導出する水室16C(冷水導出空間)とから成っている。上記水室16A、16Bと水室16Cとは、同一の水室16内にあって仕切り板17によって仕切られている。
伝熱管群15A〜15Fは、ほぼ鉛直方向に位置する仮想平面に沿って延在する抜き列(空隙)18A〜18Eによって互いに離間され配設されている。仕切り板17は、上記抜き列18Cに沿った位置に設置されているが、抜き列18A、18B、18D及び18Eに沿った位置にも選択的に設置可能となるよう構成されている。
【0022】
上記の構成からなる蒸発器及び冷凍機の作用について以下に示して説明する。蒸発器12において、容器14内に配設されている伝熱管群15A〜15Fは、図1に示す冷媒によって浸されている。一方、冷水は、水室16A及び16Bに供給された後、伝熱管群15A、15B及び15Cを構成する伝熱管15内を往路として流通し、水室16D及び16Eに至って折返され、伝熱管群15D、15E及び15Fを構成する伝熱管15内を復路として通過し、水室16Bに隣接する水室16Cに至って容器14外に導出される。
すなわち、冷水は往路側を1パス、復路側を2パスとする2パス型蒸発器として容器14内を1往復するように流れる。
【0023】
この間、冷水は冷媒と伝熱管15の表面を介して熱交換を行って冷却され、冷却された冷水はビルの空調等に利用される。
一方、冷媒は冷水から熱を奪って沸騰し気化される。このとき気化された冷媒は気泡となって伝熱管群15A〜15F間に形成された抜き列18A〜18Eを抜けて下方から上方に浮かび上がる。
【0024】
この冷凍機において、蒸発器12は、仕切り板17が複数位置に選択的に設置可能となっている。
従って、例えば、仕切り板を図2において17の符号にて実線に示す位置から2点鎖線に示す19の位置に変更して、前述に示すように冷凍機を駆動すると、冷水は、水室16Aに供給されたのち、伝熱管群15A及び15Bとを構成する伝熱管15内を一の流路として流通し、水室16Dに至って折返され、伝熱管群15C及び15Dとを構成する伝熱管15内を二の流路として通過する。さらにこの冷水は、水室16B及び16Cとに至って折返され、伝熱管15E及び15Fとを構成する伝熱管15内を三の流路として通過し、水室16Eに至って容器14外に導出される。
なお、仕切り板19は水室16内にある。以下の実施形態についても同じ。
すなわち、冷水は、流路が3つに分かれる3パス型蒸発器として容器14内を1.5往復するように流れる。
【0025】
上述のようにこの冷凍機によれば、例えば、2パス型蒸発器の汎用品として仕切り板が配設されている蒸発器12においても、仕切り板の配設位置を変更することによって、3パス型蒸発器への変更が可能であり、これに応じて冷水が導出される方向も変更可能となるので、汎用品の冷凍機であっても、少ない労力にて設置条件に応じた冷凍機を提供することができる。
【0026】
図4は、本発明の第2の実施形態を示す。
冷凍機の全体構成は、図1に示すものと同じである。
図4に示す蒸発器12は図2と同一の構成要素からなるが、抜き列は、抜き列18A〜18Cのみ形成されており、仕切り板17及び19は、抜き列18A〜18Cに沿う位置に選択的に設置可能となるよう構成されている。
【0027】
上記の構成からなる冷凍機において、蒸発器12は、第1の実施形態と同様の作用及び効果が得られるとともに、該容器径を小さくすることが可能となり蒸発器をコンパクトにすることができる。
【0028】
図5は、本発明の第3の実施形態を示す。なお、上記実施形態においてすでに説明した構成要素には同一符号を付して説明は省略する。
冷凍機の全体構成は、図1に示すものと同じである。
図5において蒸発器12は、容器14と、該容器内に伝熱管15が群を成して配設されている伝熱管群15A〜15Fと、伝熱管群15A〜15Fの両端に水室16(図示略)とを備えている。
伝熱管群15A〜15Fは、ほぼ鉛直方向に位置する仮想平面に沿って延在する列18A及び18Bと、ほぼ水平方向に位置する仮想平面に沿って延在する抜き列18Cとによって互いに離間して配設されている。
また、該容器内上方の伝熱管群15A〜15Cに配設されている伝熱管15は、該容器内下方の伝熱管群15D〜15Fに配設されている伝熱管15よりも疎に配設されている。
仕切り板17は、水室16内にあって、抜き列18A〜18Cに沿う位置に選択的に設置され、鉛直部及び水平部を含んで連続的に形成されている。
【0029】
上記の構成からなる蒸発器12において、容器内に供給された冷水は、伝熱管群15A、15B及び15Dを構成する伝熱管15内を流通し折返され、伝熱管群15C、15E及び15Fを構成する伝熱管15内を流通し容器14外に導出される。すなわち、冷水は2パス型蒸発器として容器14内を1往復するように流れる。
【0030】
気化された冷媒は気泡となって抜き列18A、18Bを介して下方から上方に浮かび上がるが、容器上方の伝熱管群15A〜15Cを構成する伝熱管15は下方の伝熱管15に比べて疎に配設されているため、気泡は抜き列18A、18Bだけでなく、上方の伝熱管15間も浮かび上がることができる。よって、伝熱管周囲に気泡が滞留することを抑えることができる。
【0031】
また、例えば、仕切り板17を取外し、代わりに仕切り板19を抜き列18A及び18Bにそれぞれ沿う位置に配設することによって、容器内に供給された冷水は、伝熱管群15A及び15Dを構成する伝熱管15内を流通し折返され、伝熱管15B及び15Eを構成する伝熱管15内を流通してさらに折返され、伝熱管群15C及び15Fを構成する伝熱管15内を流通し容器14外へ導出される。すなわち、冷水は3パス型蒸発器として容器14内を1.5往復するように流れる。
【0032】
この冷凍機における蒸発器によれば、第1の実施形態と同様の効果を得ることができるとともに、気泡の発生量を考慮した伝熱管の配分が可能となるので、より熱伝達率の向上を図ることができる。
【0033】
図6は、本発明の第4の実施形態を示す。なお、上記実施形態においてすでに説明した構成要素には同一符号を付して説明は省略する。
冷凍機の全体構成は、図1に示すものと同じである。
図6において蒸発器12は、図5と同一の構成要素からなるが、仕切り板17は、水室16内にあって、抜き列18A及び18Cに沿う位置に選択的に設置され、鉛直部及び水平部を含んで連続的に形成されている。
【0034】
上記の構成からなる蒸発器12において、冷水は、伝熱管群15A〜15Dを1つの流路とし、伝熱管群15E及び15Fを他方の流路とする2パス型蒸発器内を流通する。
また、例えば、仕切り板17を取外し、代わりに仕切り板19を抜き列18Aに沿う位置と18Bに沿う位置とにそれぞれ配設することによって、冷水は、伝熱管群15A及び15Dを1つの流路とし、伝熱管15B及び15Eを他の流路とし、伝熱管群15C及び15Fを他の残りの流路とする3パス型蒸発器内を流通する。
【0035】
この冷凍機における蒸発器によっても、第1及び第3の実施形態と同様の効果を得ることができる。
【0036】
図7は、本発明の第5の実施形態を示す。なお、上記実施形態においてすでに説明した構成要素には同一符号を付して説明は省略する。
冷凍機の全体構成は、図1に示すものと同じである。
図7において蒸発器12は、図5と同一の構成要素からなるが、伝熱管群15Aを構成する伝熱管15は、伝熱管群15B及び伝熱管群15Cに配設されている該伝熱管よりもさらに疎に配設されている。そのため、伝熱管群15Aと15Dとをほぼ水平方向に位置する仮想平面に沿って離間して延在する抜き列18Cと、伝熱管群15Bと15C、伝熱管群15Eと15Fとをそれぞれほぼ水平方向に位置する仮想平面に沿って離間して延在する抜き列18Dとは、異なる仮想平面に沿って延在している。
仕切り板17は、水室16内にあって、抜き列18A及び18Bと、抜き列18Dとに沿う位置に選択的に設置され、鉛直部及び水平部を含んで連続的に形成されている。
【0037】
上記の構成からなる蒸発器12によれば、冷水は、伝熱管群15A、15B及び15Dとを1つの流路とし、伝熱管群15C、15E及び15Fを他方の流路とする2パス型蒸発器内を流通する。
【0038】
また、例えば、仕切り板17を取外し、代わりに仕切り板19を抜き列18Aに沿う位置と18Bに沿う位置とにそれぞれ配設することによって、冷水は、伝熱管群15A及び15Dを1つの流路とし、伝熱管15B及び15Eを他の流路とし、伝熱管群15C及び15Fを他の残りの流路とする3パス型蒸発器内を流通する。
例えば、伝熱管群15A及び15Dを冷水供給空間に連通させると、冷水と冷媒の温度差が大きい下方の伝熱管群15Dから発生する気泡は、伝熱管15D内よりも疎に配設されている上方の伝熱管群15A内の伝熱管15周囲の冷媒を攪拌させながら抜けていく。このため、伝熱管周囲の気泡の滞留が抑えられる。
【0039】
この冷凍機における蒸発器によれば、前述の実施形態と同様の効果を得ることができるとともに、設置条件に基づいた冷媒と冷水の温度差及び気泡発生条件を考慮した伝熱管の流路の変更が可能となる。
【0040】
図8は、本発明の第6の実施形態を示す。なお、上記実施形態においてすでに説明した構成要素には同一符号を付して説明は省略する。
冷凍機の全体構成は、図1に示すものと同じである。
図8において蒸発器12は、図7と同一の構成要素からなるが、仕切り板17は、水室16内にあって、抜き列18C、18A、及び18Dに沿う位置に選択的に設置され、鉛直部及び水平部を含んで連続的に形成されている。
【0041】
上記の構成からなる蒸発器12によれば、冷水は、伝熱管群15A、15B及び15Cを1つの流路とし、伝熱管群15D、15E及び15Fを他方の流路とする2パス型蒸発器内を流通する。
例えば、伝熱管群15Dから15Fを冷水供給空間に連通させると、これらの領域では、冷水と冷媒との温度差が大きく気泡の発生量が大きくても、上方の伝熱管群内に疎に配設された伝熱管間を気泡が容易に抜けていき、伝熱管周囲の気泡の滞留が抑えられる。
【0042】
また、例えば、仕切り板17を取外し、代わりに仕切り板19を抜き列18Aに沿う位置と18Bに沿う位置とにそれぞれ配設することによって、冷水は、伝熱管群15A及び15Dを1つの流路とし、伝熱管15B及び15Eを他の流路とし、伝熱管群15C及び15Fを他の残りの流路とする3パス型蒸発器内を流通する。
【0043】
この冷凍機における蒸発器によっても、第5の実施形態と同様の効果を得ることができる。
【0044】
図9は、本発明の第7の実施形態を示す。なお、上記実施形態においてすでに説明した構成要素には同一符号を付して説明は省略する。
冷凍機の全体構成は、図1に示すものと同じである。
図9において蒸発器12は、図7と同一の構成要素からなるが、仕切り板17は、水室16内において、抜き列18B、18D、18A、及び18Cに沿う位置に選択的に設置され、鉛直部及び水平部を含んで連続的に形成されている。
【0045】
上記の構成からなる蒸発器12によれば、冷水は、伝熱管群15A及び15Bを1つの流路とし、伝熱管群15C及び15Fを他方の流路とする2パス型蒸発器内を流通する。
この場合、例えば、伝熱管群15C〜15Fを冷水が供給される伝熱管群とすると、この領域での冷媒と冷水との温度差が他の領域よりも大きくなり気泡発生量が多くなることから、この気泡によって他の領域に配設されている伝熱管15まわりの冷媒の攪拌がさらに促進される。
【0046】
また、例えば、仕切り板17を取外し、代わりに仕切り板19を抜き列18Aに沿う位置と18Bに沿う位置とにそれぞれ配設することによって、冷水は、伝熱管群15A及び15Dを1つの流路とし、伝熱管15B及び15Eを他の流路とし、伝熱管群15C及び15Fを他の残りの流路とする3パス型蒸発器内を流通する。
【0047】
この冷凍機における蒸発器によっても、第5の実施形態と同様の効果を得ることができる。
【0048】
図10は、本発明に係わる第8の実施形態を示す。なお、上記実施形態においてすでに説明した構成要素には同一符号を付して説明は省略する。
冷凍機の全体構成は、図1に示すものと同じである。
図10において蒸発器12は、図7と同一の構成要素からなるが、仕切り板19が、水室16内において、抜き列18Aに沿う位置、及び抜き列18Bと18Dとに沿う位置にそれぞれ選択的に設置され、鉛直部及び水平部を含んで連続的に形成されている。
【0049】
上記の構成からなる蒸発器12によれば、冷水は、伝熱管群15A及び15Dとを1つの流路とし、伝熱管15B、15E、及び15Fを他の流路とし、伝熱管群15Cを他の残りの流路とする3パス型蒸発器内を流通する。
例えば、伝熱管群15A及び15Dとを冷水が供給される伝熱管群にした場合、冷水と冷媒の温度差が他の領域に比べて大きく気泡発生量が多くても上方に配設された伝熱管間を気泡が抜けやすくなることから、該伝熱管に滞留する気泡が減少するとともに、該伝熱管まわりの冷媒が攪拌されやすくなる。
【0050】
この冷凍機における蒸発器によっても、第5の実施形態と同様の効果を得ることができる。
【0051】
図11は、本発明の第9の実施形態を示す。なお、上記実施形態においてすでに説明した構成要素には同一符号を付して説明は省略する。
冷凍機の全体構成は、図1に示すものと同じである。
図11において蒸発器12は、図7と同一の構成要素からなるが、仕切り板17は、水室16内において、抜き列18A及び18Dに沿う位置に選択的に設置され、鉛直部及び水平部を含んで連続的に形成されている。
【0052】
上記の構成からなる蒸発器12によれば、冷水は、伝熱管群15A〜15Dを1つの流路とし、伝熱管群15E及び15Fを他方の流路とする2パス型蒸発器内を流通する。
例えば、伝熱管群15A〜15Dを冷水と冷媒の温度差が最も小さくなる冷水導出空間側に連通させることによって、気泡の発生量が増大し、他の領域の伝熱管周囲にある冷媒をより攪拌させる。
【0053】
また、例えば、仕切り板17を取外し、代わりに仕切り板19を抜き列18Aに沿う位置と18Dに沿う位置とにそれぞれ配設することによって、冷水は、伝熱管群15A及び15Dを1つの流路とし、伝熱管15B及び15Cを他の流路とし、伝熱管群15E及び15Fを他の残りの流路とする3パス型蒸発器内を流通する。
【0054】
この冷凍機における蒸発器によっても、第5の実施形態と同様の効果を得ることができる。
【0055】
【発明の効果】
以上説明したように、請求項1に係わる発明によれば、汎用品においても、蒸発器の設置条件にあわせて伝熱管群数及び該伝熱管群を構成する伝熱管数の配分や加熱物導出空間配設位置を容易に変更することができる。
【0056】
請求項2に係わる発明によれば、蒸発器が汎用品であっても伝熱管配分の自由度が増加し、これによって熱交換性能の低下が抑えられた蒸発器を得ることができる。
【0057】
請求項3に係わる発明によれば、汎用品においても、設置条件にあわせて冷媒と加熱物との温度差を考慮して伝熱管の流路を変更できる。
【0058】
請求項4に係わる発明によれば、汎用品においても、加熱物供給空間に連通する伝熱管群を中心に、冷媒と加熱物との温度差及び気泡発生条件にあわせた伝熱管群の配置が可能となる。
【0059】
請求項5に係わる発明によれば、熱伝達率の向上した蒸発器を備えることによって、エネルギー消費を抑えても従来と同等の冷却効率を有する冷凍機が得られる。
【図面の簡単な説明】
【図1】 本発明の第1の実施形態に係わる蒸発器が適用される冷凍機の概略構成を示す図である。
【図2】 本発明の第1の実施形態に係わる蒸発器の断面構成図である。
【図3】 本発明の第1の実施形態に係わる蒸発器の平面構成図である。
【図4】 本発明の第2の実施形態に係わる蒸発器の断面構成図である。
【図5】 本発明の第3の実施形態に係わる蒸発器の断面構成図である。
【図6】 本発明の第4の実施形態に係わる蒸発器の断面構成図である。
【図7】 本発明の第5の実施形態に係わる蒸発器の断面構成図である。
【図8】 本発明の第6の実施形態に係わる蒸発器の断面構成図である。
【図9】 本発明の第7の実施形態に係わる蒸発器の断面構成図である。
【図10】本発明の第8の実施形態に係わる蒸発器の断面構成図である。
【図11】本発明の第9の実施形態に係わる蒸発器の断面構成図である。
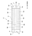
【図12】 従来の2パス型蒸発器の断面図である。
【図13】 従来の2パス型蒸発器の平面図である。
【図14】 従来の3パス型蒸発器の断面図である。
【図15】 従来の3パス型蒸発器の平面図である。
【符号の説明】
10 凝縮器
12 蒸発器
13 圧縮機
14 容器
15 伝熱管
16 水室(空間部)
17、19 仕切り板
18A〜18E 抜き列(空隙)
Claims (5)
- 冷媒が導入される容器と、該容器内に配設され、前記冷媒を加熱して沸騰、気化させる加熱物が流通する多数の伝熱管からなる複数の伝熱管群と、
これら伝熱管群の端部に臨ませて形成された、該伝熱管群のうち一の伝熱管群へ加熱物を供給する加熱物供給空間、二の伝熱管群から加熱物を導出する加熱物導出空間、一方の伝熱管群から隣接する他方の伝熱管群へ加熱物を折返し流通させる折返し空間を少なくともいずれか1つ有する空間部と、
該空間部内を前記供給空間、前記導出空間、前記折返し空間に応じて仕切る仕切り板とを備えている蒸発器であって、
前記複数の伝熱管群が、ほぼ鉛直方向に位置する仮想平面に沿って延在する空隙により互いに離間して配設され、前記仕切り板が、前記空隙に沿って前記空間部内の複数位置に選択的に設置可能となるように構成されていることを特徴とする蒸発器。 - 前記複数の伝熱管群が、ほぼ鉛直方向に位置する仮想平面に沿って延在する第1の空隙と、ほぼ水平方向に位置する仮想平面に沿って延在する第2の空隙とによって、鉛直方向及び水平方向に互いに離間して配設され、前記仕切り板が、前記空間部内の前記第1の空隙と第2の空隙のいずれか一方又は双方に沿う位置に連続して形成されていることを特徴とする請求項1に記載の蒸発器。
- 前記複数の伝熱管群が上下に層をなすように配設され、上方の前記伝熱管が下方の前記伝熱管よりも疎に配設されていることを特徴とする請求項1または2に記載の蒸発器。
- 前記複数の伝熱管群が上下に層をなすように配設され、さらに上方の伝熱管群が水平方向に互いに隣接して複数配設され、前記上方の伝熱管群が下方の伝熱管群より疎に配設され、前記上方の伝熱管群のうち、一の伝熱管群が該一の伝熱管群に水平方向に隣接する二の伝熱管群よりも疎に配設されていることを特徴とする請求項1または2に記載の蒸発器。
- 請求項1から4の何れかに記載の蒸発器と、気体状の冷媒を圧縮する圧縮機と、圧縮された気体状の冷媒を冷却して凝縮、液化する凝縮器と、液化された冷媒を減圧する膨張弁とを備えていることを特徴とする冷凍機。
Priority Applications (1)
| Application Number | Priority Date | Filing Date | Title |
|---|---|---|---|
| JP2002251081A JP4031684B2 (ja) | 2002-08-29 | 2002-08-29 | 蒸発器及び冷凍機 |
Applications Claiming Priority (1)
| Application Number | Priority Date | Filing Date | Title |
|---|---|---|---|
| JP2002251081A JP4031684B2 (ja) | 2002-08-29 | 2002-08-29 | 蒸発器及び冷凍機 |
Publications (2)
| Publication Number | Publication Date |
|---|---|
| JP2004092927A JP2004092927A (ja) | 2004-03-25 |
| JP4031684B2 true JP4031684B2 (ja) | 2008-01-09 |
Family
ID=32057755
Family Applications (1)
| Application Number | Title | Priority Date | Filing Date |
|---|---|---|---|
| JP2002251081A Expired - Lifetime JP4031684B2 (ja) | 2002-08-29 | 2002-08-29 | 蒸発器及び冷凍機 |
Country Status (1)
| Country | Link |
|---|---|
| JP (1) | JP4031684B2 (ja) |
Families Citing this family (5)
| Publication number | Priority date | Publication date | Assignee | Title |
|---|---|---|---|---|
| US9541314B2 (en) * | 2012-04-23 | 2017-01-10 | Daikin Applied Americas Inc. | Heat exchanger |
| JP6423221B2 (ja) * | 2014-09-25 | 2018-11-14 | 三菱重工サーマルシステムズ株式会社 | 蒸発器及び冷凍機 |
| JP6764296B2 (ja) * | 2016-04-06 | 2020-09-30 | 荏原冷熱システム株式会社 | 蒸発器 |
| CN115540373B (zh) * | 2022-09-21 | 2023-06-13 | 广州特域机电有限公司 | 一种节能型工业冷水机 |
| CN116242171B (zh) * | 2023-01-31 | 2024-03-01 | 南通星球石墨股份有限公司 | 一种碳晶冷却器 |
-
2002
- 2002-08-29 JP JP2002251081A patent/JP4031684B2/ja not_active Expired - Lifetime
Also Published As
| Publication number | Publication date |
|---|---|
| JP2004092927A (ja) | 2004-03-25 |
Similar Documents
| Publication | Publication Date | Title |
|---|---|---|
| EP1365199B1 (en) | Evaporator with mist eliminator | |
| JP7137555B2 (ja) | アクティブ/パッシブ冷却システム | |
| KR20140060353A (ko) | 증기 동력 사이클 시스템 | |
| US10910684B2 (en) | Machine temperature control device | |
| US6564572B1 (en) | Absorption refrigerator | |
| US5335519A (en) | Plant for producing cold by solid/gas reaction, reactor comprising means of cooling | |
| US4911230A (en) | Test chamber providing rapid changes of climate temperature | |
| JP3445941B2 (ja) | 多段蒸発吸収型の吸収冷温水機及びそれを備えた大温度差空調システム | |
| JP2002130867A (ja) | 冷凍機用凝縮器 | |
| JP4031684B2 (ja) | 蒸発器及び冷凍機 | |
| JP4451998B2 (ja) | 蒸発器及びこれを有する冷凍機 | |
| US6581405B2 (en) | Airconditioning system utilizing absorption chiller cell | |
| CN101240950A (zh) | 吸收冷冻机 | |
| JP4903743B2 (ja) | 吸収式冷凍機 | |
| JP3572234B2 (ja) | 蒸発器および冷凍機 | |
| JP2021027245A (ja) | 冷却装置 | |
| JPH09203573A (ja) | 製氷器 | |
| JP4508466B2 (ja) | 蒸発器及びこれを有する冷凍機 | |
| JP7102977B2 (ja) | サーモサイフォン式暖房装置 | |
| GB2314149A (en) | Thermosyphon refrigeration apparatus | |
| JP2000241044A (ja) | 吸収式冷凍機 | |
| JPH09126500A (ja) | 蓄熱式空気調和機 | |
| JP4001607B2 (ja) | スターリング冷却庫 | |
| US20240392923A1 (en) | Device and method for filling a pressurized-gas tank | |
| JP3831529B2 (ja) | 空気調和装置の氷蓄熱ユニット |
Legal Events
| Date | Code | Title | Description |
|---|---|---|---|
| A621 | Written request for application examination |
Free format text: JAPANESE INTERMEDIATE CODE: A621 Effective date: 20040319 |
|
| A977 | Report on retrieval |
Free format text: JAPANESE INTERMEDIATE CODE: A971007 Effective date: 20060906 |
|
| A131 | Notification of reasons for refusal |
Free format text: JAPANESE INTERMEDIATE CODE: A131 Effective date: 20070227 |
|
| A521 | Request for written amendment filed |
Free format text: JAPANESE INTERMEDIATE CODE: A523 Effective date: 20070326 |
|
| TRDD | Decision of grant or rejection written | ||
| A01 | Written decision to grant a patent or to grant a registration (utility model) |
Free format text: JAPANESE INTERMEDIATE CODE: A01 Effective date: 20071002 |
|
| A61 | First payment of annual fees (during grant procedure) |
Free format text: JAPANESE INTERMEDIATE CODE: A61 Effective date: 20071019 |
|
| R151 | Written notification of patent or utility model registration |
Ref document number: 4031684 Country of ref document: JP Free format text: JAPANESE INTERMEDIATE CODE: R151 |
|
| FPAY | Renewal fee payment (event date is renewal date of database) |
Free format text: PAYMENT UNTIL: 20101026 Year of fee payment: 3 |
|
| FPAY | Renewal fee payment (event date is renewal date of database) |
Free format text: PAYMENT UNTIL: 20111026 Year of fee payment: 4 |
|
| FPAY | Renewal fee payment (event date is renewal date of database) |
Free format text: PAYMENT UNTIL: 20111026 Year of fee payment: 4 |
|
| FPAY | Renewal fee payment (event date is renewal date of database) |
Free format text: PAYMENT UNTIL: 20121026 Year of fee payment: 5 |
|
| FPAY | Renewal fee payment (event date is renewal date of database) |
Free format text: PAYMENT UNTIL: 20121026 Year of fee payment: 5 |
|
| FPAY | Renewal fee payment (event date is renewal date of database) |
Free format text: PAYMENT UNTIL: 20131026 Year of fee payment: 6 |
|
| R250 | Receipt of annual fees |
Free format text: JAPANESE INTERMEDIATE CODE: R250 |
|
| EXPY | Cancellation because of completion of term |