JP4025762B2 - エンジン冷却用円板弁 - Google Patents

エンジン冷却用円板弁 Download PDF

Info

Publication number
JP4025762B2
JP4025762B2 JP2004236392A JP2004236392A JP4025762B2 JP 4025762 B2 JP4025762 B2 JP 4025762B2 JP 2004236392 A JP2004236392 A JP 2004236392A JP 2004236392 A JP2004236392 A JP 2004236392A JP 4025762 B2 JP4025762 B2 JP 4025762B2
Authority
JP
Japan
Prior art keywords
port
radiator
coolant
rotary
rotary valve
Prior art date
Legal status (The legal status is an assumption and is not a legal conclusion. Google has not performed a legal analysis and makes no representation as to the accuracy of the status listed.)
Expired - Fee Related
Application number
JP2004236392A
Other languages
English (en)
Other versions
JP2005061417A (ja
Inventor
レルクス マルク
レンジェル ペテル
ロウ ゼン
Original Assignee
ビステオン グローバル テクノロジーズ インコーポレイテッド
Priority date (The priority date is an assumption and is not a legal conclusion. Google has not performed a legal analysis and makes no representation as to the accuracy of the date listed.)
Filing date
Publication date
Application filed by ビステオン グローバル テクノロジーズ インコーポレイテッド filed Critical ビステオン グローバル テクノロジーズ インコーポレイテッド
Publication of JP2005061417A publication Critical patent/JP2005061417A/ja
Application granted granted Critical
Publication of JP4025762B2 publication Critical patent/JP4025762B2/ja
Anticipated expiration legal-status Critical
Expired - Fee Related legal-status Critical Current

Links

Images

Classifications

    • FMECHANICAL ENGINEERING; LIGHTING; HEATING; WEAPONS; BLASTING
    • F16ENGINEERING ELEMENTS AND UNITS; GENERAL MEASURES FOR PRODUCING AND MAINTAINING EFFECTIVE FUNCTIONING OF MACHINES OR INSTALLATIONS; THERMAL INSULATION IN GENERAL
    • F16KVALVES; TAPS; COCKS; ACTUATING-FLOATS; DEVICES FOR VENTING OR AERATING
    • F16K11/00Multiple-way valves, e.g. mixing valves; Pipe fittings incorporating such valves
    • F16K11/02Multiple-way valves, e.g. mixing valves; Pipe fittings incorporating such valves with all movable sealing faces moving as one unit
    • F16K11/06Multiple-way valves, e.g. mixing valves; Pipe fittings incorporating such valves with all movable sealing faces moving as one unit comprising only sliding valves, i.e. sliding closure elements
    • F16K11/072Multiple-way valves, e.g. mixing valves; Pipe fittings incorporating such valves with all movable sealing faces moving as one unit comprising only sliding valves, i.e. sliding closure elements with pivoted closure members
    • F16K11/074Multiple-way valves, e.g. mixing valves; Pipe fittings incorporating such valves with all movable sealing faces moving as one unit comprising only sliding valves, i.e. sliding closure elements with pivoted closure members with flat sealing faces
    • FMECHANICAL ENGINEERING; LIGHTING; HEATING; WEAPONS; BLASTING
    • F01MACHINES OR ENGINES IN GENERAL; ENGINE PLANTS IN GENERAL; STEAM ENGINES
    • F01PCOOLING OF MACHINES OR ENGINES IN GENERAL; COOLING OF INTERNAL-COMBUSTION ENGINES
    • F01P7/00Controlling of coolant flow
    • F01P7/14Controlling of coolant flow the coolant being liquid
    • F01P7/16Controlling of coolant flow the coolant being liquid by thermostatic control
    • F01P7/167Controlling of coolant flow the coolant being liquid by thermostatic control by adjusting the pre-set temperature according to engine parameters, e.g. engine load, engine speed
    • FMECHANICAL ENGINEERING; LIGHTING; HEATING; WEAPONS; BLASTING
    • F01MACHINES OR ENGINES IN GENERAL; ENGINE PLANTS IN GENERAL; STEAM ENGINES
    • F01PCOOLING OF MACHINES OR ENGINES IN GENERAL; COOLING OF INTERNAL-COMBUSTION ENGINES
    • F01P7/00Controlling of coolant flow
    • F01P7/14Controlling of coolant flow the coolant being liquid
    • F01P2007/146Controlling of coolant flow the coolant being liquid using valves
    • FMECHANICAL ENGINEERING; LIGHTING; HEATING; WEAPONS; BLASTING
    • F01MACHINES OR ENGINES IN GENERAL; ENGINE PLANTS IN GENERAL; STEAM ENGINES
    • F01PCOOLING OF MACHINES OR ENGINES IN GENERAL; COOLING OF INTERNAL-COMBUSTION ENGINES
    • F01P2023/00Signal processing; Details thereof
    • FMECHANICAL ENGINEERING; LIGHTING; HEATING; WEAPONS; BLASTING
    • F01MACHINES OR ENGINES IN GENERAL; ENGINE PLANTS IN GENERAL; STEAM ENGINES
    • F01PCOOLING OF MACHINES OR ENGINES IN GENERAL; COOLING OF INTERNAL-COMBUSTION ENGINES
    • F01P2023/00Signal processing; Details thereof
    • F01P2023/08Microprocessor; Microcomputer
    • FMECHANICAL ENGINEERING; LIGHTING; HEATING; WEAPONS; BLASTING
    • F01MACHINES OR ENGINES IN GENERAL; ENGINE PLANTS IN GENERAL; STEAM ENGINES
    • F01PCOOLING OF MACHINES OR ENGINES IN GENERAL; COOLING OF INTERNAL-COMBUSTION ENGINES
    • F01P2031/00Fail safe
    • F01P2031/32Deblocking of damaged thermostat
    • FMECHANICAL ENGINEERING; LIGHTING; HEATING; WEAPONS; BLASTING
    • F01MACHINES OR ENGINES IN GENERAL; ENGINE PLANTS IN GENERAL; STEAM ENGINES
    • F01PCOOLING OF MACHINES OR ENGINES IN GENERAL; COOLING OF INTERNAL-COMBUSTION ENGINES
    • F01P2060/00Cooling circuits using auxiliaries
    • F01P2060/04Lubricant cooler
    • FMECHANICAL ENGINEERING; LIGHTING; HEATING; WEAPONS; BLASTING
    • F01MACHINES OR ENGINES IN GENERAL; ENGINE PLANTS IN GENERAL; STEAM ENGINES
    • F01PCOOLING OF MACHINES OR ENGINES IN GENERAL; COOLING OF INTERNAL-COMBUSTION ENGINES
    • F01P2060/00Cooling circuits using auxiliaries
    • F01P2060/08Cabin heater

Landscapes

  • Engineering & Computer Science (AREA)
  • General Engineering & Computer Science (AREA)
  • Mechanical Engineering (AREA)
  • Chemical & Material Sciences (AREA)
  • Combustion & Propulsion (AREA)
  • Multiple-Way Valves (AREA)
  • Temperature-Responsive Valves (AREA)
  • Electrically Driven Valve-Operating Means (AREA)

Description

本発明は一般に、自動車用エンジン冷却系統に関し、特に冷却系統回路への冷却剤の流れを分配して制御するマルチポート弁に関する。
内燃機関(以下、「エンジン」とも言う)の従来型冷却系統は、エンジンブロック内に設けられた冷却剤回路、ラジエータ、ファン、ヒータコア、ウォーターポンプ、種々のホース及びクランプを有している。これらは又、冷却剤の温度、乗客室の暖房需要及び他の要因に応動して冷却剤の流れを制御するサーモスタット及び(又は)種々の弁を有している。
エンジンが始動後先ず最初に暖機運転(ウォーミングアップ)をしているとき、冷却剤の流れがラジエータをバイパスするようにし、したがって冷却剤及びエンジンがより迅速にウォームアップするようにすることが知られている。迅速なウォームアップにより、エンジンエミッション(排出ガス)が減少し、燃料経済が向上し、エンジン性能が向上する。と言うのは、より早い時間で最適エンジン作動温度に達することは、低温始動エミッション軽減方式に費やされる時間が短くなることを意味しているからである。ディーゼルシステムを用いる車両は、バイパス回路に代えてオイルクーラ(油冷却器)回路を用いる場合がある。
バイパス回路とラジエータ回路との間での冷却剤の流れの切換えは、従来、サーモスタットで行われている。典型的なサーモスタットは、弁を冷却剤が全てバイパス中へ差し向けられ、ラジエータには全く差し向けられない一つの位置と、冷却剤が全てラジエータ中に差し向けられ、バイパス中には差し向けられない別の位置との間で駆動するワックスモータを用いている。サーモスタットの中には、ラジエータの流れが次第に増加している間にバイパスの流れを次第に遮断するものがある。
内燃機関技術は、効率が高く且つますます複雑精巧な制御方法のエンジンを製作している。これは、迅速なウォームアップ時間及びエンジン作動温度の正確な制御の必要性を増し、これは、従来型冷却システムでは適切には達成されていない。さらに、エンジンの暖機運転の遅れによっても、乗客室での暖房の利用が遅れている。
サーモスタットから分離された受動式2方弁は、温風が乗客室で要求されているとき、冷却剤をヒータコアに差し向けるために用いられている。他の弁も又、他の車両コンポーネントの冷却又は加熱、例えば電子モジュールの冷却又は座席の加熱のために設けられる場合がある。これら追加の機能を達成することは、弁の増設だけでなく別個のアクチュエータ及びこれらを制御するのに必要な配線、ケーブル又は油圧又は空気圧(例えば真空)ラインの増設のために高価になっている。
3以上の弁ポートを調整するマルチポート回転弁が一般に知られている。米国特許第5,529,026号明細書は、エンジン冷却系統の種々の部分への一点(シングルポイント)冷却剤分流方式を開示している。しかしながら、回転弁を駆動するのにアクチュエータを利用するこのマルチポート弁及び他のマルチポート弁は、回転弁を駆動する外歯車装置及び継手を備えた外部設置式アクチュエータを必要としている。これにより、弁体の外部に追加の包装スペースが必要となる。また、もしアクチュエータを用いて弁を駆動する場合、アクチュエータの故障又は制御信号の消失が起こると、弁は、正しい冷却剤の流れを維持してシステムを冷却することができるようにデフォルト位置に戻されなければならない。これには、アクチュエータの内部又は外部に設けられていて、歯車装置を駆動ユニットから切り離すクラッチを用いなければならない場合が多い。アクチュエータの内部又は外部の何れかにクラッチを追加することにより、部品が多くなり、それにより出費が嵩み、しかも追加の収納スペースが必要となる。
さらに、マルチポート回転弁は大部分、ラジエータポートから片寄った又はずれた(同軸状に位置していない)冷却剤流れ入口ポートを有している。入口ポートとラジエータポートを同軸状にするマルチポート回転弁は、回転弁回転の遠位側の端のところにデフォルト位置を有している。
本発明は、回転歯車被動円板(ディスク)を用いるマルチポート回転弁を提供し、この回転歯車被動円板は、その内周部に設けられていて、冷却剤を複数の冷却回路に差し向けるようアクチュエータに結合された内部駆動歯車と直接接触状態にある歯車被動機構を有している。ばね機構が、アクチュエータが制御信号に対し応動しない場合、回転円板を回転円板上の回転中点のところに位置するフェールセーフ位置まで戻すために用いられる。
本発明の一特徴では、冷却剤をエンジン冷却系統に分配するために用いられるマルチポート回転弁は、冷却剤の流れをラジエータ回路に差し向けるラジエータポート、冷却剤の流れをヒータ回路に差し向けるヒータポート及び冷却剤の流れを補助回路に差し向ける補助ポートを含む複数の出口ポートを備えた弁体を有する。複数のポートは、弁体の頂面に設けられている。内歯車被動回転円板が、回転円板の内周部に設けられた歯車被動機構を備えている。回転円板の頂面には、複数のポートへの所定の流路及び流量を調整する2つの孔が設けられている。第1の孔が、ラジエータポート及びヒータポートを一緒に調整し、第2の孔が、補助ポートを調整する。アクチュエータが、制御信号に応動して回転円板を回転させて複数のポートへの冷却剤の流れを調整するようになっている。入口ポートを備えた入口ハウジング本体が、弁体と嵌合して回転円板を収納する。入口ハウジング本体の内部に設けられた駆動歯車が、冷却剤中に位置する。内部駆動歯車は、歯車被動機構によって受け入れられると共にアクチュエータに結合されている。アクチュエータによって生じたトルクが、回転円板を回転させるために内部駆動歯車に伝達される。
本発明の別の特徴では、マルチポート回転弁は、回転円板と上記入口ハウジングとの間で軸線周りに設けられたばねを更に有している。ばねは、アクチュエータがトルクを外部駆動歯車に伝達して回転円板を回転させる場合、ばねを加重状態にするために第1の端部及び第2の端部を有している。回転円板は、ばねの第1の端部と第2の端部との間で第1の距離のところに半径方向に設けられていて、加重状態にあるとき、これら端部のうち一方を円周方向に変位させるラッチを有している。入口ハウジングは、第1の端部と第2の端部との間で第2の距離のところに半径方向に設けられていて、加重状態にある場合、これら端部のうち一方の固定位置を維持する停止部を有している。回転円板は、ばねが予荷重の状態にあるとき、フェールセーフ位置を有する。回転円板は、アクチュエータを付勢するとフェールセーフ位置から時計回り及び反時計回りに回転自在であり、ばねは、アクチュエータを消勢してフェールセーフ位置に戻すとき、アクチュエータの上記トルクに打ち勝つ。
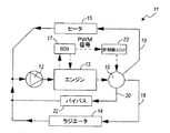
次に図面を参照し、特に図1Aを参照すると、ディーゼルエンジン用のマルチポート回転弁10を有するエンジン冷却系統11が示されている。冷却系統11は、ウォーターポンプ12、冷却剤の流れを受け入れるウォータージャケットを備えたエンジン13、ラジエータ14、ヒータコア15、オイルクーラ16、エンジン制御ユニット(ECU)17又はPCM(これは、パワートレイン制御モジュールとも呼ばれている)、及び弁制御ユニット23(例えば、電子アクチュエータ、例えばモータ)を有している。ウォーターポンプ12は、冷却剤の流れをエンジン13を通して回転弁10に圧送する。回転弁10は、エンジン13から受け取った冷却剤の流れを選択可能な割合又は流量で、エンジン13から受け取った冷却剤の流れを冷却するラジエータ14を有するラジエータ回路18、冷却剤を加熱状態で車両の乗客室を暖房するヒータコア15を含むヒータ回路に送るヒータ回路19、ディーゼル用途では冷却剤の流れをオイルクーラ16に差し向けるオイルクーラ回路を含む補助回路20に差し向ける。回転弁10は、エンジン13からのその冷却剤の流れを全て受け取り、冷却剤流路及び流量を複数の回路に個別的に又は組合せ状態で差し向ける。しかしながら、他のシステム形態全体も又、図1Bに示すように計画でき、図1Bは、ガソリンエンジン用の回転弁10を利用したエンジン冷却系統を示している。この実施形態では、補助回路20は、バイパス回路22を含む。バイパス回路22は、冷却剤を直接ウォーターポンプ12に送り戻すよう冷却剤を他のコンポーネント、例えばラジエータからバイパスさせる。ECU17は、エンジン条件、例えばエンジン作動温度をモニタし、制御信号(例えば、PWM信号)を弁位置決めの調整のために弁制御ユニット23に送る。追加の冷却系統コンポーネント、例えば冷却剤リザーバへの脱ガス回路又は他の補助熱交換器への回路に回転弁10に設けた追加のポートにより対応できる。
図2Aは、弁体26を有する回転弁10の第1の実施形態を示している。弁体26は、好ましい実施形態では、少なくとも3つの出口ポートを有している。出口ポートは、ラジエータポート30、ヒータポート32及び補助ポート34を含む。補助ポート34は、例えばディーゼル用途ではオイルクーラポート又は例えばガソリン用途ではバイパスポートであってよい。弁体26は円筒形の形をしており、出口ポートは弁体26の頂面に設けられている。ラジエータポート30及びヒータポート32は、弁体26上の第1の半径のところに位置決めされ、補助ポート34は、弁体26上の第2の半径のところに位置決めされている。内歯車被動回転円板(回転ディスク)40が、弁体26の下に位置決めされている。歯車被動機構42(図2Bに示す)が、内周部全体の周り且つ回転円板40の下側に設けられると共に回転円板40と一体成形されている。ただし、歯車被動機構42も又、回転円板に取り付けられる別個の部品であってよい。変形例として、内周部上に設けられた歯車被動機構42は、内周部全体の周りに設けられるのではなく、それぞれのポートの各々によって必要とされる冷却剤の流れを達成するのに必要な内周部の一部だけにわたり延びてもよい。フローダイバータ(分流加減器)として機能する2つの孔44,46が、回転円板40の端板45にそれぞれ半径方向位置のところで形成されている。孔は、互いに半径方向に片寄って又はずれている。第1の孔44の半径方向位置は、弁体26のラジエータポート30及びヒータポート32の配設場所と一致している。第2の孔46の半径方向位置は、弁体26への補助ポート34の配設場所と一致している。第1の孔44は、ラジエータ30とヒータポート32の両方の流量を調整し、第2の孔46は、回転円板40の回転位置に従属して補助ポート34の流量を調整する。好ましい実施形態では、第1の孔44と第2の孔46の両方は、腎臓の形をしている。しかしながら、これとは別の形状を利用してもよい。第1の孔44及び第2の孔46の周長は、冷却系統の特性及び要件で定まる。回転円板40は、その中心軸線周りに設けられたシャフト50を更に有している。弁体26と共に回転円板40を収納する入口ハウジング本体48が、入口ハウジング本体48の底面に設けられていて、エンジン13からの冷却剤の流れを受け入れる入口ポート28を有している。弁体26と入口ハウジング本体48の両方は、シャフト50を受け入れ入る中央孔を有している。入口ポート28とラジエータポート30は、互いに同軸状に整列し、その結果、冷却剤の主要な流れは、分流されず、その結果、冷却剤の流れがラジエータに送られるときの圧力降下は小さく、これに対し、冷却剤の流れが従来型エンジンサーモスタットシステムを用いてラジエータに送られる場合には合計としての圧力降下が生じる。変形例として、シャフト50は、オフセンタ状態にあってもよく、或いは回転円板は、シャフトを用いないで自由浮動状態であるが、ハウジング本体及び歯車装置によって拘束されてもよい。
コイルばね52が、回転円板40と入口ハウジング本体48との間でシャフト50に取り付けられている。ばね52は、トルクをこれに加えるとばね52を加重状態にする第1の端部54及び第2の端部56を有している。回転円板40は、第1の端部54と第2の端部56との間で第1の距離のところで半径方向に位置決めされていて、ばね52が加重状態にあるとき、これら端部のうち一方を周方向に変位させるラッチ58を有している。入口ハウジング本体48は、第1の端部54と第2の端部56との間でラッチ58から第2の距離ずれたところで半径方向に位置決めされていて、加重状態にあるときに、2つの端部のうち一方の固定位置を維持する停止部60(図2A及び図3に示す)を有している。ラッチ58及び停止部60が互いに半径方向にインライン状態にあると、ばね52は、予荷重状態にあり、回転円板40は、フェールセーフ位置にある。フェールセーフ位置は、もし万が一アクチュエータ62の故障が生じた場合、回転円板40と弁体26の整列により最大エンジン冷却及び乗客室暖房が行われるデフォルト位置である。
入口ハウジング本体48の外部に設けられたアクチュエータ62は、回転円板40を駆動するトルクを発生させるドライバ又は駆動ユニットを有している。駆動ユニットは、弁制御ユニット23からの制御信号を受け取ることができ、或いは、弁制御ユニット23を駆動ユニットに組み込んでもよく、この場合駆動ユニットは、ECU17から直接制御信号を受け取る。駆動ユニットは、回転円板40の所望の角度位置を表す制御信号、例えばアナログ又はディジタル指令信号を受け取る電気モータ(例えば、ステップ(ステッピング)モータ)で構成されたものであるのがよい。駆動ユニットは、対応の油圧又は空気圧入力で油圧の作用又は空気圧の作用で駆動されるものであってもよい。駆動歯車64が、駆動ユニットシャフトによりアクチュエータ62に結合されており、この駆動歯車は、入口ハウジング本体48の内部に設けられている。駆動歯車64は、歯車被動機構42によって受け入れられ、駆動歯車は、アクチュエータ62からのトルクを駆動歯車64に加えると、回転円板40を所望の角度位置まで時計回り又は反時計回りに回転させる。
回転円板40がフェールセーフ位置から外れている間にアクチュエータ62が故障した場合(例えば、電力低下)又は制御信号が消失した場合、ばね52のフェールセーフ位置からのばね52の変位から生じるばね52の潜在的エネルギは、アクチュエータ62を消勢するとアクチュエータ62のトルクに打ち勝って回転円板40をフェールセーフ位置に戻すことができる。回転円板40をそのフェールセーフ位置に戻すのにアクチュエータ62の所要トルクは、瞬時摩擦トルク(例えば、回転円板と密封要素との間に働く摩擦によるトルク)にモータデテントトルク(例えば、消勢状態のアクチュエータ)を加えたトルクよりも大きくなければならない。フェールセーフ位置は回転円板40の回転中点のところに位置しているので、フェールセーフ位置が回転円板40の遠位端部のところに位置している場合とは異なり、回転円板40をフェールセーフ位置に戻すのに必要な回転角は小さく、その結果、ばね52は、低いトーションばねトルクで設計できる。ばね52がフェールセーフ位置にあるとき、ばね52は、ラッチ58と停止部60との間でばね52の第1の端部54及び第2の端部56を位置決めするよう予荷重状態にあることは理解されるべきである。この予荷重状態は、ばね52の端部がラッチ58と停止部60との間に設けられているとき、回転円板40をフェールセーフ位置に押圧するために組立て工程中にばねに及ぼされる初期荷重である。フェールセーフ位置では、第1の孔44は、最大量の冷却剤が入口ポート28からラジエータポート30へ流れるよう位置決めされている。エンジンのウォームアップを最適化することはできないが、フェールセーフ位置でのこの直接的且つ最大量の流れは、エンジン13がオーバーヒートから保護されるようにし、ヒータコア15への流れは、必要ならば乗客室の暖房がウォーミング又は霜取り機能に利用できるようにする。
図2Bは、マルチポート回転弁10を下方から見た分解斜視図である。回転弁に加わる軸方向油圧力を減少させるため、複数の突出カラー66が、ラジエータポート30、ヒータポート32及び補助ポート34の周りに設けられて回転円板の出口側表面に接触するようになっている。回転円板40の入口側表面は、常時高圧を受けている。複数のカラー66により、回転円板40の出口側表面の大部分を高圧に暴露させて回転円板40の各側上における圧力分布を平坦にすることができる。例えば、回転円板40の角度位置に応じて、出口側表面の或る程度制限された表面領域が低圧に暴露されることになる。ラジエータポート30に向いた表面領域は、ラジエータポート30が閉じられると、低圧にさらされる。ヒータポート32及び補助ポート34に向いた表面領域は、ポートの両方が部分的に開いていると、中程度の圧力に暴露される。この段階では、閉鎖状態のラジエータポート30に対し強力な局所密封圧力が加わり、部分的開放状態のヒータポート32及び補助ポート34には軽度の密封圧力が加わる。ポートが一層開くと、出口側圧力は大きくなって入口側圧力に近くなり、その結果正味の密封力(入口側ポートと出口側ポートの差)が減少し、その結果生じる漏れは重要では無くなる。ポートを閉鎖し又は実質的に閉鎖すると、回転円板40の受ける密封力は最大であり、漏れは最も低い。複数のカラー66を設けない場合、回転円板の入口側表面の大部分は、低圧にさらされ、その結果、回転円板40に加わるより大きな軸方向力(大きな摩擦力を含む)が生じ、これは、回転円板40を回転させるのにより大型のアクチュエータが必要になる。突出カラーを弁ポートに設けることは、多種多様な方法で達成できる。突出カラーを同一の材料を用いて構造の一体部分として又は異種材料を用いてインサートとして成形できる。
図3は、回転円板40をデフォルト又はフェールセーフ位置で示している。ばね52は、回転円板40上の回転中点では予荷重状態にある。フェールセーフ位置では、第1の孔44は、ラジエータポート30及びヒータポート32とオーバラップしていて、冷却剤の流れ全部がラジエータ回路18及びヒータ回路19に差し向けられるようになっている。第2の孔46は、補助ポート34とオーバラップしていて、冷却剤の流れ全部が補助回路20に差し向けられるようになっている。図4は、回転円板40を反時計回りの位置に回転させた状態で示している。第1の端部54は、停止部60の結果として固定位置を維持し、他方、ラッチ58は、第2の端部56を回転させ、それにより荷重をばね52に及ぼしている。この位置では、第1の孔44は、ヒータポート32とだけオーバラップしている。冷却剤は、ヒータ回路19にのみ差し向けられ、ラジエータポート30は封止されている。第2の孔46は、補助ポート34と部分的にオーバラップしており、それにより補助回路20に差し向けられる流量を調整する。ばね52は、加重状態にあり、アクチュエータ62の故障の場合、ばね52は、回転円板40を図4に示すようにフェールセーフ位置に戻すことになる。図5は、回転円板40を時計回りの位置に回転させた状態で示している。第2の端部56の位置は、停止部60によって維持され、他方、ラッチ58は第2の端部56を回転させて加重状態にしている。第1の孔44は、ラジエータポート30とオーバラップし、ヒータポート32は封止されている。最大量の冷却剤の流れがラジエータ回路18に差し向けられる。第2の孔46は、補助ポート34と完全にオーバラップし、最大量の冷却剤流れが補助回路20に差し向けられる。図3、図4及び図5により、回転円板40はラジエータポート30又はヒータポート32を調整するためにはフェールセーフ位置から僅かな回転距離回転させるだけで済むことが示されている。その結果、回転距離が短いのでラジエータポート30とヒータポート32との間の冷却剤の流れを調整するのに時間は殆ど不要である。
図6Aは、第1の実施形態に従ってディーゼルエンジン用の回転円板40を平面図で示している。第1の孔44は、回転円板40上の第1の半径のところに位置し、第2の孔46は、第2の半径のところに位置している。流れの制御は、周方向距離及び孔とこれらとそれぞれ対応関係にあるポートのオーバラップ具合によって定まる。図6Bは、図6Aに示す回転円板40の流量を示している。この実施形態では、ディーゼル用途が用いられ、補助ポート34は、オイルクーラポートとして機能する。車両の運転時間の大部分についてオイルの冷却状態を維持するために第2の孔46に大きな周長が用いられている。
図7Aは、第2の実施形態に従ってガソリン用途用の回転円板40を平面図で示している。この実施形態では、補助ポート34は、バイパスポートとして機能する。第2の孔46には小さい周長が用いられている。と言うのは、車両が作動している間、例えば車両が最初に始動されると、エンジン13は、短い時間間隔の間だけ非冷却状態の冷却剤を必要とし、そしてエンジン温度を所望の動作温度範囲まで素早く至らせることが望ましいからである。図7Bは、図7Aに示すような回転円板40についての流量を示している。
回転円板とポートの上述の相互作用の結果として、回転弁は、孔の周長及び位置決めに対しほんの小規模な設計変更を行うだけでディーゼル用途又はガソリン用途に適合できる。ディーゼル用途とガソリン用途の両方のためのポートの各々について同一の半径を適用できる。回転円板孔の周長及び位置に小規模で且つ安価な設計変形を施すことにより種々のエンジンサイズ及び冷却系統に適合させることができる。その結果、共通の部品及び共通の製造プロセスを用いて本発明を構成して具体化できる。
さらに、内部駆動歯車機構を利用することにより、歯車駆動装置及び歯車被動機構を収納するのに必要な空間の大きさが減少する。直接歯車駆動相互連結部をマルチポート回転弁の内部室内に設けることにより、マルチポート回転弁の外部の収納スペースが節約される。内部直接歯車駆動相互連結部は、部品の数を減少させることにより設計を単純化し、その結果製造のしやすさを向上させる。さらに、フェールセーフ機構がマルチポート回転弁内に設けられているので、外部クラッチ機構又はアクチュエータ、内部クラッチ機構を備えた回転弁とは異なり、追加の外部収納スペースは不要である。
ディーゼル用途用のマルチポート回転弁を示すエンジン冷却系統のブロック図である。 ガソリン用途用のマルチポート回転弁を示すエンジン冷却系統のブロック図である。 内部コンポーネントを示すマルチポート回転弁の上から見た分解斜視図である。 内部コンポーネントを示すマルチポート回転弁の下方から見た分解斜視図である。 フェールセーフ位置を示す回転弁の底面図である。 反時計回りの方向に動作している回転弁を示す回転弁の底面図である。 時計回りの方向に動作している回転弁を示す回転弁の底面図である。 第1の実施形態のディーゼル用途用の孔を示す回転円板の底面図である。 第1の実施形態についての開閉特性を示すグラフ図である。 第2の実施形態のガソリン用途用の孔を示す回転円板の底面図である。 第2の実施形態のガソリン用途についての回転特性を示すグラフ図である。
符号の説明
10 マルチポート回転弁
11 エンジン冷却系統
12 ウォーターポンプ
18 ラジエータ回路
19 ヒータ回路
26 弁体
28 入口ポート
30 ラジエータポート
32 ヒータポート
34 補助ポート
40 内歯車被動回転円板(ディスク)
42 歯車被動機構
44,46 孔
48 ハウジング本体
52 コイルばね
58 ラッチ
60 停止部
62 アクチュエータ
64 駆動歯車

Claims (3)

  1. 冷却剤をエンジン冷却系統に分配するマルチポート回転弁であって、
    冷却剤の流れをラジエータ回路に差し向けるラジエータポート、冷却剤の流れをヒータ回路に差し向けるヒータポート及び冷却剤の流れを補助回路に差し向ける補助ポートを含む複数の出口ポートを備えた弁体を有し、前記複数の出口ポートは、前記弁体の頂面に設けられ、
    前記回転弁は、歯車被動機構を備えた内歯車被動の回転円板を更に有し、前記歯車被動機構は、前記回転円板の内周部に設けられており、前記回転円板の頂面には、前記複数の出口ポートへの所定の流路及び流量を調整する2つの孔が設けられ、第1の孔は、前記ラジエータポート及び前記ヒータポートを一緒に調整し、第2の孔は、前記補助ポートを調整し、
    前記回転弁は、制御信号に応動して前記回転円板を回転させて前記複数の出口ポートへの前記冷却剤の流れを調整するようになったアクチュエータと、
    前記回転円板を収納するよう前記弁体と嵌合し、入口ポートを備えた入口ハウジング本体と、
    前記冷却剤中に位置した状態で前記入口ハウジング本体の内部に設けられた駆動歯車とを更に有し、前記内部の駆動歯車は、前記歯車被動機構により受け入れられると共に前記アクチュエータに結合されており、前記アクチュエータによって生じたトルクが前記回転円板を回転させるために前記内部の駆動歯車に伝達されることを特徴とするマルチポート回転弁。
  2. 前記第1及び第2の孔は、前記回転円板上で半径方向に片寄って位置していることを特徴とする請求項1記載のマルチポート回転弁。
  3. 前記ラジエータポート及び前記ヒータポートは、前記弁体上の第1の半径のところに位置決めされていることを特徴とする請求項2記載のマルチポート回転弁。
JP2004236392A 2003-08-14 2004-08-16 エンジン冷却用円板弁 Expired - Fee Related JP4025762B2 (ja)

Applications Claiming Priority (1)

Application Number Priority Date Filing Date Title
US10/641,865 US6920845B2 (en) 2003-08-14 2003-08-14 Engine cooling disc valve

Publications (2)

Publication Number Publication Date
JP2005061417A JP2005061417A (ja) 2005-03-10
JP4025762B2 true JP4025762B2 (ja) 2007-12-26

Family

ID=34136461

Family Applications (1)

Application Number Title Priority Date Filing Date
JP2004236392A Expired - Fee Related JP4025762B2 (ja) 2003-08-14 2004-08-16 エンジン冷却用円板弁

Country Status (3)

Country Link
US (1) US6920845B2 (ja)
JP (1) JP4025762B2 (ja)
DE (1) DE102004038081B4 (ja)

Families Citing this family (56)

* Cited by examiner, † Cited by third party
Publication number Priority date Publication date Assignee Title
WO2005059349A1 (en) * 2003-12-15 2005-06-30 Inergy Automotive Systems Research (Société Anonyme) Electronically controlled electromechanical valve
FR2896272B1 (fr) * 2006-01-19 2012-08-17 Renault Sas Procede et dispositif de controle de la premiere ouverture d'un thermostat regulant la temperature d'un moteur a combustion interne.
US7343882B2 (en) * 2006-04-07 2008-03-18 Emp Advanced Development, Inc. Fluid valve
US7412948B2 (en) * 2006-04-07 2008-08-19 Emp Advanced Development, Llc Fluid valve
WO2007128123A1 (en) * 2006-05-08 2007-11-15 Magna Powertrain Inc. Vehicle cooling system with directed flows
FR2901004B1 (fr) * 2006-05-12 2008-11-07 Valeo Systemes Thermiques Vanne de commande et circuit comportant une telle vanne
JP5246670B2 (ja) * 2006-10-27 2013-07-24 アウディー アーゲー 特に複数の枝管を備えた内燃機関の冷却水循環経路用の回転滑り弁および電気機械組立品
DE102007058070A1 (de) * 2007-12-03 2009-06-04 Robert Bosch Gmbh Magnetisches Getriebe
US8360634B2 (en) * 2008-07-07 2013-01-29 Obidi T Yomi Normal-to-flow thermostat design
DE102008035961A1 (de) * 2008-07-31 2010-02-04 Schaeffler Kg Wärmemanagementmodul des Kühlsystems einer Verbrennungskraftmaschine
DE102009020186B4 (de) * 2009-05-06 2011-07-14 Audi Ag, 85057 Ausfallsicherer Drehsteller für einen Kühlmittelkreislauf
FR2947320B1 (fr) * 2009-06-30 2011-07-22 Valeo Systemes Thermiques Vanne de commande pour un circuit de refroidissement d'un moteur de vehicule automobile
WO2011132563A1 (ja) * 2010-04-19 2011-10-27 住友重機械工業株式会社 ロータリバルブ及びこれを用いた極低温冷凍機
WO2012127555A1 (ja) * 2011-03-18 2012-09-27 トヨタ自動車株式会社 エンジンの冷却システム
KR101394051B1 (ko) * 2012-12-17 2014-05-09 현대자동차 주식회사 차량용 엔진 냉각 시스템 및 그 제어방법
DE102013208192A1 (de) * 2013-05-03 2014-11-06 Behr Gmbh & Co. Kg Elektrisch antreibbares Ventil zur Regelung von Volumenströmen in einem Heiz- und/oder Kühlsystem eines Kraftfahrzeuges
DE112014002468T5 (de) 2013-05-17 2016-02-25 Magna Powertrain Inc. Leichtgängiges Dichtungsverfahren für ein Temperaturregelventil
DE102014007707B4 (de) 2014-05-28 2017-02-16 Kautex Textron Gmbh & Co. Kg System zur Beheizung eines Vorratsbehälters für eine wässrige Betriebsflüssigkeit in einem Kraftfahrzeug sowie Verfahren zur Beheizung des Vorratsbehälters
DE102014219252A1 (de) * 2014-09-24 2016-04-07 Volkswagen Aktiengesellschaft Brennkraftmaschine
JP6319018B2 (ja) * 2014-09-25 2018-05-09 マツダ株式会社 エンジンの冷却システム
KR101601234B1 (ko) 2014-11-18 2016-03-08 현대자동차주식회사 냉각수 제어밸브를 갖는 엔진시스템
DE102015202790B4 (de) 2015-02-17 2023-06-29 Bayerische Motoren Werke Aktiengesellschaft Verfahren zur Diagnose einer Kühlkreissteuerung in einem Fahrzeug und Kühlkreis mit einer solchen Kühlkreissteuerung
DE102015107926A1 (de) * 2015-05-20 2016-11-24 Volkswagen Aktiengesellschaft Brennkraftmaschine und Kraftfahrzeug
JP6225949B2 (ja) * 2015-06-23 2017-11-08 トヨタ自動車株式会社 内燃機関の冷却装置
DE102015213857A1 (de) * 2015-07-22 2017-01-26 Volkswagen Aktiengesellschaft Kühlmittelverteilungsmodul für einen Kühlmittelkreislauf
JP6330748B2 (ja) * 2015-07-29 2018-05-30 トヨタ自動車株式会社 内燃機関の冷却装置
JP6264348B2 (ja) * 2015-09-15 2018-01-24 トヨタ自動車株式会社 エンジン冷却装置
JP6330768B2 (ja) * 2015-09-16 2018-05-30 トヨタ自動車株式会社 エンジン冷却装置
DE112016004449A5 (de) * 2015-10-02 2018-07-26 Kendrion (Markdorf) Gmbh Kühlkreislaufanordnung sowie Verfahren zum Kühlen eines Motors
JP6493146B2 (ja) 2015-10-19 2019-04-03 株式会社デンソー 弁制御装置
CN105332784A (zh) * 2015-11-26 2016-02-17 南车戚墅堰机车有限公司 温度控制阀安装在散热器出水口的温度控制系统
FR3048260B1 (fr) * 2016-02-29 2020-03-06 Renault S.A.S Systeme de commande d'un moyen de regulation thermique d'un circuit de refroidissement d'un moteur d'un vehicule automobile et procede de commande dudit systeme de commande
KR101795279B1 (ko) * 2016-06-22 2017-11-08 현대자동차주식회사 내연기관의 분리냉각 시스템
DE102016112235A1 (de) * 2016-07-05 2018-01-11 Dr. Ing. H.C. F. Porsche Aktiengesellschaft Vorrichtung zur Regelung des Kühlmittelstroms bei Brennkraftmaschinen
JP6848257B2 (ja) * 2016-08-12 2021-03-24 いすゞ自動車株式会社 車両用の冷却システム、及びその制御方法
JP6443824B2 (ja) * 2017-02-21 2018-12-26 マツダ株式会社 エンジンの冷却装置
EP3369907B1 (en) * 2017-03-03 2019-04-10 C.R.F. Società Consortile per Azioni Cooling system for an internal combustion engine of a motor-vehicle
DE102017204553A1 (de) 2017-03-20 2018-09-20 Ros Gmbh & Co. Kg Ventilvorrichtung, ventilgehäuse, zahnsegmenteinrichtung und verfahren zum herstellen der ventilvorrichtung
CN110719988A (zh) 2017-06-09 2020-01-21 日立汽车系统株式会社 内燃机的冷却装置及冷却方法
US10107175B1 (en) * 2017-07-12 2018-10-23 GM Global Technology Operations LLC Valve assembly for thermal management system
KR102496255B1 (ko) * 2017-12-11 2023-02-08 현대자동차주식회사 유량제어밸브
KR102478096B1 (ko) * 2017-12-19 2022-12-19 현대자동차주식회사 유량제어밸브
US10415452B1 (en) * 2018-03-01 2019-09-17 GM Global Technology Operations LLC Exhaust gas heat recovery energy extraction strategy
WO2019230752A1 (ja) * 2018-05-31 2019-12-05 株式会社デンソー バルブ装置
JP7059947B2 (ja) * 2019-01-25 2022-04-26 トヨタ自動車株式会社 内燃機関の冷却装置
JP7127558B2 (ja) * 2019-01-25 2022-08-30 トヨタ自動車株式会社 内燃機関の冷却装置
KR20200101671A (ko) * 2019-02-20 2020-08-28 현대자동차주식회사 통합 유량제어 밸브 어셈블리 및 이를 포함하는 엔진 냉각시스템
DE102020204271A1 (de) * 2019-04-05 2020-10-08 Dana Canada Corporation Wärmetauscheranordnung mit integriertem Ventil und Druckbypass
US11293334B2 (en) * 2020-04-28 2022-04-05 Deere & Company Thermostatically controlled multi-circuit cooling system
KR102842802B1 (ko) * 2020-09-09 2025-08-05 현대자동차 주식회사 다유로 냉각수 밸브
US11913370B2 (en) * 2021-02-10 2024-02-27 Illinois Tool Works Inc. Valve assembly failsafe
CN115199778A (zh) 2021-04-13 2022-10-18 广东德昌电机有限公司 阀门
JP7661778B2 (ja) * 2021-05-13 2025-04-15 マツダ株式会社 エンジンの冷却システム
WO2024082078A1 (zh) * 2022-10-17 2024-04-25 广东德昌电机有限公司 热管理系统及其阀门
WO2024112301A1 (en) * 2022-11-22 2024-05-30 Genckaya Oemuer Yigit A heating system with a diverter valve
US12297738B1 (en) * 2024-01-08 2025-05-13 Pratt & Whitney Canada Corp. Rotary engine and cooling systems thereof

Family Cites Families (21)

* Cited by examiner, † Cited by third party
Publication number Priority date Publication date Assignee Title
US3124162A (en) * 1964-03-10 cameron
DE28568C (de) E. MAETHER und F. KREBS in Berlin Hebelübersetzung für Kondensationswasser-Ableiter mit eingeschlossener Flüssigkeit
GB1399244A (en) 1971-03-31 1975-06-25 Allen West Holding Co Ltd Circulating fluid heat-transfer system
US3889878A (en) * 1973-02-16 1975-06-17 Allen West And Company Limited Multi-way valve and position controller therefor
DE3671088D1 (de) 1986-05-23 1990-06-13 Wahler Gmbh & Co Gustav Thermostatventil fuer das kuehlmittel von brennkraftmaschinen.
US5110045A (en) * 1990-12-20 1992-05-05 Texas Instruments Incorporated Dual exhaust fluid flow control distribution apparatus
FR2672639B1 (fr) 1991-02-12 1993-06-04 Siemens Automotive Sa Procede et dispositif de commande de la position d'un papillon de reglage de la quantite d'air admise dans un moteur a combustion interne.
US5337705A (en) * 1993-07-06 1994-08-16 Lane Christopher K High performance coolant system with manifold for large diesel engines
DE4324749A1 (de) * 1993-07-23 1995-01-26 Freudenberg Carl Fa Regelventil
DE4416039C1 (de) * 1994-05-06 1995-08-31 Freudenberg Carl Fa Regelventil
DE19651622A1 (de) * 1996-12-12 1998-06-18 Behr Gmbh & Co Drehschieber zum Steuern eines Fluids
DE19809124A1 (de) * 1998-03-04 1999-09-16 Daimler Chrysler Ag Steuervorrichtung für den Kühl- und Heizungskreislauf einer Brennkraftmaschine
US5950576A (en) * 1998-06-30 1999-09-14 Siemens Canada Limited Proportional coolant valve
DE19834575C5 (de) 1998-07-31 2009-05-20 Valeo Klimasysteme Gmbh Drehschieberventil
DE19849492B4 (de) * 1998-10-27 2005-12-22 Daimlerchrysler Ag Steuervorrichtung für einen Kühlkreislauf einer Brennkraftmaschine
DE19932313A1 (de) * 1999-07-10 2001-01-18 Daimler Chrysler Ag Steuervorrichtung für den Kühl- und Heizungskreislauf einer Brennkraftmaschine
US6424346B1 (en) 1999-07-15 2002-07-23 Tera Recon, Inc. Method and apparatus for mapping samples in a rendering pipeline
US6289913B1 (en) * 1999-12-22 2001-09-18 Eaton Corporation Servo motor operated rotary bypass valve
DE10053699B4 (de) * 2000-10-25 2010-11-11 Behr Thermot-Tronik Gmbh Regelventil
FR2817011B1 (fr) * 2000-11-17 2006-07-21 Coutier Moulage Gen Ind Dispositif de distribution et de regulation d'un fluide
US6539899B1 (en) * 2002-02-11 2003-04-01 Visteon Global Technologies, Inc. Rotary valve for single-point coolant diversion in engine cooling system

Also Published As

Publication number Publication date
JP2005061417A (ja) 2005-03-10
US20050034688A1 (en) 2005-02-17
DE102004038081B4 (de) 2006-05-11
US6920845B2 (en) 2005-07-26
DE102004038081A1 (de) 2005-03-17

Similar Documents

Publication Publication Date Title
JP4025762B2 (ja) エンジン冷却用円板弁
US7131460B2 (en) Automotive coolant control valve
US5617815A (en) Regulating valve
US10890389B2 (en) Heat exchanger assemblies with integrated valve
US10458562B2 (en) Control valve
JP5925456B2 (ja) 冷却水制御バルブ装置
CN103075239B (zh) 用于液体冷却的内燃机的冷却回路
US6539899B1 (en) Rotary valve for single-point coolant diversion in engine cooling system
EP0978641B1 (en) Cooling control system for an internal combustion engine
EP2428759A2 (en) Oil cooler
US10036302B2 (en) Cooling device for internal combustion engine
US20010042525A1 (en) Control arrangement for a cooling circuit of an internal combustion engine
US20040026521A1 (en) Linear proportional valve
JP2012007826A (ja) 熱交換器
JP2002106347A (ja) 内燃機関の冷却水温制御装置
JP7064825B2 (ja) 流量制御弁
US20100276613A1 (en) Thermostatic device and related method
JP7488134B2 (ja) 冷却システム
WO2006078607A1 (en) Butterfly valve seal and bypass shutoff
WO2025129479A1 (en) Cooling system and thermal management valve for internal combustion engines with retarders

Legal Events

Date Code Title Description
TRDD Decision of grant or rejection written
A01 Written decision to grant a patent or to grant a registration (utility model)

Free format text: JAPANESE INTERMEDIATE CODE: A01

Effective date: 20070925

A61 First payment of annual fees (during grant procedure)

Free format text: JAPANESE INTERMEDIATE CODE: A61

Effective date: 20071005

R150 Certificate of patent or registration of utility model

Ref document number: 4025762

Country of ref document: JP

Free format text: JAPANESE INTERMEDIATE CODE: R150

Free format text: JAPANESE INTERMEDIATE CODE: R150

FPAY Renewal fee payment (event date is renewal date of database)

Free format text: PAYMENT UNTIL: 20101012

Year of fee payment: 3

FPAY Renewal fee payment (event date is renewal date of database)

Free format text: PAYMENT UNTIL: 20111012

Year of fee payment: 4

R250 Receipt of annual fees

Free format text: JAPANESE INTERMEDIATE CODE: R250

FPAY Renewal fee payment (event date is renewal date of database)

Free format text: PAYMENT UNTIL: 20111012

Year of fee payment: 4

FPAY Renewal fee payment (event date is renewal date of database)

Free format text: PAYMENT UNTIL: 20121012

Year of fee payment: 5

R250 Receipt of annual fees

Free format text: JAPANESE INTERMEDIATE CODE: R250

FPAY Renewal fee payment (event date is renewal date of database)

Free format text: PAYMENT UNTIL: 20131012

Year of fee payment: 6

R250 Receipt of annual fees

Free format text: JAPANESE INTERMEDIATE CODE: R250

S111 Request for change of ownership or part of ownership

Free format text: JAPANESE INTERMEDIATE CODE: R313113

R350 Written notification of registration of transfer

Free format text: JAPANESE INTERMEDIATE CODE: R350

R250 Receipt of annual fees

Free format text: JAPANESE INTERMEDIATE CODE: R250

R250 Receipt of annual fees

Free format text: JAPANESE INTERMEDIATE CODE: R250

R250 Receipt of annual fees

Free format text: JAPANESE INTERMEDIATE CODE: R250

S533 Written request for registration of change of name

Free format text: JAPANESE INTERMEDIATE CODE: R313533

R350 Written notification of registration of transfer

Free format text: JAPANESE INTERMEDIATE CODE: R350

R250 Receipt of annual fees

Free format text: JAPANESE INTERMEDIATE CODE: R250

R250 Receipt of annual fees

Free format text: JAPANESE INTERMEDIATE CODE: R250

R250 Receipt of annual fees

Free format text: JAPANESE INTERMEDIATE CODE: R250

R250 Receipt of annual fees

Free format text: JAPANESE INTERMEDIATE CODE: R250

R250 Receipt of annual fees

Free format text: JAPANESE INTERMEDIATE CODE: R250

R250 Receipt of annual fees

Free format text: JAPANESE INTERMEDIATE CODE: R250

R250 Receipt of annual fees

Free format text: JAPANESE INTERMEDIATE CODE: R250

LAPS Cancellation because of no payment of annual fees