JP3910751B2 - 半導体ウェーハの高温高圧処理装置 - Google Patents
半導体ウェーハの高温高圧処理装置 Download PDFInfo
- Publication number
- JP3910751B2 JP3910751B2 JP07211599A JP7211599A JP3910751B2 JP 3910751 B2 JP3910751 B2 JP 3910751B2 JP 07211599 A JP07211599 A JP 07211599A JP 7211599 A JP7211599 A JP 7211599A JP 3910751 B2 JP3910751 B2 JP 3910751B2
- Authority
- JP
- Japan
- Prior art keywords
- pressure
- wafer
- gas
- temperature
- heater
- Prior art date
- Legal status (The legal status is an assumption and is not a legal conclusion. Google has not performed a legal analysis and makes no representation as to the accuracy of the status listed.)
- Expired - Fee Related
Links
- 235000012431 wafers Nutrition 0.000 title claims description 151
- 239000004065 semiconductor Substances 0.000 title claims description 46
- 238000009931 pascalization Methods 0.000 title claims description 25
- 238000012545 processing Methods 0.000 claims description 77
- 238000012546 transfer Methods 0.000 claims description 18
- 239000006185 dispersion Substances 0.000 claims description 15
- 239000000428 dust Substances 0.000 claims description 14
- 239000000463 material Substances 0.000 claims description 9
- 238000010438 heat treatment Methods 0.000 claims description 7
- 230000000903 blocking effect Effects 0.000 claims description 5
- 238000009413 insulation Methods 0.000 claims description 5
- 238000007599 discharging Methods 0.000 claims description 4
- 239000007789 gas Substances 0.000 description 99
- 238000000034 method Methods 0.000 description 37
- XKRFYHLGVUSROY-UHFFFAOYSA-N Argon Chemical compound [Ar] XKRFYHLGVUSROY-UHFFFAOYSA-N 0.000 description 12
- 239000011261 inert gas Substances 0.000 description 12
- 238000004519 manufacturing process Methods 0.000 description 11
- 239000002245 particle Substances 0.000 description 11
- 229910052751 metal Inorganic materials 0.000 description 10
- 239000002184 metal Substances 0.000 description 10
- 238000009826 distribution Methods 0.000 description 9
- 230000003647 oxidation Effects 0.000 description 8
- 238000007254 oxidation reaction Methods 0.000 description 8
- 229910052786 argon Inorganic materials 0.000 description 6
- 238000011109 contamination Methods 0.000 description 6
- 238000009776 industrial production Methods 0.000 description 6
- 239000007800 oxidant agent Substances 0.000 description 6
- 230000001590 oxidative effect Effects 0.000 description 6
- 238000005240 physical vapour deposition Methods 0.000 description 6
- QVGXLLKOCUKJST-UHFFFAOYSA-N atomic oxygen Chemical compound [O] QVGXLLKOCUKJST-UHFFFAOYSA-N 0.000 description 5
- 239000001301 oxygen Substances 0.000 description 5
- 229910052760 oxygen Inorganic materials 0.000 description 5
- 238000002156 mixing Methods 0.000 description 4
- 230000005855 radiation Effects 0.000 description 4
- 238000001816 cooling Methods 0.000 description 3
- 230000000694 effects Effects 0.000 description 3
- 230000017525 heat dissipation Effects 0.000 description 3
- 238000009434 installation Methods 0.000 description 3
- 239000011148 porous material Substances 0.000 description 3
- 238000002791 soaking Methods 0.000 description 3
- XLYOFNOQVPJJNP-UHFFFAOYSA-N water Substances O XLYOFNOQVPJJNP-UHFFFAOYSA-N 0.000 description 3
- RYGMFSIKBFXOCR-UHFFFAOYSA-N Copper Chemical compound [Cu] RYGMFSIKBFXOCR-UHFFFAOYSA-N 0.000 description 2
- 229910052782 aluminium Inorganic materials 0.000 description 2
- XAGFODPZIPBFFR-UHFFFAOYSA-N aluminium Chemical compound [Al] XAGFODPZIPBFFR-UHFFFAOYSA-N 0.000 description 2
- 239000000919 ceramic Substances 0.000 description 2
- 229910052802 copper Inorganic materials 0.000 description 2
- 239000010949 copper Substances 0.000 description 2
- 238000009713 electroplating Methods 0.000 description 2
- 239000011810 insulating material Substances 0.000 description 2
- 239000000843 powder Substances 0.000 description 2
- 229910000838 Al alloy Inorganic materials 0.000 description 1
- 229910000881 Cu alloy Inorganic materials 0.000 description 1
- PNEYBMLMFCGWSK-UHFFFAOYSA-N aluminium oxide Inorganic materials [O-2].[O-2].[O-2].[Al+3].[Al+3] PNEYBMLMFCGWSK-UHFFFAOYSA-N 0.000 description 1
- 238000000137 annealing Methods 0.000 description 1
- 230000015572 biosynthetic process Effects 0.000 description 1
- 230000015556 catabolic process Effects 0.000 description 1
- 238000004891 communication Methods 0.000 description 1
- 238000012790 confirmation Methods 0.000 description 1
- 230000007547 defect Effects 0.000 description 1
- 238000006731 degradation reaction Methods 0.000 description 1
- 238000013461 design Methods 0.000 description 1
- 238000011161 development Methods 0.000 description 1
- 238000010586 diagram Methods 0.000 description 1
- 238000009792 diffusion process Methods 0.000 description 1
- 230000003028 elevating effect Effects 0.000 description 1
- 238000002474 experimental method Methods 0.000 description 1
- 239000012212 insulator Substances 0.000 description 1
- 238000010030 laminating Methods 0.000 description 1
- 238000012423 maintenance Methods 0.000 description 1
- 150000002739 metals Chemical class 0.000 description 1
- 230000000149 penetrating effect Effects 0.000 description 1
- 238000007747 plating Methods 0.000 description 1
- 238000004544 sputter deposition Methods 0.000 description 1
- 238000012360 testing method Methods 0.000 description 1
- 238000004804 winding Methods 0.000 description 1
Images
Landscapes
- Container, Conveyance, Adherence, Positioning, Of Wafer (AREA)
- Internal Circuitry In Semiconductor Integrated Circuit Devices (AREA)
Description
【発明の属する技術分野】
本発明はSiウェーハに代表されるULSI半導体を高温・高圧の雰囲気下で処理するための装置に関するものであり、とくに、1枚〜25枚以下の小ロットでの半導体ウェーハを短時間で処理するための装置に関するものである。とくに、PVD法や電解メッキ法、CVD法などにより銅合金配線膜を形成したウェーハを不活性ガス圧により加圧処理するいわゆる配線膜の加圧埋込み法(高圧リフロープロセス)など、主として不活性ガスの圧力により、気孔を除去するような処理に用いられる装置に関するものである。
【0002】
【従来の技術】
半導体ウェーハの製造プロセスとしてガス圧加圧処理を含むようなプロセスの例としては、PVD法によりアルミ合金配線膜を形成したウェーハを不活性ガス圧により加圧処理するいわゆる配線膜の加圧埋込み法(高圧リフロープロセス:特開平2−205678号公報,特開平3−225829号公報,特開平7−193063号公報)が知られている。また、数10気圧レベルまでの高圧ガスを用いる半導体の処理プロセスとしては、Siウェーハの表面を酸化させて絶縁体層を形成する高圧酸化プロセスが知られている。この場合には、処理の目的が酸化であることから、圧力媒体には必然的に酸素もしくは水が混合される。
【0003】
前者の場合に用いられる装置としては、半導体ウェーハを一枚ずつPVD処理しては高圧処理を行ういわゆる枚葉式のクラスターツール型装置が公知であり、特開平7−193063号公報(当該公報の図6参照)に示すようにロック室21に装入されたウェーハをコアチャンバ内の運搬アーム22により、コアチャンバの周囲に設けられた一連の処理用モジュールに順次移動させて処理が行われる構成で、モジュールの一つとして加圧処理モジュール25が直接コアチャンバに装着されたものが提案されている(従来技術1)。この加圧モジュールのより詳細な構造の例については、同じ出願人により、特開平7−502376号公報に示すようなものが提案されている(従来技術2)。
【0004】
後者のプロセス用の装置、特に縦形のポート(ウェーハ積み上げ用治具)を用いて高圧ガス雰囲気下で処理するプロセス、としては特開平4−234119号公報に示すような装置が知られている(従来技術3)。この装置は、本発明の装置とは用途がまったく異なるものであるが、構成が似ているので公知装置の例として参考までに示す。この装置は、「圧力容器内と;圧力容器内にあって処理室を有する中空体であり、該圧力容器および該中空体がそれぞれ複数のウェーハを一単位として該圧力容器の下方にある位置から前記処理室内部の位置に移動させる際にウェーハを受け入れるための下開口部を有する前記中空体と;前記した開口部を閉鎖するために前記圧力容器に対し垂直に移動可能な動作手段と;前記処理室内に高圧の酸化剤を導入するために前記中空体に結合した手段と;前記圧力容器内に加圧した不活性ガスを導入するための手段と;前記処理室内の酸化剤を加熱するための手段と;前記処理室内でウェーハを処理したのち前記中空体を冷却するための手段と;前記圧力容器と前記中空体に結合して不活性ガスと酸化剤の圧力を等しくし、本体に結合して不活性ガスと酸化剤の圧力を等しくし、本質的に該不活性ガスを該酸化剤から隔離するたの手段と、を備えることを特徴とする半導体ウェーハの処置装置。」であり、被処理品であるウェーハは、数10枚〜百数10枚積載可能な縦形のボートに収納した状態で処理される。
【0005】
【発明が解決しようとする課題】
従来技術1,2のような枚葉式の装置については、本発明によるいわゆるバッチ式の装置とは、処理の形態が異なるため、装置の構造としての欠点よりも、処理そのものに起因する問題点の方が大きい。すなわち、ウェーハを一枚ずつ処理し、かつ同時並行的に進められるPVD処理とのサイクルタイムが同程度でなければならないという必然性から、短サイクルで、数万回/月を越えるような運転を行わねばならない。
【0006】
このために、容器の開閉部分のシール構造や材料等を始め、各部品は非常に苛酷な状況で使用されることとなり、安全性や処理の信頼性の確保はかなり困難と言わざるをえない。とくに、配線膜の加圧埋込処理を例にとれば、近年、配線膜材料が従来のAlから銅に変わりつつあり、銅配線膜を加圧埋込処理する場合には、100MPa以上、350〜400℃という低温度で処理する場合には150MPaと言った高圧力が必要となり、装置の疲労寿命の観点から、枚葉式の装置で必要とされる1,000,000回をこえるような十分な装置寿命を持たせることは設計的に困難という問題がある。
【0007】
また、従来技術3の高圧酸化装置は酸化剤を導入しなければ、不活性ガスでの運転となるが、この場合、この種の装置はもともと酸化処理が目的であるため、処理物を出し入れする際に、高圧容器内部に不可避的に入り込む空気に対する配慮はなされていない。すなわち、加圧埋込処理のようにウェーハの酸化が問題となるような処理に必要な酸素の混入、すなわち空気の混入に伴う酸素の混入に対する配慮は不要であることから一切考慮されていない。したがって、完全に不活性に近い状態で運転する、とくに酸素を含まない雰囲気で運転をしようとすると、不十分といわざるを得ない。
【0008】
以上述べたような従来技術の状況に対して、近年、ウェーハの大形化すなわち直径で8インチから12インチに変わる傾向にあり、ロット単位で管理される半導体ウェーハのロットサイズも変わる可能性が出てきている。現在の8インチウェーハを対象とした製造プロセスでは、25枚を1つのカセットに収納するのが標準であり、25枚の倍数である25枚、50枚、100枚を1ロットとした製品の品質管理が行われている。しかし、ウェーハが12インチに大形化するとこの最小単位が、25枚より小さな単位、たとえば13枚にかわることが予想されており、とくに、少量多品種にならざるを得ないロジック系の半導体はさらに小さなロットでの生産が主流となる可能性が示唆されている。このような状況から、製造装置についても、できるだけ小さなロットで、生産量に応じて柔軟な操業が可能な装置が今後の装置の形態になる可能性が強い。
【0009】
上述のウェーハを1枚ずつ処理する従来技術1,2はこのような要請に応えうるものではあるが、前工程のスパッタリング法による成膜装置と一体化しているため、他の成膜方法、たとえばメッキ法との組み合せには反って不都合である。このような要請には、前後の工程とは独立に操業可能であり、かつ生産量に応じて効率良く1枚〜10枚程度の小ロットで処理を行うような形態の装置・システムが好ましいがこのようなものは未だ提案されていない。一方、従来技術3として示したような酸化処理では、酸化現象による酸化膜の形成が時間に依存するために、小ロットでも長時間を必要とするなど課題が多い。
【0010】
このような処理時間面での制約が少ない処理に関しては、小ロットを短時間で処理して生産性を損なわないようなプロセスを構築することが可能である。金属配線膜の加圧埋め込みに代表される高温高圧ガスでの処理では、このような時間面での制約が少ないことが知られている。したがって、このような小ロットでの処理に関する要請にも対応が可能であることが要求されている。この場合、どの程度の大きさのロットまでを、いかに小さな装置で処理するかが大きな問題となる。すなわち、小さな処理容積の装置で最大限の枚数のウェーハをいかに処理するかが、重要となる。
【0011】
本発明は、かかる実情に鑑みてなされたものであって、高温高圧のガスが非常に自然対流を生じ易く、均熱化しやすいという特性に着目して、比較的小ロットで処理を行うのに適した半導体ウェーハの高温高圧処理装置を提供することを目的とする。さらには、1バッチでの半導体ウェーハの処理枚数が1〜25枚程度で、バッチ方式により高温高圧の不活性雰囲気下で処理する装置を提案するもので、とくに、処理過程やハンドリング過程における半導体ウェーハのパーティクル等による汚染など、半導体特有の技術的な問題を解決しつつ、生産性良く高圧処理を行うことを可能とするものである。
【0012】
さらにまた、品質を損なうことなく、小さな処理容積の装置に最大限の半導体ウェーハを収納して処理を行って生産性の向上と処理コストの低減を行うためのものに関する。更に具体的には、高温高圧のガスが非常に自然対流を生じ易く、均熱化しやすいという特性と、ウェーハの積み下ろしのためのウェーハ支持治具(縦形ボート)とウェーハを積み下ろしするためのロボット(移送手段)の機構及びその寸法に着目してなされたものである。
【0013】
【課題を解決するための手段】
本発明は、上記目的を達成するために以下の技術的手段を講じた。すなわち、本発明は、ウェーハ状の半導体材料を圧力容器内の処理室に装填して、高温高圧のガス雰囲気下で処理を行う半導体ウェーハの高温高圧処理装置において、下部にウェーハを出入れするための開口を有する圧力容器と、前記下部開口を開閉するために昇降自在に設けられた下蓋と、前記下蓋上にウェーハを設置・取出しするための移送手段とを備え、前記処理室内のウェーハを加熱するためのヒータが、前記下蓋とともに昇降自在となるように当該下蓋に設けられていることを特徴とする。
【0014】
半導体ウェーハの高温高圧処理装置においては、ヒータを被処理物であるウェーハの周囲を取り囲むように圧力容器に設けることもできる。特にウェーハを上下方向に積み重ねてバッチ処理を行う場合には、各ウェーハの温度分布を一定にするために、このようにヒータを設けるのが一般には好ましいとも考えられる。ところが、本発明者らは、高圧ガスの場合は、ガスが激しい自然対流現象を生じて、温度分布に偏りが生じにくいことを見出した。本発明者らは、この特性に着目して、ヒータを下蓋に設置すればよいことに想到した。
【0015】
すなわち、ヒータを下蓋に設けると、ヒータは圧力容器の下部に位置することになるが、熱による上昇流や高圧ガスによる激しい自然対流により圧力容器内の温度分布をほぼ均一にすることができ、比較的小ロットの場合に特に有効である。そして、下蓋は下方に昇降自在であり、その下蓋に設けられたヒータも下蓋とともに昇降自在であるから圧力容器の内外に装着・取出可能である。すなわち、下蓋を降ろせばヒータも一緒に圧力容器の外に取り出せることができ、圧力容器内にヒータがある場合に比べてヒータの保守点検が容易となる。
【0016】
なお、ヒータを下蓋に設ける場合、ヒータを直接下蓋に設けても良いし、他の部材を介在させて間接的に設けても良い。そして、前記ヒータは、前記下蓋上(下蓋とヒータとの間に他の部材を介在させてもよい)に略円板状に配置されていると共に、その径内外方向に分割された複数のヒータ素子から構成され、各ヒータ素子に対応する測温手段を備えて各ヒータ素子を独自に制御可能に構成するのが好ましい。この場合、温度分布が一層均一になる。
また、本発明は、前記圧力容器の上蓋は、圧力容器内の処理室に高圧ガスを導入する高圧ガス導入孔と、処理室から高圧ガスを排出する高圧ガス排出孔とをそれぞれ備え、前記処理室内には、高圧ガス導入孔から導入されたガスが当該処理室内を循環して高圧ガス排出孔に流れるための流路が形成されていることを特徴とする。さらには、複数の倒立椀状部材を間隙を設けて重ねて構成した断熱構造体が前記上蓋に設けられ、当該断熱構造体の上部中央近傍の内側に前記高圧ガス導入孔に接続されたガス分散孔が形成されているものとするのが好ましい。
【0017】
さらに、本発明では、前記下蓋には、低圧時又は圧力容器内部の真空引き時に開口してガス及び内部の粉塵を放出するためのガス排出孔が別途設けられているものとするのが好ましい。さらにまた、本発明では、ガス供給装置から前記ガス分散孔の間の流路に設置されてガスの流れを制御するための塞止弁と前記ガス分散孔との間に、粉塵を捕捉するためのフィルタが設けられているものとするのが好ましい。また、本発明では、ウェーハ状の半導体材料を圧力容器内部に装填して、高温高圧のガス雰囲気下で処理を行う半導体ウェーハの高温高圧処理装置であって、圧力容器と、当該圧力容器にウェーハを設置・取出しするための移送手段とを備えた半導体ウェーハの高温高圧処理装置において、前記圧力容器は少なくとも2以上備えられていると共に、1の移送手段がそれぞれの圧力容器に対してウェーハを設置・取出し可能に構成されているものとすることができる。かかる構成を採用することで、生産量に応じた設備を省設置面積で設置することが可能となる。
【0018】
さらに、本発明では、ウェーハ状の半導体材料を圧力容器内部に装填して、高温高圧のガス雰囲気下で処理を行う半導体ウェーハの高温高圧処理装置であって、圧力容器と、当該圧力容器にウェーハを設置・取出しするための移送手段とを備えた半導体ウェーハの高温高圧処理装置において、前記移送手段によってウェーハが移送される空間を気密性の筺体中に収納して、当該筺体内部に清浄空気を所定方向にフローさせるように構成したものとすることができる。この構成を採用することで、ウェーハの移送中におけるパーティクルによるウェーハの汚染を防止することができる。
【0019】
なお、本発明にかかる半導体ウェーハの高温高圧処理装置の最も好ましい形態としては、ウェーハ状の半導体材料を圧力容器内の処理室に装填して、高温高圧のガス雰囲気下で処理を行う半導体ウェーハの高温高圧処理装置において、下部にウェーハを出入れするための開口を有する圧力容器と、前記下部開口を開閉するために昇降自在に設けられた下蓋と、前記下蓋上にウェーハを設置・取出しするための移送手段とを備え、前記処理室内のウェーハを加熱するためのヒータが、前記下蓋とともに昇降自在となるように当該下蓋に設けられ、前記圧力容器の上蓋は、圧力容器内の処理室に高圧ガスを導入する高圧ガス導入孔と、処理室から高圧ガスを排出する高圧ガス排出孔とをそれぞれ備え、複数の倒立椀状部材を間隙を設けて重ねて構成した断熱構造体が前記上蓋に設けられ、当該断熱構造体の上部中央近傍の内側に前記高圧ガス導入孔に接続されたガス分散孔が形成されていることを特徴とする。
【0020】
好ましくは、前記処理室内には、高圧ガス導入孔から導入されたガスが当該処理室内を循環し、ヒータより下方に位置する断熱構造体の下端部を介して高圧ガス排出孔に流れるような流路が形成されているようにするとよい。
【0021】
【発明の実施の形態】
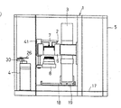
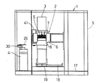
以下、図面を参照して、本発明の実施の形態にを説明する。図1及び図2は本発明による半導体用の高温高圧処理装置1の本体部分の例を示したものである。とくに、高圧ガスが高圧容器(圧力容器)2内部に充填されて高圧の状態で運転している状態を示したものである。本体部分はプレスフレーム3を含む高圧容器2、ウェーハ移載ロボット(移送手段)4、これら全体を収納する筺体5とから構成されている。
【0022】
高圧容器2は、上下に開口を有する高圧円筒6、上蓋7、下蓋8および上下の蓋7,8に作用する軸方向の荷重を支持するためのプレスフレーム3から構成されており、上蓋7および円筒部6で画成された空間S内に断熱構造体10が組込まれ、下蓋8には遮熱板及び加熱用ヒータ等の電極等を収納した金属性のシールドブロック11を介して内外2つのゾーン(ヒータ素子13a,13b)に分割されたヒータ13が絶縁材12の上に設置されている。すなわち、ヒータ13は、処理室内に位置しており、下蓋8の上方に設置されるウェーハ15の下方に位置するように設けられている。なお、ヒータ13は電気抵抗線加熱方式とされている。
【0023】
被処理品である半導体ウェーハ15を高圧容器2から出し入れする際には、プレスフレーム3をベースフレーム17に設置されたレール18上をプレスフレーム3下端に固定されたスライドブロック19により側方に移動させ、次いで下蓋8を下蓋8昇降アクチュエータにより下方に下げる。この状態を図3及び図4に示した。半導体ウェーハ15はプレスフレーム3の移動方向と反対側に設置されたウェーハハンドリング用のロボット4のロボットハンド26を下蓋8上面方向に伸ばして、露出状態となったウェーハ15を下から受けることによって保持し、ロボット4を駆動させてウェーハエレベータ上に置かれたウェーハカセット28まで移送することによって回収される。装置1へのウェーハ15の装填は、この逆の手順により行う。
【0024】
ウェーハハンドリング用のロボット4は、図1〜図4では、ロボット4のアーム30が水平面方向に回転および伸縮しかつ上下方向にも可動なものを示した。ウェーハカセット28がカセットエレベータ上に設置された場合には、このロボットアーム30の上下方向への移動量は、単にカセットからすくい上げる、もしくは降ろすという操作のみでその移動距離は数mmで充分である。カセットエレベータを用いない場合には、ウェーハ15のカセット28からの出し入れに対応できるだけの上下方向の移動距離を持ったロボット4を使用する。
【0025】
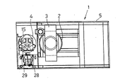
ロボットハンド26は、アーム30の先端部に設けられており、アルミ等の金属板もしくはアルミナ等のセラミックス板がフォーク形状に形成されてなる。このハンド部分26でウェーハを下からすくい上げるように持ち上げて移送する。このハンド26は、図5では2枚設けられているが、1枚でも良く、また積載時間の短縮を図るにはウェーハ積み上げのピッチと同じ間隔で3枚以上重ねたものであってもよい。図5には、装置1の本体部分を拡大して示す。高圧容器2の高圧円筒部6は内部のヒータ13により供給された熱を系外に排熱して高圧容器の温度を室温〜百数10℃に保持するための水冷ジャケット32が装着されている。同じ理由から多量の熱が高圧容器上蓋7に蓄熱されることから上蓋7にも水冷用の溝を形成することも推奨される(図示せず)。高圧容器上蓋7には高圧ガス導入孔34と、これとは独立に設けられた高圧ガス排出孔35が設けられている。
【0026】
この上蓋7の下側には、金属製の椀状部材37を間隙を設けて数艘重ね合わせた構造の断熱構造10が装着されている(詳細は後述)。また、下蓋8の上(絶縁材の上)には、前述のように半導体ウェーハ15を加熱するためのヒータ13,ウェーハ15を棚板状に支持するためのウェーハ支持具39などが配置され、下蓋8とこれら部材13,39の配置された空間との間に、熱が下蓋8に伝わるのを抑制するとともに、接続用の電極等を収納する金属性の前記シールドブロック11が配置されている。
【0027】
半導体ウェーハは、図5の左方向から出入りするロボット4のハンド26と干渉しない位置に、1〜25枚(図5では5枚)を円周上3〜4箇所で支持するような形態のウェーハ支持具39の上に載置される。図5の例では、積載されるウェーハ15の数は5枚であるが、この枚数は温度・圧力およびヒータ13の配置により決まる均熱域が上下方向に充分に確保される場合にはさらに多くの枚数を積み上げることも可能である。下蓋8全体は、電動、空気圧駆動等の下蓋アクチュエータ41により、上下方向に移動可能なように取り付けられている。図5はウェーハ15を取出しもしくは装填する位置にある状態を示しており、ウェーハ15を取出す場合には、左側のロボット4のロボットアーム30が右方向に伸張してロボットハンド26がウェーハ15の下側に入る。この状態でアームごと数mm上昇させることにより、ウェーハ15をロボットハンド26ですくい上げる。次いでロボットアーム30を左側へ移動させる。図1〜図4に示したような位置にウェーハカセット28が配置されている場合には、ロボットアーム30を90度回転させてウェーハ15をカセット28に移送する。
【0028】
図6は、装置1の本体内部の構成をさらに詳しく示したものである。前述の断熱構造体10は、処理室内において金属性の椀状部材37を間隙を設けて数層重ね合わせた構造となっており、高圧ガスの自然対流による放熱を効果的に抑制するように配慮されている。また、金属製であるからパーティクルの発生を抑制することができる。圧力媒体ガスとしてアルゴンを使用する場合には、この間隙は0.5〜3mm程度が効果的であり、輻射による放熱をも抑制するという観点からは、3層以上重ね合わせることが効果的である。図6の例では4層の構成となっている。層数を多くすればするほど自然対流、輻射の抑制効果が上げられるが、間隙を小さくすると金属製の椀状部材37同士が熱膨張差により擦れるため、これに起因する粉塵(パーティクル)の発生が問題となる。
【0029】
このような観点から、また、内部の温度が300〜500℃程度の場合には、厚さ0.5〜2mmの椀状部材37を3〜6層重ね合わせるのが現実的である。なお、この断熱構造体10は、たとえば上蓋7に設けられた高圧ガス導入孔34の容器内部側開口部にネジ込むことによって固定される。高圧ガスの導入孔34から供給される高圧ガスは断熱構造体10を貫通する孔を通じて処理室空間に導入されるが、図7において矢印で示すように、一旦ガスを水平面方向に分散させて吹き込む構造とすることが、高速加圧時の半導体ウェーハ15の移動(ウェーハの踊り)を防止する観点で好ましい。
【0030】
このガス分散孔43は円周方向に3〜6箇所設けられる。このガス分散孔43と処理室のウェーハ15との間には、ガス分散と温度の乱れを防止する観点から、図示のようにガス分散板44を配置することも推奨される。このガス分散板44には、厚さ方向に孔を設けることによってガスの流れを意図的に調整することも可能である。下蓋8上に概円板状に配置されたヒータ13は、図示のように内外に複数ゾーンに分割して、投入加熱を独立に制御することが推奨される。すなわち、リング状の複数のヒータ素子13a,13bを同軸状に配置するのが好ましい。
【0031】
その理由は、ヒータを一つにすると、ガスの自然対流に起因する放熱の関係から、ウェーハ15の中心で高温、外側で低温という温度分布の発生が不可避であり、この分布量が圧力や温度条件により変化する問題があるからである。この問題を解消するには、ヒータ13を内外複数ゾーンに分割するとともに、このゾーン数に対応した測温手段46を設けて、各ゾーンに対応した実測温度を逐次加熱電力制御装置(図示省略)に帰還させて、内外での均熱の確保を行う方法が実際的である。
【0032】
すなわち、本実施形態では、ヒータ13として、リング状の外側ヒータ13aと、この外側ヒータ13aの径内側において同軸状に配置されたリング状の内側ヒータ13bとを備え、外側ヒータ13aの近傍に設けられた外側測温手段46aと、内側ヒータ13bの近傍に設けられた内側測温手段46bとを備えている。測温手段46には、熱電対を用いるのが簡便であるが、他の測温手段を使用しても良い。
なお、図5では、ウェーハ15は5枚収納された状態を示したが、処理する温度圧力条件によっては、上下方向に温度分布が発生することもある。このような場合、5枚のウェーハ15のうち一番上および一番下をダミーのウェーハ15として中央部の3枚のみ製品を入れるという使い方も推奨される。とくに下については、ヒータ13からの直接の輻射による加熱があり、他のウェーハ15は高圧ガスの自然対流による加熱が主体となることから、一番下のウェーハ15は輻射遮蔽の機能を持ったすなわち赤外線を透過しやすいSiウェーハであれば他の材料をコーティングしてダミーとして入れることが推奨される。また、一番上については、高圧容器2からの下蓋の昇降の際等に上から粉塵(パーティクル)が落ちてくる可能性があり、これによる汚染を防止するためにもダミーとすることが推奨される。
【0033】
なお、圧力の操作すなわち高圧ガスの供給・排出について図6および図7を参照しつつ説明する。圧力媒体である高圧ガスは、ガスボンベ(通常15MPa)をガス源(図示せず)として、ガス圧縮機(図示せず)により供給される。金属配線膜中の気孔発生を防止する高圧アニール法などの場合の処理圧力は、70〜200MPaの高圧のアルゴンガス等の不活性ガスが用いられる。圧縮機と本体高圧容器2の上蓋部7に設けられた高圧ガス導入孔34との間には、通常ガスの出入りを制御(遮断・連通)させるための塞止弁48が設けられている。実際には、ガス源から高圧容器までの経路にはこれ以外の塞止弁が複数個設置されているのが通例である。
【0034】
これら塞止弁48またはガス圧縮機には金属同士もしくは金属とシール部材が擦動する部分が存在するのが常であり、Siのような半導体ウェーハの処理においては、このような擦動により発生した摩耗粉などの粉塵(パーティクル)は、微細な配線構造の短絡経路発生の原因となることから、処理室内部への混入の防止が不可欠である。本発明では、高圧容器2内部のガス分散孔43と前記塞止弁48との間にフィルタ49を配置して、前記の原因により発生した粉塵を処理室の直前で捕捉して混入を防止する。このフィルタ49としては、半導体関係では、0.01μm以上のパーティクルを捕捉できる性能のものを装着することが通例であり、本発明でも、このレベルのものを装着する。ただし、前記の摩耗粉には数μm以上の大きな粒子も含まれていることから、この0.01μm用といった微細なフィルタの圧縮機側に数μmの粒子を捕捉するフィルタを設けて2段以上にすることも推奨される。
【0035】
フィルタの位置は図6では、高圧容器上蓋7と塞止弁48の間の配管経路途中に配置されているが、ガス分散孔43のすぐ外側すなわち高圧ガス導入孔34が高圧容器2内部側に開口している部分に組込んでも良い。この場合、微細なフィルタをこの部分に、粗いフィルタは配管経路の途中といった設置の仕方がフィルタエレメントの交換などの保守の観点から好ましい。以下に実際の処理における高圧ガス等の流れについて工程順に説明する。ウェーハ15を高圧容器2内部に装填した後、通常は、内部に入った空気を、高圧ガス排出孔35もしくは図6の下蓋部8に示したガス排出孔51から真空引きすることにより排出する。
【0036】
ついで、不活性ガスを1MPa以下のレベルの圧力で供給しては排出する置換操作を行う。この場合ガスの注入は高圧ガス導入孔34から排出は高圧ガス排出孔35から行う。ついで、高圧ガス導入孔34からガスを供給する。この時、高圧ガスはガス分散孔43から水平面方向に噴出し、ガス分散板44により処理室内部に大きな局部的な流れが生じないように流入する。同時に、ヒータ13に通電して加熱が行われる。この加熱による高圧ガスの自然対流は、処理室内部のみで循環する流路を形成する。所定の温度圧力で保持が終了した後、ヒータ13への通電を遮断し、高圧ガス排出孔35に接続された配管部の塞止弁53を開としてガスを放出する。
【0037】
この時、高圧容器2内部のガスは、図7に示したように、断熱構造体10と円筒部6の隙間および断熱構造体10の上部のガス流路を通って高圧ガス排出孔35に導かれる。上記の結果として、高圧ガスは常に一方向に流れることとなり、粉塵が発生しても、半導体ウェーハに向って逆流するようなことはなく、粉塵による汚染の防止が可能となる。実際の処理においては、とくに、数気圧の状態から真空状態となる最初の真空引きの工程での粉塵の巻き上げが問題であり、図6の下蓋8に設けたガス排出孔51は低圧及び真空時のみ大きな開口状態とすることができる塞止弁55を設置することが好ましい。このような構成とすることにより粉塵によるウェーハの汚染を効果的に低減することが可能である。
【0038】
半導体ウェーハの工業的な生産工場においては、1時間に10数枚〜50枚の処理が行われる。以上説明した装置1では、300〜500℃、100〜200MPaでの処理を行う場合、1サイクルが20〜60分となる。1回に25枚装填できる構成であれば、通常の工業生産レベルとほど同じであるが、1回に1〜5枚の装填構造の場合、工業生産には能力不足となる。このような場合、以上述べた装置の高圧容器2部分を一つのモジュール60として複数台設置して、これらにウェーハ16を供給移動ロボット4もしくは移動装置を共通で1台としたシステムとすることが推奨される。
【0039】
図8はこのような考え方でシステム化した装置の例を示したものである。本例では、2つの高圧モジュール60に、4個のカセット28からウェーハ15を逐次取出して高圧モジュール60に移送する装置が組み合わされたものである。高圧モジュール60の数は生産量に応じて決定すれば良い。このような構成とすることにより生産量に応じた設備を省設置面積で設置することが可能となる。また1台の装置1を多数並べるより、カセットのハンドリングが簡素となり、全体的な生産性の向上を図ることが可能となる。
【0040】
なお、以上の説明において、本装置1ではウェーハ15をカセット28から高圧容器2へ、また高圧容器2からカセット28へ移送する際には、ウェーハ15は大気に暴露される。この過程でパーティクルによる汚染防止のためには、ウェーハ15の移動経路を気密性のケースで囲い、かつクリーンフィルタにより粉塵を除去した清浄な空気をフローさせる構造とすることが推奨される。以上述べた本発明の装置1では、図1〜4に示したように、プレスフレーム3を含めた全体を気密性の材料からなる筺体5に収納するように構成している。図示していないが、この場合、清浄な空気を供給するためのフィルタユニットはロボット4とカセットエレベータの設置された位置の天井部に設けられ、空気はこの方向からプレスフレーム3の方向へと一方向に流れるように構成される。
【0041】
以上述べたように、最近のULSIの加工の微細化に伴って、有効性が注目されつつある配線膜の加圧埋込処理など高圧の不活性ガスを利用して処理を行うに際しての、大きな課題、すなわち粉塵(パーティクル)や、雰囲気ガス中の酸素による酸化等の発生を防止する観点から、本発明の寄与するところは極めて大きい。とくに、工業生産への利用という観点から、小形軽量化が可能で、かつ生産量に応じた設備のシステム化も容易な本発明による小ロボットのバッチ式の処理装置は利用価値が高い。
【0042】
また、配線膜でいえば、既設のPVDシステムとの組合せもフレキシブルに行うことができること、高圧ガス設備を一括した部屋に収納して、安全管理を行うことができて工場の管理が容易となることなどから、配線膜の処理を中心に、ULSIの今後の工業生産の発展に資することろきわめて大きい。続いて、前記ウェーハ支持治具39のウェーハ15の積み上げピッチについて、図9〜図12を参照しつつ、述べる。なお、図9に示す装置1は、ロボット4のハンド26が1枚とされている以外は、図5に示すものと同じである。
【0043】
まず、現在使用されているSiウェーハは直径が200mmで、このような治具に積載する際のピッチとしては1/4インチ(6.35mm)となっている。これは、このような縦形に積上げて処理を行う通常の大気圧の装置、たとえば、酸化炉、拡散炉やリフロー炉では、雰囲気が大気もしくは大気圧の不活性ガスで、あまり狭いピッチで積上げるとウェーハ間の大気もしくはこれらのガス体の熱伝導が悪くまた自然対流も生じにくいため、ある程度の隙間を確保しないと、温度分布が発生して品質確保が困難になるという問題があることによっている。
【0044】
また、現状のウェーハ移載用のロボットを用いてウェーハを積み下ろしする際に、上下方向の移動量(ストローク)として2mm前後が必要なこと、ウェーハハンドリングロボットのハンドの厚さが1.5〜2mmあることもこのようなピッチとせざるをえない要因となっている。本発明者らは、アルミおよび銅配線膜をPVD法もしくは電解メッキ法で形成した後、これら配線膜中もしくはその下部にあるコンタクトホールと称する孔の残存した気孔孔を消滅させるための300〜500°、700〜200MPaのアルゴンガスを用いた高温高圧処理について実験を行った結果、とくにこのような高圧の領域では、高圧のアルゴンガスが激しい自然対流現象を生じて、ウェーハを積載する際のピッチをさらに狭くしても温度分布が発生せず、品質の確保にも問題がないことを見出した。
【0045】
図10に、この自然対流による見かけ上の熱伝導率の増大の様子を判定量的に、横軸に圧力値をとって示す。図10の縦軸のKe/Kの、Kはアルゴンガスの熱伝導率を、Keは自然対流により増大した見かけの熱伝導率を示す。この見かけの熱伝導率(Ke/K)の増大は、実際にはウェーハの寸法温度等も関係するが、概してアルゴンガスの場合には、30MPa以上の圧力で急激に増大する。実際には、以下に述べるような状況で、ウェーハを処理して温度分布を調査してこの効果を調査確認した。
【0046】
直径200mm(厚さ0.725mm)のSiウェーハの場合、隙間が1mm(ピッチで1.725mm)以上あれば自然対流がかなり激しくなり始めて、1.5mm(ピッチ2.225mm)であれば、所定の温度圧力(300〜500℃、100〜200MPaの範囲)での保持の時間が5分程度であってもウェーハ全面に亘って均熱化(中央と端部での温度差5℃以内)となる。ただし、このように隙間を狭くすると、通常のロボット4での積み下ろしが不可能であり、これについても検討を行った結果、ウェーハ15を積み上げるピッチとしては、ウェーハ15の厚さtに対して4〜8倍とし、さらに積上げ時には最上段から順番に下方に積載し、降ろす際には最下段から順番に上方に向って降ろすという操作を行うことにより、常にロボット4のハンド部26と下側のウェーハ15が干渉することなく、積み下ろしが可能である。図9の装置1においてロボット4のハンド26が1枚になっているのは、このような操作を行うためである。
【0047】
なお、この時に、通常使われているロボット4のハンド26の厚さ1.75mm(200mmウェーハの場合)で確認作業を行った。すなわち、200mmウェーハの場合、厚さ0.725mmに対してピッチが4mmで、ロボットの上下ストロークは通常の2mmとしたが、なんら問題は生じなかった。図12に、この時の幾何学的な配置等を示す。25枚積層用の縦形ボート(ウェーハ積載ピッチ=4mm)である。ウェーハ積載ピッチについてはこのテストの結果2.9mm〜5.8mm(ウェーハの厚さとの比4〜8)で問題なしと判断された。ただし、ピッチとしてはウェーハの厚さtに対して4〜7倍とするのがさらに好ましい。
【0048】
なお、ロボット4のハンド部26を剛性が大きく変形しにくいセラミックスにした場合、ハンド部の厚さをさらに薄く0.7〜1mmとすることも可能である。実際の処理に際しては、多層に配線膜が形成された後の工程になるほど、ウェーハ自体が完全な平面状状態でなくなり、かつ高温高圧処理時の昇温により熱変形を起こしやすくなることから、余裕を見たピッチとすることが推奨される。図11には、200mmウェーハを25枚処理する場合について、従来のピッチ(6.35mm)での積載高さ(図11(a))と、本発明により余裕を見てピッチ4mm(ウェーハ厚さの約5.5倍)で積載した場合の高さ(図11(b))の差を示した。数値的には、6.35mmの場合全体の高さは153mm必要なのに対し、本発明による(4mmピッチ)と97mmとなる。これは従来ピッチでは15枚しか処理できない装置で25枚の処理ができることと同じで、小型の装置での生産性を飛躍的(1.67倍)に高めることが可能となる。
【0049】
以上詳述したように、最近のULSIの加工の微細化に伴って、有効性が注目されつつある配線膜の加圧埋込処理など高圧の不活性ガスを利用して処理を行うに際しての、大きな課題の一つ、効果でかつ大型化すると大重量化してクリーンルーム内での設置が困難となる高温高圧ガス処理装置のもつ問題に関して、本実施形態に係る装置では、小型装置での処理量の増大を品質の低下を招くことなく実現した。今後ますます重要になる生産性の向上、処理コストの低減に直接効果のある本発明が、半導体ウェーハの高温高圧処理の工業生産レベルで普及するのに大きく寄与するものと期待される。
【0050】
【発明の効果】
以上、本発明によれば、比較的小さな装置で処理を行うのに適した半導体ウェーハの高温高圧処理装置が得られる。
【図面の簡単な説明】
【図1】 高圧容器がプレスフレームによって支持された状態の処理装置の平面図である。
【図2】 図1の正面図である。
【図3】 下蓋が下がった状態の処理装置の平面図である。
【図4】 図4の正面図である。
【図5】 処理装置の拡大正面図である。
【図6】 高圧容器の内部断面図である。
【図7】 高圧容器内のガスの流れを示す図である。
【図8】 高圧モジュールを2つ備えたシステム化された処理装置の平面図である。
【図9】 ロボットのハンドが1枚である処理装置の拡大正面図である。
【図10】 ガスの自然対流による見掛け熱伝導の増大を示すグラフである。
【図11】 ウェーハの積層ピッチにより積層高さが異なることを示す図であり、(a)が従来品であり、(b)が本発明の装置である。
【図12】 ウェーハの積層状態を示す図である。
【符号の説明】
1 高温高圧処理装置
2 圧力容器(高圧容器)
3 プレスフレーム
4 移送手段(ウェーハ移送ロボット)
8 下蓋
10 断熱構造体
13 ヒータ
34 高圧ガス導入孔
35 高圧ガス排出孔
37 椀状部材
39 ウェーハ支持治具
46 測温手段
48 塞止弁
49 フィルタ
Claims (7)
- ウェーハ状の半導体材料を圧力容器内の処理室に装填して、高温高圧のガス雰囲気下で処理を行う半導体ウェーハの高温高圧処理装置において、
下部にウェーハを出入れするための開口を有する圧力容器と、前記下部開口を開閉するために昇降自在に設けられた下蓋と、前記下蓋上にウェーハを設置・取出しするための移送手段とを備え、前記処理室内のウェーハを加熱するためのヒータが、前記下蓋とともに昇降自在となるように当該下蓋に設けられ、
前記圧力容器の上蓋は、圧力容器内の処理室に高圧ガスを導入する高圧ガス導入孔と、処理室から高圧ガスを排出する高圧ガス排出孔とをそれぞれ備え、
複数の倒立椀状部材を間隙を設けて重ねて構成した断熱構造体が前記上蓋に設けられ、
当該断熱構造体の上部中央近傍の内側に前記高圧ガス導入孔に接続されたガス分散孔が形成されていることを特徴とする半導体ウェーハの高温高圧処理装置。 - 前記処理室内には、高圧ガス導入孔から導入されたガスが当該処理室内を循環し、ヒータより下方に位置する断熱構造体の下端部を介して高圧ガス排出孔に流れるような流路が形成されていることを特徴とする請求項1に記載の半導体ウェーハの高温高圧処理装置。
- 前記ヒータは、前記下蓋上に略円板状に配置されていると共に、その径内外方向に分割された複数のヒータ素子から構成され、各ヒータ素子に対応する測温手段を備えて各ヒータ素子を独自に制御可能に構成されていることを特徴とする請求項1又は2に記載の半導体ウェーハの高温高圧処理装置。
- 前記下蓋には、低圧時又は圧力容器内部の真空引き時に開口してガス及び内部の粉塵を放出するためのガス排出孔が別途設けられていることを特徴とする請求項1〜3のいずれかに記載の半導体ウェーハの高温高圧処理装置。
- ガス供給装置から前記ガス分散孔の間の流路に設置されてガスの流れを制御するための塞止弁と前記ガス分散孔との間に、粉塵を捕捉するためのフィルタが設けられていることを特徴とする請求項1〜4のいずれかに記載の半導体ウェーハの高温高圧処理装置。
- 前記圧力容器は少なくとも2以上備えられていると共に、1の移送手段がそれぞれの圧力容器に対してウェーハを設置・取出し可能に構成されていることを特徴とする請求項1〜5のいずれかに記載の半導体ウェーハの高温高圧処理装置。
- 前記移送手段によってウェーハが移送される空間を気密性の筺体中に収納して、当該筺体内部に清浄空気を所定方向にフローさせるように構成されていることを特徴とする請求項1〜6のいずれかに記載の半導体ウェーハの高温高圧処理装置。
Priority Applications (4)
| Application Number | Priority Date | Filing Date | Title |
|---|---|---|---|
| JP07211599A JP3910751B2 (ja) | 1999-03-17 | 1999-03-17 | 半導体ウェーハの高温高圧処理装置 |
| TW089104106A TW517092B (en) | 1999-03-17 | 2000-03-07 | High-temperature and high-pressure treatment device |
| KR10-2000-0013278A KR100378210B1 (ko) | 1999-03-17 | 2000-03-16 | 고온 고압 처리 장치 |
| US10/142,990 US6733592B2 (en) | 1999-03-17 | 2002-05-13 | High-temperature and high-pressure treatment device |
Applications Claiming Priority (1)
| Application Number | Priority Date | Filing Date | Title |
|---|---|---|---|
| JP07211599A JP3910751B2 (ja) | 1999-03-17 | 1999-03-17 | 半導体ウェーハの高温高圧処理装置 |
Publications (2)
| Publication Number | Publication Date |
|---|---|
| JP2000269224A JP2000269224A (ja) | 2000-09-29 |
| JP3910751B2 true JP3910751B2 (ja) | 2007-04-25 |
Family
ID=13480052
Family Applications (1)
| Application Number | Title | Priority Date | Filing Date |
|---|---|---|---|
| JP07211599A Expired - Fee Related JP3910751B2 (ja) | 1999-03-17 | 1999-03-17 | 半導体ウェーハの高温高圧処理装置 |
Country Status (1)
| Country | Link |
|---|---|
| JP (1) | JP3910751B2 (ja) |
Families Citing this family (2)
| Publication number | Priority date | Publication date | Assignee | Title |
|---|---|---|---|---|
| JP4679720B2 (ja) * | 2000-12-22 | 2011-04-27 | 東京エレクトロン株式会社 | 処理装置 |
| JP5439122B2 (ja) * | 2008-12-24 | 2014-03-12 | エヌ・ティ・ティ・アドバンステクノロジ株式会社 | 加熱処理方法および加熱処理装置 |
-
1999
- 1999-03-17 JP JP07211599A patent/JP3910751B2/ja not_active Expired - Fee Related
Also Published As
| Publication number | Publication date |
|---|---|
| JP2000269224A (ja) | 2000-09-29 |
Similar Documents
| Publication | Publication Date | Title |
|---|---|---|
| JP5593472B2 (ja) | 基板処理装置および半導体デバイスの製造方法 | |
| CN101266924B (zh) | 基板处理装置和基板处理方法 | |
| US6733592B2 (en) | High-temperature and high-pressure treatment device | |
| US6285010B1 (en) | Method and device for high-temperature, high-pressure treatment of semiconductor wafer | |
| KR101970866B1 (ko) | 진공 처리 장치 | |
| JP2000208439A (ja) | 成膜装置 | |
| KR100328422B1 (ko) | 반도체 기판용 고온 및 고압처리장치 | |
| KR20100012816A (ko) | 기판 처리 장치 | |
| JP2008103707A (ja) | 基板処理装置および半導体装置の製造方法 | |
| JP2012023073A (ja) | 基板処理装置および基板の製造方法 | |
| JP3910751B2 (ja) | 半導体ウェーハの高温高圧処理装置 | |
| CN110223933B (zh) | 基板处理装置及基板处理系统 | |
| JP2009064864A (ja) | 半導体処理装置 | |
| JP2001068425A (ja) | 半導体熱処理装置及び方法 | |
| JP3445148B2 (ja) | 被処理基板の高温高圧処理装置 | |
| JP2005116565A (ja) | 基板処理装置 | |
| JP4399279B2 (ja) | 基板処理装置およびicの製造方法 | |
| JP2011198957A (ja) | 基板処理装置及び基板保持体及び半導体装置の製造方法 | |
| JP4413360B2 (ja) | 半導体ウエハの処理方法 | |
| JP2011204735A (ja) | 基板処理装置および半導体装置の製造方法 | |
| JP2010040919A (ja) | 基板処理装置 | |
| WO2024029126A1 (ja) | 基板処理装置、半導体装置の製造方法、及びプログラム | |
| WO2025158521A1 (ja) | 基板処理装置、半導体装置の製造方法及びプログラム | |
| JP2000008165A (ja) | 高圧ガスプロセス装置 | |
| JP2005093928A (ja) | 基板処理装置 |
Legal Events
| Date | Code | Title | Description |
|---|---|---|---|
| A131 | Notification of reasons for refusal |
Free format text: JAPANESE INTERMEDIATE CODE: A131 Effective date: 20061114 |
|
| A521 | Written amendment |
Free format text: JAPANESE INTERMEDIATE CODE: A523 Effective date: 20061219 |
|
| TRDD | Decision of grant or rejection written | ||
| A01 | Written decision to grant a patent or to grant a registration (utility model) |
Free format text: JAPANESE INTERMEDIATE CODE: A01 Effective date: 20070123 |
|
| A61 | First payment of annual fees (during grant procedure) |
Free format text: JAPANESE INTERMEDIATE CODE: A61 Effective date: 20070125 |
|
| R150 | Certificate of patent or registration of utility model |
Free format text: JAPANESE INTERMEDIATE CODE: R150 |
|
| FPAY | Renewal fee payment (event date is renewal date of database) |
Free format text: PAYMENT UNTIL: 20100202 Year of fee payment: 3 |
|
| FPAY | Renewal fee payment (event date is renewal date of database) |
Free format text: PAYMENT UNTIL: 20110202 Year of fee payment: 4 |
|
| FPAY | Renewal fee payment (event date is renewal date of database) |
Free format text: PAYMENT UNTIL: 20120202 Year of fee payment: 5 |
|
| FPAY | Renewal fee payment (event date is renewal date of database) |
Free format text: PAYMENT UNTIL: 20130202 Year of fee payment: 6 |
|
| LAPS | Cancellation because of no payment of annual fees |