JP3889757B2 - マイクロミラー素子、マイクロミラー素子用のパッケージ、およびそのための投射システム - Google Patents

マイクロミラー素子、マイクロミラー素子用のパッケージ、およびそのための投射システム Download PDF

Info

Publication number
JP3889757B2
JP3889757B2 JP2004257715A JP2004257715A JP3889757B2 JP 3889757 B2 JP3889757 B2 JP 3889757B2 JP 2004257715 A JP2004257715 A JP 2004257715A JP 2004257715 A JP2004257715 A JP 2004257715A JP 3889757 B2 JP3889757 B2 JP 3889757B2
Authority
JP
Japan
Prior art keywords
micromirror
projection display
display according
light
array
Prior art date
Legal status (The legal status is an assumption and is not a legal conclusion. Google has not performed a legal analysis and makes no representation as to the accuracy of the status listed.)
Expired - Fee Related
Application number
JP2004257715A
Other languages
English (en)
Other versions
JP2005099793A (ja
Inventor
アンドリュー, ジー. ヒュイバース,
フェドール イルコフ,
サティアデフ パテル,
ピーター, ダブリュー. リチャーズ,
ジョン ストックトン,
Original Assignee
リフレクティヴィティー, インク.
Priority date (The priority date is an assumption and is not a legal conclusion. Google has not performed a legal analysis and makes no representation as to the accuracy of the date listed.)
Filing date
Publication date
Priority claimed from US09/631,536 external-priority patent/US6529310B1/en
Priority claimed from US09/732,445 external-priority patent/US6523961B2/en
Application filed by リフレクティヴィティー, インク. filed Critical リフレクティヴィティー, インク.
Publication of JP2005099793A publication Critical patent/JP2005099793A/ja
Application granted granted Critical
Publication of JP3889757B2 publication Critical patent/JP3889757B2/ja
Anticipated expiration legal-status Critical
Expired - Fee Related legal-status Critical Current

Links

Images

Classifications

    • GPHYSICS
    • G02OPTICS
    • G02BOPTICAL ELEMENTS, SYSTEMS OR APPARATUS
    • G02B26/00Optical devices or arrangements for the control of light using movable or deformable optical elements
    • G02B26/08Optical devices or arrangements for the control of light using movable or deformable optical elements for controlling the direction of light
    • GPHYSICS
    • G02OPTICS
    • G02BOPTICAL ELEMENTS, SYSTEMS OR APPARATUS
    • G02B26/00Optical devices or arrangements for the control of light using movable or deformable optical elements
    • G02B26/08Optical devices or arrangements for the control of light using movable or deformable optical elements for controlling the direction of light
    • G02B26/0816Optical devices or arrangements for the control of light using movable or deformable optical elements for controlling the direction of light by means of one or more reflecting elements
    • G02B26/0833Optical devices or arrangements for the control of light using movable or deformable optical elements for controlling the direction of light by means of one or more reflecting elements the reflecting element being a micromechanical device, e.g. a MEMS mirror, DMD
    • G02B26/0841Optical devices or arrangements for the control of light using movable or deformable optical elements for controlling the direction of light by means of one or more reflecting elements the reflecting element being a micromechanical device, e.g. a MEMS mirror, DMD the reflecting element being moved or deformed by electrostatic means
    • BPERFORMING OPERATIONS; TRANSPORTING
    • B81MICROSTRUCTURAL TECHNOLOGY
    • B81BMICROSTRUCTURAL DEVICES OR SYSTEMS, e.g. MICROMECHANICAL DEVICES
    • B81B7/00Microstructural systems; Auxiliary parts of microstructural devices or systems
    • B81B7/0032Packages or encapsulation
    • B81B7/0067Packages or encapsulation for controlling the passage of optical signals through the package
    • GPHYSICS
    • G02OPTICS
    • G02BOPTICAL ELEMENTS, SYSTEMS OR APPARATUS
    • G02B26/00Optical devices or arrangements for the control of light using movable or deformable optical elements
    • G02B26/08Optical devices or arrangements for the control of light using movable or deformable optical elements for controlling the direction of light
    • G02B26/0816Optical devices or arrangements for the control of light using movable or deformable optical elements for controlling the direction of light by means of one or more reflecting elements
    • G02B26/0833Optical devices or arrangements for the control of light using movable or deformable optical elements for controlling the direction of light by means of one or more reflecting elements the reflecting element being a micromechanical device, e.g. a MEMS mirror, DMD
    • GPHYSICS
    • G03PHOTOGRAPHY; CINEMATOGRAPHY; ANALOGOUS TECHNIQUES USING WAVES OTHER THAN OPTICAL WAVES; ELECTROGRAPHY; HOLOGRAPHY
    • G03BAPPARATUS OR ARRANGEMENTS FOR TAKING PHOTOGRAPHS OR FOR PROJECTING OR VIEWING THEM; APPARATUS OR ARRANGEMENTS EMPLOYING ANALOGOUS TECHNIQUES USING WAVES OTHER THAN OPTICAL WAVES; ACCESSORIES THEREFOR
    • G03B21/00Projectors or projection-type viewers; Accessories therefor
    • G03B21/14Details
    • G03B21/28Reflectors in projection beam
    • GPHYSICS
    • G03PHOTOGRAPHY; CINEMATOGRAPHY; ANALOGOUS TECHNIQUES USING WAVES OTHER THAN OPTICAL WAVES; ELECTROGRAPHY; HOLOGRAPHY
    • G03FPHOTOMECHANICAL PRODUCTION OF TEXTURED OR PATTERNED SURFACES, e.g. FOR PRINTING, FOR PROCESSING OF SEMICONDUCTOR DEVICES; MATERIALS THEREFOR; ORIGINALS THEREFOR; APPARATUS SPECIALLY ADAPTED THEREFOR
    • G03F7/00Photomechanical, e.g. photolithographic, production of textured or patterned surfaces, e.g. printing surfaces; Materials therefor, e.g. comprising photoresists; Apparatus specially adapted therefor
    • G03F7/70Microphotolithographic exposure; Apparatus therefor
    • G03F7/70216Mask projection systems
    • G03F7/70283Mask effects on the imaging process
    • G03F7/70291Addressable masks, e.g. spatial light modulators [SLMs], digital micro-mirror devices [DMDs] or liquid crystal display [LCD] patterning devices
    • HELECTRICITY
    • H04ELECTRIC COMMUNICATION TECHNIQUE
    • H04NPICTORIAL COMMUNICATION, e.g. TELEVISION
    • H04N5/00Details of television systems
    • H04N5/74Projection arrangements for image reproduction, e.g. using eidophor
    • H04N5/7416Projection arrangements for image reproduction, e.g. using eidophor involving the use of a spatial light modulator, e.g. a light valve, controlled by a video signal
    • H04N5/7458Projection arrangements for image reproduction, e.g. using eidophor involving the use of a spatial light modulator, e.g. a light valve, controlled by a video signal the modulator being an array of deformable mirrors, e.g. digital micromirror device [DMD]
    • BPERFORMING OPERATIONS; TRANSPORTING
    • B81MICROSTRUCTURAL TECHNOLOGY
    • B81BMICROSTRUCTURAL DEVICES OR SYSTEMS, e.g. MICROMECHANICAL DEVICES
    • B81B2203/00Basic microelectromechanical structures
    • B81B2203/03Static structures
    • B81B2203/0369Static structures characterized by their profile
    • B81B2203/0384Static structures characterized by their profile sloped profile

Landscapes

  • Physics & Mathematics (AREA)
  • General Physics & Mathematics (AREA)
  • Engineering & Computer Science (AREA)
  • Microelectronics & Electronic Packaging (AREA)
  • Optics & Photonics (AREA)
  • Computer Hardware Design (AREA)
  • Signal Processing (AREA)
  • Multimedia (AREA)
  • Mechanical Light Control Or Optical Switches (AREA)
  • Projection Apparatus (AREA)
  • Micromachines (AREA)
  • Led Device Packages (AREA)
  • Prostheses (AREA)
  • Transforming Electric Information Into Light Information (AREA)
  • Hybrid Cells (AREA)

Description

本発明は、投射ディスプレイ等における可動マイクロミラーおよびマイクロミラーアレイに関するものである。ヒュイバースの米国特許第5,835,256号および第6,046,840号ならびにヒュイバース等の米国特許出願第09/617,419には、例えば光スイッチおよび/またはディスプレイ(例えば投射ディスプレイ)等において、光を誘導するためのマイクロエレクトロメカニカル装置(MEMS)が開示されているが、ここにてそれらの内容を参照により本明細書に導入する。一般的な機能として、マイクロミラー素子が可動になっており、それによるマイクロミラー素子の傾斜角によって光を様々な角度に送るものがある。従来の直視型または投射型のディスプレイシステムには、映像を形成するために反射性のマイクロミラー素子のアレイが設けてある。マイクロミラー素子は、通常、正方形であり、「オン」状態にするためのある傾斜角を有し、「オフ」状態では水平であるか、あるいは、「オン」状態と「オフ」状態の傾斜角が同一であるが正負が逆である。
切換方向における光の回折、特に集光系の受光コーン内への光の回折を最小化するために、本発明において、矩形(ここで、「矩形」とは正方形のマイクロミラーも含む)ではないマイクロミラーを提供する。ここで、回折とは、周期的な構造による光の散乱を意味し、この光は必ずしも単色または干渉性のものではない。また、本発明における照射系のコストやディスプレイユニットの大きさを最小化するために、光源をアレイの行(または列)に対して垂直に配置し、それとともに、またはその代わりに、光源をアレイの有効エリアを画定する枠の辺に対して垂直に配置する。入射光は、行(または列)および/または有効エリアの辺に対して垂直ではあるが、アレイの中の個別のマイクロミラーの側面に対して実質的に垂直ではない。垂直な側面は、入射光をマイクロミラーの切換方向に回折させ、マイクロミラーが「オフ」状態であっても、光が「オン」状態の方向に漏洩してしまう。この回折によって、マイクロミラーのコントラスト比が低下してしまうのである。
本発明は、マイクロミラーアレイのコントラスト比を最適化することで、マイクロミラーが「オフ」状態の場合に、マイクロミラーが「オン」状態の時に光が送り込まれるべき空間的領域に紛れ込む光を最小化する。より具体的に、本発明は、投射(または観視)系の受光コーン内に回折される光を最小化し、コントラスト比を改善するために、特別に配置された光源および入射光と、特別に設計されたアレイ内のマイクロミラーを有するものである。本発明の構造および設計は、アレイにおいて、マイクロミラーが周期性を有する軸上で照射された場合でも、「オフ」から「オン」状態への回折を抑え、充填率を大きくとり、マイクロミラーをぎっしりと並べることを可能にすることで、アレイ内の非反射個所を最小化する。この設計は、具体的に、マイクロミラーの回転軸に対して非平行な角状の側面を設けることでコントラスト比を最適化し、必要とする面積が比較的小さく、無駄な非反射面積を抑えながら隣接するマイクロミラーをタイル配置することを可能にするヒンジを使用することで充填率を最適化するものである。本発明の各実施例におけるマイクロミラーの構造および形状は、さらに、マイクロミラーを静電的に撓ませた場合に、隣接するマイクロミラー間のクロストークを軽減することができる。
本発明のさらなる側面は、個別のマイクロミラーが、水平または非撓み状態から非対称的に傾斜するマイクロミラーアレイである。マイクロミラーの「オフ」状態における角度を、マイクロミラーの「オン」状態における逆方向の角度より小さくすることで、a)マイクロミラーの縁から回折されて集光系に入り込む光が最小化され、b)マイクロミラーの下から散乱して集光系に入り込む光が最小化され、c)マイクロミラーの変位距離を短縮し、隣接するマイクロミラーが互いに接触する可能性を最小化することで、マイクロミラー間の隙間を小さくし、マイクロミラーアレイの充填率を上げることを可能にし、d)オンおよびオフ状態において同じ撓み角度を有するマイクロミラーアレイ構造に比べ、マイクロミラーの撓み角度を大きくすることができる。
本発明のさらなる側面は、マイクロミラーが形成される基板に対して平行ではない透光部を有するマイクロミラーアレイ用のパッケージである。透光部は、ガラス、石英またはポリマー等の適切な材料からなるものであり、透光性基板による鏡面反射を、パッケージングの透光板が平行である場合における方向とは違う方向に送る。好ましくは、鏡面反射は、照射コーンをより大きくした場合に、鏡面反射が集光系に入り込まないほど集光系から遠い場所に送られる。
本発明のさらなる側面は、オフ状態とオン状態との間で切換軸の廻りを回転することができ、観視される映像のピクセルに対応し、矩形に配置された能動マイクロミラーのアレイ、マイクロミラーのアレイに光を送るための光源であって、各マイクロミラーの少なくとも2つの側面に対して非垂直に、そして各マイクロミラーの少なくとも他の2つの側面に対して、各マイクロミラーの上面から見た場合に、平行に、光を送るように配置された光源、およびオン状態のマイクロミラーから光を受けるように配置された集光系を具備する投射システムである。
本発明のさらなる側面は、マイクロミラーのアレイであって、各マイクロミラーが、観視される映像のピクセルに対応し、凹多角形または1つ以上の非矩形の平行四辺形からなる形状を有するアレイ、マイクロミラーのアレイに光を送るための光源、およびマイクロミラーから反射された光を受けるように配置された集光系を具備する投射システムである。
本発明のまたさらなる側面は、入射光を供給するための光源、可動の反射性素子のアレイ、およびアレイからの光を投射するための集光系を具備する投射システムであって、投射システムから投射された映像が、矩形像としてターゲット上に映し出され、該映像が数千ないし数百万個のピクセルからなり、各ピクセルの形状が、凹多角形、単一の非矩形の平行四辺形または複数の非矩形の平行四辺形の組合せからなるものである投射システムである。
本発明のさらなる側面は、光源、可動のマイクロミラー素子のアレイ、および集光系を具備する投射システムであって、アレイの中の各マイクロミラー素子は、アレイの有効エリアの少なくとも1つの辺に対して実質的に平行である切換軸であってマイクロミラー素子の1つ以上の側面に対して35度ないし60度の角度を有する切換軸を有する投射システムである。
本発明のさらなる側面は、光源、および可動のマイクロミラー素子のアレイを具備する投射システムであって、各マイクロミラー素子が、入射光に対して非垂直であり、有効エリアの各辺に対して非垂直である先頭側を有することにより、入射光に対して垂直な側面を有するマイクロミラー素子に比べ、コントラスト比の2ないし10倍の増加を達成する投射システムである。
本発明のさらなる側面は、光源、集光系、および可動のマイクロミラー素子のアレイを具備する投射システムであって、図21Cに示すものと実質的に同一の回折パターンを有する投射システムである。
本発明のさらなる側面は、光源および可動マイクロミラーの矩形アレイを具備する投射システムであって、マイクロミラーが、オン状態とオフ状態間で変位することができ、オン状態で光を所定の空間的領域に反射させ、光源が、アレイによって画定される矩形の少なくとも1つの辺に対して実質的に90度に光を送るように配置され、マイクロミラーがオフ状態の時に所定の空間的領域に回折された光が実質的に入射しない投射システムである。
本発明のさらなる側面は、ターゲット上に映像を投射するための方法であって、矩形のマイクロミラーのアレイであって、アレイのマイクロミラーが、形状が多角形であり、光が多角形のすべての辺に対して90度以外の角度で入射するように配置されたアレイに対して、光が、矩形のアレイの先頭側に対して90度プラス/マイナス40度の角度で導入されるように光を送り、マイクロミラーからの光をターゲット上に投射し、そこに映像を形成することを含む方法である。
本発明のさらなる部分は、光源、集光系、および光源からの光を空間的に変調させるように配置されたマイクロミラーのアレイを具備する投射システムであって、アレイが基板上に形成され、各マイクロミラーが駆動されていない時に第1の位置にあるように設計され、各マイクロミラーが、アレイの集光系に光を導入するオン位置に変位することができ、集光系から離れた場所に光を導入するオフ位置に逆方向に変位することができ、該オン位置とオフ位置がいずれも該第1の位置と異なり、オン位置の第1の位置に対する角度が、オフ位置と異なる投射システムである。
本発明のさらなる側面は、光を空間的に変調するための方法であって、光源からの光を空間的に変調するように配置され、基板上に形成され、変調されていない時に第1の位置にあるマイクロミラーのアレイを介して集光系に光源からの光を導入し、各マイクロミラーが、アレイの集光系に光を送るオン位置に変位し、集光系から離れた場所に光を送るオフ位置に変位するようにアレイ内のマイクロミラーを変調し、該オンおよびオフ位置がいずれも該第1の位置と異なり、オン位置の第1の位置に対する角度がオフ位置の角度と異なる方法である。
本発明のさらなる側面は、基板上に形成された光マイクロメカニカル素子であって、基板に対して第1の角度のオン位置を有し、基板に対して第2の角度のオフ位置を有し,第1と第2の角度が異なり、基板に対して実質的に平行な第3の位置を有し、オンとオフ位置がいずれも光マイクロメカニカル素子が基板または該基板上に形成された構造に接触することによって決定する光マイクロメカニカル素子である。
本発明のさらなる側面は、光を変調するための方法であって、平面状の基板に設けた可撓性のマイクロミラーのアレイによって光を反射させる過程を有し、前記マイクロミラーが第1の位置または第2の位置に傾いており、該第1の位置と基板との間の角度と、該第2の位置と基板との間の角度が、実質的に異なる方法である。
本発明のさらなる部分は、光を変調するための方法であって、光源、可撓性の素子を有する平面状の光変調器アレイおよび集光系を有し、該素子が少なくとも2つの状態に選択的に配置され、第1の状態の素子が、光源からの光を第1の角度を介して集光系に送り、第2の状態の素子が、光源からの光を第2の角度を介して集光系に送り、アレイが鏡面であるかのように光を反射する第3の角度を有し、第1と第3角度間と、第2と第3角度間の差が実質的に異なる方法である。
本発明のさらなる側面は、光を供給するための光源、光の経路上に設けられた複数のマイクロミラーを有するマイクロミラーアレイ、および光がマイクロミラーアレイに入射し、アレイのマイクロミラーのオンとオフのパターンとして該複数のマイクロミラーから反射した後の光の経路上に設けられた集光系を具備し、マイクロミラーアレイが、基板を有し、各マイクロミラーが、非撓み位置からオン位置およびオフ位置に変位することができるように、マイクロミラーのアレイが基板上に支持されており、オン位置が、非撓み位置に対してオフ位置と異なる角度にある投射システムである。
本発明のさらなる側面は、映像をターゲット上に投射するための方法であって、光源からの光をマイクロミラーアレイ上に送り、各マイクロミラーをオンまたはオフ位置に変調し、オン位置において、マイクロミラーがオン位置のマイクロミラーから光を受けるように配置された集光系に光を送り、オンとオフのマイクロミラーのパターンが映像を形成し、オン位置におけるマイクロミラーの位置が、オフ位置のマイクロミラーの角度に対して異なる角度である方法である。
本発明のさらなる側面は、光を空間的に変調する方法であって、マイクロミラーのアレイ上に光を送り、マイクロミラーが第1または第2の位置に変位することができ、第1の位置においてマイクロミラーがそれに入射する光の一部を集光系に送り、各々が第2の位置にある隣接するマイクロミラー間の最小距離が、各々が第1の位置にある隣接するマイクロミラー間の最小距離より小さい方法である。
本発明のさらなる側面は、可動の反射性または回折性のマイクロメカニカル装置が形成された基板、および可動マイクロメカニカル装置を有する基板を収容するためのパッケージを具備し、前記パッケージが、基板に対して非平行な透光性窓を有する装置である。
本発明のさらなる部分は、光源、集光系、可動の反射性または回折性のマイクロメカニカル装置が形成された基板、および可動のマイクロメカニカル装置を有する基板を収容するためのパッケージを具備し、該パッケージが、基板に対して非平行な透光窓を有し、パッケージングされたマイクロメカニカル装置が、光源からの光を変調するように光の経路上に配置され、集光系が、変調された光を集めるように配置される投射システムである。
本発明のさらなる部分は、光源、マイクロメカニカル装置を有する基板と、基板に対して傾いて配置されたパッケージ内の窓を有するパッケージングされたMEMS装置、およびパッケージングされたMEMS装置によって変調された後に光源から光を受けるように配置された集光系を具備する投射器である。
本発明のさらなる側面は、マイクロミラーを製造するための方法であって、基板を設け、基板上に第1の犠牲層を形成し、パターニングし、犠牲層上に少なくとも1つのヒンジ層を形成し、該少なくとも1つのヒンジ層をパターニングすることで少なくとも1つの可撓ヒンジを形成し、第2の犠牲層を形成し、パターニングし、第2の犠牲層上に少なくとも1つのミラー層を形成し、該少なくとも1つのミラー層をパターニングすることでミラー素子を形成し、第1および第2の犠牲層を除去することでマイクロミラーを解放することを含む方法である。
また、本発明のさらなる側面は、基板、基板上の第1の柱、柱上にその基部を有する可撓ヒンジ、可撓ヒンジの端部に結合された第2の柱、および第2の柱に結合された平板を具備する光マイクロメカニカル装置である。
可動マイクロミラーやマイクロミラーアレイのマイクロファブリケーション方法は、ヒュイバースの米国特許第5,835,256号および第6,046,840号に開示されており、ここにてそれらの内容を参照により本明細書に導入する。本発明のマイクロミラーを製造するための同様の方法を図1ないし3に示す。図1は、本発明のマイクロミラーの一実施形態を示す上面図である。図1に見えるように、柱21aおよび21bが、ヒンジ120aおよび120bを介して、マイクロミラー板24を傾斜させるための電極(図示せず)を有する下部基板の上に、マイクロミラー板24を支える。また、図1に示さないが、以下に詳しく説明するとおり、マイクロミラー24を数千個あるいは数百万個も設けて、入射光を反射させることにより、映像をビューアーまたはターゲット/スクリーンに投射することができる。
マイクロミラー24およびアレイ内の他のマイクロミラーは、様々な方法によって製造することができる。図2Aないし2E(図1の2−2に沿った断面を示す)に、マイクロミラーを透光性の基板上に製造し、それを回路板に取り付ける1つの方法を示す。この方法は、2000年8月30日に出願されたイルコフ等による米国特許仮出願第60/229,246号および2000年12月7日に出願されたイルコフ等による米国特許出願第09/732,445号にさらに詳しく開示されている。この方法は、透光性の基板を以って説明するが、回路を搭載した半導体基板など、他にも適切な基板を使用することができる。単結晶シリコン等の半導体基板を使用する場合、ICプロセスにおいて、マイクロミラーの柱を第3金属層に電気的に接続し、少なくとも一部のマイクロミラーに導電性の材料を使用することが好ましい。マイクロミラーを、(別の透光性基板を介してではなく)直接回路板上に製造する方法を、以下により詳細に説明する。
図2Aに見えるように、ガラス(例えば、コーニング1737Fまたはイーグル2000)、石英、パイレックス(商標)、サファイア等の(少なくともその上にさらなる層を重ねる前までは)透光性の基板13が設けてある。透光性基板の下側に任意に遮光層を付加することで、基板を処理中に取り扱い易くすることができる。この遮光層は、透光性基板の裏側に、反応スパッタリングによって2000Åの深さまで形成されたTiN層であって、処理が終了した後に除去されるようなものであってもよい。基板の形状や寸法は任意であるが、集積回路製造施設で使用される標準のウェハの形状を有するものが好ましい。
図2Aにさらに見えるように、まずアモルファスシリコン等の犠牲層14を形成する。犠牲層は、後でマイクロメカニカル構造の材料(例えば、SiO2、ポリシリコン、ポリイミド、ノボラック等)の下から除去することができるその他の材料であってもよい。犠牲層の厚さは、可動素子/マイクロミラーの寸法や所望傾斜角によって広範囲に設定することができるが、厚さは500Åないし50,000Åであることが好ましく、約5,000Åであることが特に好ましい。犠牲層は、アモルファスシリコンの他にも、様々な種類のポリマー、フォトレジストまたはその他の有機材料(また、使用されるエッチング剤とエッチング剤に耐性を有するために選択される材料によっては、ポリシリコン、窒化シリコン、二酸化シリコン等でも可)によって形成することができる。犠牲材料を形成する前に、任意に接着促進材(例えば、SiO2またはSiN)を設けることも可能である。
基板13とその後に作成されるマイクロメカニカル構造層との間に接触部を設けるために、犠牲層に直径dの孔6を形成する。孔は、フォトレジストをスピンコートし、マスクを用いて光を当てることでレジストの可溶性を高くまたは低く(レジストがポジ型であるかネガ型であるかによる)することで形成することができる。dの寸法は、マイクロミラーおよびマイクロミラーアレイの最終的な寸法によるが、0.2ないし2ミクロン(好ましくは約0.7μm)であればよい。レジストを現像することで孔の周辺のレジストを除去した後、塩素またはその他の適切なエッチング剤(犠牲材料による)によって犠牲のアモルファスシリコンに孔をエッチングする。次いで、酸素プラズマ等によって残存するフォトレジストを除去する。犠牲層の孔の寸法は任意であるが、直径0.1ないし1.5μmのものが好ましく、直径約0.7±0.25μmのものが特に好ましい。エッチングは、ガラス/石英基板または接着促進層等の中間層に達するまで行われる。透光性基板がエッチングされるとしても、その量は2000Å未満であることが好ましい。犠牲層14が直接パターニングが可能な材料(例えば、ノボラックまたはその他の感光性フォトレジスト)からなるものであれば、犠牲層14の上にさらなるフォトレジスト層を形成し、現像する必要はない。この場合、孔6の周辺の材料を除去するようにフォトレジスト犠牲層をパターニングし、さらなる層を形成する前に任意に硬化させる。
この時点で、図2Bに見えるように、例えば化学蒸着等によって第1構造層7を形成する。材料は、LPCVD(低圧化学蒸着)またはPECVD(プラズマ化学蒸着)によって形成される窒化シリコンまたは酸化シリコンであることが好ましいが、この時点ではポリシリコン、金属または金属合金、炭化シリコンまたは有機化合物等(勿論、犠牲層やエッチング剤は使用される構造材料に適合させることが可能である)を含む任意の薄膜材料の層を形成することができる。この第1層の厚さは、可動素子の寸法や素子の所望剛性によって適切に変えることができるが、ある実施形態ではこの層の厚さは100ないし3200Åであり、より好ましくは900ないし1100Åである。図2Bに見えるように、層7は犠牲層にエッチングされた孔の中まで延びている。
図2Cに見えるように、第2層8も形成される。材料は第1層と同一(例えば、窒化シリコン)であっても異なるもの(酸化シリコン、炭化シリコン、ポリシリコン等)であってもよく、第1層のように化学蒸着によって形成することができる。第2層の厚さは第1層より大きくても小さくても構わず、可動素子、ヒンジの所望可撓性、使用する材料等によって決定される。ある実施形態では、第2層の厚さが50Åないし2100Åであり、好ましくは約900Åである。他の実施形態では、第1層がPECVDによって形成され、第2層がLPCVDによって形成される。
図2Aないし2Eに示す実施形態において、第1および第2層が何れも可動(マイクロミラー)素子および柱を画定する部分に形成される。マイクロミラー素子の所望剛性によって、マイクロミラー素子の周辺に第1および第2層のうち何れか1層のみを形成することも可能である。また、マイクロストラクチャーの全面に2つの層7、8の代りに単一の層を設けることができるが、これは基板の剛性とヒンジの可撓性のトレードオフを伴う可能性がある。また、単一の層を使用する場合、ヒンジを形成する部分を部分的にエッチングし、この部分の厚さを抑え、ヒンジの可撓性を高めることができる。また、層を2つより多く設けることで、光スイッチにおいて光線をスイッチする場合等、可動素子の寸法が大きい場合に特に望ましい積層可動素子を得ることも可能である。この層の材料は、金属と誘電体との合金や、金属と窒素、酸素または炭素との化合物(特に遷移金属)からなるものであってもよい。このような他の材料は、米国特許仮出願第60/228,007号に開示されており、ここにて参照によりその内容を本明細書に導入する。
図2Dに見えるように、反射層9も形成する。反射材料は、金、銀、チタン、アルミニウムおよびその他の金属、ならびに複数の金属の合金の何れであってもよいが、好ましくはPVDによって形成されたアルミニウムである。金属層の厚さは、50ないし2000Åであり、好ましくは約500Åである。例えばPECVDによって層9の上に形成される、10ないし1100Åの酸化シリコン層等の不活性化層(図示せず)を任意に追加することもできる。金属層9を形成するために、化学液相析出(chemical fluid deposition)や電気めっき等の他の金属析出方法を用いることもできる。層9を形成した後、フォトレジストをスピンコートおよびパターニングし、次いで適切な金属エッチング剤によって金属層をエッチングする。アルミニウム層の場合、塩素(または臭素)系の化学(例えば、Cl2および/またはBCl3(またはCl2、CCl4、Br2、CBr4等)を、任意に好ましくはArおよび/またはHe等の不活性希釈物質と共に用いたプラズマ/RIEエッチング)を使用することができる。反射層を最後に形成する必要はなく、犠牲層14上に直接形成したり、マイクロミラー素子を構成する他の層の間に形成したり、マイクロミラー素子を構成する唯一の層として形成することができることを付記しておくべきである。ただし、処理方法によっては、多くの誘電体が形成される高温度を考慮して金属層を誘電体層の後に形成することが望ましいことがある。
図2Eを参照すると、反射層に次いで、周知のエッチング剤またはエッチング剤の組合せ(使用される材料および所望の等方性による)を用いて第1および第2層7、8をエッチングすることができる。例えば、第1および第2層を、塩素系化学方法またはフッ素系(またはその他のハロゲン)化学方法を用いてエッチングする(例えば、F2、CF4、CHF3、C38、CH22、C26、SF6等、またはより一般的には上述の化合物同士またはCF4/H2やSF6/Cl2等その他のガスとの組合せ、またはCF2Cl2等複数のエッチング種を用いたガスを、何れも1つまたは複数の任意の不活性希釈物質と共に使用したプラズマ/RIEエッチング)ことができる。勿論、第1層と第2層とで異なる材料を使用した場合、各層に異なるエッチング剤(当該技術分野で周知の使用材料によるプラズマエッチング化学)を採用することも可能である。第1および第2層の前に反射層を形成した場合、エッチング化学は逆になる。また、使用材料によっては、全層を一緒にエッチングすることもできる。図2Eに示す幅eの隙間20aおよび20bは、柱21をマイクロミラー体22から離別するためのものである。
図3Aないし3Dは、同処理を別の断面(図1における3−3の断面)から見たものであり、透光性基板13上に形成された犠牲層14が示してある。犠牲層14上には構造層7が形成されている。図3Bおよび3Cに見えるように、層8および9を追加する前に層7の一部が除去される。この除去される部分は、ヒンジが形成される場所の周辺であり、ヒンジ部の可撓性を向上させるためのものである。ヒンジ部をこのように「削る」方法は、2000年1月28日に出願されたトルー等による米国特許仮出願第60/178,902号および2001年1月22日に出願されたトルー等による米国特許仮出願第09/767,632号に記載されており、ここにてその内容を参照により本明細書に導入する。層7の一部を除去した後、層8および9を追加し、上述のように層7、8および9をパターニングする。図3Dに見えるとおり、ヒンジ23の幅aは、0.1ないし10μmであり、好ましくは0.7μmである。ヒンジ23は、隙間bによって互いに離別されており、隙間cによって隣接するマイクロミラー板から離別されており、これらの寸法も0.1ないし10μm、好ましくは0.7μmである。
以上概説したプロセス過程は、様々な方法で実行することができる。例えば、ガラスのウェハ(例えばコーニング1737F、イーグル2000、石英またはサファイアのウェハ)を準備し、取り扱いの便宜のため透明基板を一時的に不透明にするために、ウェハの裏側を厚さ2000Å(材料によってはそれ以上)のCr,Ti、Al、TaN、ポリシリコンまたはTiN、またはその他の不透明コーティングで被覆する。次に、図1〜4に従って、任意の接着層(例えば、SiNX−またはSiOX等のシリコンのダングリングボンドを有する材料、またはガラス状炭素または酸化インジウムスズ等の導電性材料)を形成してから、透明ウェハ上に、アプライドマテリアルズP5000等のプラズマ化学蒸着システムによって水素化アモルファスシリコンによる犠牲材料を厚さ5000オングストロームまで(ガス=SiH4(200sccm)、Ar1500sccm、電力=100W、圧力=3.5T、温度=380℃、電極間隔=350ミル、またはガス=SiHy150sccm、Ar100sccm、電力=55W、圧力=3Torr、温度=380℃、電極間隔=350ミル、またはガス=SiH4200sccm、Ar1500sccm、電力=100W、温度=300℃、圧力=3.5T、またはこれらの設定の間のプロセス点で)析出する。また、ここにて参照により導入するヒュイバース等による米国特許第5,835,256号に記載されているとおり、犠牲材料を560℃におけるLPCVDで形成することができる。また、犠牲材料は、スパッタによって形成されるものあるいは有機材料等のシリコンを含有しない材料(後に例えばプラズマ酸素アッシュによって除去される)によるものであってもよい。aSiは、マイクロミラーをガラス基板に張り合わせるための孔を形成するようにパターニング(フォトレジストを使用し、例えばCl2、BCl3およびN2等の塩素系化学でエッチング)される。マイクロミラーの剛性を図り、マイクロミラーをガラスに接着するために、窒化シリコンの第1層をPECVD(RF電力=150W、圧力=3Torr、温度=360℃、電極間隔=570ミル、ガス=N2/SiH4/NH3(1500/25/10)、またはRF電力=127W、圧力=2.5Torr、温度=380℃、ガス=N2/SiH4/NH3(1500/25/10sccm、電極間隔=550ミル、または電力175Wや圧力3.5Torr等その他のプロセスパラメータを使用する)によって厚さ900オングストロームまで形成し、パターニング(圧力=800mT、RF電力=100ないし200W、電極間隔=0.8ないし1.1mm、ガス=CF4/CHF3/Ar(60または70/40ないし70/600ないし800sccm)、He=0ないし200sccm)することでマイクロミラーヒンジを形成する個所の周辺の窒化シリコンを除去する。次に、PECVD(RF電力=127W、圧力=2.5T、温度=380℃、ガス=N2/SiH4/NH3(1500/25/10sccm)、電極間隔=550ミル)によって、厚さ900オングストロームの窒化シリコンによる第2層を形成する。次いで、温度140ないし180℃、電力=2000W、Ar=135sccmの条件下でAlを厚さ500オングストロームまで第2の窒化シリコン層上にスパッタリングする。また、材料をAlの代わりに、アルミニウム合金(Al−Si(1%)、Al−Cu(0.5%)あるいはAlSiCuまたはAlTi)、さらには注入またはターゲットドープアルミニウムとすることもできる。アルミニウムは、P5000において塩素系の化学(圧力=40mT、電力=550W、ガス=BCl3/Cl2/N2=50/15/30sccm)によってパターニングされる。次に、SiN層がエッチング(圧力=100mT、電力=460W、ガス=CF4/N2(9/20sccm))され、プラズマにおけるH2O+O2+N2系化学によってアッシングされる。次に、残存する構造がACT洗浄(アセトン+Dlウェハ溶液)され、スピン乾燥される。(この洗浄過程は、EKCテクノロジーのEKS265フォトレジスト残渣除去剤またはその他の溶剤系の洗浄剤によって行うこともできる。)マイクロストラクチャーを有するウェハの表側にレジストをコーティングした後、裏側のTiNが、プラズマにおけるBCl3/Cl2/CF4系化学(またはCRC Handbook of Metal Etchantsに記載されているその他の金属エッチング剤)によってエッチングされるか、あるいはCMPによって研磨または研削されるか、HF等の酸性気体によって除去され、次いで第2のACT洗浄(アセトン+Dlウェハ溶液)および第2のスピン乾燥が行われる。ウェハは個別の型に単一化され、300WのCF4プラズマ(圧力=150Torr、85sccmで60秒、続いてHe、XeF2およびN2の混合物(エッチング圧力158Torr)におけるエッチングを300秒)に曝される。エッチングは、型を約400TorrのN2で満たされたチャンバに投入することで行われる。第2のエリア/チャンバにXeF2を3.5Torr、Heを38.5Torrが設けてある。2つのエリア/チャンバ間の隔壁を除くことで、XeF2、HeおよびN2の組合せによるエッチング混合物が得られる。
また、透明ウェハ(例えばコーニング1737F)を、ガラスウェハの裏側に、TiNを厚さ2000オングストロームまでコーティングする。次いで、図1〜4に従って、接着層を使用せずに、アプライドマテリアルズP5000によってガラスウェハ上に厚さ5300オングストロームの水素化アモルファスシリコンの犠牲材料を形成(電力=100W、圧力=3.5T、温度=300℃、SiH4=200sccm、Ar=1500sccm、または圧力=2.5Torr、電力=50W、温度=360℃、電極間隔=350ミル、SiH4流量=200sccm、Ar流量=2000sccm)する。aSiは、マイクロミラーをガラス基板に張り合わせるための孔を形成するようにパターニング(フォトレジストを使用し、例えばCl2、BCl3およびN2−50W等の塩素系化学でエッチング)される。マイクロミラーの剛性を図り、マイクロミラーをガラスに接着するために、窒化シリコンの第1層をPECVD(圧力=3Torr、125W、360℃、間隔=570、SiH4=25sccm、NH3=10sccm、N2=1500sccm)によって厚さ900オングストロームまで形成し、パターニング(CF4/CHF3)することでマイクロミラーヒンジを形成する個所の周辺の窒化シリコンを除去する。次に、PECVD(第1層と同条件)によって、厚さ900オングストロームの窒化シリコンによる第2層を形成する。次いで、Alを厚さ500オングストロームまで第2の窒化シリコン層上にスパッタリング(150℃)する。アルミニウムは、P5000において塩素系の化学(BCl3、Cl2、Ar)によってパターニングされる。続いて、SiN層がエッチング(CHF3、CF4)され、バレル型アッシング装置(250℃におけるO2、CH3OH)でアッシングされる。次に、残存する構造がEKCテクノロジーのEKS265フォトレジスト残渣除去剤によって洗浄される。マイクロストラクチャーを有するウェハの表側にレジストをコーティングした後、裏側のTiNが、SF6/Arプラズマによってエッチングされ、次いで第2の洗浄および第2のスピン乾燥が行われる。
ウェハ基板上に犠牲層および構造層を形成した後、ウェハは単一化され、各型がドライテック平行板RFプラズマ反応器に投入される。100sccmのCF4と30sccmのO2をプラズマチャンバに流し、約200mTorrで80秒間処理する。次に、143Torrのエッチング圧力(混合XeF2,HeおよびN2)で300秒間エッチングされる。エッチングは、型を約400TorrのN2で満たされたチャンバに入れることで行われる。第2のエリア/チャンバに5.5TorrのXeF2と20TorrのHeが含まれる。2つのエリア/チャンバ間の隔壁を除くことで、XeF2、HeおよびN2の組合せによるエッチング混合物が得られる。上述の処理は、120秒間で電力300WのCF4(150Torr、85sccm)によって平行板プラズマエッチング装置によって行うこともできる。第2(化学的、非プラズマ)エッチング過程のさらなる特徴は、1999年10月26日に出願されたパテル等による米国特許出願第09/427,841号および2000年8月28日に出願されたパテル等による米国特許出願第09/649,569号に開示されており、その内容をここにて参照により本明細書に導入する。
上述のとおり、各マイクロミラーのヒンジをマイクロミラー素子と同平面上(図3Dにおいて、マイクロミラー体は層7、8および9、マイクロミラーヒンジは層8および9)に形成することができるが、マイクロミラー素子と平行の間隔をおいた異なる平面上に、別のプロセス過程(第2の犠牲材料の形成後)の一部として形成することができる。このような重畳ヒンジは、上述の米国特許第6,046,840号の図8および9に開示されており、さらに詳しくは2000年8月3日に出願されたヒュイバース等による米国特許出願第09/631,536号に記載されており、その内容はここにて参照により導入する。図示のとおり、犠牲層が1つであっても、重畳ヒンジのように犠牲層が2つ(またはそれ以上)であっても、犠牲層は、下述のとおり、好ましくは等方性エッチング剤によって除去される。このマイクロミラーの「開放」は、上述のステップに続いてすぐ行っても、第2の基板上の回路への組込の直前に行っても構わない。回路、電極およびマイクロミラーが同一の基板上に形成されない場合、上述のように透光性基板上にマイクロミラーを形成した後、基板(例えばシリコンウェハ)の最上の金属層(例えば、第3金属)に大きい電極アレイを有する第2の基板が設けてある。図11Aに見えるように、上述のようなマイクロミラー44のアレイを有する透光性基板40が、最終層として電圧V0、VAおよびVBの電極および回路を有する第2基板60(図1に示すような、変位方向が1つだけであるマイクロミラー実施形態には、各マイクロミラーにつき1つの電極を設けることも可能)に張り合わせられる。マイクロミラー44は、スペーサ41(例えば、各マイクロミラーに隣接するフォトレジストスペーサおよび/または基板40を基板60に接着する時にエポキシ中に形成されるスペーサ)によって基板60の電極から離別されている。回路基板上の1つ以上の電極が、マイクロディスプレイのピクセル(上部透光性基板上の1つのマイクロミラー)を静電的に制御する。裏面の各電極の電圧によって、それに対応するマイクロディスプレイピクセルの光の「オン」、「オフ」が決まり、その結果、マイクロディスプレイに視認可能な画像を映し出す。裏面に関する詳細やパルス幅変調グレイスケールまたはカラー画像を生成するための方法は、リチャーズによる米国特許出願第09/564,069号に開示されており、その内容はここにて参照により導入する。第1および第2の基板の組立て過程は、上述のイルコフ等による特許出願に詳細に記載されている。ウェハの張り合わせ方法としては、接着、陽極、共晶、融合、マイクロ波、半田および熱圧着等、様々な方法によるものが知られている。
本発明におけるマイクロミラーの開放は、単一または複数のステップによるプロセスであり、そのプロセスの種類は、使用される犠牲材料の種類による。発明の一実施形態では、比較的低選択性(例えば、200:1未満、好ましくは100:1未満、より好ましくは10:1未満)の第1エッチングを行ってから、高選択性(例えば100:1以上、好ましくは200:1以上、より好ましくは1000:1以上)の第2エッチングを行う。このような二段階によるエッチングは、より詳細には2001年5月22日に出願されたパテル等による米国特許出願第60/293,092号に記載されており、その内容をここにて参照により導入する。勿論、犠牲材料によっては、他の開放方法も考えられる。例えば、犠牲層がフォトレジストまたはその他の有機材料である場合、酸素プラズマアッシングまたは超臨界流体法を使用することができる。純粋な酸素を含むプラズマから、有機物質を攻撃し、その産物としてH2O、COおよびCO2を生成するが、SiO2、AlまたはSiをエッチングしない種が得られる。また、犠牲材料がSiO2である場合、等方性の乾性エッチング剤(CHF3+O2、NF3またはSF6)を使用することができる。犠牲材料が窒化シリコンである場合、フッ素原子(例えば、CF4/O2、CHF3/O2、CH2F2またはCH3Fプラズマ)を使用して窒化シリコンの等方性エッチングを行うことができる。犠牲材料がアモルファスシリコンである場合、XeF2、BrF3またはBrCl3の形でフッ素原子を使用することができる。犠牲層がアルミニウムである場合、塩素系の化学(BCl3、CCl4、SiCl4)を使用することができる。勿論、何れのエッチング剤(および犠牲材料)も、少なくとも必要となるアンダーカットエッチングの量に基づいて選択される。
図4Aないし4Jに、マイクロミラーを作成するための他の方法を示す。図4Aに見えるように、基板30(これは、ガラス/石英基板または半導体回路基板等の任意の適切な基板であってもよい)に、犠牲材料31を析出する。任意の適切な材料を使用することができるが、エッチングされる材料と犠牲材料との間の選択性比が大きいものを使用する。犠牲材料として使用できる例として、フォトレジスト等の有機犠牲材料の他、2001年6月15日に出願されたリード等による米国特許出願第60/298,529号に記載された有機材料等がある。構造層の精確な構成によっては、アモルファスシリコンまたはPSG等の他に知られているMEMS犠牲材料を使用することもできる。犠牲材料が直接的にパターニングすることができない場合、フォトレジスト層32を追加し、現像することで1つまたは複数の開口(図4B)を形成する。次に、図4Cに見えるように、犠牲材料31に開口34をエッチングし、フォトレジスト32を除去する。図4Dに見えるように、最終的に少なくともMEMS装置(この例においてはマイクロミラー構造である)の可撓性部分を構成する(好ましくは導電性の)層35が形成される。層35は、さらに、マイクロミラーを基板に張り合わせるための柱36、さらにはマイクロミラー体の全体または一部を形成するものであってもよい。以下により詳しく説明するが、本発明の好適な実施形態において、導電層35は金属−Si、Al、B−窒化物であるが、金属としては好ましくは遷移金属、より好ましくは後周期遷移金属である。また、層35は複数の(好ましくは導電性の)層または他の種類(構造誘電体層、反射層、アンチスティックション層等)を含む複数の層のうち1つの導電層であってもよい。層35は、必ずしも導電性である必要はなく、析出処理に使用される実際の方法、ターゲット材料および雰囲気等によっては、層35を絶縁体としてもよい。
図4Eには、フォトレジスト37の追加(パターニング)と、それに続く窒化層35の部分的エッチングおよびフォトレジストの除去(図4F)が示してある。次いで、図4Gに示すように、マイクロミラー構造材料層38が形成される。この材料は、導電性であっても絶縁性であってもよく、複数の層からなるものであってもよい。材料が単一の層であれば、反射性(例えば、アルミニウムまたは金の層または金属合金の層)であることが好ましい。次に、図4Hに見えるとおり、フォトレジスト39を追加、現像し、層38を部分的に(例えば、操作中に曲げられる部分等)エッチング/除去(図4I)する。最後に、図4Jに見えるとおり、犠牲層を除去し、MEMS装置を基板上に自立したものとして開放する。図4には、基板30上またはその中に形成される回路(基板が回路基板である場合)または基板の自動取り扱いを改善するための基板30上の遮光層(基板がガラス、石英、サファイア等の透光性基板である場合)は示されていない。
図4Aないし4Jに見えるように、自立MEMS構造は、層35がMEMS装置の可撓性部分を形成する場所に作成されるが、層38は層35の可撓性によって変位する構造を形成する。図示のとおり、層38は、可動部を成すとともに、MEMS構造を基板30上に支持する柱または壁を形成する。可動素子は、層38および35(または望ましければさらなる層)の積層体、または層38のみ、または層35のみによっても形成することができる。可動および可撓素子の構成は、最終的に必要とする剛性または可撓性、最終的に必要な導電性、作成しているMEMS装置等を考慮して選択される。
図1ないし4に従って作成されるマイクロミラーは、好ましくは透光性基板上に形成され、撓みがない時に「オフ」状態となり、撓みがある時に「オン」状態となる。ただし、マイクロミラーは、マイクロミラー作動回路および電極と同基板上に形成することができる。また、マイクロミラーの「オン」状態と「オフ」状態を、何れも水平の無撓み状態以外の位置とすることも可能である。図5ないし9に示す実施形態において、マイクロミラーはマイクロミラーを動かすための電極や回路と同一の基板上に設けてある。さらに、マイクロミラーの「オン」状態と「オフ」状態が何れも撓みを伴うものであるが、その撓みの角度が「オン」と「オフ」とで異なる。図5Aないし5Gに示すように、本発明によるマイクロミラーを作成するための原基板として、回路および電極が既にその上(またはその中)に形成されている半導体基板を使用することも可能である。
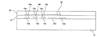
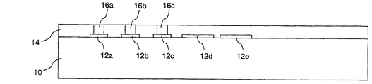
図5Aに見えるように、マイクロミラーを制御するための回路を有する半導体基板10は、典型的にはアルミニウムからなる、個別のエリア12aないし12bを形成するパターニングされた金属層(例えば、半導体プロセスにおける最後の金属層)を有する。図5Bに見えるように、その上に犠牲層14が形成される。上記の実施形態のように、犠牲材料は、隣接する構造や所望エッチング剤によって、多種の材料から選択することができる。本実施例において、犠牲材料はノボラックフォトレジストである。さらに図5Bに見えるように、ノボラックフォトレジストの標準的なパターニング方法によって犠牲材料に開口15aおよび15bが形成され、それによって金属エリア12aないし12cを接続するための開口15aないし15cが形成される。図5Cに見えるとおり、開口15aないし15cを形成した後、通常のプラグ形成方法に従ってプラグまたはその他の接続16aないし16cが形成される。例えば、CVDによってタングステン(W)を形成する場合、a)シリコン還元:2WF6+3Si→2W+3SiF4(この反応は、通常、WF6ガスを温度約300℃でウェハ表面に露出している固体シリコンの部分と反応させることで得られる)、b)水素還元:WF6+3H2→W+6HF(この処理は、通常は450℃未満の温度の減圧下で行われる)、またはc)シラン還元:2WF6+3SiH4→2W+3SiF4+6H2(この反応(約300℃におけるLPCVD)は水素反応用のW核層を形成するために使用される)の何れによるものであってもよい。プラグ16aないし16cには、他の導電材料、特に他の耐熱材料を使用することも可能である。プラグ材料の層を形成した後、犠牲層に到達するまで化学機械研磨(CMP)を行うことによって、図5Cに示すようなプラグが形成される。プラグ材料によっては、剥離を防止するためにまずライナを形成する(例えば、タングステンプラグの場合、TiN、TiWまたはTiWNのライナを、犠牲材料の孔の中のタングステンを包囲し、犠牲層の開放後にも残るようにする)ことが好ましい可能性がある。
図5Dに見えるように、導電層を形成し、パターニングすることで、それぞれプラグ16aないし16cによってその下部の金属エリア12aないし12cに電気的に接続される個別金属エリア18aないし18cが形成される。導電層は、物理蒸着や電気めっき等の適切な方法によって析出される任意の適切な材料(アルミニウム、アルミニウム合金、その他の金属の合金、導電性セラミック化合物等)によるものである。材料は、好ましくは、導電性に併せ、適当な組合せの硬性、弾性等(後に明らかになるとおり、エリア18cは、作成中のマイクロミラーのヒンジとなる部分である)を有することが好ましい。勿論、各個別エリアに異なる材料や特性を望む場合、個別エリア18aないし18cを、同時に形成する必要はない(これは、エリア12aないし12cおよびプラグ18aないし18c等の装置の他の部分について同様である)。無論、ある層内の各個別エリアの材料が同一であり、同時に析出されるものであれば、プロセスの過程が少なくて済む。好適な実施形態において、この導電層は、反応性スパッタリングによって析出されるアルミニウム合金、またはここにて参照により導入する2000年8月23日に出願されたリードによる米国特許出願第60/228,007号および2001年6月22日に出願されたリードによる米国特許出願第60/300,533号に開示されたような導電性の二元または三元(またはそれ以上)化合物である。導電層をパターニングするために適切なエッチング化学(例えば、アルミニウムには塩素系化学)を採用することで、個別導電エリア18aないし18cを形成する。
図5Eにさらに示すとおり、層14の犠牲材料と同一であっても異なるものであってもよい(好ましくは、両方とも同時に除去できるように同一の材料である)第2の犠牲層20を形成する。次に、層20をパターニングしてエリア18cに到達する開口20aを形成する。犠牲層14内に開口を形成する場合と同様に、これはさらなるフォトレジスト層を使用することで、あるいは材料がフォトレジストまたはその他の直接パターニング可能な材料である場合、層20を直接的にパターニングすることができる。図5Fに見えるように、プラグまたは接続22は、犠牲層20上に好ましくは導電性の材料を析出し、化学機械研磨しつつ、プラグ22を個別エリア(ヒンジ)18cに接続したままにしておくことで形成することができる。次いで、図5Gに見えるように、(好ましくは導電性の)層を析出し、所望のマイクロミラーの形状にパターニングすることでマイクロミラー体24を形成する。図6Aに示すように、様々なマイクロミラー形状が可能であり、以下にさらに詳細に説明する。もっとも、発明の本実施例によるマイクロミラー形状は、任意であり、図6Bおよび6Cに示すような正方形またはひし形の形状も可能である。勿論、マイクロミラーをぎっしりと詰めることができ、よって高充填率が得られる形状(例えば、図7に密接したアレイとして示してある図6Aのマイクロミラー形状等)が好ましい。図6C(および後に図12)に示す点線62は、マイクロミラーの回転軸である。
図5Aないし5Gに従ってマイクロミラーを作成するために使用する様々な層は、単一の層として示してあるが、各層(構造層であれ、犠牲層であれ)を、積層体とし、例えば、積層体のうち一層が機械的性能が良いものであり、他の層が導電性が良いものであるようにすることができる。また、好適な実施形態では構造材料が導電性であるが、マイクロミラー素子24(または積層体24内の層)や作動電極12dおよび18b(および電極12dおよび18bを半導体基板に接続する層/材料)を導電性とすることも可能である。さらに、上述の材料(金属、金属合金、金属セラミック合金等)は、金属を含まないもの、例えばシリコン(例えば、多結晶シリコン)またはシリコン化合物(例えば、Si3N4、SiC、SiO2等)からなるものであってもよい。構造材料としてSi3N4を使用し、犠牲層としてアモルファスシリコンを使用する場合、犠牲となるアモルファスシリコンを除去するために気相エッチング剤としてニフッ化キセノンを用いることができる。望ましければ、構造層の応力特徴を改善するために、犠牲層を除去する前および/または後に、構造材料として使用されるシリコンまたはシリコン化合物(またはその他の化合物)をアニールすることも可能である。図8は、図5Aないし5Gに従って形成されたマイクロミラーの分解図である。
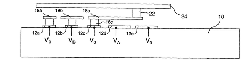
マイクロミラーを作成する際の終盤の過程として犠牲層14および20を除去する。図9Aは、2つの犠牲層を除去した後のマイクロミラーを示すもので、マイクロミラー24が、柱22、ヒンジ18c、柱16cおよび金属エリア12cによって基板10に接続される様子が見える。図9Aに示すマイクロミラーは、その下の電極(上述の処理によって形成される個別金属エリア)、例えば電極18bまたは12dに、電圧が印加されていないので、変位したり、撓んだりしていない。この非撓み位置は、投射システムにおいて通常は「オン」位置から最も遠い角度(投射画像のコントラストを最大にするため)である「オフ」位置ではない。マイクロミラーの「オン」状態、すなわち、集光系の受容コーンに光を誘導するマイクロミラーの位置は、図9Bに示してある。電極12dに電圧VAを印加すると、マイクロミラー板24の縁が電極12eに接触するまでマイクロミラー板24を静電的に引き下げる。マイクロミラー板24および電極12eは、何れも電位が同一であり、この実施例においては電圧V0である。図9Cに性雌とおり、電極18bに電圧VBが印加されると、マイクロミラー24は反対方向に倒れ、その動きは電極18aによって止められる。電極18aとマイクロミラー板24はいずれも同電位(この実施例においては電圧V0)にある。電極18bの電極12dに対する大きさや、これらの電極とマイクロミラー板24との間の距離によっては、電極18bおよび12dに印加される電圧を等しくする必要はない。図9Cに示すこの撓み位置は「オフ」位置であり、光を集光系から最も遠く送る位置である。
図9Bおよび9Cを比較することで解るように、オフ位置の(基板との)角度はオン位置より低い。以下、オンとオフ角度(または基板または非撓みマイクロミラー位置に対する角度)をいうとき、角度の正負(基板または非撓み位置に対する正負)を用いる。正負の定義は任意であるが、マイクロミラーがある方向に回転することで「オン」位置に入り、逆方向に回転することで「オフ」位置に入ることを示す。このような非対称性の利点を、以下により詳細に説明する。本発明の一実施例において、オン位置が0ないし+30度にあり、オフ位置が0ないし−30度にあり、オン位置までの変位がオフ位置までの変位より大きい。例えば、オン位置を+10ないし+30度(または+12ないし+20度または+10ないし+15度)とし、オフ位置を0より大きく、0と−30度の間(または、0から−10または−12度まで、または−1から−12度まで、または−1から−10または−11まで、または−2から−7度まで)とすることができる。さらなる実施例において、マイクロミラーはオン位置まで少なくとも+12度、オフ位置まで−4ないし−10度回転する。ヒンジに使用される材料によっては、+10ないし+35度のオン回転と−2ないし−25度のオフ回転など、より大きい角度(勿論、非常に大きい角度では材料の疲労やクリープ等が問題となり得る)を使用することも可能である。回転方向を考慮しなくても、オンおよびオフ状態が、基板に対して3度より大きく、30度より小さいことが好ましく、さらに、オン位置が+10度より大きく、ミラーがオン方向では逆のオフ方向より1度(またはそれ以上)回転することが好ましい。
図10Aないし10Dには、さらなる方法およびマイクロミラー構造を示す。材料、層、犠牲エッチング、構造層の析出等の変更については、上述の処理と同じである。図10Aないし10Dに示す方法において、基板40は透光性基板(後に回路および電極を有する第2の基板と結合する)であっても、既に回路および電極を搭載した半導体基板であってもよい。図11Aないし11Bに見える本実施例において、回路および電極が別々の基板上に形成される。
図10Aにおいて、犠牲層42を析出し、パターニングすることで開口43を形成する。次いで、図10Bに示すように、プラグ46を形成する(好ましくは、図5Aないし5Gの過程、すなわち金属、金属合金またはその他の導電層を析出し、平面化(例えばCMPで)することでプラグを作成する)。次に、図10Cに見えるように、導電性の(適切なアモルファス性、弾性、硬性、強度等を有する)材料を析出することでヒンジ50を作成する。本実施例において、ヒンジ(および/またはマイクロミラー)は、Ta−Si−N等の前周期遷移金属とシリコンの窒化物、Co−Si−N等の後周期遷移金属とシリコンの窒化物、あるいはチタン−アルミニウム合金やチタン−酸化アルミニウム合金等の金属または金属−セラミック合金からなるものである。このような材料を析出した後、フォトレジストを析出し、パターニングすることで、ヒンジエリア50以外をエッチング/除去する。次いで、図10Dに見えるように、マイクロミラー板44を作成するためには、まずヒンジをフォトレジストで保護し、ヒンジ構造層を析出、パターニングすることでヒンジ50と部分的に重なり、よって接続するマイクロミラー板44を形成する。他の実施形態と同様に、このようなマイクロミラーは数千個ないし数百万個のアレイとして同時に作成される。
次に、ウェハあるいは型において、マイクロミラーを有する基板を、作動回路および電極を有する基板に取り付ける。本実施例において、各マイクロミラーは、各撓み方向について1つずつ存在する2つの電極をともに、好ましくは、マイクロミラー自体と同電位の材料と接触することでマイクロミラーの(何れかの方向の)動きを止めるための3つ目の電極を有する。図11Aに、マイクロミラーの撓みを制御する電極72および74を有する第2の基板60およびランディングパッドまたは電極70を示す。図11Aにおいて、マイクロミラーは非撓み位置にある。電極72に電圧VAを印加すると、マイクロミラー44は、電極70と接触するまで倒れる(図11B)。これは、システムの集光系に光を送るためのマイクロミラーの「オン」位置である。マイクロミラー板44の端部が電極70と基板40と同時に接触するように、基板間の隙間を設計することができる。電極74に電圧VBを印加すると、マイクロミラー板44は今度は逆方向に、マイクロミラーの端部が基板40と接触するまで倒れる。これがマイクロミラーの「オフ」位置である(図11C)。ヒンジ50および柱46の配置により、この「オフ」位置におけるマイクロミラーの角度は、「オン」位置におけるマイクロミラーの角度より小さい。図12にこのようなマイクロミラーのアレイを示し、図13に図10Aないし10Dの処理によって作成されたマイクロミラーの分解図を示す。
図14Aは、「オフ」状態のマイクロミラーが非撓み状態(マイクロミラー群100)であり、「オン」状態のマイクロミラー(マイクロミラー群102)が光を視認可能な場所に(直接的に、または単一装置におけるターゲットへ、または部屋の奥にあるスクリーンへ)投射するために水平の状態から倒れているマイクロミラーのアレイ内の複数のマイクロミラーを示す断面図である。図14Bおよび14Cに、このようなマイクロミラーアレイの配置を示す。図14Bに見えるように、マイクロミラーが「オン」状態である場合、入射する光コーン50がマイクロミラー(この図におけるマイクロミラーはすべて「オン」状態である)によって反射され、この光は光コーン52として出力開口60に投射され、ほとんどの場合、イメージング系(例えば投射レンズ)まで進む。コーン54は、透明カバーによる鏡面反射を示すものである。図14Cは、「オフ」状態のマイクロミラーを示し、コーン52はこの「オフ」状態のマイクロミラーから反射される光を示すものである。これらの図面において、便宜のため、光コーンが個別のマイクロミラー上に絞られる様子が示してあるが、入射コーンおよび反射コーンは、実際にはアレイ全体に亘って入射する。
図14Bおよび14Cの配置は、マイクロミラーが「オフ」(非撓み)状態である場合、マイクロミラー間の隙間を通過し、「隙間散乱」を引起す光の量が低いといった利点を有する。しかし、図14Cに示すように、マイクロミラーの繰返パターンによって光が屈折してしまう(反射された「オフ」光コーン52の両端から延びる光61aおよび61b)ことがある。この不要な光は、マイクロミラーの縁による散乱や屈折によるもの(エッジ散乱)である。特に、効率を向上するために入射する光のコーンを(よって、放出される光のコーンも)できるだけ大きくするため、光61a等の反射された「オフ」光のコーンの範囲外に延びる屈折光が出力開口60(例えば集光系)に入り込み、コントラスト比の低下を生じる可能性がある。
コントラスト比を低下させてしまう「オフ」状態の光(屈折光を含む)および「オン」状態の光の重なり合いを防ぐために、「オン」と「オフ」の各状態でマイクロミラーを撓ませることで「オフ」状態の光と「オン」状態の光をさらに離別させることができる。図15Aに見えるように、マイクロミラーが「オフ」状態で図示のように撓ませると、一部の光は、光線116で示すように、マイクロミラーから「オン」状態の方向(すなわち、集光系)から離れた方向に適切反射される。さらに、他の光112は、マイクロミラーに当らず、下部基板(例えば、下部回路および電極)の表面で散乱し、隣接するマイクロミラーが「オフ」状態であるにも係らず、集光系に入射する。また、光線114で示すように、入射光は、マイクロミラーに当っていても、光線116のように適切な「オフ」角度に誘導されず、隙間散乱となる可能性もある。図15Bに示すこの「オン」配置は、図14Bに示すものと同一である。ただし、図15Cに示すとおり、「オフ」状態とともにマイクロミラーの周期性によって生じる屈折61aが、「オン」角度から遠ざかり、屈折/エッジ散乱によるコントラスト比が改善される(ただし、上述のとおり、隙間散乱によってコントラスト比が若干下がることもある)。
マイクロミラーアレイを改善するためには、「オフ」光コーンと「オン」光コーンとの距離を最大化(受光コーンへのエッジ散乱を最小化)し、隣接するマイクロミラー間の隙間を最小化(隙間散乱を最小化)することが望ましい。1つの提案として、図15Aないし15Cに示すように「オン」と「オフ」状態で反対方向に撓むマイクロミラーを有するマイクロミラーアレイを使用し、隙間散乱を低減するためにマイクロミラーの下に光吸収層を設けることができる。しかし、これは処理の複雑性を増加させ、マイクロミラーアセンブリへの(光弁への)光を吸収してしまい、光弁の温度を上昇させ、熱膨張、マイクロミラー構造の疲労または垂下の増加、不活性化層、自己形成単一層および/または潤滑剤の劣化等の問題を引起してしまう。
図16Aないし16Cに見えるように、「オン」および「オフ」状態のいずれにおいても撓むが、その撓み角が異なるマイクロミラーを設けた。図16Aに見えるように、マイクロミラー100は、「オフ」状態のマイクロミラー100の撓み角が、「オン」状態のマイクロミラー102(水平または非撓み位置と反対方向の撓み)より浅い。図16Bに見えるように、「オン」状態(入射光50が放出光52として出力開口60に投射される)は、多少の鏡面反射54を含み、何等変っていない。図16Cにおいて、「オフ」状態のマイクロミラーは、出力開口60に到達するエッジ散乱光61aを最小化することができるが、オフ状態の撓み角が大きいためにマイクロミラー下からの隙間散乱光を最小化するために受光コーンにエッジ散乱光が入り込まない程度の撓みである。
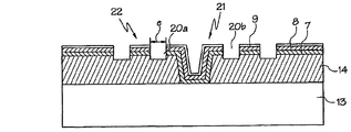
本発明のさらなる特徴は、装置のパッケージングにある。上述の通り、透光性基板による反射は、鏡面反射を引起す。図17Aに見えるように、入射光コーン50は、オン状態のマイクロミラーから反射して、反射コーン52を形成する。透光性基板32の表面から反射される鏡面反射は、光コーン54として示す。投射システムにおいて、エタンデュや投射システムの効率を向上させるために、コーンの拡延角度を大きくすることが望ましい。しかし、図17Aに見えるように、コーン50の拡延角度を大きくすると、コーン52および54の拡延角度も大きくなり、マイクロミラーが「オフ」状態である場合にもコーン54の鏡面反射光が出力開口60に入射してしまう(よって、コントラスト比が低下する)。
光コーンの拡延角度を大きくしながら出力開口に入射する鏡面反射を防止するためには、図17Bに示すように、透光性基板32を基板30に対して傾斜させる。多くの場合、基板30はマイクロミラー(またはその他の光MEMS素子)が形成される基板であり、基板32は光MEMS装置のパッケージの透光窓である。窓の角度は−1度以上(マイナス記号は、マイクロミラーや角度の方向に従う)である。ある実施例において、窓の角度は−2ないし−15度であるか、−3ないし−10度の範囲内である。何れの場合であっても、窓は、マイクロミラー基板に対する角度が、マイクロミラーの「オフ」位置と同じ「方向」(マイクロミラー基板および/またはパッケージの底部に対して)であることが好ましい。図17Bに見えるように、マイクロミラーが「オン」状態の場合、「オン」マイクロミラーから反射された光(反射光コーン52)と鏡面反射光(光コーン54)との間に隙間がある。この「隙間」は、鏡面反射コーン54が、傾斜した透光性基板によってより遠く反射されることによるものである。図17Cに見えるように、この配置によって、「オン」マイクロミラー(コーン52)と鏡面反射光(光コーン54)の入射光コーン(とそれに対応する反射光コーン)の拡延角度を大きくすることが可能になる。(描画を容易にするために、光コーンの反射点はマイクロミラーと透光性基板との中間にあるが、実際には、光コーン52はマイクロミラーから反射され、鏡面反射コーン54は基板32から反射される。)図17Bおよび17Cに示す傾斜透光窓は、スループットの増加、システムの効率の向上および光弁のエタンデュ(エタンデュ=立体角×面積)の向上を可能にする。図17Bおよび17Cに示す光弁は、より大きいエタンデュの光線を変調することができ、光源からより多くの光を通すことができるので、効率が良い。
図17Dおよび17Eにパッケージングされた装置を示す。図17Dに見えるように、入射光40(これは、以前とは逆の角度から見たものである)は、アレイに入射し、反射される。図17Eに見えるように、透光性基板32(マスクエリア34aおよび34bを含む)に傾きを設けることによって、光コーンの拡延角度を大きくすることのみならず、窓32のマスクとマイクロミラーアレイとの間の隙間を最小化することで、パッケージ内の光の散乱や温度の上昇を低減することができる。透光窓の傾斜角度は、基板に対して1ないし15度、好ましくは2ないし15度、さらに好ましくは3ないし10度である。図17Dおよび17Eに見えるように、パッケージ内の基板の一端に配設されたボンドワイヤ37(マイクロミラーまたはその他のマイクロメカニカル素子を駆動するために基板をパッケージに電気的に接続する)が、傾斜を有する窓までの距離が、基板の反対側における距離よりも大きい位置にある。従って、窓を傾斜させることでボンドワイヤを収容することを可能にしながら、基板のボンドワイヤが存在しない側における透光窓とマイクロミラー基板との間の距離を最小化することを可能にする。パッケージの、ボンドワイヤの位置および傾斜窓の高い側に相当する側から、光がマイクロミラーアレイへ入射することに注意されたい。パッケージ内に収容し得るその他の要素として、パッケージ接着剤、分子スカベンジャまたはその他のゲッタ、減スティクション剤の発生源(例えば、クロロシラン、過フッ化n−アルカン酸、ヘキサメチルジシラザン等)がある。
本発明のマイクロミラーが、投射ディスプレイ用のものであれば、アレイを照らし、集光系を経て映像をターゲットに投射させるための適切な光源が必要である。本発明において、投射システムの痕跡を最小にしながらコントラスト比を改善することを可能にする、アレイおよび各マイクロミラーに対する光源および入射光の配置を、図18および19aないし19cに示す。図18に見えるように、光源114は、アレイの有効エリア(図中、矩形94で表したアレイの有効エリア)の先頭側93に対して角度90度の光116を送る。有効エリア94は、通常、図18に示すように矩形配置された64,000ないし2,000,000ピクセルからなるものである。有効エリア94は、集光系115を介してターゲットに向けて反射(「オン」状態のマイクロミラーによって)させ、ターゲット(例えば、壁またはスクリーン)上にそれに対応する矩形映像を映し出す。勿論、アレイは矩形以外の形状を有するものであっても良く、その場合、ターゲット上に(マスクが使用されなければ)それに対応する形状が得られる。光源114の光は、アレイ中の特定のマイクロミラー(「オン」状態のもの)によって反射され、光学系115(明確にするために2つのレンズとして簡略化されている)を通過する。「オフ」状態(非撓みの「静止」状態)のマイクロミラーは、図18におけるエリア99に光を送る。図18は、TIRプリズム、付加的な焦点合せ用または拡大用のレンズ、カラー映像を提供するためのカラーホイール、導光管等、当該分野において周知である部品をさらに有することが可能である投射システムを簡略したものである。勿論、投射システムが、マスクレスリソグラフィや、カラー映像を投射するため(例えば、前面または背面スクリーン投射型テレビ、パソコンのモニタ等)以外の非カラーの応用に採用する場合、異なる集光系とカラーホイールを使用することができる。また、ターゲットはスクリーンやフォトレジストである必要はなく、例えば直視型のディスプレイの場合には、観視者の網膜であっても良い。図18に見えるように、アレイ中の「オン」マイクロミラーは、いずれも、単一の集光系に光を送り、これは、ターゲットに対して光を誘導/集束/投射させるための単一または複数のレンズである。
映像が、パソコン、テレビまたは映画スクリーンの何れに写し出されているものであれ、スクリーン上の映像の各ピクセル(アレイのマイクロミラー素子に対応する映像の各ピクセル)は、スクリーン上の矩形映像を画定する4つの辺のうち2つの辺に対して平行ではない辺を有する。図19A〜Eにおけるマイクロミラー素子の実施例に見えるように、入射光は、マイクロミラー素子の辺に対して垂直に当ることはない。図19Aは、1つのマイクロミラー素子に光が当る様子を示した斜視図であり、図19Bはその上面図、図19Cはその側面図である。入射光は、(マイクロミラーアレイの面に対する)法線から10ないし50度(例えば、20度)離れたものである。図19Cにおける角度133を見よ。
マイクロミラーの平面に対する入射光の角度に関らず、マイクロミラーの辺は、入射光に対して垂直になることはない(図19Dを参照)。好適な実施形態において、マイクロミラーの辺は、入射光軸のマイクロミラー平面(102)上の投射に対する角度(131)が、80度未満であり、好ましくは55度以下であり、より好ましくは45度以下であり、最も好ましくは40度以下である。逆に、角度132は100度以上、好ましくは125度以上、より好ましくは135度以上、最も好ましくは140度以上である。図19Dにおいて、マイクロミラーの切換(すなわち、回転)軸を点線103で示す。この切換軸は、使用されるヒンジの種類によって、例えば線106のように、マイクロミラーのその他の個所に設けることも可能である。図19Dに見えるように、切換軸(例えば103または106)は、入射光102のマイクロミラーの平面への投射に対して垂直である。図19Eは、図19Dと同様に、上面図であるが、図19Eに、マイクロミラーのアレイと共に、2次元のマイクロミラーアレイへの入射光102が示してある。図19Eにおいて、各マイクロミラーが、図19A〜Dに示すマイクロミラー形状を有することに注意されたい。図19Eに見えるように、マイクロミラーアレイ全体の形状は矩形である。アレイの4つの辺117〜120は、いずれも、有効エリアの最後の行および列内の最も遠いピクセル(121〜124)間に線を引くことで(例えば、辺119は隅のピクセル123と122とを結ぶ線によって)画定される。図19Eにおいて、有効エリアの「先頭」(光源に最も近い)および「後尾」(光源から最も遠い)の辺119、117が、有効エリア内のマイクロミラーの形状によってギザギザであることが解るが、1cm2ないし1in2の面積に、3,000,000個以上のマイクロミラーが存在する可能性があることを忘れてはいけない。従って、非常に大きく拡大されていない限り、有効エリアは実質的に矩形であり、その有効エリアの辺118および120(または117および119)は図19Dにおけるマイクロミラー(図19Dにおけるマイクロミラーは図19Eの有効エリア内のマイクロミラー素子のうち1つである)の辺107および108に対して平行であり、有効エリアの辺117および119(または118および120)は各マイクロミラー(図19D参照)の切換軸103(または106)に対して平行であり、有効エリアの辺117および119(または118および120)はマイクロミラー(図19D参照)の先頭または後尾側125a〜dに対して非垂直である。また、図19Eを、大多数の投射ピクセル(各投射ピクセルは図19Dに示す形状を有する)からなる投射像として捉えることもできる。よって、投射像の辺118および120(または117および119)は、投射ピクセルの辺107および108に対して平行であり、投射像の辺117および119(または118および120)は投射ピクセルの辺125a〜dに対して非垂直である。
図20は、2次元のマイクロミラーアレイを示した(勿論、ピクセルの数は通常の有効エリアより少ない)ものである。図面(図20とともに、図21〜26および29〜32を含む)を簡単にするために、図示するマイクロミラー/ピクセルの数は60未満であるが、通常のディスプレイは64,000ピクセル(320×200ピクセル)から1,920,000ピクセル(1600×1200ピクセル=UXGA)またはそれ以上(例えば、1920×1080=HDTV;2048×1536=QXGA)である。本発明における各ピクセルの寸法が非常に小さいため、実現可能の解像度は実質的に無限である。図20に見えるように、各ピクセルの辺は有効エリアの対応する辺に対して平行である。従って、マイクロミラーの辺は、いずれも、有効エリアの辺に対して垂直であるか平行である。それに対して、図21に示すものでは、マイクロミラーの辺は有効エリアの辺に対して垂直でも平行でもない。下記のとおり、さらなる実施形態において、有効エリアの辺に対して垂直でも平行でもない辺が存在しながら、有効エリアの辺に対して平行である辺が存在することも(入射光からマイクロミラーの平面に投影した線に対しても平行であることを条件として)可能である。
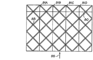
図22に示すマイクロミラーアレイは、高いコントラスト比を実現する。しかし、図23〜29に示すマイクロミラー構造によって、アドレッシング方式を簡略化することができる。より具体的に、図23〜29において、ピクセルをアレイのXおよびY軸に対して傾いた行列に配置する必要がない。通常のビデオ画像源は、ピクセルのカラーデータをX−Yグリッドとして供給するものであるため、図23〜29の構造によって、ディスプレイ上に許容できる画像を形成するために非単純な前処理を行う手間が省ける。また、図23〜29による構造によって、ディスプレイの背面のレイアウトの複雑化(図13および14のものに対して、ピクセル制御セルへの行または列配線が倍になる可能性がある)を避けることもできる。図22における横線80は、マイクロミラー素子の最上行を繋ぐものであり、縦線81A〜Dは最上行の各マイクロミラーから延びる(これらの横線および縦線は、アレイのアドレッシング用の行および列に相当する)。図22に見えるように、このようにすると、マイクロミラーは1つ置きにしか繋ぐことができない。従って、すべてのマイクロミラーをアドレッシングするために必要な行列は通常の倍となり、アレイのアドレッシングがより複雑になる。図22には、さらに、マイクロミラーの隅に支持柱83が示してあり、これらの支持柱は、各マイクロミラー素子の下に位置するヒンジ(図示せず)(上述の「重畳ヒンジ」)と、各マイクロミラー素子の上に位置する透光性基板(図示せず)に接続される。
図23に示す本発明のより好ましい実施形態において、アレイ92を提供する。光90は、マイクロミラーが、入射光に対して垂直な辺を有しない方向から照射される。図23において、マイクロミラーの先頭辺(入射光90に対して)は、入射光(90)に対して135度傾いている。この角度は100度より大きいことが好ましく、より好ましくは130度より大きい。入射光と先頭辺との間の角度が135度以上であると、コントラスト比がさらに改善され、140度以上であってもよい。図23に見えるように、マイクロミラー素子の配置は、図22について上述したようなアドレッシングに関する問題を招くことはない。柱95は、図23における各マイクロミラー素子下のヒンジ(図示せず)に接続される。ヒンジは、入射光の方向に対して垂直に(そして、有効エリアの先頭および後尾辺91Bおよび91Dに対して平行に)延びる。このヒンジによって、マイクロミラーの回転軸を、入射光に対して垂直にすることができる。
図24は、図23に示すものに類似したマイクロミラーを示す概略図である。ただし、図24において、マイクロミラー素子の向きが「逆」であり、その「凹」部を先頭側とする。図24のマイクロミラーは、図23に示したものとは逆であるとはいえ、マイクロミラーは、依然として、入射光に対して垂直な辺を有しない。図24には、接続されたマイクロミラー素子と同面上に配置されたヒンジ101が示してある。この種類のヒンジは、いずれも、上述の‘840特許に開示されている。図25には、同様にマイクロミラーアレイと同面上のヒンジ110を示すが、各マイクロミラーの先頭側に「凸」部112(「突出部」)および「凹」部113(「切欠部」)が両方とも存在することが解る。各マイクロミラーの凹部または切欠部によって、各マイクロミラーの形状は、凹多角体である。マイクロミラーは、凸多角体であってもよい(凸多角マイクロミラーの辺が、いずれも有効エリアの先頭側に対して平行ではない場合)が、マイクロミラーが凹多角形状を有することが好ましい。凸多角体とは、各辺を含む線が、いずれも多角体の内部を通過することがない多角体である。多角体は、凸多角体ではない場合にのみ凹多角体である。凹多角形状は、複数の平行四辺形(矩形を除く)の組合せからなるものであったり、少なくとも1つの凹部とそれに対応する少なくとも1つの凸部(隣接するマイクロミラーの凹部と嵌め合わせるため)を有するものであってもよいが、凹多角形状は任意である。さほど好ましくはないが、上述のように、マイクロミラーの形状は単一の平行四辺形(矩形を除く)からなるものであってもよい。図示しないが、対応する1つ以上の突出部と1つ以上の切欠部(また、マイクロミラーの何れの辺も)は、必ずしも直線からなるものである必要はなく、曲線によるものであってもよい。そのような実施形態として、突出部および切欠部は半円状であるが、図示のような角張った突出部および切欠部が好ましい。
図26Aないし26Fに、本発明のさらなる実施形態を示す。各図におけるマイクロミラーの形状は異なるが、いずれも、入射光に対して垂直な辺を有しない点で共通している。勿論、マイクロミラーの辺が方向転換する場合、瞬間的に辺が垂直であると言える個所が、微小であれ、存在する可能性がある。しかし、垂直な辺を有しないと述べる場合、垂直である個所が実質的に存在しないこと、あるいは、少なくともマイクロミラーの先頭側および後尾側にそのような実質的に垂直な個所が存在しないことを意味する。先頭側の方向が漸次的に変化する場合(または、図29に示すように、先頭側の一部が入射光に対して垂直である場合)であっても、入射光に対して垂直である部分は、好ましくは先頭側の1/2を超えず、より好ましくは1/4を超えず、最も好ましくは1/10以下である。先頭側および後尾側の、入射光に対して垂直な部分が少ないほど、コントラスト比が向上する。
ほとんどのマイクロミラー形態は、1つ以上の平行四辺形(例えば、同等の平行四辺形)の組合せとして見ることができる。図27Aに見えるように、単一の平行四辺形は、入射光(この光は、紙面の下部から上部に向かい、紙面の平面から発するものである)に対して垂直な辺を有しないため、光の回折を低減するのに有効である。図27Aは、幅「d」を横方向の矢印で示した単一の平行四辺形を示すものである。図27A(および図27Bないし27F)におけるマイクロミラーの切換軸もこの横方向に沿うものである。例えば、切換軸は、図27Aの点線上にあってもよい。図27Bおよび27Cには、平行四辺形をそれぞれ2つと3つ有するマイクロミラーデザインを示し、各平行四辺形は、それに隣接するものと同形、同寸法および同外観である。この構造によって、マイクロミラー素子の先頭側および後尾側が「のこ歯」状になっている。図27Dないし27Fは、2つから4つの平行四辺形を示す。ただし、図27Dないし27Fにおいて、各平行四辺形は隣接するものと同形ではなく、その鏡像である。この構造によって、マイクロミラー素子の先頭および後尾辺が「ギザギザ」になる。平行四辺形は、必ずしも幅を等しくする必要はなく、のこ歯またはギザギザ辺の先端を結ぶ線は、入射光に対して垂直である必要もない。各平行四辺形の幅は、すべて同一の幅を有するように設計された場合、Mをマイクロミラーの全体的な幅とし、Nを平行四辺形の数とすると、「d」=M/Nである。平行四辺形の数が増加すると、(マイクロミラーの幅が一定であることを前提にすると)幅「d」が短縮される。しかし、幅「d」は、入射光の波長より非常に大きいことが好ましい。コントラスト比を高く保つためには、平行四辺形の数N(または、先頭マイクロミラー辺が方向転換する回数)は、0.5M/λ以下、好ましくは0.2M/λ、さらには0.1M/λ以下である。ここで、λは入射光の波長を示す。図27において、平行四辺形の数は1から4であるが、その数は任意である。ただし、15個以下、好ましくは10個以下であると、より良いコントラスト比が得られる。図27に示す平行四辺形の数(4つ以下)が最も好ましい。
図28に見えるように、マイクロミラー素子190と同面上にヒンジ(または撓み部)191、193が設けてある。図28の紙面外に位置する光源からの入射光195は、マイクロミラー190の先頭側の各辺に入射するが、いずれも垂直ではない。ヒンジは、マイクロミラーの切換方向への光の回折を低減するために、入射光に対して垂直な部分を有しないことが好ましい。
また、有効エリアの辺(例えば、図28におけるマイクロミラー辺194、196)に対して平行に示してある「直線」によるマイクロミラー辺が、それ以外の形状を有することができることに注意されたい。上述の図21も、入射光85に対して平行なマイクロミラー辺を有しない例の1つである。図30および31も、マイクロミラー辺が入射光に対して垂直または平行の辺を有しないさらなる例であるが、図22に示すようなアドレッシングの複雑性を伴わないものである。入射光は、図30の有効エリアの四辺(矢印1〜4を参照)のうち、何れに対して垂直に照射しても、いずれのマイクロミラー辺に対しても垂直に入射しない。図31に示すアレイも、この特徴を有する。さらに、図29に見えるように、各マイクロミラーの先頭側の一部を入射光に対して垂直とし、一部を非垂直とすることも可能である。
図32Aないし32Jは、本発明においてヒンジとして使用し得る構造を示す。図24と同様に、図32Aに、入射光(この図のように上面から見た場合に)に対して平行に延び、マイクロミラー素子を基板上に支持する支持柱98にマイクロミラー97を接続する撓み部96を有するマイクロミラーを示す。入射光は、図32Aにおける矢印5または6の方向(上面から見た場合)、アレイ上に照射することができる。勿論、入射光は、面外で発生する(図11Aないし11E参照)。この入射光は、図32Bないし32Lにおいても同様である。図32Cないし32Eは、この種のヒンジのさらなる実施形態である。図32Fないし32Lは、図32Jを除いて、ヒンジが入射光(または有効エリアの先頭側)に対して平行ではないが、マイクロミラーが、入射光に対して垂直な回転軸を有するヒンジおよびマイクロミラーのさらなる形態を示すものである。
マイクロミラーの回転軸に対して平行(かつ入射光に対して垂直)なマイクロミラー辺を最小化しないと、マイクロミラーが「オフ」状態に設定してあっても、そのマイクロミラー辺によって回折される光が集光系に入り込み、コントラスト比が低下してしまう。図33Aに見えるように、「十」字状の回折パターン(図20に示すような実質的に正方形のマイクロミラーのアレイを、アレイの先頭側に対して90度の角度で照射することで得られる)が、受光コーン(図中の円)と重なる。この図において、回折パターンは、受光コーンの円(回折パターンと重なる円形の実線で示す)の真下で交差する1つの縦線と1つの横線を形成する黒い斑点群(とそれに対応する明るめの背景)として現れる。図示しないが、マイクロミラーが「オン」状態の場合、2つの回折線は、受光コーンの円内で交差する。従って、図33Aに見えるように、マイクロミラーが「オフ」状態である場合にも、縦の回折線が集光系の受光コーン内に入り込み、コントラスト比を低下させてしまう。図33Bは、正方形のマイクロミラーを45度の角度から照射した場合の回折パターンである。図33Bに見えるように、図33Aと比較すると、受光コーン(図33B中の実線による小さい円)内に入る回折光は減る。しかし、上述したとおり、このように照射することで回折を軽減することができる反面、それ以外の問題が発生する。
それに対して、図33Cに見える本発明(図28のマイクロミラーの「オフ」状態)による回折パターンは、集光系の受光コーン内や、マイクロミラーが「オン」状態の場合に光が導入される空間的領域内に延びる回折線を有しない。よって、マイクロミラーが「オン」状態の場合に光が送られる場所に、回折光が実質的に送られることはない。照射光がアレイの有効エリアの辺に直交(および/または行または列に直交)しながら、このような回折パターンを形成するマイクロミラーアレイは新規のものである。同様に、このマイクロミラー構造、そのためのヒンジ、および、マイクロミラー、有効エリアの辺および/またはアドレッシング用の行列に対する光源の配置も新規のものである。
本発明を、特定の実施形態をあげて説明した。しかし、当業者であれば、ここで説明した実施形態を考慮して、様々な変形が可能であることが理解できるであろう。例えば、本発明によるマイクロミラーの形状を光スイッチ(例えば、ここにて参照により導入する、2000年7月17日にヒュイバース等によって出願された米国特許出願第09/617,149号や、2000年9月8日にヒュイバースによって出願された米国特許仮出願第60/231,041号に開示されたもの)におけるマイクロミラーに使用することで、スイッチ内の回折を低減することができる。また、本発明におけるマイクロミラーは、2001年1月22日にトルー等によって出願された米国特許出願第09/767,632号、2000年8月3日にヒュイバース等によって出願された米国特許出願第09/631,536号、2001年5月22日にパテル等によって出願された米国特許出願第60/293,092号および2000年8月11日にヒュイバース等によって出願された米国特許出願第06/637,479号に記載されたような構造や方法によって製造することができる。また、本発明のマイクロミラーを導入する投射ディスプレイにおいて、標準的な赤/緑/青または赤/緑/青/白のカラーホイールを使用することができるが、ここにて参照により導入する2001年2月9日にヒュイバースによって出願された米国特許仮出願第60/267,648号や2001年2月6日にリチャーズ等によって出願された米国特許仮出願第60/266,780号に開示されたような、その他のカラーホイールを使用することも可能である。
また、本発明は、2001年3月15日にパテル等が出願した米国特許仮出願第60/276,222号に開示された、単一化および組立用の除去可能(および代替可能)基板を使用した方法に適している。また、本発明のマイクロミラーは、ここにてその内容を参照により導入する2000年5月3日にリチャーズによって出願された米国特許出願第09/564,069号に開示されたように、パルス幅変調によってアレイ内で駆動することができる。さらに、マイクロミラーを解放するためにインターハロゲンまたは希ガスフッ化物を使用する場合、ここにて参照により導入する1999年12月26日にパテル等によって出願された米国特許出願第09/427,841号および2000年8月28日にパテル等によって出願された米国特許出願第09/649,569号に記載された方法を使用することができる。また、犠牲材料と、それを除去するための方法は、2001年6月15日にリード等によって出願された米国特許出願第60/298,529号に記載されたものであってもよい。また、2000年8月23日に出願された米国特許出願第60/228,007号や2001年6月22日に出願された米国特許出願第60/300,533号に記載されたMEMS材料など、その他の構造材料を使用することも可能である。上記の特許および特許出願は、いずれも、ここにて参照により導入する。
本明細書において、構造や層は、他の構造または層の「上」にある(またはその上に形成される)、あるいはその上部、上方、隣等にあることが記載されている。これは、当該技術分野において認識されているように直接的または間接的に上、上部、上方、隣等にあることを意味し、その間に、シール層、付着促進層、導電層、スティクション低減層等を含み、これらに限らず、中間層または構造が存在し得ることが認められる。同様に、基板または層等の構造は、追加構造または層による積層構造であってもよい。また、「少なくとも1つ」や「1つ以上」といった(またはそれらに類似する)語句を用いた場合、それは、その構造または層が、多層特性を有するものであり得ることを強調するためであるが、このような語句の存在は、このように記載していないその他の構造または層の多層構造である可能性を否定することを意図するものではない。同様に、「直接的または間接的」と記載した場合、このような記載がない個所における意味を直接的あるいは間接的のいずれか一方に限定するものではない。また、「MEMS」、「マイクロメカニカル」および「マイクロエレクトロメカニカル」は、ここで、交換可能に使用しており、構造は電気部分を有するものであっても有しないものであっても構わない。最後に、「〜のための手段」なる記載における「手段」なる用語は、特別に請求項に記載されていない限り、請求項における事項を、「〜のための手段」なる記載様式に関連する特段の規則に従って解釈することを意図するものではない。
本発明のマイクロミラーを製造するための方法を示す図面 本発明のマイクロミラーを製造するための方法を示す図面 本発明のマイクロミラーを製造するための方法を示す図面 本発明のマイクロミラーを製造するための方法を示す図面 本発明のマイクロミラーを製造するための方法を示す図面 本発明のマイクロミラーを製造するための方法を示す図面 本発明のマイクロミラーを製造するための方法を示す図面 本発明のマイクロミラーを製造するための方法を示す図面 本発明のマイクロミラーを製造するための方法を示す図面 本発明のマイクロミラーを製造するための方法を示す図面 本発明のマイクロミラーを作成するための他の方法を示す図面 本発明のマイクロミラーを作成するための他の方法を示す図面 本発明のマイクロミラーを作成するための他の方法を示す図面 本発明のマイクロミラーを作成するための他の方法を示す図面 本発明のマイクロミラーを作成するための他の方法を示す図面 本発明のマイクロミラーを作成するための他の方法を示す図面 本発明のマイクロミラーを作成するための他の方法を示す図面 本発明のマイクロミラーを作成するための他の方法を示す図面 本発明のマイクロミラーを作成するための他の方法を示す図面 本発明のマイクロミラーを作成するための他の方法を示す図面 本発明にかかるマイクロミラーの実施形態を示す図面 本発明にかかるマイクロミラーの実施形態を示す図面 本発明にかかるマイクロミラーの実施形態を示す図面 本発明にかかるマイクロミラーの実施形態を示す図面 本発明にかかるマイクロミラーの実施形態を示す図面 本発明にかかるマイクロミラーの実施形態を示す図面 本発明にかかるマイクロミラーの実施形態を示す図面 本発明にかかるマイクロミラーの実施形態を示す図面 本発明にかかるマイクロミラーの実施形態を示す図面 本発明にかかるマイクロミラーの実施形態を示す図面 本発明にかかるマイクロミラーの実施形態を示す図面 本発明にかかるマイクロミラーの実施形態を示す図面 本発明にかかるマイクロミラーの実施形態を示す図面 本発明にかかるマイクロミラーの実施形態を示す図面 本発明にかかるマイクロミラーの実施形態を示す図面 本発明にかかるマイクロミラーの別の実施形態を示す図面 本発明にかかるマイクロミラーの別の実施形態を示す図面 本発明にかかるマイクロミラーの別の実施形態を示す図面 本発明にかかるマイクロミラーの別の実施形態を示す図面 本発明にかかるマイクロミラーのさらに別の実施形態を示す図面 本発明にかかるマイクロミラーのさらに別の実施形態を示す図面 本発明にかかるマイクロミラーのさらに別の実施形態を示す図面 マイクロミラーのアレイの実施例を示す図面 マイクロミラーの分解図 作動状態を示すマイクロミラーのアレイの部分断面図 作動状態を示すマイクロミラーのアレイの部分断面図 作動状態を示すマイクロミラーのアレイの部分断面図 作動状態を示すマイクロミラーのアレイの部分断面図 作動状態を示すマイクロミラーのアレイの部分断面図 作動状態を示すマイクロミラーのアレイの部分断面図 作動状態を示すマイクロミラーのアレイの部分断面図 作動状態を示すマイクロミラーのアレイの部分断面図 作動状態を示すマイクロミラーのアレイの部分断面図 作動状態を示すマイクロミラーのアレイの部分断面図 作動状態を示すマイクロミラーのアレイの部分断面図 作動状態を示すマイクロミラーのアレイの部分断面図 パッケージングされたマイクロミラーのアレイの部分断面図 パッケージングされたマイクロミラーのアレイの部分断面図 光源および入射光の配置を示す図 光源および入射光の配置を示す図 光源および入射光の配置を示す図 光源および入射光の配置を示す図 マイクロミラー素子の実施例を示す図面 マイクロミラー素子の実施例を示す図面 2次元のマイクロミラーアレイを示す図 マイクロミラーの辺は有効エリアの辺に対して垂直でも平行でもない実施例を示す図面 高いコントラスト比を実現するマイクロミラーアレイの実施例を示す図面 マイクロミラーアレイの実施例を示す図面 マイクロミラーアレイの実施例を示す図面 マイクロミラーアレイの実施例を示す図面 マイクロミラーアレイの実施例を示す図面 マイクロミラーアレイの実施例を示す図面 マイクロミラーアレイの実施例を示す図面 マイクロミラーアレイの実施例を示す図面 マイクロミラーアレイの実施例を示す図面 マイクロミラーアレイの実施例を示す図面 マイクロミラーアレイの実施例を示す図面 マイクロミラーアレイの実施例を示す図面 マイクロミラーアレイの実施例を示す図面 マイクロミラーアレイの実施例を示す図面 マイクロミラーアレイの実施例を示す図面 マイクロミラーアレイの実施例を示す図面 マイクロミラーアレイの実施例を示す図面 マイクロミラーアレイの実施例を示す図面 マイクロミラー辺が入射光に対して垂直または平行の辺を有しないさらなる実施例を示す図面 マイクロミラー辺が入射光に対して垂直または平行の辺を有しないさらなる実施例を示す図面 本発明においてヒンジとして使用し得る構造を示す図面 本発明においてヒンジとして使用し得る構造を示す図面 本発明においてヒンジとして使用し得る構造を示す図面 本発明においてヒンジとして使用し得る構造を示す図面 本発明においてヒンジとして使用し得る構造を示す図面 本発明においてヒンジとして使用し得る構造を示す図面 本発明においてヒンジとして使用し得る構造を示す図面 本発明においてヒンジとして使用し得る構造を示す図面 本発明においてヒンジとして使用し得る構造を示す図面 本発明においてヒンジとして使用し得る構造を示す図面 回析パターンを示す図面 回析パターンを示す図面 回析パターンを示す図面

Claims (81)

  1. 配列されたマイクロミラーに光を供給する光源と、
    複数のマイクロミラーの辺によって形状が規定された、マイクロミラーアレイとを備え、
    作動時には前記光源からの光が前記マイクロミラーアレイに入射し、
    前記マイクロミラーアレイは4つの辺を有し、マイクロミラーの辺は何れもマイクロミラーアレイの辺とは平行でなく、
    前記光源からの入射光は、前記マイクロミラーアレイの1つの辺に対して直角に入射し、
    さらに、前記マイクロミラーの下には、当該マイクロミラーの回転軸を前記入射した光に対して垂直にするヒンジが、当該マイクロミラーと平行の間隔をおいた異なる平面上に形成されている、投射ディスプレイ。
  2. マイクロミラーアレイの上方から見た場合に、マイクロミラーの辺は何れも入射光と平行でない請求項1に記載の投射ディスプレイ。
  3. マイクロミラーの回転軸は前記マイクロミラーアレイの1つの辺と平行である請求項1に記載の投射ディスプレイ。
  4. 前記マイクロミラーは正方形である請求項1に記載の投射ディスプレイ。
  5. 前記マイクロミラーはマイクロミラーアレイのX軸とY軸に対して平行でない角度をなす格子状に配列された請求項1に記載の投射ディスプレイ。
  6. 前記マイクロミラーは、前記ヒンジを介して基板に接続されたマイクロミラー板を有しており、
    前記ヒンジとマイクロミラー板とによって第1の間隙が規定され、マイクロミラー板と基板との間に第2の間隙が規定される請求項1に記載の投射ディスプレイ。
  7. 隣接するマイクロミラーの間の間隙は0.1μm〜10μmである請求項1に記載の投射ディスプレイ。
  8. 前記隣接するマイクロミラーの間の間隙は0.7μmである請求項7に記載の投射ディスプレイ。
  9. 前記マイクロミラーアレイは、光を透過する窓を有するパッケージ内に設けられた請求項1に記載の投射ディスプレイ。
  10. 前記パッケージの一部にはマスクが設けられている請求項9に記載の投射ディスプレイ。
  11. 前記パッケージには分子スカベンジャーが設けられている請求項9に記載の投射ディスプレイ。
  12. 前記パッケージにはゲッターが設けられている請求項9に記載の投射ディスプレイ。
  13. 前記パッケージには、減スティクション剤が設けられている請求項9に記載の投射ディスプレイ。
  14. フロントスクリーンプロジェクションテレビである請求項1に記載の投射ディスプレイ。
  15. リアスクリーンプロジェクションテレビである請求項1に記載の投射ディスプレイ。
  16. コンピュータモニタである請求項1に記載の投射ディスプレイ。
  17. カラーホイールを備えた請求項1に記載の投射ディスプレイ。
  18. マイクロミラーアレイに照射される光は、マイクロミラーの平面に対する垂線に対して10から50度の角度を形成する請求項1に記載の投射ディスプレイ。
  19. 前記マイクロミラーは半導体基板上に設けられた請求項1に記載の投射ディスプレイ。
  20. 前記半導体基板はシリコン基板である請求項19に記載の投射ディスプレイ。
  21. 前記マイクロミラーが光透過性の基板上に設けられた請求項1に記載の投射ディスプレイ。
  22. 前記光透過性の基板はガラス製である請求項21に記載の投射ディスプレイ。
  23. 前記光透過性の基板はクォーツ又はサファイアである請求項21に記載の投射ディスプレイ。
  24. 前記光透過性の窓はガラス製である請求項9に記載の投射ディスプレイ。
  25. 前記光透過性の窓はクォーツである請求項9に記載の投射ディスプレイ。
  26. 前記光透過性の窓はポリマーである請求項9に記載の投射ディスプレイ。
  27. 前記マイクロミラーはON位置に向かって少なくとも+12度回転することができる請求項1に記載の投射ディスプレイ。
  28. 前記マイクロミラーのON位置は、傾斜の無い位置に対して10から15度傾斜している請求項1に記載の投射ディスプレイ。
  29. 前記マイクロミラーのONとOFF位置はマイクロミラーが当接する対象によって規定される請求項1に記載の投射ディスプレイ。
  30. さらにONとOFFのミラーパターンが入射するスクリーンを有する請求項1に記載の投射ディスプレイ。
  31. マイクロミラーアレイのパターンをターゲットに投影するための複数のレンズを含む光学系を備えた請求項1に記載の投射ディスプレイ。
  32. さらにカラーホィールと、導光管とスクリーンを備えた請求項1に記載の投射ディスプレイ。
  33. マイクロミラーが回路と電極に隣接する基板上に形成され、少なくとも2つの電極がマイクロミラーの近傍に設けられ、1つの電極がOFF位置に当該隣接するマイクロミラーを静電的に引き寄せ、他の1つの電極がON位置に隣接するマイクロミラーを静電的に引き寄せる請求項1に記載の投射ディスプレイ。
  34. 前記回路と電極がマイクロミラーと同じ基板上に形成されている請求項1に記載の投射ディスプレイ。
  35. 前記隣接するマイクロミラーがONまたはOFF位置に到達したときに当該マイクロミラーを停止させる追加の電極を備えた請求項1に記載の投射ディスプレイ。
  36. 前記追加の電極は隣接するマイクロミラーと同じポテンシャルである請求項35に記載の投射ディスプレイ。
  37. 前記マイクロミラーは金属と誘電性材料を含む請求項1に記載の投射ディスプレイ。
  38. 前記誘電性材料はシリコンの窒素化合物、炭素化合物又は酸化物である請求項37に記載の投射ディスプレイ。
  39. 前記マイクロミラーアレイはパッケージ内に設けられ、回路と電極が半導体上に形成され、ボンドワイヤが基板とパッケージを接続する請求項1に記載の投射ディスプレイ。
  40. 前記マイクロミラーのヒンジは入射する光の方向に対して垂直に延びている請求項1に記載の投射ディスプレイ。
  41. 前記マイクロミラーのヒンジはマイクロミラーアレイの先頭辺と後尾辺とに対して平行に延びている請求項1に記載の投射ディスプレイ。
  42. マイクロミラーアレイを上から見た場合、マイクロミラーアレイに入射する光を規定する直線がマイクロミラーのいずれの辺とも平行でない請求項1に記載の投射ディスプレイ。
  43. 前記マイクロミラーはL型である請求項1に記載の投射ディスプレイ。
  44. 前記マイクロミラーはひし形である請求項1に記載の投射ディスプレイ。
  45. 前記マイクロミラーは相互に実質的に隙間無く設けられている請求項1に記載の投射ディスプレイ。
  46. 前記4つの辺を有するマイクロミラーアレイは長方形で、光源からの光線は当該アレイの最も近い辺から垂直に立てた直線に対してプラスマイナス40度の範囲から入射する請求項1に記載の投射ディスプレイ。
  47. 前記マイクロミラーは金又はチタニウムのいずれかからなる反射材を有する請求項1に記載の投射ディスプレイ。
  48. 前記マイクロミラーはアルミニウムを含有する反射材を有する請求項1に記載の投射ディスプレイ。
  49. 前記マイクロミラーは銀を含有する反射材を有する請求項1に記載の投射ディスプレイ。
  50. 前記マイクロミラーのOFF状態での角度は、ON状態における逆方向の角度よりも小さい請求項1に記載の投射ディスプレイ。
  51. 各マイクロミラーの回転軸はマイクロミラーアレイの1つの辺に実質的に平行である請求項1に記載の投射ディスプレイ。
  52. 各マイクロミラーの回転軸はマイクロミラーの1つ以上側面に対して35〜60度の範囲である請求項51に記載の投射ディスプレイ。
  53. 前記入射光はマイクロミラーのいずれの辺に対しても垂直でない請求項1に記載の投射ディスプレイ。
  54. 前記ヒンジの幅は0.1から10μmの間である請求項1に記載の投射ディスプレイ。
  55. マイクロミラーは光が入射する側の先頭側に、角張った突出部を有する請求項1に記載の投射ディスプレイ。
  56. 前記マイクロミラーは、当該マイクロミラーを動かすための電極および回路が形成された基板と同一の基板上に設けてある、請求項1に記載の投射ディスプレイ。
  57. 各マイクロミラーが非撓み位置からオン位置およびオフ位置に変位可能なように、前記マイクロミラーアレイは、基板上に支持されている請求項1に記載の投射ディスプレイ。
  58. 前記ヒンジは、導電層から形成されている請求項1に記載の投射ディスプレイ。
  59. 前記導電性材料はアルミニウム、合金又は導電性セラミック組成物のいずれかである請求項58に記載の投射ディスプレイ。
  60. 各マイクロミラーはマイクロミラーを1つの方向に変位させる第1の電極と、マイクロミラーを第2の方向に変位させる第2の電極と、マイクロミラーを停止させる第3の電極とを有する請求項1に記載の投射ディスプレイ。
  61. さらにマイクロミラー相互間の間隙によって散乱する光を低減するためにマイクロミラーの下に光を吸収する層を有する請求項1に記載の投射ディスプレイ。
  62. 64000〜2000000個のマイクロミラーを有する請求項1に記載の投射ディスプレイ。
  63. さらにTIRプリズムを有する請求項1に記載の投射ディスプレイ。
  64. さらに導光管を有する請求項1に記載の投射ディスプレイ。
  65. マイクロミラーアレイは1920000〜3145728個のマイクロミラーを有する請求項1に記載の投射ディスプレイ。
  66. マイクロミラーの辺は当該ミラーの面に対して入射する光の軸に対して80度未満の角度をなしている請求項1に記載の投射ディスプレイ。
  67. マイクロミラーの辺は当該ミラーの面に対して入射する光の軸に対して55度以下の角度をなしている請求項66に記載の投射ディスプレイ。
  68. マイクロミラーの辺は当該ミラーの面に対して入射する光の軸に対して45度以下の角度をなしている請求項67に記載の投射ディスプレイ。
  69. マイクロミラーの辺は当該ミラーの面に対して入射する光の軸に対して40度以下の角度をなしている請求項67に記載の投射ディスプレイ。
  70. 1平方cm以上1平方インチの面積に、3000000個以上のマイクロミラーが存在する請求項1に記載の投射ディスプレイ。
  71. 前記マイクロミラーは1920000以上の解像度を有する請求項1に記載の投射ディスプレイ。
  72. HDTVフォーマットを有する請求項1に記載の投射ディスプレイ。
  73. QXGAフォーマットを有する請求項1に記載の投射ディスプレイ。
  74. UXGAフォーマットを有する請求項1に記載の投射ディスプレイ。
  75. 前記マイクロミラーは凸な多角形状である請求項1に記載の投射ディスプレイ。
  76. 前記マイクロミラーは2つの多角形からなる辺を有し、それらがなす各は90度より小さい請求項1に記載の投射ディスプレイ。
  77. マイクロミラーアレイに光を供給する光源と、
    複数のマイクロミラーの辺によって規定される形状を有するマイクロミラーからなるマイクロミラーアレイと、
    を備え、
    作動中は前記光源からの光がマイクロミラーアレイに入射し、
    前記マイクロミラーアレイは4つの辺を有し、マイクロミラーの辺は何れもマイクロミラーアレイのどの辺とも平行ではなく、
    マイクロミラーはOFF状態とON状態との間を動くことができ、マイクロミラーは画像のピクセルに対応するものであり、
    前記光源からの入射光は、前記マイクロミラーアレイの1つの辺に対して直角に入射し、
    さらに、前記マイクロミラーの下には、当該マイクロミラーの回転軸を前記入射した光に対して垂直にするヒンジが、当該マイクロミラーと平行の間隔をおいた異なる平面上に形成されている、投射ディスプレイ。
  78. さらにカラーホイールを有する請求項77に記載の投射ディスプレイ。
  79. 前記アレイを上から見たときに、マイクロミラーの辺は何れも入射する光と平行ではない請求項77に記載の投射ディスプレイ。
  80. 前記マイクロミラーはアレイのX、Y軸に対して傾斜した格子状に配置されている請求項77に記載の投射ディスプレイ。
  81. 前記マイクロミラーが実質的に隙間無く設けられた請求項77に記載の投射ディスプレイ。
JP2004257715A 2000-08-03 2004-09-03 マイクロミラー素子、マイクロミラー素子用のパッケージ、およびそのための投射システム Expired - Fee Related JP3889757B2 (ja)

Applications Claiming Priority (3)

Application Number Priority Date Filing Date Title
US09/631,536 US6529310B1 (en) 1998-09-24 2000-08-03 Deflectable spatial light modulator having superimposed hinge and deflectable element
US22924600P 2000-08-30 2000-08-30
US09/732,445 US6523961B2 (en) 2000-08-30 2000-12-07 Projection system and mirror elements for improved contrast ratio in spatial light modulators

Related Parent Applications (1)

Application Number Title Priority Date Filing Date
JP2002517555A Division JP3889705B2 (ja) 2000-08-03 2001-08-03 マイクロミラー素子、マイクロミラー素子用のパッケージ、およびそのための投射システム

Publications (2)

Publication Number Publication Date
JP2005099793A JP2005099793A (ja) 2005-04-14
JP3889757B2 true JP3889757B2 (ja) 2007-03-07

Family

ID=27397927

Family Applications (5)

Application Number Title Priority Date Filing Date
JP2002517555A Expired - Fee Related JP3889705B2 (ja) 2000-08-03 2001-08-03 マイクロミラー素子、マイクロミラー素子用のパッケージ、およびそのための投射システム
JP2004257715A Expired - Fee Related JP3889757B2 (ja) 2000-08-03 2004-09-03 マイクロミラー素子、マイクロミラー素子用のパッケージ、およびそのための投射システム
JP2004272332A Expired - Fee Related JP3768514B2 (ja) 2000-08-03 2004-09-17 マイクロミラー素子、マイクロミラー素子用のパッケージ、およびそのための投射システム
JP2004272333A Expired - Fee Related JP3889759B2 (ja) 2000-08-03 2004-09-17 マイクロミラー素子、マイクロミラー素子用のパッケージ、およびそのための投射システム
JP2005353848A Abandoned JP2006178447A (ja) 2000-08-03 2005-12-07 マイクロミラー素子、マイクロミラー素子用のパッケージ、およびそのための投射システム

Family Applications Before (1)

Application Number Title Priority Date Filing Date
JP2002517555A Expired - Fee Related JP3889705B2 (ja) 2000-08-03 2001-08-03 マイクロミラー素子、マイクロミラー素子用のパッケージ、およびそのための投射システム

Family Applications After (3)

Application Number Title Priority Date Filing Date
JP2004272332A Expired - Fee Related JP3768514B2 (ja) 2000-08-03 2004-09-17 マイクロミラー素子、マイクロミラー素子用のパッケージ、およびそのための投射システム
JP2004272333A Expired - Fee Related JP3889759B2 (ja) 2000-08-03 2004-09-17 マイクロミラー素子、マイクロミラー素子用のパッケージ、およびそのための投射システム
JP2005353848A Abandoned JP2006178447A (ja) 2000-08-03 2005-12-07 マイクロミラー素子、マイクロミラー素子用のパッケージ、およびそのための投射システム

Country Status (8)

Country Link
EP (1) EP1315993A4 (ja)
JP (5) JP3889705B2 (ja)
KR (1) KR100724081B1 (ja)
CN (5) CN100412604C (ja)
AT (1) ATE354814T1 (ja)
AU (1) AU2001281019A1 (ja)
DE (10) DE20122372U1 (ja)
WO (1) WO2002012925A2 (ja)

Families Citing this family (51)

* Cited by examiner, † Cited by third party
Publication number Priority date Publication date Assignee Title
US6969635B2 (en) 2000-12-07 2005-11-29 Reflectivity, Inc. Methods for depositing, releasing and packaging micro-electromechanical devices on wafer substrates
US7018052B2 (en) 2000-08-30 2006-03-28 Reflectivity, Inc Projection TV with improved micromirror array
US7307775B2 (en) * 2000-12-07 2007-12-11 Texas Instruments Incorporated Methods for depositing, releasing and packaging micro-electromechanical devices on wafer substrates
US7023606B2 (en) 2001-08-03 2006-04-04 Reflectivity, Inc Micromirror array for projection TV
SG111972A1 (en) * 2002-10-17 2005-06-29 Agency Science Tech & Res Wafer-level package for micro-electro-mechanical systems
US7042622B2 (en) 2003-10-30 2006-05-09 Reflectivity, Inc Micromirror and post arrangements on substrates
US7397517B2 (en) * 2003-05-30 2008-07-08 Kazuhiro Ohara Display system and signal processing using diamond-shaped DMDs
US6871958B2 (en) 2003-08-18 2005-03-29 Evans & Sutherland Computer Corporation Wide angle scanner for panoramic display
US7012669B2 (en) 2003-08-18 2006-03-14 Evans & Sutherland Computer Corporation Reflection barrier for panoramic display
US7334902B2 (en) 2003-08-18 2008-02-26 Evans & Sutherland Computer Corporation Wide angle scanner for panoramic display
US6861277B1 (en) * 2003-10-02 2005-03-01 Hewlett-Packard Development Company, L.P. Method of forming MEMS device
US6995830B2 (en) * 2003-12-22 2006-02-07 Asml Netherlands B.V. Lithographic projection apparatus and device manufacturing method
US7057794B2 (en) * 2004-05-19 2006-06-06 Taiwan Semiconductor Manufacturing Company, Ltd. Micromirror for MEMS device
US7273693B2 (en) * 2004-07-30 2007-09-25 Hewlett-Packard Development Company, L.P. Method for forming a planar mirror using a sacrificial oxide
US7038831B2 (en) * 2004-09-30 2006-05-02 Lucent Technologies, Inc. Micromirror apparatus with improved in-plane rotation tolerance
KR100815358B1 (ko) * 2004-10-08 2008-03-19 삼성전기주식회사 경사진 광투과성 덮개를 가진 광변조기 패키지
JP4568579B2 (ja) 2004-10-29 2010-10-27 富士通株式会社 光スイッチ
IL165212A (en) 2004-11-15 2012-05-31 Elbit Systems Electro Optics Elop Ltd Device for scanning light
US7372617B2 (en) * 2005-07-06 2008-05-13 Peter Enoksson Hidden hinge MEMS device
GB2453104B (en) * 2007-09-19 2012-04-25 Wolfson Microelectronics Plc Mems device and process
US11157977B1 (en) 2007-10-26 2021-10-26 Zazzle Inc. Sales system using apparel modeling system and method
TWI418850B (zh) * 2007-11-09 2013-12-11 尼康股份有限公司 微致動器、光學設備、顯示裝置、曝光裝置及設備製造方法
JP2009233836A (ja) * 2008-03-28 2009-10-15 Yamaha Corp Memsおよびmems製造方法
WO2009126263A1 (en) * 2008-04-08 2009-10-15 Cornell University Multi-axis, large tilt angle, wafer level micromirror array for large scale beam steering applications
DE102008001038B4 (de) 2008-04-08 2016-08-11 Robert Bosch Gmbh Mikromechanisches Bauelement mit Schrägstruktur und entsprechendes Herstellungsverfahren
US8096182B2 (en) * 2008-05-29 2012-01-17 Freescale Semiconductor, Inc. Capacitive sensor with stress relief that compensates for package stress
JP5151756B2 (ja) * 2008-07-16 2013-02-27 株式会社豊田中央研究所 光学装置
US10719862B2 (en) 2008-07-29 2020-07-21 Zazzle Inc. System and method for intake of manufacturing patterns and applying them to the automated production of interactive, customizable product
WO2011006522A1 (en) * 2009-07-17 2011-01-20 Carl Zeiss Smt Gmbh Microlithographic projection exposure apparatus and method of measuring a parameter related to an optical surface contained therein
KR101912092B1 (ko) 2010-10-05 2018-10-26 삼성전자 주식회사 액체 렌즈
KR101912093B1 (ko) 2010-10-29 2018-10-26 삼성전자 주식회사 광학 장치
CN102087414B (zh) * 2010-11-03 2012-12-26 凝辉(天津)科技有限责任公司 一种阵列式分区投影方法
CN102683474B (zh) * 2011-03-18 2014-11-05 浙江大立科技股份有限公司 一种基于复合牺牲层的红外探测器制作方法
US9641826B1 (en) 2011-10-06 2017-05-02 Evans & Sutherland Computer Corporation System and method for displaying distant 3-D stereo on a dome surface
US10969743B2 (en) 2011-12-29 2021-04-06 Zazzle Inc. System and method for the efficient recording of large aperture wave fronts of visible and near visible light
AU2013294616B2 (en) 2012-07-26 2016-04-28 Apple Inc. Dual-axis scanning mirror
US9110354B2 (en) * 2012-09-20 2015-08-18 Palo Alto Research Center Incorporated Steerable illumination source for a compact camera
US9482863B2 (en) 2012-10-23 2016-11-01 Apple Inc. Production of micro-mechanical devices
DE102013213842A1 (de) * 2013-07-16 2015-01-22 Carl Zeiss Smt Gmbh Optisches Bauelement
DE102013217269A1 (de) * 2013-08-29 2015-03-05 Carl Zeiss Smt Gmbh Mikrospiegel-Array
CN103777450A (zh) * 2014-01-06 2014-05-07 吴震 发光装置、投影显示装置和发光系统
CN103777445B (zh) * 2014-01-06 2018-12-25 杨毅 投影显示装置
JP2016029430A (ja) * 2014-07-25 2016-03-03 セイコーエプソン株式会社 電気光学装置、電気光学装置の製造方法、及び電子機器
DE102015200626B3 (de) 2015-01-16 2016-07-21 Fraunhofer-Gesellschaft zur Förderung der angewandten Forschung e.V. MEMS Aktuator, System mit einer Mehrzahl vom MEMS Aktuatoren und Verfahren zum Herstellen eines MEMS Aktuators
CN104835908A (zh) * 2015-04-17 2015-08-12 上海华虹宏力半导体制造有限公司 用于3d amr的氮化钽刻蚀方法
US10589980B2 (en) * 2017-04-07 2020-03-17 Texas Instruments Incorporated Isolated protrusion/recession features in a micro electro mechanical system
DE102018207783B4 (de) 2018-05-17 2022-11-10 Fraunhofer-Gesellschaft zur Förderung der angewandten Forschung e.V. MEMS-Array aus MEMS mit jeweils einem beweglichen Strukturelement
CN111246187B (zh) * 2018-11-29 2022-07-29 青岛海信激光显示股份有限公司 光阀驱动控制方法及投影设备
KR102211618B1 (ko) * 2019-07-26 2021-02-02 인하대학교 산학협력단 3차원 플로팅 이미지 구현 장치용 역반사 마이크로 미러 어레이
CN113675722B (zh) * 2021-07-14 2024-10-29 威科赛乐微电子股份有限公司 一种Cap layer层蚀刻优化方法
WO2025127562A1 (ko) * 2023-12-14 2025-06-19 엘지이노텍 주식회사 프로젝트 장치 및 이를 포함하는 전자 디바이스

Family Cites Families (12)

* Cited by examiner, † Cited by third party
Publication number Priority date Publication date Assignee Title
US4592628A (en) * 1981-07-01 1986-06-03 International Business Machines Mirror array light valve
US5659374A (en) * 1992-10-23 1997-08-19 Texas Instruments Incorporated Method of repairing defective pixels
US5696619A (en) * 1995-02-27 1997-12-09 Texas Instruments Incorporated Micromechanical device having an improved beam
JPH08304924A (ja) * 1995-05-10 1996-11-22 Nikon Corp プロジェクター装置
JPH08304892A (ja) * 1995-05-11 1996-11-22 Asahi Optical Co Ltd ストロボ付カメラ
US6288828B1 (en) * 1997-09-10 2001-09-11 Light And Sound Design Ltd. Programmable light beam shape altering device using programmable micromirrors
KR100243190B1 (ko) * 1996-06-10 2000-02-01 윤종용 가동미러장치 및 그 제조방법
EP0877272B1 (en) * 1997-05-08 2002-07-31 Texas Instruments Incorporated Improvements in or relating to spatial light modulators
KR100313851B1 (ko) * 1998-04-10 2001-12-12 윤종용 화상표시장치용마이크로미러디바이스
US6123985A (en) * 1998-10-28 2000-09-26 Solus Micro Technologies, Inc. Method of fabricating a membrane-actuated charge controlled mirror (CCM)
US6222667B1 (en) * 1999-02-09 2001-04-24 Advanced Optics Electronics, Inc. Electro-optic light valve array
US6175443B1 (en) * 1999-05-01 2001-01-16 Lucent Technologies, Inc. Article comprising a deformable segmented mirror

Also Published As

Publication number Publication date
EP1315993A4 (en) 2005-07-13
DE20122616U1 (de) 2006-09-14
JP2005122146A (ja) 2005-05-12
JP2005099793A (ja) 2005-04-14
CN100412603C (zh) 2008-08-20
CN100412602C (zh) 2008-08-20
WO2002012925A3 (en) 2002-09-06
JP3889705B2 (ja) 2007-03-07
KR100724081B1 (ko) 2007-06-04
JP2005122145A (ja) 2005-05-12
DE20122372U1 (de) 2005-05-19
CN1567020A (zh) 2005-01-19
JP2006178447A (ja) 2006-07-06
CN1567021A (zh) 2005-01-19
CN1567019A (zh) 2005-01-19
DE20122371U1 (de) 2005-05-19
DE20122373U1 (de) 2005-05-19
EP1315993A2 (en) 2003-06-04
DE20122614U1 (de) 2006-09-14
CN1567018A (zh) 2005-01-19
JP3768514B2 (ja) 2006-04-19
CN100392467C (zh) 2008-06-04
DE20122618U1 (de) 2006-11-23
JP3889759B2 (ja) 2007-03-07
DE20122370U1 (de) 2005-05-19
DE20122615U1 (de) 2006-09-14
JP2004506230A (ja) 2004-02-26
WO2002012925A2 (en) 2002-02-14
AU2001281019A1 (en) 2002-02-18
DE60126849D1 (de) 2007-04-05
CN1444738A (zh) 2003-09-24
CN100412604C (zh) 2008-08-20
CN100371763C (zh) 2008-02-27
KR20030036665A (ko) 2003-05-09
ATE354814T1 (de) 2007-03-15
DE20122617U1 (de) 2006-09-14
DE60126849T2 (de) 2007-11-08

Similar Documents

Publication Publication Date Title
JP3889757B2 (ja) マイクロミラー素子、マイクロミラー素子用のパッケージ、およびそのための投射システム
US7006275B2 (en) Packaged micromirror array for a projection display
US7023606B2 (en) Micromirror array for projection TV
US6962419B2 (en) Micromirror elements, package for the micromirror elements, and projection system therefor
JP2005115370A (ja) Memsデバイスおよびmemsデバイスの形成方法
CN1748168A (zh) 用于投影显示器中微型反射镜阵列的微型反射镜和偏离对角线的铰链结构
US7151628B2 (en) Micromirror array device and a method for making the same
EP1553437B1 (en) Singulated wafer die having micromirrors

Legal Events

Date Code Title Description
A621 Written request for application examination

Free format text: JAPANESE INTERMEDIATE CODE: A621

Effective date: 20040903

A871 Explanation of circumstances concerning accelerated examination

Free format text: JAPANESE INTERMEDIATE CODE: A871

Effective date: 20040903

A975 Report on accelerated examination

Free format text: JAPANESE INTERMEDIATE CODE: A971005

Effective date: 20050210

A131 Notification of reasons for refusal

Free format text: JAPANESE INTERMEDIATE CODE: A131

Effective date: 20050322

RD02 Notification of acceptance of power of attorney

Free format text: JAPANESE INTERMEDIATE CODE: A7422

Effective date: 20050318

RD04 Notification of resignation of power of attorney

Free format text: JAPANESE INTERMEDIATE CODE: A7424

Effective date: 20050425

RD04 Notification of resignation of power of attorney

Free format text: JAPANESE INTERMEDIATE CODE: A7424

Effective date: 20050425

A601 Written request for extension of time

Free format text: JAPANESE INTERMEDIATE CODE: A601

Effective date: 20050616

A602 Written permission of extension of time

Free format text: JAPANESE INTERMEDIATE CODE: A602

Effective date: 20050621

A521 Request for written amendment filed

Free format text: JAPANESE INTERMEDIATE CODE: A523

Effective date: 20050922

A131 Notification of reasons for refusal

Free format text: JAPANESE INTERMEDIATE CODE: A131

Effective date: 20060131

A601 Written request for extension of time

Free format text: JAPANESE INTERMEDIATE CODE: A601

Effective date: 20060428

A602 Written permission of extension of time

Free format text: JAPANESE INTERMEDIATE CODE: A602

Effective date: 20060509

A521 Request for written amendment filed

Free format text: JAPANESE INTERMEDIATE CODE: A523

Effective date: 20060519

A524 Written submission of copy of amendment under article 19 pct

Free format text: JAPANESE INTERMEDIATE CODE: A524

Effective date: 20060519

A521 Request for written amendment filed

Free format text: JAPANESE INTERMEDIATE CODE: A523

Effective date: 20060601

A072 Dismissal of procedure [no reply to invitation to correct request for examination]

Free format text: JAPANESE INTERMEDIATE CODE: A072

Effective date: 20061027

TRDD Decision of grant or rejection written
A01 Written decision to grant a patent or to grant a registration (utility model)

Free format text: JAPANESE INTERMEDIATE CODE: A01

Effective date: 20061113

A61 First payment of annual fees (during grant procedure)

Free format text: JAPANESE INTERMEDIATE CODE: A61

Effective date: 20061130

R150 Certificate of patent or registration of utility model

Free format text: JAPANESE INTERMEDIATE CODE: R150

LAPS Cancellation because of no payment of annual fees