JP3856426B2 - 半導体装置及びその製造方法 - Google Patents

半導体装置及びその製造方法 Download PDF

Info

Publication number
JP3856426B2
JP3856426B2 JP2001271255A JP2001271255A JP3856426B2 JP 3856426 B2 JP3856426 B2 JP 3856426B2 JP 2001271255 A JP2001271255 A JP 2001271255A JP 2001271255 A JP2001271255 A JP 2001271255A JP 3856426 B2 JP3856426 B2 JP 3856426B2
Authority
JP
Japan
Prior art keywords
electrode pad
insulating film
interlayer insulating
opening
wire bonding
Prior art date
Legal status (The legal status is an assumption and is not a legal conclusion. Google has not performed a legal analysis and makes no representation as to the accuracy of the status listed.)
Expired - Fee Related
Application number
JP2001271255A
Other languages
English (en)
Other versions
JP2003086624A (ja
Inventor
光陽児 太田
寛之 大倉
Current Assignee (The listed assignees may be inaccurate. Google has not performed a legal analysis and makes no representation or warranty as to the accuracy of the list.)
Toshiba Corp
Original Assignee
Toshiba Corp
Priority date (The priority date is an assumption and is not a legal conclusion. Google has not performed a legal analysis and makes no representation as to the accuracy of the date listed.)
Filing date
Publication date
Application filed by Toshiba Corp filed Critical Toshiba Corp
Priority to JP2001271255A priority Critical patent/JP3856426B2/ja
Publication of JP2003086624A publication Critical patent/JP2003086624A/ja
Application granted granted Critical
Publication of JP3856426B2 publication Critical patent/JP3856426B2/ja
Anticipated expiration legal-status Critical
Expired - Fee Related legal-status Critical Current

Links

Images

Classifications

    • H10P74/273
    • H10W72/019
    • H10W72/07551
    • H10W72/07553
    • H10W72/50
    • H10W72/531
    • H10W72/536
    • H10W72/5366
    • H10W72/5522
    • H10W72/59
    • H10W72/923
    • H10W72/932
    • H10W72/952
    • H10W72/983

Landscapes

  • Internal Circuitry In Semiconductor Integrated Circuit Devices (AREA)
  • Wire Bonding (AREA)

Description

【0001】
【発明の属する技術分野】
本発明は電極パッドを備えた半導体装置に係り、特にダイソート用電極パッドとワイヤボンディング用電極パッドとを備えた半導体装置及びその製造方法に関するものである。
【0002】
【従来の技術】
従来のボンディングパッドを備えた半導体装置のワイヤボンディング方法について、図9を用いて説明する。
【0003】
図9(A)には、ワイヤボンディングが行なわれる前のボンディングパッド周辺の半導体装置の断面が示される。図9(A)に示されるように半導体基板50上に第1層間絶縁膜51を設けている。この第1層間絶縁膜51上には、内部配線52が設けられ、この内部配線52上及び第1層間絶縁膜51上には、第2層間絶縁膜54が設けられている。内部配線52にはコンタクト53が接続されている。このコンタクト53に接続されて、第2層間絶縁膜54上にワイヤボンディング用電極パッド55が設けられている。このワイヤボンディング用電極パッド55の一部には開口部56が設けられて、その上表面が露出している。この開口部56以外のワイヤボンディング用電極パッド55及び第2層間絶縁膜54の上表面にはパッシベーション層57が設けられている。
【0004】
通常、半導体装置は半導体ウェハー状態での製造工程を終了した後、パッケージアセンブリをする前にウェハーレベルで不良品をスクリーニングするダイソートテストを行っている。
【0005】
このダイソートテストを行なわずにワイヤボンディングを行なった状態が、図9(B)に示される。図9(A)に示された開口部56に露出したワイヤボンディング用電極パッド55の上表面にボンディングワイヤ58が接着されている。
【0006】
次に、図10を用いて、ダイソートテストを行なった場合のワイヤボンディング用電極パッド周辺の半導体装置の構造について説明する。図10(A)には、ダイソートテストの状態の断面が示される。金属製のダイソート用プローブ59を開口部56に露出したワイヤボンディング用電極パッド55の上表面に接触させてダイソートを行なっている。ここで、ダイソート用プローブ59とワイヤボンディング用電極パッド55との電気的な接続を保証するように、ある程度の圧力をかけるために、ワイヤボンディング用電極パッド55には傷60が生じる。
【0007】
このダイソートテストを行なった後で、ダイソート用プローブ59を引き離し、このワイヤボンディング用電極パッド55はパッケージアセンブリ工程でボンディングワイヤ57を接続する。この様子が図10(B)に断面図で示される。ボンディングワイヤ57は、開口部56に露出したワイヤボンディング用電極パッド55上表面に接着される。ここで、ダイソート用プローブ59の接触により生じた傷60が原因でボンディングワイヤ57の下に空隙61ができる。この空隙61により、ボンディングワイヤ57とワイヤボンディング用電極パッド55との接合面積が低下し、コンタクト性の悪化、パッケージ化された半導体装置の信頼性が劣化することが問題となる。
【0008】
この問題を解決するために、従来では図11に示されるような対策が提案されている。図11は特開昭62−261139号公報に記載された技術である。半導体基板65上には、フィールド絶縁膜66が形成されている。このフィールド絶縁膜66上には、層間絶縁膜67が設けられている。この層間絶縁膜67が設けられていないチップ領域の周辺領域からスクライブライン上にかけて、フィールド絶縁膜66の一部の上に検査用電極層68が設けられている。このスクライブライン68の一部分の上には検査用電極層68が設けられ、この層間絶縁膜67が設けられていない接続部分69で配線金属層70に接続されていて、チップ領域内の層間絶縁膜67上に配線金属層70が延在して設けられている。チップ領域内のパッド領域72以外には、表面保護膜71が設けられている。また、スクライブライン上には、検査用電極層68に上表面が露出したダイソート用プローブの針当て領域73が設けられている。このように、チップ領域以外にダイソート用プローブの針当て領域73を設けることで、ダイソート用プローブによる傷がワイヤボンディング用電極パッドに影響を与えないようにしている。
【0009】
また、図12及び図13に示されるような特開平11−87441号公報に記載された提案もある。図12(A)には、第1のタイプの電極パッドの断面構造が示され、図12(B)には、その電極パッドの上面図が示される。このように同一電極パッドをダイソート用プローブの針当て領域75とワイヤボンディング領域76とに分けている。ダイソート用プローブの針当て領域75には、ダイソート用プローブが接触した部分には、窪み状のプローブ接触痕77が形成されている。ワイヤボンディング領域76では、ボンディングワイヤ78がその表面上に接着されている。
【0010】
また、図13(A)には、第2のタイプの電極パッドの断面構造が示され、図13(B)には、その電極パッドの上面図が示される。このように、隣接する電極パッドを配線80でつなぎ、一つ目の電極パッドをダイソート用プローブの針当て領域81に、もう一つの電極パッドをワイヤボンディング領域82としている。ダイソート用プローブの針当て領域81には、ダイソート用プローブが接触した部分には、窪み状のプローブ接触痕83が形成されている。ワイヤボンディング領域82では、ボンディングワイヤ84がその表面上に接着されている。
【0011】
これらの方法でダイソート時にダイソート用プローブにより生じた傷による影響がボンディングワイヤに接着されたパッド電極に及ばないようにしていた。
【0012】
【発明が解決しようとする課題】
以上のような従来の半導体装置では、以下の課題が生じる。
【0013】
図11に示された方法では、スクライブラインの針当て領域とワイヤボンディング用電極パッドが離れてしまうデザイン、例えばチップの中央に電極パッドがある場合、スクライブラインと電極パッドを接続する配線の引き回しが困難になってしまう。またスクライブラインと電極パッドを接続する配線の延長は抵抗値を高めて回路特性を悪化させる要因となる欠点があった。特に高周波半導体装置では、配線長が長いことは抵抗が高くなり特性上の課題となる。
【0014】
また、図12又は図13に示された方法では、電極パッドの面積を広げることになり半導体チップ縮小化への障害や、電極パッドから周辺回路までの配線が長くなることで回路特性を悪化させる要因があった。
【0015】
本発明の目的は以上のような従来技術の課題を解決することにある。
【0016】
特に、本発明の目的は電極パッド領域の面積を増加させずにボンディングワイヤとワイヤボンディング用電極パッドの電気特性を向上させた半導体装置及びその製造方法を提供することにある。
【0017】
【課題を解決するための手段】
上記目的を達成するために、本発明の一態様の半導体装置は、半導体基板と、この半導体基板上に設けられた第1層間絶縁膜と、この第1層間絶縁膜上の一部に設けられた配線層と、前記第1層間絶縁膜上及び前記配線層上に設けられた第2層間絶縁膜と、この第2層間絶縁膜を介して形成され、かつ、前記配線層に接続された第1電極パッドと、この第1電極パッド上及び前記第2層間絶縁膜上に設けられ、その一部に前記第1電極パッド表面を露出させる開口が設けられた第3層間絶縁膜と、この第3層間絶縁膜を介して形成され、前記第3層間絶縁膜の開口上に開口を有する第2電極パッドと、この第2電極パッド上及び前記第3層間絶縁膜上に形成され、前記第2電極パッドの開口上に開口を有するパッシベーション層を備えることを特徴とする。
【0018】
また、本発明の別の態様の半導体装置は、回路素子がその表面に形成された半導体基板と、この半導体基板上に形成された第1層間絶縁膜と、この第1層間絶縁膜上に形成され、前記回路素子に接続された内部配線層と、その内部配線層上と前記第1層間絶縁膜上に形成された第2層間絶縁膜と、その第2層間絶縁膜上に形成されたワイヤボンディング用電極パッドと、このワイヤボンディング用電極パッドと前記内部配線層とを接続する第1コンタクトと、前記ワイヤボンディング用電極パッド上に形成された第3層間絶縁膜と、この第3層間絶縁膜を介して、前記ワイヤボンディング用電極パッド上に形成されたダイソート用電極パッドと、このダイソート用電極パッドと前記ワイヤボンディング用電極パッドとの間に接続された第2コンタクトを備え、前記ダイソート用電極パッドはその一部に開口が設けられ、この開口下の前記第3層間絶縁膜に開口が設けられ、その前記第3層間絶縁膜の開口に前記ワイヤボンディング用電極パッド表面が露出していることを特徴とする。
【0019】
また、本発明の別の態様の半導体装置は、半導体基板と、この半導体基板上に設けられた第1層間絶縁膜と、この第1層間絶縁膜上の一部に設けられた配線層と、前記第1層間絶縁膜上及び前記配線層上に設けられた第2層間絶縁膜と、この第2層間絶縁膜を介して形成され、かつ、前記配線層に接続された第1電極パッドと、この第1電極パッド上及び前記第2層間絶縁膜上に設けられ、その一部に前記第1電極パッド表面を露出させる開口が設けられた第3層間絶縁膜と、この第3層間絶縁膜を介して形成され、前記第3層間絶縁膜の開口上に開口を有する第2電極パッドと、この第2電極パッド上及び前記第3層間絶縁膜上に形成され、前記第2電極パッドの開口上に開口を有するパッシベーション層と、露出した前記第1電極パッド表面の少なくとも一部にワイヤボンディングされたボンディングワイヤを備えることを特徴とする。
【0020】
また、本発明の別の態様の半導体装置の製造方法は、半導体基板上に第1層間絶縁膜を形成する工程と、この第1層間絶縁膜上に内部配線を形成する工程と、この内部配線上及び前記第1層間絶縁膜上に第2層間絶縁膜を形成する工程と、この第2層間絶縁膜上に前記内部配線に接続された第1電極パッドを形成する工程と、この第1電極パッド上及び前記第2層間絶縁膜上に第3層間絶縁膜を形成する工程と、この第3層間絶縁膜上に前記第1電極パッドに接続された第2電極パッドを形成する工程と、この第2電極パッド上及び前記第3層間絶縁膜上にパッシベーション層を形成する工程と、このパッシベーション層の前記第2電極パッド上表面の少なくとも一部を露出させるように開口を設ける工程と、この開口中に露出した前記第2電極パッドにプローブを当てて、ダイソートテストを行なう工程と、前記露出した第2電極パッド及びこの露出した第2電極パッド下方の前記第3層間絶縁膜を除去して、前記第1電極パッド上表面を露出する工程と、この露出した前記第1電極パッド上表面にボンディングワイヤをワイヤボンディングする工程を備えることを特徴とする。
【0021】
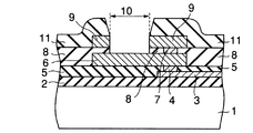
【発明の実施の形態】
本実施の形態の半導体装置の構造を図1を用いて説明する。シリコンなどからなる半導体基板1上にTEOS等のシリコン酸化膜などからなる第1層間絶縁膜2が形成されている。この第1層間絶縁膜2上には、半導体基板上に形成されているトランジスタ(図示せず)に接続される内部配線3が形成されている。この内部配線3にはAl、Wなどの導電材料が用いられて形成される第1コンタクト4が接続されている。
【0022】
この第1コンタクト4の上、及び第1層間絶縁膜2の上には、第2層間絶縁膜5が形成されている。さらに、この第2層間絶縁膜5上には、ワイヤボンディング用電極パッド6が形成されている。このワイヤボンディング用電極パッド6は例えば、アルミニウム合金や銅合金などから形成されている。このワイヤボンディング用電極パッド6には、第1コンタクト4が接続されている。このようにして、ワイヤボンディング用電極パッド6は第1コンタクト4と内部配線3により、トランジスタなどの回路素子から形成される信号入出力回路や電源回路等に接続される。
【0023】
このワイヤボンディング用電極パッド6及び第2層間絶縁膜5上には、TEOSなどのシリコン酸化膜からなる厚さが例えば、約0.4μm程度の第3層間絶縁膜8が形成されている。この第3層間絶縁膜8中には、ワイヤボンディング用電極パッド6に接続するように第2コンタクト7がAl、Wなどの導電材料が用いられて形成されている。なお、第1コンタクト4及び第2コンタクト7はパッドと同様のアルミニウムなどの材料でもよい。
【0024】
この第2コンタクト7に接続され、第3層間絶縁膜8の上で、かつ、ワイヤボンディング用電極パッド6の直上にダイソート用電極パッド9が形成されている。このダイソート用電極パッド9は例えば、アルミニウム合金や銅合金などから形成されている。ダイソート用電極パッド9は、ワイヤボンディングを行うことがないので、ボンディングワイヤとの接合性を考慮する必要が無く、アルミ合金や銅合金以外にポリシリコン、タングステン、タングステンシリサイド、チタン、窒化チタンなどから適宜、選択的に使用することができる。
【0025】
このダイソート用電極パッド9には、開口部10が設けられ、その開口部10の大きさは例えば60μm四方の四角形で形成されている。また、このダイソート用電極パッド9の開口部10の真下の第3層間絶縁膜8中には、開口部10が設けられ、ワイヤボンディング用電極パッド6の上表面が露出している。
【0026】
ここで、ダイソート用電極パッド9及びワイヤボンディング用電極パッド6の厚さは例えば約1μm程度である。なお、ダイソート用電極パッド9の厚さはさらにより薄く設定してもよい、
さらに、第2層間絶縁膜5及びダイソート用電極パッド9の上には、シリコン窒化膜などから形成されるパッシベーション層11が形成されている。このパッシベーション層11においても、ダイソート用電極パッド9の開口部10の真上に開口部10が形成されている。ダイソート用電極パッド9の表面は開口部10以外では、パッシベーション層11により保護されている。
【0027】
ワイヤボンディング用電極パッド9の開口部10に露出した表面上には、金などから形成されたボンディングワイヤ12が接続されている。
【0028】
ダイソート用電極パッド9とワイヤボンディング用電極パッド6は、半導体基板1上の電極パッドの領域では開口して電極パッドとして機能するが、それ以外の領域では配線としても機能する。
【0029】
また、ダイソート用電極パッド9の大きさをワイヤボンディング用電極パッド6の大きさより小さく形成することで、ボンディング面の開口部を設ける際にワイヤボンディング用電極パッド6の下面と同一面の第2層間絶縁膜5が露出することを防止でき、半導体装置の信頼性向上に役に立つ。なお、ワイヤボンディング用電極パッド6は特に電源パッドとして使用する場合などには、より大きい形状としてもよい。
【0030】
本実施の形態によれば、ダイソート用電極パッドとワイヤボンディング用電極パッドを層構造とすることで半導体チップ表面における電極パッド領域の面積を小さくすることができ、半導体装置の高集積化を図ることができる。すなわち、従来例のようにダイソート用電極パッドとワイヤボンディング用電極パッドとを同一平面上に設けた場合と比べて、ダイソート用電極パッド分の面積を縮小することができる。
【0031】
また、センターパッド方式の半導体装置であっても、センターパッド領域に抵抗の増大無しにダイソート用電極パッドを設けることができ、さらに小面積のパッド領域を得ることができる。
【0032】
また、ダイソート用パッドの露出部は、ワイヤボンディング時には除去されている。このため、ダイソートを多数回繰り返して行って、ダイソート用パッド表面に多数の傷が生じていても、その傷が残ることがない。こうして、表面に凹凸が生じたパッドを持たない半導体装置を提供でき、半導体装置の信頼性を向上できる。
【0033】
次に、本実施の形態の半導体装置の製造方法を図1乃至図8を用いて説明する。
【0034】
図2に断面が示されるように、半導体基板1上にトランジスタ(図示せず)を設け、このトランジスタ上にTEOS膜などからなる第1層間絶縁膜2を設け、その第1層間絶縁膜2中にトランジスタに接続する内部配線3を設ける。
【0035】
さらに、この内部配線3上及び第1層間絶縁膜2上に第2層間絶縁膜5を設ける。さらに、この内部配線3に接続する第1コンタクト4を設ける。
【0036】
次に、この第1コンタクト4に接続して、例えばアルミニウム合金又は銅合金などからなるワイヤボンディング用電極パッド6を第2層間絶縁膜5上に設ける。
【0037】
このワイヤボンディング用電極パッド6及び第2層間絶縁膜5上にTEOS膜などからなる第3層間絶縁膜8を形成する。
【0038】
なお、ワイヤボンディング用電極パッド6に銅合金を使用した場合は、その表面には後の工程において接着されるボンディングワイヤとの接着性を増すためにアルミ二ウムを蒸着しておく。
【0039】
さらに、第3層間絶縁膜8中にワイヤボンディング用電極パッド6に接続する第2コンタクト7を形成する。さらに、この第2コンタクト7に接続させて、ワイヤボンディング用電極パッド6の真上の第3層間絶縁膜8上に、例えばアルミニウム合金又は銅合金などからなるダイソート用電極パッド9を形成する。
【0040】
さらに第3層間絶縁膜8上及びダイソート用電極パッド9上にパッシベーション層11を形成する。さらに、このパッシベーション層11の一部分を除去して開口部13を設けて、ダイソート用電極パッド9の上表面の一部を露出させる。
【0041】
ここでは、半導体基板は各半導体装置となる半導体チップとしては、まだ分割されておらず、半導体ウェハー状態となっている。
【0042】
次に、図3に示されるように、開口部13中で、金属製のダイソート用プローブ14をダイソート用電極パッド9に接触させ、半導体ウェハー状態でのダイソートを行なう。ダイソート用プローブ14と内部配線3は、ダイソート用電極パッド9、第2コンタクト7、ワイヤボンディング用電極パッド6、及び第1コンタクト4を介して電気的に接続されている。
【0043】
次に、図4には、半導体ウェハー状態でのダイソートが終了した段階での半導体装置の断面図が示される。ここでは、ダイソート用プローブ14をダイソート用電極パッド9から取り外した後の状態の断面が示されている。ダイソート用プローブ14を取り外した後の開口部13に露出したダイソート用電極パッド9には傷16が生じている。図4に示されるように傷16が深く形成された場合、第3層間絶縁膜8が露出した状態となっている。
【0044】
さらに傷が深く形成されて、第3層間絶縁膜8中にまで達した場合であっても、後の工程で、当該部分の第3層間絶縁膜8は除去されるので、問題とはならない。
【0045】
次に、図5には、マスク材15を塗布した状態の半導体装置の断面が示される。このマスク材15は感光性レジスト等が使用される。i線等の光源によりダイソート用電極パッド9の開口部13の位置に合わせて、マスク材15がパターニングされる。この時、傷16にマスク材15が残らないように後処理をする。ここで、傷16にマスク材15が残らないように後処理を行うのは、次のアッシャー工程におけるRIE(Reactive Ion Etching)において、マスク材15の残部で不均一なエッチングが行われてしまい、開口部に露出する第3層間絶縁膜8の上表面に凹凸が生じることを防止するためである。
【0046】
次に、図6に示されるように半導体ウェハー表面からCDE(Chemical Dry Etching)、またはRIEのエッチングを行い、ダイソート用電極パッド9に開口部10を設ける。この際、第3層間絶縁膜8の表面はエッチングによりダメージがあるが、その下にあるワイヤボンディング用電極パッド6にはダメージは到達しない。このようにワイヤボンディング用電極パッド6にダメージが到達しないことで、後の工程におけるボンディングワイヤとの良好なボンディング性を維持できる。
【0047】
この工程では、ダイソート用電極パッド9のエッチングが少々オーバー気味に行なわれた場合でも、その下方にある第3層間絶縁膜8を除去することがない。すなわち、使用する薬品と処理方法を変えることで、ダイソート用電極パッド9と第3層間絶縁膜8とを別々に除去することができる。なお、この工程において、ダイソートパッド全体を除去するのではなく、一部分のみを除去することで、開口をエッチングする際のばらつきなどによる周囲部分への影響を無くすことができる。
【0048】
次に、図7に示されるようにレジスト15をマスクとして、開口部10に露出した第3層間絶縁膜8をCDE、又はRIEのエッチングを行って取り除く。こうして、ワイヤボンディング用電極パッド6の上表面の一部が露出する。このとき、ワイヤボンディング用電極パッド6は、エッチングにより若干のダメージがあるが、それにより表面には第3層間絶縁膜8が残っていない状態となる。ここで、形成されるワイヤボンディング用電極パッド6の開口部10の大きさは、図2で形成されるダイソート用電極パッド9の開口部13の大きさよりも大きいことが好ましい。このような開口部の大小関係を持たせることで、ダイソート用電極パッド9に生じたダイソート用プローブ14による損傷部16を完全に除去することができる。
【0049】
この工程においては、ボンディング用電極パッド6表面のエッチングダメージの制御は、RIEを用いた場合、使用する混合雰囲気の濃度とエッチング時間を調整して行なう。また、CDEを用いた場合、使用する薬液濃度とエッチング時間を調整して行う。また、第3層間絶縁膜8のエッチングの際には、少々オーバー気味にエッチングが行なわれてもボンディング用電極パッド6を溶かすことがないので、最終的にボンディング用電極パッド6の表面がダメージなく露出する。
【0050】
なお、ボンディング用電極パッド6まで傷16が到達してしまった場合、その表面をエッチングする際に、その傷16を無くす程度までエッチングを進めると傷を残さなくすることも可能である。
【0051】
ここで、ワイヤボンディング用電極パッド6の上に部分的に第3層間絶縁膜8が残っていると、絶縁膜が後の工程で接着するボンディングワイヤとワイヤボンディング用電極パッド6との間に介在することになり、ボンディング特性がきわだって低下する。このような状態が生じるのを防ぐため、例えば、約0.1μm程度の深さで余分にワイヤボンディング用電極パッド6の上表面を除去する。
【0052】
次に、図8に示されるようにマスク材15を除去して、パッシベーション層11の上表面を露出させる。
【0053】
次に、半導体ウェハーに複数個形成された半導体装置を個別にダイシングを施して、分離した後で、図1に示すようにワイヤボンディング用電極パッド6に例えば金からなるボンディングワイヤ12を接続する。ワイヤボンディング用電極パッド6とボンディングワイヤ12とは良好な接合をしている。すなわち、ダイソート用電極パッド9とワイヤボンディング用電極パッド6を分離して、配置することで、ダイソート用プローブ14がダイソート用電極パッド9に接触するときに生ずる傷16がワイヤボンディング用電極パッド6に影響を与えない。すなわち、ダイソート用電極パッド9とワイヤボンディング用電極パッド6とを分離して設けることで、ダイソート用プローブ14の接触による電極パッドの傷があってもワイヤボンディング性に影響を与えない効果を得ることができる。
【0054】
また、ダイソート用電極パッド9とワイヤボンディング用電極パッド6とを同一平面上に配置するのではなく、上下方向の層構造として配置することで、半導体装置に占める電極パッド領域の割合を小さくできる。
【0055】
ここで、金からなるボンディングワイヤ12が用いられ、アルミニウムからなるワイヤボンディング用電極パッド6が用いられた場合、ワイヤボンディング用電極パッド6のボンディングワイヤ12との接触面には、アルミニウムと金との合金層が形成される。
【0056】
なお、パッシベーション層11とダイソート用電極パッド9との間、ダイソート用電極パッド9と第3層間絶縁膜8との間、ワイヤボンディング電極パッド6と第2層間絶縁膜5との間にそれぞれ、開口部を設けるエッチング工程の際にコロージョンが発生する可能性が見込まれる場合には、開口部に露出する側面をシリコン窒化膜などの保護膜で覆うことで、信頼性を向上することができる。この保護膜は図6に示される工程において、開口部10を形成した後に露出面上にシリコン窒化膜を堆積する。さらに図7に示される工程において、第3層間絶縁膜8上に形成されたシリコン窒化膜を第3層間絶縁膜8とともに除去して、ボンディング用電極パッド6の上表面を露出することで、工程数の増加を最小限に抑制して、形成することができる。
【0057】
また、ワイヤボンディング用電極パッド6に接着されたボンディングワイヤ12が露出しているダイソート用電極パッド9の側面に接触するような状況が生じても、ダイソート用電極パッド9、ワイヤボンディング用電極パッド6、及びボンディングワイヤ12は同一電位であるので、その特性上の問題はない。
【0058】
なお、図6に示された工程において、ダイソート用電極パッド9やダイソート用電極パッド9とボンディング用電極パッド6との間の第2コンタクト7をすべて除去して、ボンディング用電極パッド6の開口部10をより大きく形成することもできる。
【0059】
さらに図6の工程において、ダイソート用電極パッド9やダイソート用電極パッド9とボンディング用電極パッド6との間の第2コンタクト7をすべて除去して、開口部10の位置をダイソート用の開口部13の位置と異ならせて、図6中でより右寄りに設けることもできる。
【0060】
なお、図1で形成されたダイソート用電極パッド9は、すべてのパッドについてダイソートテストを行なう必要がなく、ダイソート用プローブ14をすべてのダイソート用電極パッド9に接触しなくてもよい。そのようなダイソート用電極パッド9には、ダイソート用プローブ14の接触による傷が表面に生じることはない。
【0061】
本実施の形態によれば、ダイソート用電極パッドとワイヤボンディング用電極パッドを層構造とすることで半導体チップ表面における電極パッド領域の面積を小さくすることができ、高集積化された半導体装置の製造方法を提供できる。すなわち、従来例のようにダイソート用電極パッドとワイヤボンディング用電極パッドとを同一平面上に設けた場合と比べて、ダイソート用電極パッド分の面積を縮小した半導体装置の製造方法を提供することができる。
【0062】
また、ダイソート用電極パッド9の露出部は、ワイヤボンディング時には除去されている。このため、ダイソートテストを多数回繰り返して行って、ダイソート用電極パッド9表面に多数の傷16が生じていても、その傷16が残ることがない。こうして、表面に凹凸が生じたワイヤボンディング用電極パッド6を持たない信頼性の高い半導体装置の製造方法を提供できる。
【0063】
【発明の効果】
本発明によれば、電極パッド領域の面積を増加させずにボンディングワイヤとワイヤボンディング用電極パッドの電気特性を向上させた半導体装置及びその製造方法を提供できる。
【図面の簡単な説明】
【図1】 本発明の実施の形態の半導体装置の断面図。
【図2】 本発明の実施の形態の半導体装置の製造方法の一工程を表す断面図。
【図3】 本発明の実施の形態の半導体装置の製造方法の一工程を表す断面図。
【図4】 本発明の実施の形態の半導体装置の製造方法の一工程を表す断面図。
【図5】 本発明の実施の形態の半導体装置の製造方法の一工程を表す断面図。
【図6】 本発明の実施の形態の半導体装置の製造方法の一工程を表す断面図。
【図7】 本発明の実施の形態の半導体装置の製造方法の一工程を表す断面図。
【図8】 本発明の実施の形態の半導体装置の製造方法の一工程を表す断面図。
【図9】 (A)は、従来の第1の技術の半導体装置の電極パッド周辺のワイヤボンディング前の状態を表す断面図であり、(B)は、従来の第1の技術の半導体装置の電極パッド周辺のワイヤボンディング後の状態を表す断面図である。
【図10】 (A)は、従来の第1の技術の半導体装置の電極パッド周辺のダイソートテストを行なっている状態を表す断面図であり、(B)は、従来の第1の技術の半導体装置の電極パッド周辺のダイソートテスト後のワイヤボンディング後の状態を表す断面図である。
【図11】 従来の第2の技術の半導体装置の電極パッド周辺を表す断面図。
【図12】 (A)は、従来の第3の技術の半導体装置の電極パッド周辺を表す断面図であり、(B)は、従来の第3の技術の半導体装置の電極パッド周辺を表す上面図である。
【図13】 (A)は、従来の第4の技術の半導体装置の電極パッド周辺を表す断面図であり、(B)は、従来の第4の技術の半導体装置の電極パッド周辺を表す上面図である。
【符号の説明】
1 半導体基板
2 第1層間絶縁膜
3 内部配線
4 第1コンタクト
5 第2層間絶縁膜
6 ワイヤボンディング用電極パッド
7 第2コンタクト
8 第3層間絶縁膜
9 ダイソート用電極パッド
10,13 開口部
11 パッシベーション層
12 ボンディングワイヤ
14 ダイソート用プローブ
15 マスク材
16 傷

Claims (7)

  1. 半導体基板と、この半導体基板上に設けられた第1層間絶縁膜と、この第1層間絶縁膜上の一部に設けられた配線層と、前記第1層間絶縁膜上及び前記配線層上に設けられた第2層間絶縁膜と、この第2層間絶縁膜を介して形成され、かつ、前記配線層に接続された第1電極パッドと、この第1電極パッド上及び前記第2層間絶縁膜上に設けられ、その一部に前記第1電極パッド表面を露出させる開口が設けられた第3層間絶縁膜と、この第3層間絶縁膜を介して形成され、前記第3層間絶縁膜の開口上に開口を有する第2電極パッドと、この第2電極パッド上及び前記第3層間絶縁膜上に形成され、前記第2電極パッドの開口上に開口を有するパッシベーション層と、を備えることを特徴とする半導体装置。
  2. 前記配線層と前記第1電極パッドとを接続する第1コンタクトと、前記第1電極パッドと前記第2電極パッドとを接続する第2コンタクトとをさらに備えることを特徴とする請求項1記載の半導体装置。
  3. 回路素子がその表面に形成された半導体基板と、この半導体基板上に形成された第1層間絶縁膜と、この第1層間絶縁膜上に形成され、前記回路素子に接続された内部配線層と、その内部配線層上と前記第1層間絶縁膜上に形成された第2層間絶縁膜と、その第2層間絶縁膜上に形成されたワイヤボンディング用電極パッドと、このワイヤボンディング用電極パッドと前記内部配線層とを接続する第1コンタクトと、前記ワイヤボンディング用電極パッド上に形成された第3層間絶縁膜と、この第3層間絶縁膜を介して、前記ワイヤボンディング用電極パッド上に形成されたダイソート用電極パッドと、このダイソート用電極パッドと前記ワイヤボンディング用電極パッドとの間に接続された第2コンタクトと、を備え、前記ダイソート用電極パッドはその一部に開口が設けられ、この開口下の前記第3層間絶縁膜に開口が設けられ、その前記第3層間絶縁膜の開口に前記ワイヤボンディング用電極パッド表面が露出していることを特徴とする半導体装置。
  4. 前記ダイソート用電極パッド及び前記ワイヤボンディング用電極パッドは、アルミニウム合金又は銅合金のいずれかから選択された材料により形成されていることを特徴とする請求項3記載の半導体装置。
  5. 半導体基板と、この半導体基板上に設けられた第1層間絶縁膜と、この第1層間絶縁膜上の一部に設けられた配線層と、前記第1層間絶縁膜上及び前記配線層上に設けられた第2層間絶縁膜と、この第2層間絶縁膜を介して形成され、かつ、前記配線層に接続された第1電極パッドと、この第1電極パッド上及び前記第2層間絶縁膜上に設けられ、その一部に前記第1電極パッド表面を露出させる開口が設けられた第3層間絶縁膜と、この第3層間絶縁膜を介して形成され、前記第3層間絶縁膜の開口上に開口を有する第2電極パッドと、この第2電極パッド上及び前記第3層間絶縁膜上に形成され、前記第2電極パッドの開口上に開口を有するパッシベーション層と、前記第1電極パッド上にワイヤボンディングされたボンディングワイヤと、を備えることを特徴とする半導体装置。
  6. 半導体基板上に第1層間絶縁膜を形成する工程と、この第1層間絶縁膜上に内部配線を形成する工程と、この内部配線上及び前記第1層間絶縁膜上に第2層間絶縁膜を形成する工程と、この第2層間絶縁膜上に前記内部配線に接続された第1電極パッドを形成する工程と、この第1電極パッド上及び前記第2層間絶縁膜上に第3層間絶縁膜を形成する工程と、この第3層間絶縁膜上に前記第1電極パッドに接続された第2電極パッドを形成する工程と、この第2電極パッド上及び前記第3層間絶縁膜上にパッシベーション層を形成する工程と、このパッシベーション層の前記第2電極パッド上表面の少なくとも一部を露出させるように開口を設ける工程と、この開口中に露出した前記第2電極パッドにプローブを当てて、ダイソートテストを行なう工程と、前記露出した第2電極パッド及びこの露出した第2電極パッド下方の前記第3層間絶縁膜を除去して、前記第1電極パッド上表面を露出する工程と、この露出した前記第1電極パッド上表面にボンディングワイヤをワイヤボンディングする工程と、を備えることを特徴とする半導体装置の製造方法。
  7. 前記露出した第2電極パッドを除去して、前記第1電極パッド上表面を露出する工程において、前記第2電極パッド及びこの第2電極パッド下部の前記第3層間絶縁膜に対してCDE又はRIEのエッチングを行なうことを特徴とする請求項6記載の半導体装置の製造方法。
JP2001271255A 2001-09-07 2001-09-07 半導体装置及びその製造方法 Expired - Fee Related JP3856426B2 (ja)

Priority Applications (1)

Application Number Priority Date Filing Date Title
JP2001271255A JP3856426B2 (ja) 2001-09-07 2001-09-07 半導体装置及びその製造方法

Applications Claiming Priority (1)

Application Number Priority Date Filing Date Title
JP2001271255A JP3856426B2 (ja) 2001-09-07 2001-09-07 半導体装置及びその製造方法

Publications (2)

Publication Number Publication Date
JP2003086624A JP2003086624A (ja) 2003-03-20
JP3856426B2 true JP3856426B2 (ja) 2006-12-13

Family

ID=19096785

Family Applications (1)

Application Number Title Priority Date Filing Date
JP2001271255A Expired - Fee Related JP3856426B2 (ja) 2001-09-07 2001-09-07 半導体装置及びその製造方法

Country Status (1)

Country Link
JP (1) JP3856426B2 (ja)

Families Citing this family (1)

* Cited by examiner, † Cited by third party
Publication number Priority date Publication date Assignee Title
JP5401817B2 (ja) * 2008-03-25 2014-01-29 富士通セミコンダクター株式会社 半導体装置の製造方法及び半導体装置

Also Published As

Publication number Publication date
JP2003086624A (ja) 2003-03-20

Similar Documents

Publication Publication Date Title
JP3616444B2 (ja) 半導体装置
KR100329407B1 (ko) 반도체 소자의 전극 구조
US7105917B2 (en) Semiconductor device having a fuse connected to a pad and fabrication method thereof
US20080038914A1 (en) Semiconductor element and manufacturing method thereof
JP3468188B2 (ja) 半導体装置とその製法
US9941236B2 (en) Semiconductor device having wire bonding connection and method for manufacturing the same
JPH09289224A (ja) 半導体チップ、その製造方法及びワイヤボンディング方法
JP3856426B2 (ja) 半導体装置及びその製造方法
US7429795B2 (en) Bond pad structure
KR20060078864A (ko) 반도체 소자 및 그의 제조방법
US20090014717A1 (en) Test ic structure
JP3599813B2 (ja) 半導体装置
JP3395747B2 (ja) 半導体集積回路の製造方法
KR100837446B1 (ko) 반도체 장치 및 그 제조 방법
TWI316741B (en) Method for forming an integrated cricuit, method for forming a bonding pad in an integrated circuit and an integrated circuit structure
US20070290204A1 (en) Semiconductor structure and method for manufacturing thereof
JP2949830B2 (ja) 半導体装置の故障解析方法
KR100339414B1 (ko) 반도체 파워 라인 분석용 패드의 형성 방법
KR100481832B1 (ko) 반도체장치의제조방법및이에따라제조되는반도체장치
KR20010017176A (ko) 반도체소자 제조방법
JP2002373909A (ja) 半導体回路装置及びその製造方法
KR20040023311A (ko) 반도체 소자의 패드 형성 방법
JPS6070737A (ja) 半導体装置
KR20030061158A (ko) 본딩 패드들을 갖는 반도체 소자 및 그 제조방법
JPH09181113A (ja) 半導体装置の製造方法

Legal Events

Date Code Title Description
A621 Written request for application examination

Free format text: JAPANESE INTERMEDIATE CODE: A621

Effective date: 20050401

RD02 Notification of acceptance of power of attorney

Free format text: JAPANESE INTERMEDIATE CODE: A7422

Effective date: 20050428

RD04 Notification of resignation of power of attorney

Free format text: JAPANESE INTERMEDIATE CODE: A7424

Effective date: 20050606

A977 Report on retrieval

Free format text: JAPANESE INTERMEDIATE CODE: A971007

Effective date: 20060607

A131 Notification of reasons for refusal

Free format text: JAPANESE INTERMEDIATE CODE: A131

Effective date: 20060613

A521 Request for written amendment filed

Free format text: JAPANESE INTERMEDIATE CODE: A523

Effective date: 20060809

TRDD Decision of grant or rejection written
A01 Written decision to grant a patent or to grant a registration (utility model)

Free format text: JAPANESE INTERMEDIATE CODE: A01

Effective date: 20060908

A61 First payment of annual fees (during grant procedure)

Free format text: JAPANESE INTERMEDIATE CODE: A61

Effective date: 20060911

R150 Certificate of patent or registration of utility model

Free format text: JAPANESE INTERMEDIATE CODE: R150

FPAY Renewal fee payment (event date is renewal date of database)

Free format text: PAYMENT UNTIL: 20090922

Year of fee payment: 3

FPAY Renewal fee payment (event date is renewal date of database)

Free format text: PAYMENT UNTIL: 20100922

Year of fee payment: 4

FPAY Renewal fee payment (event date is renewal date of database)

Free format text: PAYMENT UNTIL: 20110922

Year of fee payment: 5

LAPS Cancellation because of no payment of annual fees