JP3788198B2 - 圧電磁器組成物およびそれを用いた圧電セラミック素子 - Google Patents
圧電磁器組成物およびそれを用いた圧電セラミック素子 Download PDFInfo
- Publication number
- JP3788198B2 JP3788198B2 JP2000161832A JP2000161832A JP3788198B2 JP 3788198 B2 JP3788198 B2 JP 3788198B2 JP 2000161832 A JP2000161832 A JP 2000161832A JP 2000161832 A JP2000161832 A JP 2000161832A JP 3788198 B2 JP3788198 B2 JP 3788198B2
- Authority
- JP
- Japan
- Prior art keywords
- piezoelectric ceramic
- ceramic composition
- mol
- present
- contained
- Prior art date
- Legal status (The legal status is an assumption and is not a legal conclusion. Google has not performed a legal analysis and makes no representation as to the accuracy of the status listed.)
- Expired - Fee Related
Links
- 239000000919 ceramic Substances 0.000 title claims description 98
- 239000000203 mixture Substances 0.000 title claims description 50
- 229910052751 metal Inorganic materials 0.000 claims description 12
- 229910052779 Neodymium Inorganic materials 0.000 claims description 10
- 229910052727 yttrium Inorganic materials 0.000 claims description 10
- 229910052772 Samarium Inorganic materials 0.000 claims description 9
- 229910052746 lanthanum Inorganic materials 0.000 claims description 9
- 239000002184 metal Substances 0.000 claims description 9
- PWHULOQIROXLJO-UHFFFAOYSA-N Manganese Chemical compound [Mn] PWHULOQIROXLJO-UHFFFAOYSA-N 0.000 claims description 6
- 101100513612 Microdochium nivale MnCO gene Proteins 0.000 claims description 6
- 229910052788 barium Inorganic materials 0.000 claims description 6
- 229910052749 magnesium Inorganic materials 0.000 claims description 6
- 229910052748 manganese Inorganic materials 0.000 claims description 6
- 239000011572 manganese Substances 0.000 claims description 6
- 229910052712 strontium Inorganic materials 0.000 claims description 6
- 229910052684 Cerium Inorganic materials 0.000 claims description 5
- 229910052692 Dysprosium Inorganic materials 0.000 claims description 5
- 229910052691 Erbium Inorganic materials 0.000 claims description 5
- 229910052688 Gadolinium Inorganic materials 0.000 claims description 5
- 229910052777 Praseodymium Inorganic materials 0.000 claims description 5
- 229910052769 Ytterbium Inorganic materials 0.000 claims description 5
- 229910052706 scandium Inorganic materials 0.000 claims description 5
- 229910052573 porcelain Inorganic materials 0.000 claims description 3
- 230000008878 coupling Effects 0.000 description 15
- 238000010168 coupling process Methods 0.000 description 15
- 238000005859 coupling reaction Methods 0.000 description 15
- 238000010304 firing Methods 0.000 description 8
- 230000000694 effects Effects 0.000 description 5
- 239000000463 material Substances 0.000 description 5
- 229910000464 lead oxide Inorganic materials 0.000 description 3
- WABPQHHGFIMREM-UHFFFAOYSA-N lead(0) Chemical compound [Pb] WABPQHHGFIMREM-UHFFFAOYSA-N 0.000 description 3
- YEXPOXQUZXUXJW-UHFFFAOYSA-N oxolead Chemical compound [Pb]=O YEXPOXQUZXUXJW-UHFFFAOYSA-N 0.000 description 3
- KDLHZDBZIXYQEI-UHFFFAOYSA-N Palladium Chemical compound [Pd] KDLHZDBZIXYQEI-UHFFFAOYSA-N 0.000 description 2
- BQCADISMDOOEFD-UHFFFAOYSA-N Silver Chemical compound [Ag] BQCADISMDOOEFD-UHFFFAOYSA-N 0.000 description 2
- 239000007772 electrode material Substances 0.000 description 2
- 230000008020 evaporation Effects 0.000 description 2
- 238000001704 evaporation Methods 0.000 description 2
- HFGPZNIAWCZYJU-UHFFFAOYSA-N lead zirconate titanate Chemical compound [O-2].[O-2].[O-2].[O-2].[O-2].[Ti+4].[Zr+4].[Pb+2] HFGPZNIAWCZYJU-UHFFFAOYSA-N 0.000 description 2
- 229910052451 lead zirconate titanate Inorganic materials 0.000 description 2
- 238000004519 manufacturing process Methods 0.000 description 2
- BASFCYQUMIYNBI-UHFFFAOYSA-N platinum Chemical compound [Pt] BASFCYQUMIYNBI-UHFFFAOYSA-N 0.000 description 2
- 230000010287 polarization Effects 0.000 description 2
- 229910052709 silver Inorganic materials 0.000 description 2
- 239000004332 silver Substances 0.000 description 2
- 229910015902 Bi 2 O 3 Inorganic materials 0.000 description 1
- 229910021193 La 2 O 3 Inorganic materials 0.000 description 1
- 229910017493 Nd 2 O 3 Inorganic materials 0.000 description 1
- 229910010413 TiO 2 Inorganic materials 0.000 description 1
- 239000011230 binding agent Substances 0.000 description 1
- 229910052797 bismuth Inorganic materials 0.000 description 1
- JCXGWMGPZLAOME-UHFFFAOYSA-N bismuth atom Chemical compound [Bi] JCXGWMGPZLAOME-UHFFFAOYSA-N 0.000 description 1
- 229910010293 ceramic material Inorganic materials 0.000 description 1
- 150000001875 compounds Chemical class 0.000 description 1
- 239000000470 constituent Substances 0.000 description 1
- 230000006866 deterioration Effects 0.000 description 1
- NKZSPGSOXYXWQA-UHFFFAOYSA-N dioxido(oxo)titanium;lead(2+) Chemical compound [Pb+2].[O-][Ti]([O-])=O NKZSPGSOXYXWQA-UHFFFAOYSA-N 0.000 description 1
- 230000001747 exhibiting effect Effects 0.000 description 1
- 230000008018 melting Effects 0.000 description 1
- 238000002844 melting Methods 0.000 description 1
- 229910052763 palladium Inorganic materials 0.000 description 1
- 239000002245 particle Substances 0.000 description 1
- 229910052697 platinum Inorganic materials 0.000 description 1
- 238000010298 pulverizing process Methods 0.000 description 1
- 238000005245 sintering Methods 0.000 description 1
- 239000007858 starting material Substances 0.000 description 1
- LLZRNZOLAXHGLL-UHFFFAOYSA-J titanic acid Chemical compound O[Ti](O)(O)O LLZRNZOLAXHGLL-UHFFFAOYSA-J 0.000 description 1
Images
Classifications
-
- C—CHEMISTRY; METALLURGY
- C04—CEMENTS; CONCRETE; ARTIFICIAL STONE; CERAMICS; REFRACTORIES
- C04B—LIME, MAGNESIA; SLAG; CEMENTS; COMPOSITIONS THEREOF, e.g. MORTARS, CONCRETE OR LIKE BUILDING MATERIALS; ARTIFICIAL STONE; CERAMICS; REFRACTORIES; TREATMENT OF NATURAL STONE
- C04B35/00—Shaped ceramic products characterised by their composition; Ceramics compositions; Processing powders of inorganic compounds preparatory to the manufacturing of ceramic products
- C04B35/01—Shaped ceramic products characterised by their composition; Ceramics compositions; Processing powders of inorganic compounds preparatory to the manufacturing of ceramic products based on oxide ceramics
- C04B35/46—Shaped ceramic products characterised by their composition; Ceramics compositions; Processing powders of inorganic compounds preparatory to the manufacturing of ceramic products based on oxide ceramics based on titanium oxides or titanates
- C04B35/462—Shaped ceramic products characterised by their composition; Ceramics compositions; Processing powders of inorganic compounds preparatory to the manufacturing of ceramic products based on oxide ceramics based on titanium oxides or titanates based on titanates
-
- C—CHEMISTRY; METALLURGY
- C04—CEMENTS; CONCRETE; ARTIFICIAL STONE; CERAMICS; REFRACTORIES
- C04B—LIME, MAGNESIA; SLAG; CEMENTS; COMPOSITIONS THEREOF, e.g. MORTARS, CONCRETE OR LIKE BUILDING MATERIALS; ARTIFICIAL STONE; CERAMICS; REFRACTORIES; TREATMENT OF NATURAL STONE
- C04B35/00—Shaped ceramic products characterised by their composition; Ceramics compositions; Processing powders of inorganic compounds preparatory to the manufacturing of ceramic products
- C04B35/01—Shaped ceramic products characterised by their composition; Ceramics compositions; Processing powders of inorganic compounds preparatory to the manufacturing of ceramic products based on oxide ceramics
- C04B35/46—Shaped ceramic products characterised by their composition; Ceramics compositions; Processing powders of inorganic compounds preparatory to the manufacturing of ceramic products based on oxide ceramics based on titanium oxides or titanates
- C04B35/462—Shaped ceramic products characterised by their composition; Ceramics compositions; Processing powders of inorganic compounds preparatory to the manufacturing of ceramic products based on oxide ceramics based on titanium oxides or titanates based on titanates
- C04B35/475—Shaped ceramic products characterised by their composition; Ceramics compositions; Processing powders of inorganic compounds preparatory to the manufacturing of ceramic products based on oxide ceramics based on titanium oxides or titanates based on titanates based on bismuth titanates
-
- H—ELECTRICITY
- H01—ELECTRIC ELEMENTS
- H01B—CABLES; CONDUCTORS; INSULATORS; SELECTION OF MATERIALS FOR THEIR CONDUCTIVE, INSULATING OR DIELECTRIC PROPERTIES
- H01B3/00—Insulators or insulating bodies characterised by the insulating materials; Selection of materials for their insulating or dielectric properties
- H01B3/02—Insulators or insulating bodies characterised by the insulating materials; Selection of materials for their insulating or dielectric properties mainly consisting of inorganic substances
- H01B3/12—Insulators or insulating bodies characterised by the insulating materials; Selection of materials for their insulating or dielectric properties mainly consisting of inorganic substances ceramics
-
- H—ELECTRICITY
- H10—SEMICONDUCTOR DEVICES; ELECTRIC SOLID-STATE DEVICES NOT OTHERWISE PROVIDED FOR
- H10N—ELECTRIC SOLID-STATE DEVICES NOT OTHERWISE PROVIDED FOR
- H10N30/00—Piezoelectric or electrostrictive devices
- H10N30/80—Constructional details
- H10N30/85—Piezoelectric or electrostrictive active materials
- H10N30/853—Ceramic compositions
Landscapes
- Chemical & Material Sciences (AREA)
- Engineering & Computer Science (AREA)
- Ceramic Engineering (AREA)
- Manufacturing & Machinery (AREA)
- Materials Engineering (AREA)
- Structural Engineering (AREA)
- Organic Chemistry (AREA)
- Inorganic Chemistry (AREA)
- Compositions Of Oxide Ceramics (AREA)
Description
【発明の属する技術分野】
この発明は圧電磁器組成物およびそれを用いた圧電セラミック素子に関し、特にたとえば、圧電セラミックフィルタ、圧電セラミック発振子および圧電セラミック振動子などの圧電セラミック素子などの材料として有用な圧電磁器組成物およびそれを用いた圧電セラミック素子に関する。
【0002】
【従来の技術】
圧電セラミックフィルタ、圧電セラミック発振子および圧電セラミック振動子などの圧電セラミック素子に用いられる圧電磁器組成物として、従来、チタン酸ジルコン酸鉛(Pb(Tix Zr1-x )O3 )またはチタン酸鉛(PbTiO3 )を主成分とする圧電磁器組成物が広く用いられている。しかしながら、チタン酸ジルコン酸鉛またはチタン酸鉛を主成分とする圧電磁器組成物では、その組成中に鉛を多量に含有するため、製造過程において鉛酸化物の蒸発のため製品の均一性が低下するという問題があった。製造過程における鉛酸化物の蒸発による製品の均一性の低下を防止するためには、組成中に鉛をまったく含まないまたは少量のみ含む圧電磁器組成物が好ましい。
これ対して、CaBi4 Ti4 O15などのビスマス層状化合物を主成分とする圧電磁器組成物では、その組成中に鉛酸化物を含有しないため、上記のような問題は生じない。
【0003】
【発明が解決しようとする課題】
しかしながら、CaBi4 Ti4 O15などを主成分とする圧電磁器組成物では、実用に供しうる程度の電気機械結合係数kt(10%以上)を示す圧電磁器を得るためには1150℃以上の高温で焼成することが必要であり、このような高温での焼成が可能な高価な焼成炉が必要である。また、内部電極を有する圧電セラミックフィルタなどの圧電セラミック素子などでは、焼成温度より高い融点を有する電極材料を用いなければならず、白金やパラジウムなどの高価な電極材料を用いる必要があるため、製造コストが増大するという問題があった。
【0004】
それゆえに、この発明の主たる目的は、CaBi4 Ti4 O15を主成分とする圧電磁器組成物の焼成が可能な温度を低下させ、1100℃以下の焼成温度で実用に供しうる程度の電気機械結合係数ktを示す圧電セラミックフィルタ、圧電セラミック発振子および圧電セラミック振動子などの圧電セラミック素子などの材料として有用な圧電磁器組成物およびそれを用いた圧電セラミック素子を提供することである。
【0005】
【課題を解決するための手段】
この発明にかかる圧電磁器組成物は、一般式CaBi4Ti4O15で表される主成分からなる圧電磁器組成物において、少なくともWをその一般式で表される主成分中のBi、1molに対して0.5mol以下(0を含まない)含有することを特徴とする、圧電磁器組成物である。この場合、この発明にかかる圧電磁器組成物は、たとえば一般式CaBi4(Ti1-yWy)4O15(ただし、0<y≦0.5)で表される主成分からなる。
この発明にかかる圧電磁器組成物では、Ca以外の2価の金属元素がBi、1molに対して0.125mol以下(0を含まない)含有されてもよい。この場合、含有されるCa以外の2価の金属元素は、たとえばMg、SrおよびBaのうちの少なくとも1種である。
また、この発明にかかる圧電磁器組成物では、Bi以外の3価の金属元素がBi、1molに対して0.075mol以下(0を含まない)含有されてもよい。この場合、含有されるBi以外の3価の金属元素は、たとえばLa、Ce、Pr、Nd、Sm、Gd、Dy、Er、Yb、ScおよびYのうちの少なくとも1種である。
さらに、この発明にかかる圧電磁器組成物では、主成分100重量%に対してマンガンがMnCO3に換算して1.5重量%以下(0を含まない)含有されてもよい。
この発明にかかる圧電セラミック素子は、この発明にかかる圧電磁器組成物からなる圧電磁器と、圧電磁器に形成される電極とを含む、圧電セラミック素子である。
【0006】
この発明にかかる圧電磁器組成物において、WをBi、1molに対して0.5mol以下(0を含まない)含有するとしたのは、これより多い場合には電気機械結合係数ktの低下がみられ、実用的な電気機械結合係数が得られないためである。
また、この発明は、主成分中にMg、SrおよびBaなどの2価の金属元素、または、La、Ce、Pr、Nd、Sm、Gd、Dy、Er、Yb、ScおよびYなどの3価の金属元素を含有する圧電磁器組成物についても有効である。特に、La、Ce、Pr、Nd、Sm、Gd、Dy、Er、Yb、ScおよびYのうちの少なくとも1種をBi、1molに対して0.075mol以下(0を含まない)含有する場合には、理由は不明であるが、−20℃から80℃の共振周波数の温度変化率、すなわち、以下に示す式で表されるfrTCが減少するため、1100℃以下で焼成可能で実用に供しうる程度の電気機械結合係数を有し、かつ、共振周波数の温度変化率frTCの小さい、たとえば圧電セラミック発振子などの圧電セラミック素子などの材料として有用な圧電磁器組成物が得られる。ここで、La、Ce、Pr、Nd、Sm、Gd、Dy、Er、Yb、ScおよびYのうちの少なくとも1種をBi、1molに対して0.075mol以下(0を含まない)含有するとしたのは、これより多い場合には上記元素を含まない場合に比べ電気機械結合係数ktの低下がみられ、これらを用いる効果がないためである。
frTC=(fr(max )−fr(min ))/(fr(20℃)・100)
fr(max ):−20℃から80℃の温度範囲において最高の共振周波数
fr(min ):−20℃から80℃の温度範囲において最低の共振周波数
fr(20℃):20℃での共振周波数
さらに、我々は特願平11−030322号においてCaBi4 Ti4 O15を主成分とする圧電磁器組成物にマンガンをMnCO3 に換算して1.5重量%以下含有することにより電気機械結合係数が向上することを明らかにしたが、このような圧電磁器組成物においてもこの発明は有効であり、1100℃以下で焼成可能で実用に供しうる程度の電気機械結合係数を有する圧電磁器の材料として有用な圧電磁器組成物が得られる。
【0007】
この発明の上述の目的、その他の目的、特徴および利点は、図面を参照して行う以下の発明の実施の形態の詳細な説明から一層明らかとなろう。
【0008】
【発明の実施の形態】
(実施例)
まず、出発原料として、CaCO3 、Bi2 O3 、TiO2 、MgCO3 、SrCO3 、BaCO3 、La2 O3 、Nd2 O3 、Sm2 O3 、Y2 O3 、WO6 およびMnCO3 を用意し、これらを組成(Ca1-x Mx )Bi4 (Ti1-y Wy )4 O15+z重量%MnCO3 (MはMg、Sr、Ba、La、Nd、Sm、Yのいずれか。0≦y≦0.6、0≦z≦1.6。また、MがMg、Sr、Baのとき0≦x≦0.6、MがLa、Nd、Sm、Yのとき0≦x≦0.4。)となるように秤取して、ボールミルを用いて約4時間湿式混合して、混合物を得た。得られた混合物を乾燥した後、700〜900℃で仮焼して、仮焼物を得た。それから、この仮焼物を粗粉砕した後、有機バインダを適量加えてボールミルを用いて4時間湿式粉砕し、40メッシュのふるいを通して粒度調整を行った。次に、これを1000kg/cm2 の圧力で直径12.5mm、厚さ1mmの円板に成型し、これを大気中で1100〜1150℃で焼成することによって、円板状の磁器を得た。この磁器の表面(両主面)に、通常の方法により銀ペーストを塗布し焼付けて銀電極を形成した後、150〜200℃の絶縁オイル中で5〜10kV/mmの直流電圧を10〜30分間印加して分極処理を施し、圧電磁器(試料)を得た。
そして、得られた試料について、密度、共振周波数の温度変化率frTCおよび電気機械結合係数ktを測定した。その結果を表1〜表3に示す。なお、表1〜表3には、各試料の組成におけるMの元素記号と、x、yおよびzの数値と、焼成温度とも示す。また、表1〜表3において、試料 No.欄の*印はその試料がこの発明の範囲外であることを示す。
【0009】
【表1】
【0010】
【表2】
【0011】
【表3】
【0012】
表1〜表3において、上記の一般式中のxの1/4すなわちx/4がBi、1molに対するMの含有量(mol)に相当すること、また、yがBi、1molに対してのWの含有量(mol)に相当することに注意されたい。
【0013】
表1〜表3から明らかなように、この発明において上記の一般式中のyの範囲を0<y≦0.5としたのは、これ未満では1100℃以下の焼成温度では十分な焼結が行われず、分極が不可能なためであり、また、これを超えると実用に供しうる程度の電気機械結合係数ktが得られないためである。
また、この発明においてMが2価の金属元素であるMg、SrおよびBaのうちの少なくとも1種である場合に上記の一般式中のxの1/4すなわちx/4の範囲を0≦x/4≦0.125としたのは、これを超えると、Mを含まない場合に比べ、電気機械結合係数ktが低下しており、Mを用いる効果がないためである。
さらに、この発明においてMが3価の金属元素であるLa、Nd、SmおよびYのうちの少なくとも1種である場合に上記の一般式中のxの1/4すなわちx/4の範囲を0≦x/4≦0.075としたのは、これを超えると、Mを含まない場合に比べ、電気機械結合係数ktが低下しており、Mを用いる効果がないためである。
また、この発明においてマンガンの添加量をMnCO3 に換算して1.5重量%以下としたのは、添加量がこれより多い場合には、マンガンを含まない場合に比べ、電気機械結合係数ktおよび共振周波数の温度変化率frTCが低下しており、マンガンを用いる効果がないためである。
【0014】
一方、表1〜表3から明らかなように、この発明の実施例にかかる各試料については、いずれも、1100℃以下の焼成温度で実用に供しうる程度の電気機械結合係数ktが得られていることがわかる。
さらに、表1〜表3から明らかなように、この発明の実施例にかかる試料において、MがLa、Nd、SmおよびYのうちの少なくとも1種である場合、1100℃以下の焼成温度で実用に供しうる程度の電気機械結合係数ktを有し、かつ、共振周波数の温度変化率frTCが小さい圧電磁器の材料として有用な圧電磁器組成物が得られることが明らかである。
また、MがNd、Yのうち少なくとも1種である場合には、共振周波数の温度変化率frTCが特に小さい圧電磁器組成物が得られることがわかる。
【0015】
なお、この発明にかかる圧電磁器組成物は上記の実施例の組成に限定されるものではなく、発明の要旨の範囲内であれば有効である。
この発明にかかる一般式CaBi4 Ti4 O15を主成分とする圧電磁器組成物は、基本的に上記のような組成を有していればよく、構成元素の多少のモル比のずれがあっても構わない。
【0016】
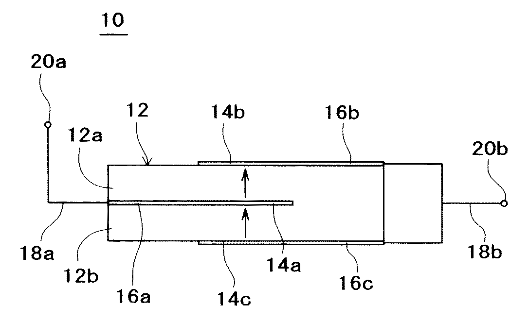
図1はこの発明にかかる圧電セラミック振動子の一例を示す斜視図であり、図2はその断面図解図である。図1および図2に示す圧電セラミック振動子10は、たとえば直方体状の圧電磁器12を含む。圧電磁器12は、2枚の圧電磁器層12aおよび12bを含む。これらの圧電磁器層12aおよび12bは、上述のこの発明にかかる圧電磁器組成物からなり、積層されかつ一体的に形成される。また、これらの圧電磁器層12aおよび12bは、図2の矢印で示すように、同じ厚み方向に分極されている。
【0017】
圧電磁器層12aおよび12bの間には、その中央にたとえば円形の振動電極14aが形成され、その振動電極14aから圧電磁器12の一端面にわたってたとえばT字形の引出電極16aが形成される。また、圧電磁器層12aの表面には、その中央にたとえば円形の振動電極14bが形成され、その振動電極14bから圧電磁器12の他端面にわたってたとえばT字形の引出電極16bが形成される。さらに、圧電磁器層12bの表面には、その中央にたとえば円形の振動電極14cが形成され、その振動電極14cから圧電磁器12の他端面にわたってたとえはT字形の引出電極16cが形成される。
【0018】
そして、引出電極16aにはリード線18aを介して一方の外部電極20aが接続され、引出電極16bおよび16cには別のリード線18bを介して他方の外部電極20bが接続される。
【0019】
なお、この発明は、上述の圧電セラミック振動子10以外の圧電セラミック振動子、圧電セラミックフィルタおよび圧電セラミック発振子などの他の圧電セラミック素子にも適用される。
【0020】
【発明の効果】
この発明によれば、CaBi4 Ti4 O15を主成分とする圧電磁器組成物の焼成が可能な温度を低下させ、1100℃以下の焼成温度で実用に供しうる程度の電気機械結合係数ktを示す圧電セラミックフィルタ、圧電セラミック発振子および圧電セラミック振動子などの圧電セラミック素子などの材料として有用な圧電磁器組成物およびそれを用いた圧電セラミック素子を得ることができる。
【図面の簡単な説明】
【図1】この発明にかかる圧電セラミック振動子の一例を示す斜視図である。
【図2】図1に示す圧電セラミック振動子の断面図解図である。
【符号の説明】
10 圧電セラミック振動子
12 圧電磁器
12a、12b 圧電磁器層
14a、14b、14c 振動電極
16a、16b、16c 引出電極
18a、18b リード線
20a、20b 外部端子
Claims (8)
- 一般式CaBi4 Ti4 O15で表される主成分からなる圧電磁器組成物において、少なくともWを前記一般式で表される主成分中のBi、1molに対して0.5mol以下(0を含まない)含有することを特徴とする、圧電磁器組成物。
- 一般式CaBi4 (Ti1-y Wy )4 O15(ただし、0<y≦0.5)で表される主成分からなることを特徴とする、請求項1に記載の圧電磁器組成物。
- Ca以外の2価の金属元素をBi、1molに対して0.125mol以下(0を含まない)含有することを特徴とする、請求項1または請求項2に記載の圧電磁器組成物。
- 含有されるCa以外の2価の金属元素はMg、SrおよびBaのうちの少なくとも1種であることを特徴とする、請求項3に記載の圧電磁器組成物。
- Bi以外の3価の金属元素をBi、1molに対して0.075mol以下(0を含まない)含有することを特徴とする、請求項1または請求項2に記載の圧電磁器組成物。
- 含有されるBi以外の3価の金属元素はLa、Ce、Pr、Nd、Sm、Gd、Dy、Er、Yb、ScおよびYのうちの少なくとも1種であることを特徴とする、請求項5に記載の圧電磁器組成物。
- 主成分100重量%に対してマンガンをMnCO3に換算して1.5重量%以下(0を含まない)含有することを特徴とする、請求項1ないし請求項6のいずれかに記載の圧電磁器組成物。
- 請求項1ないし請求項7のいずれかに記載の圧電磁器組成物からなる圧電磁器、および
前記圧電磁器に形成される電極を含む、圧電セラミック素子。
Priority Applications (6)
| Application Number | Priority Date | Filing Date | Title |
|---|---|---|---|
| JP2000161832A JP3788198B2 (ja) | 1999-08-26 | 2000-05-31 | 圧電磁器組成物およびそれを用いた圧電セラミック素子 |
| TW089115657A TW469447B (en) | 1999-08-26 | 2000-08-04 | Piezoelectric ceramic composition and ceramic piezoelectric device employing the composition |
| US09/643,785 US6372152B1 (en) | 1999-08-26 | 2000-08-22 | Piezoelectric ceramic composition and ceramic piezoelectric device employing the composition |
| DE10041307A DE10041307B4 (de) | 1999-08-26 | 2000-08-23 | Piezoelektrische Keramikzusammensetzung und deren Verwendung |
| KR10-2000-0049523A KR100379202B1 (ko) | 1999-08-26 | 2000-08-25 | 압전 세라믹 조성물 및 그 조성물을 사용하는 압전 세라믹 소자 |
| CNB001262203A CN1219297C (zh) | 1999-08-26 | 2000-08-25 | 压电陶瓷组合物和使用该组合物的压电器件 |
Applications Claiming Priority (3)
| Application Number | Priority Date | Filing Date | Title |
|---|---|---|---|
| JP11-240146 | 1999-08-26 | ||
| JP24014699 | 1999-08-26 | ||
| JP2000161832A JP3788198B2 (ja) | 1999-08-26 | 2000-05-31 | 圧電磁器組成物およびそれを用いた圧電セラミック素子 |
Publications (2)
| Publication Number | Publication Date |
|---|---|
| JP2001130956A JP2001130956A (ja) | 2001-05-15 |
| JP3788198B2 true JP3788198B2 (ja) | 2006-06-21 |
Family
ID=26534601
Family Applications (1)
| Application Number | Title | Priority Date | Filing Date |
|---|---|---|---|
| JP2000161832A Expired - Fee Related JP3788198B2 (ja) | 1999-08-26 | 2000-05-31 | 圧電磁器組成物およびそれを用いた圧電セラミック素子 |
Country Status (6)
| Country | Link |
|---|---|
| US (1) | US6372152B1 (ja) |
| JP (1) | JP3788198B2 (ja) |
| KR (1) | KR100379202B1 (ja) |
| CN (1) | CN1219297C (ja) |
| DE (1) | DE10041307B4 (ja) |
| TW (1) | TW469447B (ja) |
Families Citing this family (19)
| Publication number | Priority date | Publication date | Assignee | Title |
|---|---|---|---|---|
| CN100371293C (zh) * | 2004-03-30 | 2008-02-27 | 中国科学院上海硅酸盐研究所 | 无模板丝网印刷制备织构化铋层状压电陶瓷的方法 |
| JP2006169032A (ja) * | 2004-12-15 | 2006-06-29 | Ngk Spark Plug Co Ltd | 圧電磁器組成物および圧電素子 |
| CN101857430B (zh) * | 2010-06-23 | 2012-10-10 | 湖南先导电子陶瓷科技产业园发展有限公司 | 一种钛酸盐系列电子陶瓷纳米晶体材料的合成方法 |
| CN101928139B (zh) * | 2010-09-02 | 2013-04-17 | 同济大学 | 一种钛酸铋钙基发光压电陶瓷材料及制备方法 |
| CN102153342B (zh) * | 2010-12-27 | 2013-02-06 | 南京工业大学 | 一种复合掺杂改性的Y2Ti2O7微波介质陶瓷材料 |
| CN102173785B (zh) * | 2011-01-21 | 2012-12-19 | 天津大学 | 一种宽工作温区热稳定型复合介质陶瓷的制备方法 |
| CN102173782B (zh) * | 2011-03-11 | 2013-07-10 | 西安交通大学 | 钼基钛基温度稳定型微波介质陶瓷材料及其制备方法 |
| TW201331150A (zh) * | 2012-01-20 | 2013-08-01 | Yageo Corp | 用於製作被動元件的陶瓷材料組成 |
| CN103102154B (zh) * | 2013-02-03 | 2014-07-02 | 北京工业大学 | Bi0.5Na0.5TiO3-BaTiO3–BiMg0.5Ti0.5O3无铅压电陶瓷材料 |
| CN104529435B (zh) * | 2014-12-26 | 2018-03-30 | 中国科学院声学研究所 | 铋层状结构压电陶瓷材料及其制备方法 |
| CN105837200A (zh) * | 2016-04-05 | 2016-08-10 | 四川大学 | 一种锰掺杂钛铌酸铋钙锂铈基陶瓷材料及其制备方法 |
| CN110317056B (zh) * | 2018-03-30 | 2022-03-01 | Tdk株式会社 | 电介质组合物及电子部件 |
| CN110317055B (zh) * | 2018-03-30 | 2022-03-01 | Tdk株式会社 | 介电组合物和电子部件 |
| CN110317054B (zh) * | 2018-03-30 | 2022-03-01 | Tdk株式会社 | 介电组合物和电子部件 |
| CN113929450B (zh) * | 2021-11-09 | 2023-04-28 | 山东大学 | 一种高压电性能的CaBi4Ti4O15陶瓷的制备方法 |
| CN117263674B (zh) * | 2023-09-14 | 2024-11-12 | 景德镇陶瓷大学 | 一种镧系元素与Cr、W共掺杂型CaBi4Ti4O15高温压电陶瓷材料及其制备方法 |
| CN117263676B (zh) * | 2023-09-14 | 2024-11-12 | 景德镇陶瓷大学 | 一种镧系元素与Ga、W共掺杂型CaBi4Ti4O15高温压电陶瓷材料及其制备方法 |
| CN117263677B (zh) * | 2023-09-14 | 2024-11-12 | 景德镇陶瓷大学 | 一种镧系元素与Cr、Mo共掺杂型CaBi4Ti4O15高温压电陶瓷材料及其制备方法 |
| CN117263675B (zh) * | 2023-09-14 | 2024-11-12 | 景德镇陶瓷大学 | 一种镧系元素与Ga、Mo共掺杂型CaBi4Ti4O15高温压电陶瓷材料及其制备方法 |
Family Cites Families (2)
| Publication number | Priority date | Publication date | Assignee | Title |
|---|---|---|---|---|
| JPH1130322A (ja) * | 1997-07-10 | 1999-02-02 | Daihatsu Motor Co Ltd | 自動変速機の油圧制御装置 |
| JP3931513B2 (ja) * | 1999-02-08 | 2007-06-20 | 株式会社村田製作所 | 圧電磁器組成物およびそれを用いた圧電セラミック素子 |
-
2000
- 2000-05-31 JP JP2000161832A patent/JP3788198B2/ja not_active Expired - Fee Related
- 2000-08-04 TW TW089115657A patent/TW469447B/zh not_active IP Right Cessation
- 2000-08-22 US US09/643,785 patent/US6372152B1/en not_active Expired - Lifetime
- 2000-08-23 DE DE10041307A patent/DE10041307B4/de not_active Expired - Fee Related
- 2000-08-25 KR KR10-2000-0049523A patent/KR100379202B1/ko not_active Expired - Fee Related
- 2000-08-25 CN CNB001262203A patent/CN1219297C/zh not_active Expired - Fee Related
Also Published As
| Publication number | Publication date |
|---|---|
| DE10041307A1 (de) | 2001-03-29 |
| CN1286477A (zh) | 2001-03-07 |
| CN1219297C (zh) | 2005-09-14 |
| TW469447B (en) | 2001-12-21 |
| KR100379202B1 (ko) | 2003-04-08 |
| US6372152B1 (en) | 2002-04-16 |
| KR20010050207A (ko) | 2001-06-15 |
| JP2001130956A (ja) | 2001-05-15 |
| DE10041307B4 (de) | 2005-03-17 |
Similar Documents
| Publication | Publication Date | Title |
|---|---|---|
| JP3788198B2 (ja) | 圧電磁器組成物およびそれを用いた圧電セラミック素子 | |
| JP3931513B2 (ja) | 圧電磁器組成物およびそれを用いた圧電セラミック素子 | |
| JP3671791B2 (ja) | 圧電磁器組成物およびそれを用いた圧電セラミック素子 | |
| JP3750507B2 (ja) | 圧電磁器組成物およびそれを用いた圧電セラミック素子 | |
| JP3791299B2 (ja) | 圧電磁器組成物およびそれを用いた圧電セラミック素子 | |
| JP3613140B2 (ja) | 圧電磁器組成物およびそれを用いた圧電セラミック素子 | |
| JP3864840B2 (ja) | 圧電磁器組成物、圧電セラミック素子および圧電磁器組成物の製造方法 | |
| JP4449331B2 (ja) | 圧電磁器およびそれを用いた圧電磁器素子 | |
| JP3646619B2 (ja) | 圧電磁器組成物およびそれを用いた圧電セラミック素子 | |
| JP3617411B2 (ja) | 圧電セラミック振動子 | |
| JP3815197B2 (ja) | 圧電磁器組成物およびそれを用いた圧電セラミック素子 | |
| JP3912098B2 (ja) | 圧電磁器組成物およびそれを用いた圧電セラミック素子 | |
| JP4479089B2 (ja) | 圧電磁器組成物およびそれを用いた圧電セラミック素子 | |
| US6391223B1 (en) | Piezoelectric ceramic composition and piezoelectric ceramic element using the same | |
| JP3791300B2 (ja) | 圧電磁器組成物およびそれを用いた圧電セラミック素子 | |
| JP2003002741A (ja) | 圧電磁器組成物およびそれを用いた圧電セラミック素子 | |
| JP2001192268A (ja) | 圧電磁器組成物およびそれを用いた圧電共振子 |
Legal Events
| Date | Code | Title | Description |
|---|---|---|---|
| A977 | Report on retrieval |
Free format text: JAPANESE INTERMEDIATE CODE: A971007 Effective date: 20041012 |
|
| A131 | Notification of reasons for refusal |
Free format text: JAPANESE INTERMEDIATE CODE: A131 Effective date: 20051108 |
|
| A521 | Request for written amendment filed |
Free format text: JAPANESE INTERMEDIATE CODE: A523 Effective date: 20051219 |
|
| TRDD | Decision of grant or rejection written | ||
| A01 | Written decision to grant a patent or to grant a registration (utility model) |
Free format text: JAPANESE INTERMEDIATE CODE: A01 Effective date: 20060307 |
|
| A61 | First payment of annual fees (during grant procedure) |
Free format text: JAPANESE INTERMEDIATE CODE: A61 Effective date: 20060320 |
|
| R150 | Certificate of patent or registration of utility model |
Free format text: JAPANESE INTERMEDIATE CODE: R150 |
|
| FPAY | Renewal fee payment (event date is renewal date of database) |
Free format text: PAYMENT UNTIL: 20090407 Year of fee payment: 3 |
|
| FPAY | Renewal fee payment (event date is renewal date of database) |
Free format text: PAYMENT UNTIL: 20100407 Year of fee payment: 4 |
|
| FPAY | Renewal fee payment (event date is renewal date of database) |
Free format text: PAYMENT UNTIL: 20110407 Year of fee payment: 5 |
|
| FPAY | Renewal fee payment (event date is renewal date of database) |
Free format text: PAYMENT UNTIL: 20110407 Year of fee payment: 5 |
|
| FPAY | Renewal fee payment (event date is renewal date of database) |
Free format text: PAYMENT UNTIL: 20120407 Year of fee payment: 6 |
|
| FPAY | Renewal fee payment (event date is renewal date of database) |
Free format text: PAYMENT UNTIL: 20130407 Year of fee payment: 7 |
|
| FPAY | Renewal fee payment (event date is renewal date of database) |
Free format text: PAYMENT UNTIL: 20140407 Year of fee payment: 8 |
|
| LAPS | Cancellation because of no payment of annual fees |
