JP3772601B2 - 超音波発生装置 - Google Patents
超音波発生装置 Download PDFInfo
- Publication number
- JP3772601B2 JP3772601B2 JP24667699A JP24667699A JP3772601B2 JP 3772601 B2 JP3772601 B2 JP 3772601B2 JP 24667699 A JP24667699 A JP 24667699A JP 24667699 A JP24667699 A JP 24667699A JP 3772601 B2 JP3772601 B2 JP 3772601B2
- Authority
- JP
- Japan
- Prior art keywords
- horn
- ultrasonic generator
- ultrasonic
- generator according
- resonance plate
- Prior art date
- Legal status (The legal status is an assumption and is not a legal conclusion. Google has not performed a legal analysis and makes no representation as to the accuracy of the status listed.)
- Expired - Fee Related
Links
- 239000000725 suspension Substances 0.000 claims description 2
- 230000003071 parasitic effect Effects 0.000 description 5
- 239000002184 metal Substances 0.000 description 4
- 229910052751 metal Inorganic materials 0.000 description 3
- PXHVJJICTQNCMI-UHFFFAOYSA-N Nickel Chemical compound [Ni] PXHVJJICTQNCMI-UHFFFAOYSA-N 0.000 description 2
- 238000010586 diagram Methods 0.000 description 2
- 239000000463 material Substances 0.000 description 2
- 229910000838 Al alloy Inorganic materials 0.000 description 1
- RTAQQCXQSZGOHL-UHFFFAOYSA-N Titanium Chemical compound [Ti] RTAQQCXQSZGOHL-UHFFFAOYSA-N 0.000 description 1
- 229910052782 aluminium Inorganic materials 0.000 description 1
- XAGFODPZIPBFFR-UHFFFAOYSA-N aluminium Chemical compound [Al] XAGFODPZIPBFFR-UHFFFAOYSA-N 0.000 description 1
- DMFGNRRURHSENX-UHFFFAOYSA-N beryllium copper Chemical compound [Be].[Cu] DMFGNRRURHSENX-UHFFFAOYSA-N 0.000 description 1
- 230000000694 effects Effects 0.000 description 1
- 229910001234 light alloy Inorganic materials 0.000 description 1
- 229910001092 metal group alloy Inorganic materials 0.000 description 1
- 229910052759 nickel Inorganic materials 0.000 description 1
- 239000010936 titanium Substances 0.000 description 1
- 229910052719 titanium Inorganic materials 0.000 description 1
- 238000003466 welding Methods 0.000 description 1
Images
Classifications
-
- A—HUMAN NECESSITIES
- A45—HAND OR TRAVELLING ARTICLES
- A45D—HAIRDRESSING OR SHAVING EQUIPMENT; EQUIPMENT FOR COSMETICS OR COSMETIC TREATMENTS, e.g. FOR MANICURING OR PEDICURING
- A45D2200/00—Details not otherwise provided for in A45D
- A45D2200/20—Additional enhancing means
- A45D2200/207—Vibration, e.g. ultrasound
Landscapes
- Apparatuses For Generation Of Mechanical Vibrations (AREA)
Description
【発明の属する技術分野】
本発明はホーンを備えている超音波発生装置に関するものである。
【0002】
【従来の技術】
振動子部とホーンとから形成されて振動子部によって電気振動を機械振動に変換し、ホーンで振動振幅を増大する超音波発生装置は、一般に大型で重量も大であることから、振動子部とホーンとを合わせた長さが発生する超音波の波長のほぼ1/2に相当する大きさに小型化するとともに、寄生振動の発生を抑制して振動の分布を均一にするために反作用体を設けたものが特開平7−2231号公報に示されている。
【0003】
【発明が解決しようとする課題】
しかし、上記公報に示されたものでは、寄生振動の抑制及び超音波出力面全体にわたり振動振幅を一定で均一とするために設けた反作用体が占有スペースや重量を増加させるものとなっており、大幅な小型軽量化を図ることは困難である。
【0004】
本発明はこのような点に鑑みなされたものであって、その目的とするところは余分な寄生振動の発生の抑制と出力面全体にわたる振動振幅の均一化を図りつつ小型軽量化を図る超音波発生装置を提供するにある。
【0005】
【課題を解決するための手段】
しかして本発明は、超音波振動を発生させる振動子部と、振動子部の振動を増幅するホーンとを備えるとともに振動子部とホーンとを合わせた長さが発生する超音波の波長のほぼ1/2となっている超音波発生装置であって、振動子部には複数のホーンが並行して取り付けられており、各ホーンの出力側が共振板で連結されているとともに、ホーンの出力側と共振板との連結部が共振板の横振動共振の節となっていることに特徴を有している。複数のホーンの先端の出力側を共振板で連結することで、寄生振動の発生の抑制及び出力面全体にわたる振動振幅の均一化を図ったものである。
【0006】
このものにおいては、振動子部とホーンとの接続部を発生する振動の節平面とするとともに機械的固定点とすればよい。
【0007】
振動子部は圧電素子を駆動源とするものや磁歪素子を駆動源とするものを好適に用いることができる。
【0008】
複数のホーンは一体物として形成されていることが好ましく、またホーンはその基端から先端にかけて湾曲した側面を備えたもの、特に指数または指数状に形成されたものや懸垂面を備えたものを好適に用いることができるが、一様断面を持つものであってもよく、その振動子部側と出力側とを結ぶ方向と直交する断面が円断面となっているものであってもよい。
【0010】
そして、この超音波発生装置は、共振板が毛髪に接触して毛髪に超音波振動を与える部材であって、毛髪のスタイリング用に好適に用いることができる。
【0011】
【発明の実施の形態】
以下本発明を実施の形態の一例に基づいて詳述すると、図1において、振動子部1は伝導性金属シート4(ニッケルまたはベリリウム銅からなるものが好ましい)を間に挟み込んだ圧電素子または磁歪素子を駆動源として電気振動を機械振動に変換するもので、円柱状に形成されている振動子部1の一端側にはベース20を介して2本のホーン2,2が取り付けられている。ここにおけるホーン2は、両側面が湾曲面となっている板状のもので、太くなっている基端側がベース20に接続されて、細くなっている先端側が出力側となっており、2本のホーン2,2は平行に並んでいる。そしてホーン2の出力側である先端側には平板状の共振板3が取り付けられて、2本のホーン2,2の出力側は共振板3を介して連結されたものとなっている。なお、図示例では一枚の共振板3を2つのホーン2,2に跨らせて取り付けているが、複数枚の共振板3を夫々2つのホーン2,2に跨らせて取り付けてもよい。
【0012】
この超音波発生装置においては、図2に示すように、振動子部とホーンとを合わせた長さが発生する超音波の波長のほぼ1/2となるように(なお、図では振動の振幅を便宜のために本来の縦波を横波に変換して示している)しており、ベース20が節平面となる半波長共振器を構成している。このためにベース20での振幅が零に等しく、このベース20を機械的固定点として使用する。
【0013】
そして、共振板3はホーン2の振動に合わせてホーン2の駆動周波数で共振するようにしておくのであるが、この時、図3に示すようにホーン2の出力側と共振板3との連結点が共振板3の横振動共振の節となるようにすることで、ホーン2先端の超音波振動を能率良く共振板3に伝達することができるようにしている。
【0014】
ホーン2の数は2つに限定されるものではなく、図5に示すように、3つ以上であってもよい。また、複数のホーン2,2は金属塊に溝21を切削加工することで形成した一体物であってもよく、ベース20もホーン2と一体に形成することができる。
【0015】
ホーン2としては、その基端から先端にかけて湾曲した側面を備えたもの、特に図6(a)に示すように指数または指数状に形成されたものや、懸垂面を備えたものを好適に用いることができるが、図6(b)に示すように、両側面が傾斜した平面となっているもの、図6(c)に示すように、一様断面を持つものであってもよく、さらにはその振動子部側と出力側とを結ぶ方向と直交する断面が図示例のような角型断面ではなく、円断面を持つものであってもよい。さらにホーン2はアルミニウムまたはアルミニウム合金のような軽金属または軽合金で形成するが、チタンなどの金属で形成してもよい。
【0016】
共振板3は図示例では図4に示すように、ホーン2に対してボルト30止めによって着脱自在に取り付けるものを用いて、共振板3の損傷時に共振板3のみの交換を行うことができるようにしているが、切削加工等によりホーン2と一体のものとして形成したものであってもよい。また、共振板3は前述の共振条件を満足するのであれば、ホーン2と同種の材質で形成しても異種の材質で形成してもよい。
【0017】
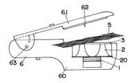
図7及び図8は上記超音波発生装置を用いたヘアセッターを示しており、超音波発生装置を埋め込むとともに共振板3を表面に露出させた本体6と、この本体6に軸63で回動自在に取り付けた回動体61とからなり、回動体61に設けた押さえ板62と、ベース20を本体6に固定することで本体6に取り付けた超音波発生装置の共振板3との間で毛髪5を挟み込み、共振板3から超音波振動を毛髪5に与えることによって毛髪スタイリング(くせ付け)を行う。
【0018】
【発明の効果】
以上のように本発明においては、振動子部に複数のホーンを並行して取り付けて、各ホーンの出力側を共振板で連結しているために、寄生振動の発生を抑制することができるとともに、出力面全体にわたる振動振幅の均一化を図ることができるものであり、しかも反作用体を設けたものに比して、小型軽量化を図ることができる。特にホーンの出力側と共振板との連結部を共振板の横振動共振の節としているために、効率の良い超音波振動発生を行うことができるものである。
【0019】
そして、振動子部とホーンとの接続部を発生する振動の節平面とするとともに機械的固定点とすることで、効率の良い超音波発生を行うことができる。
【0020】
そして該超音波発生装置は、共振板を毛髪に接触させて毛髪に超音波振動を与える毛髪スタイリング用に好適に用いることができるが、このほか、超音波溶着や超音波加工等の種々の用途に利用することができるものであり、特に共振板を用途に応じたものとすることで、通常の超音波発生装置に比してさらに広範囲な利用を図ることができる。
【図面の簡単な説明】
【図1】本発明の実施の形態の一例を示すもので、(a)は正面図、(b)は側面図である。
【図2】同上の超音波振動についての説明図である。
【図3】同上の共振板の共振についての説明図である。
【図4】同上の部分断面図である。
【図5】他例の正面図である。
【図6】 (a)(b)(c)は夫々ホーンの形状例を示す正面図である。
【図7】超音波発生装置を用いたヘアセッターの概略図である。
【図8】同上の説明図である。
【符号の説明】
1 振動子部
2 ホーン
3 共振板
Claims (12)
- 超音波振動を発生させる振動子部と、振動子部の振動を増幅するホーンとを備えるとともに振動子部とホーンとを合わせた長さが発生する超音波の波長のほぼ1/2となっている超音波発生装置であって、振動子部には複数のホーンが並行して取り付けられており、各ホーンの出力側が共振板で連結されているとともに、ホーンの出力側と共振板との連結部が共振板の横振動共振の節となっていることを特徴とする超音波発生装置。
- 振動子部とホーンとの接続部が発生する振動の節平面となっているとともに機械的固定点となっていることを特徴とする請求項1記載の超音波発生装置。
- 振動子部は圧電素子を駆動源とするものであることを特徴とする請求項1または2記載の超音波発生装置。
- 振動子部は磁歪素子を駆動源とするものであることを特徴とする請求項1または2記載の超音波発生装置。
- 複数のホーンは一体物として形成されていることを特徴とする請求項1〜4のいずれか1項に記載の超音波発生装置。
- ホーンはその基端から先端にかけて湾曲した側面を備えていることを特徴とする請求項1〜5のいずれか1項に記載の超音波発生装置。
- ホーンは指数または指数状に形成されていることを特徴とする請求項6記載の超音波発生装置。
- ホーンは懸垂面を備えたものとして形成されていることを特徴とする請求項6記載の超音波発生装置。
- ホーンは一様断面を持つものとして形成されていることを特徴とする請求項1〜5のいずれか1項に記載の超音波発生装置。
- ホーンはその振動子部側と出力側とを結ぶ方向と直交する断面が円断面となっていることを特徴とする請求項1〜9のいずれか1項に記載の超音波発生装置。
- 共振板はホーンに対して着脱自在に形成されていることを特徴とする請求項1〜10のいずれか1項に記載の超音波発生装置。
- 人体の毛髪のスタイリング用であって、共振板が毛髪に接触して毛髪に超音波振動を与える部材となっていることを特徴とする請求項1〜11のいずれか1項に記載の超音波発生装置。
Priority Applications (1)
| Application Number | Priority Date | Filing Date | Title |
|---|---|---|---|
| JP24667699A JP3772601B2 (ja) | 1999-08-31 | 1999-08-31 | 超音波発生装置 |
Applications Claiming Priority (1)
| Application Number | Priority Date | Filing Date | Title |
|---|---|---|---|
| JP24667699A JP3772601B2 (ja) | 1999-08-31 | 1999-08-31 | 超音波発生装置 |
Publications (2)
| Publication Number | Publication Date |
|---|---|
| JP2001070881A JP2001070881A (ja) | 2001-03-21 |
| JP3772601B2 true JP3772601B2 (ja) | 2006-05-10 |
Family
ID=17151969
Family Applications (1)
| Application Number | Title | Priority Date | Filing Date |
|---|---|---|---|
| JP24667699A Expired - Fee Related JP3772601B2 (ja) | 1999-08-31 | 1999-08-31 | 超音波発生装置 |
Country Status (1)
| Country | Link |
|---|---|
| JP (1) | JP3772601B2 (ja) |
Families Citing this family (4)
| Publication number | Priority date | Publication date | Assignee | Title |
|---|---|---|---|---|
| JP4529313B2 (ja) * | 2001-03-27 | 2010-08-25 | パナソニック電工株式会社 | 超音波発生装置 |
| JP2006334110A (ja) * | 2005-06-01 | 2006-12-14 | Matsushita Electric Works Ltd | 超音波毛髪処理装置 |
| JP4501828B2 (ja) * | 2005-09-27 | 2010-07-14 | パナソニック電工株式会社 | 超音波毛髪処理装置 |
| KR100830530B1 (ko) | 2007-01-09 | 2008-05-21 | (주)푸로맥스 | 휴대용 피부 미용기구 |
-
1999
- 1999-08-31 JP JP24667699A patent/JP3772601B2/ja not_active Expired - Fee Related
Also Published As
| Publication number | Publication date |
|---|---|
| JP2001070881A (ja) | 2001-03-21 |
Similar Documents
| Publication | Publication Date | Title |
|---|---|---|
| JP4545323B2 (ja) | 圧縮圧力の伝達を改良した超音波トランスデューサ | |
| US4706230A (en) | Underwater low-frequency ultrasonic wave transmitter | |
| US7285895B2 (en) | Ultrasonic medical device and method | |
| JP5859509B2 (ja) | 超音波振動子システム | |
| JP7253910B2 (ja) | 振動変換装置 | |
| JP3772601B2 (ja) | 超音波発生装置 | |
| RU2403989C2 (ru) | Ультразвуковое вибрационное устройство и косметологическое устройство | |
| WO1999000034A1 (en) | Ultrasonic hair curling device | |
| JP4529313B2 (ja) | 超音波発生装置 | |
| JPH0670565A (ja) | 超音波振動子及び超音波アクチュエータ | |
| JP3972610B2 (ja) | 超音波美容器 | |
| CN214682736U (zh) | 超声刀具换能器及超声波手术器械 | |
| KR101836948B1 (ko) | 선집속 초음파 변환기 | |
| JP6432069B2 (ja) | 集束超音波発生装置 | |
| JP4665716B2 (ja) | ヘアスタイリング用超音波振動装置 | |
| JP2618044B2 (ja) | 超音波治療装置 | |
| JP4419774B2 (ja) | 超音波美容装置 | |
| JP6248290B2 (ja) | 集束超音波発生装置 | |
| JPH0627127Y2 (ja) | 超音波振動子 | |
| CN114453228A (zh) | 一种超声波传输构件 | |
| KR100716467B1 (ko) | 초음파 압전 진동장치 | |
| JPS58165902A (ja) | 超音波振動切削装置 | |
| JP2003275684A (ja) | 超音波発生装置、及びこの超音波発生装置を用いた超音波美容器 | |
| WO2025028358A1 (ja) | 超音波振動発生装置、及び毛処理装置 | |
| JP2003112120A (ja) | ランジュバン型振動子 |
Legal Events
| Date | Code | Title | Description |
|---|---|---|---|
| A977 | Report on retrieval |
Free format text: JAPANESE INTERMEDIATE CODE: A971007 Effective date: 20051014 |
|
| A131 | Notification of reasons for refusal |
Free format text: JAPANESE INTERMEDIATE CODE: A131 Effective date: 20051018 |
|
| A521 | Written amendment |
Free format text: JAPANESE INTERMEDIATE CODE: A523 Effective date: 20051219 |
|
| TRDD | Decision of grant or rejection written | ||
| A01 | Written decision to grant a patent or to grant a registration (utility model) |
Free format text: JAPANESE INTERMEDIATE CODE: A01 Effective date: 20060124 |
|
| A61 | First payment of annual fees (during grant procedure) |
Free format text: JAPANESE INTERMEDIATE CODE: A61 Effective date: 20060206 |
|
| FPAY | Renewal fee payment (event date is renewal date of database) |
Free format text: PAYMENT UNTIL: 20090224 Year of fee payment: 3 |
|
| S533 | Written request for registration of change of name |
Free format text: JAPANESE INTERMEDIATE CODE: R313533 |
|
| FPAY | Renewal fee payment (event date is renewal date of database) |
Free format text: PAYMENT UNTIL: 20090224 Year of fee payment: 3 |
|
| R350 | Written notification of registration of transfer |
Free format text: JAPANESE INTERMEDIATE CODE: R350 |
|
| FPAY | Renewal fee payment (event date is renewal date of database) |
Free format text: PAYMENT UNTIL: 20100224 Year of fee payment: 4 |
|
| FPAY | Renewal fee payment (event date is renewal date of database) |
Free format text: PAYMENT UNTIL: 20100224 Year of fee payment: 4 |
|
| FPAY | Renewal fee payment (event date is renewal date of database) |
Free format text: PAYMENT UNTIL: 20110224 Year of fee payment: 5 |
|
| LAPS | Cancellation because of no payment of annual fees |