JP3729324B2 - L型机の構造 - Google Patents

L型机の構造 Download PDF

Info

Publication number
JP3729324B2
JP3729324B2 JP2000151062A JP2000151062A JP3729324B2 JP 3729324 B2 JP3729324 B2 JP 3729324B2 JP 2000151062 A JP2000151062 A JP 2000151062A JP 2000151062 A JP2000151062 A JP 2000151062A JP 3729324 B2 JP3729324 B2 JP 3729324B2
Authority
JP
Japan
Prior art keywords
leg
top plate
attached
corner
mounting portion
Prior art date
Legal status (The legal status is an assumption and is not a legal conclusion. Google has not performed a legal analysis and makes no representation as to the accuracy of the status listed.)
Expired - Fee Related
Application number
JP2000151062A
Other languages
English (en)
Other versions
JP2001327335A (ja
Inventor
崇爾 西澤
Current Assignee (The listed assignees may be inaccurate. Google has not performed a legal analysis and makes no representation or warranty as to the accuracy of the list.)
Itoki Corp
Original Assignee
Itoki Corp
Priority date (The priority date is an assumption and is not a legal conclusion. Google has not performed a legal analysis and makes no representation as to the accuracy of the date listed.)
Filing date
Publication date
Application filed by Itoki Corp filed Critical Itoki Corp
Priority to JP2000151062A priority Critical patent/JP3729324B2/ja
Publication of JP2001327335A publication Critical patent/JP2001327335A/ja
Application granted granted Critical
Publication of JP3729324B2 publication Critical patent/JP3729324B2/ja
Anticipated expiration legal-status Critical
Expired - Fee Related legal-status Critical Current

Links

Images

Landscapes

  • Tables And Desks Characterized By Structural Shape (AREA)
  • Standing Axle, Rod, Or Tube Structures Coupled By Welding, Adhesion, Or Deposition (AREA)
  • Furniture Connections (AREA)

Description

【0001】
【発明の属する技術分野】
本発明は、筆記又はコンピュータ操作等のような各種のデスクワークを行う事務等に使用される机のうち、平面視でL字状に形成した天板と、この天板における後ろの三隅を支持する三つの脚体とから成るL型机の構造に関するものである。
【0002】
【従来の技術と発明が解決しようとする課題】
一般に、この種のL型机は、基本的にいって、前記三つの各脚体の相互間を、横方向に延びるステー部材を介して連結するか、このステー部材を介して連結することに加えて、天板の後面にこれに沿って延びるように配設した配線受け樋を介して連結し、この各脚体の上面に前記天板を載置するという構成にしている。
【0003】
この場合、従来のL型机においては、前記各脚体と、この各脚体間を連結するステー部材及び配線受け樋との連結を、金属板にて中空状に形成した脚体の側面板に対してボルトにてステー部材を締結するという構成にしているから、この連結部分における剛性を向上するには、中空の脚体を形成する金属板の板厚、及び前記ステー部材及び配線受け樋を形成する金属板の板厚を相当に厚くしなければならないか、或いは、この脚体とステー部材及び配線受け樋との間に補強部材を設けるようにしなければならないという問題があった。
【0004】
本発明は、この問題を解消することを技術的課題とするものである。
【0005】
【課題を解決するための手段】
この技術的課題を達成するため、請求項1に記載の発明のL型机の構造は、平面視でL字状に形成した天板と、この天板における後ろの三隅を支持する三つの脚体と、この各脚体の相互間を連結するステー部材とから成るL型机において、前記各脚体の上端に、上面に前記天板を載置するようにした連結体を配設し、この連結体に、前記脚体の上端にその内部に嵌るようにして取付けられる補助脚取付け部と、一対の脚取付け部と、前記ステー部材に対する一対の取付け部とを設け、前記脚取付け部は、前記連結体における各側面のうち前記補助脚取付け部を有する一つの角部を挟んで直角をなす二つの側面に一体的に設けられ、前記ステー部材に対する取付け部は、前記一つの角部と対角の他の角部を挟んで直角をなす二つの側面に一体的に設けられているものである。
【0006】
また、請求項2に記載の発明は、請求項1に記載のL型机の構造において、前記三隅のうち、第1の隅部と第3の隅部のうち一方もしくは両方とその間の第2の隅部との間に、前記天板における互いに直角になす二つの後面のうちいずれか一方もしくは両方の後面に沿って延びるように配線受け樋を配置し、前記第1及び第3の隅部の脚体に取付けられた前記連結体のうち一方もしくは両方における二つの脚取付け部のうち一方の脚取付け部を脚体の上端に取付けた状態で、他方の脚取付け部に前記配線受け樋の一端部を取付け、前記第2の隅部における脚体に取付けられた連結体における一方もしくは両方の脚取付け部に、配線受け樋の他端部を取付けたものである。
請求項3に記載の発明は、請求項1又は2に記載のL型机の構造において、前記各連結体の上面に、天板の下面に沿って前側に延びる天板支持板を取付けたものである。
【0007】
【発明の作用・効果】
請求項1に記載の発明によれば、両脚体の上端に使用した連結体は、脚体に対して、これに設けた補助脚取付け部が脚体の上端内部に嵌まった状態にして強固に取付けられることになるから、この連結体に設けた取付け部にステー部材を取付けることにより、前記ステー部材を、両脚体に対し前記連結体を介して強固に連結することができる。従って、前記連結部分における剛性を、従来のように、脚体のステー部材の板厚を厚くしたり、或いは、別の補強部材を使用したりすることなく、確実に大幅にアップすることができるのである。
そして、前記脚取付け部は、前記連結体における各側面のうち一つの角部を挟んで直角をなす二つの側面に一体的に設けられ、前記ステー部材に対する取付け部は、前記一つの角部と対角の他の角部を挟んで直角をなす二つの側面に一体的に設けられているものであるから、左右両脚体の各々に対する連結体を、同じ形状の共通部品にすることができる利点を有する。
【0008】
そして、請求項2の発明によれば、各脚体の各々に対する連結体を、同じ形状の共通部品にすることができる利点を有する。
【0009】
また、請求項3に記載したように、前記両連結体の上面に、天板の下面に沿って前側に延びる天板支持板を取付けることにより、L型の天板を、その手前側の部分まで確実に支持することができる利点を有する。
【0010】
【発明の実施の形態】
以下、本発明における実施の形態を図面について説明する。
【0011】
図1〜図12は、第1の実施の形態を示す。
【0012】
この図において、符号1は、平面視においてL字状に形成した天板を、符号2,2′及び2″は、前記L型天板1における後ろの三隅を支持する三つの脚体を、符号4,4′は、前記各脚体2,2′,2″のうち天板1の両端における第1脚体2及び第2脚体2′と、その間における第3脚体2″の相互間を互いに連結するステー部材を、符号5は、前記天板1における二つ後面のうち前記第1脚体2と第3脚体2″との間に位置する後面に沿って延びるように配設する配線受け樋を各々示す。
【0013】
なお、本実施の形態の場合、前記L型の天板1は、二つの天板1′,1″を、その下面に設けた二つの連結片29にて、着脱自在に連結したものに構成されている。
【0014】
前記各脚体2,2′,2″は、床面上を机に対して前後方向に延びる下アーム部材6と、この下アーム部材6の上面から立設する金属板製中空状の脚柱7と、同じく前記下アーム部材6の上面から前記脚柱7の後面に沿って立設する金属板製中空状の補助脚柱8とによって構成されている。
【0015】
この場合において、前記補助脚柱8の断面形状は、略正方形であるが、前記脚柱7の断面形状は、図4に示すように、その外側面板7aを机の前後方向に略真っ直ぐな平面に、その内側面板7bを後方に向かって湾曲しながら内向きに傾斜した湾曲傾斜面にするというように一つの湾曲辺と二つの直線辺とを有する略三角形に形成されている。また、これら各脚柱7,8は、前記下アーム部材6の上面に対してボルト9,10の締結にて着脱自在に連結されている。
【0016】
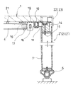
次に、符号11は、前記各脚体2,2′,2″の上端の各々配設した連結体を示し、この連結体11は、平面視において略矩形に形成され、その一つの角部における下面には、前記補助脚柱8の上端内部に嵌まった状態で、補助脚柱8に対してボルト13の締結にて着脱自在に取付けられる補助脚取付け部12が一体的に設けられている。
【0017】
また、前記連結体11の各側面のうち前記補助脚取付け部12を有する一つの角部を挟んで互いに直角をなす二つの側面には、前記脚柱7の上端内部に嵌まった状態で、脚柱7に対してボルト15の締結にて着脱自在に取付けられる脚取付け部14が一体的に設けられ、この両脚取付け部14のうち一方の脚取付け部14を、前記脚柱7の上端内部に嵌めるようにして取付ける。
【0018】
前記第1脚体2に対する連結体11における両脚取付け部14のうち他方の脚取付け部14と、前記第2脚体2″に対する連結体11における両脚取付け部14のうち他方の脚取付け部14とに、前記配線受け樋5の両端部を、ボルト15′の締結にて着脱自在に連結する。
【0019】
更にまた、前記連結体11の各側面のうち前記補助脚取付け部12を有する一つの角部と対角をなす他の一つの角部に隣接して互いに直角をなす二つの側面には、前記ステー部材4の取付け部であるところの棒片16を横向きに一体的に突出して、これに前記ステー部材4,4′の一端を被嵌したのちボルト17を締結することにより、ステー部材4,4′を着脱自在に連結する。
【0020】
そして、前記各連結体11の上面には、机の前後方向に延びる天板支持板18を配設して、この天板支持板18を、前記連結体11に着脱自在に取付けて、この各天板支持板18の上面に、前記L型の天板1を載せるように構成する。
【0021】
なお、本実施の形態の場合、この天板支持板18の取付けは、連結体11の脚柱7に対する取付け用ボルト15、及び配線受け樋5の連結体11に対する取付け用ボルト15′を利用して行うように構成され、且つ、この天板支持板18は、前記脚柱7に対しても、ボルト20の締結にて着脱自在に取付けられている。
【0022】
前記天板支持板18に、天板1の下面に沿って前方に延びる上アーム部材19を固着することにより、この上アーム部材19によっても天板1を支持するように構成され、更に、前記天板1の下面に、前記ステー部材4,4′の上面のうち複数箇所に設けた各受け片21を前記天板1の下面に接当することにより、ステー部材4,4′によっても天板1を支持するように構成する。
【0023】
なお、前記天板1のうち前記各脚体2,2′,2″における脚柱7及び補助脚柱8に該当する部分には、これらを露出するようにした切欠部1aが設けられ、この切欠部1aには、この切欠部1a内のうち前記脚柱7の上端における連結体11及び天板支持板18を覆い隠すようにしたキャップ体22と、前記補助脚柱8の上端における連結体11を覆い隠すようにしたキャップ体23とが着脱自在に設けられている。また、前記配線受け樋5には、図9に示すように、これを塞ぐようにした蓋板24が着脱自在に設けられている。
【0024】
このように構成することにより、L型の天板1を支持する三つの各脚体2,2′,2″の上端に使用した連結体11は、各脚体2,2′,2″における脚柱7に対して、これに設けた脚取付け部14が脚柱7の上端内部に嵌まった状態にして強固に取付けられることになる。
【0025】
そして、これらの連結体11に対してステー部材4,4′及び配線受け樋5を取付けることで、このステー部材4,4′及び配線受け樋5を、各脚体2,2′,2″に対し前記連結体11を介して強固に連結することができるから、前記連結部分における剛性を、従来のように、脚柱の板厚さを厚くしたり、或いは、別の補強部材を使用したりすることなく、大幅にアップすることができる。
【0026】
この場合において、前記連結体11には、一つの角部を挟んで直角をなす二つの側面の各々に脚取付け部14が、他の角部を挟んで直角をなす二つの側面に各々にステー部材4の取付け部であるところの棒片16が設けられていることにより、連結体11を、全ての脚体2,2′,2″に対して使用することができるというように、同じ形状の共通部品にすることができる。
【0027】
また、前記L型天板1を、前記各連結体11の上面に机の前方向に延びるように取付けた天板支持板18にて支持したことにより、前記天板1を、その手前側の部分まで確実に支持することができる。
【0028】
更にまた、前記天板支持板18を、前記連結体11と、脚柱7との両方に取付けたことにより、この天板支持板18の取付け強度、及び連結体11の脚柱7に対する取付け強度を向上することができる。
【0029】
これに加えて、前記天板支持板18に天板1の下面に沿って前方に延びる上アーム部材19を固着するという構成であることにより、以下に述べるような利点を有する。
【0030】
すなわち、天板1における前面からの奥行き寸法が大きい場合には、長さの長い上アーム部材19を使用し、奥行き寸法が小さい場合には、長さの短い上アーム部材19を使用するか、あるいは、この上アーム部材19を廃止することにより、常に同じ寸法形状の天板支持板18を使用することができ、換言すると、前記天板支持板18を、前記各脚体2,2′,2″に対して共通の部品にすることができる。
【0031】
また、本実施の形態の場合、前記第1脚体2と第3脚体2″とを連結するステー部材4と、第3脚体2″と第2脚体2′とを連結するステー部材4′との間には、これらに対して斜め方向に延びるステー部材4″が装架して、このステー部材4″によっても天板1を支持するように構成している。
【0032】
この斜めのステー部材4″と、前記両ステー部材4,4′との着脱自在な連結は、図11及び図12に示すように、ステー部材4,4′に横向きコ字状に形成した連結片25を被嵌したのち止めねじ26にて固着し、この連結片25に対して斜めのステー部材4″を挿入したのちねじ孔28からねじ込んだ止めねじ27にて固着するという構成である。
【0033】
この場合、前記連結片25には、前記ねじ27を挿入する別のねじ孔28′を穿設して、この別のねじ孔28′を使用して、二点鎖線で示すように、反対方向に傾斜するステー部材も同様にねじにて固着できるようにすることにより、前記連結25を、斜めのステー部材4″を両ステー部材4,4′の両方に連結する場合に使用できるようにして、部品の共通化を図っている。
【0034】
次に、図13及び図14は、本発明の第2の実施の形態を示す。
【0035】
この第2の実施の形態は、天板1を一枚構成にし、この天板1を支持する各脚体2,2′,2″のうち第1脚体2と第2脚体2′との間に位置する第3脚体2″を、断面正方形の脚柱8のみにし、更に、この第3脚体2″と、前記第2脚体2′との間を、ステー部材4′にて連結することに加えて、配線受け樋5′にて連結した場合である。
【0036】
この第2の実施の形態におけるその他の構成は、前記第3脚体2″に対する連結体11を、その一つの隅部に一体的に設けた脚取付け部12を第3脚体2″における脚柱8の上端内部に嵌るようにして取付ける一方、前記第3脚体2″に対する連結体11の上面に取付けられる天板支持板18′を、第1脚体2及び第2脚体2′の箇所における天板支持板18と異なり、図14に示すように、略正方形に形成した点を除いて、前記第1の実施の形態と同様である。
【0037】
つまり、この第2の実施の形態においては、各脚体2,2′,2″の箇所に同じ寸法形状の連結体11を使用した状態のもとで、第1脚体2と第3脚体2″との間をステー部材4及び配線受け樋5を介して連結することに加えて、第3脚体2″と第2脚体2′との間をも、同様にステー部材4′及び配線受け樋5′を介して連結するという構成にしたものである。
【0038】
もちろん、この第2の実施の形態の変形例としては、前記第1脚体2と第3脚体2″との間を連結するステー部材4及び配線受け樋5のうち配線受け樋5のほうを廃止するように構成しても良い。
【図面の簡単な説明】
【図1】本発明による第1の実施の形態による事務用机を示す正面図である。
【図2】図1の平面図である。
【図3】図1の左側面図である。
【図4】図3のIV−IV視拡大断面図である。
【図5】図1において天板を除いた状態を示す平面図である。
【図6】図5のVI−VI視拡大断面図である。
【図7】図6のVII −VII 視断面図である。
【図8】図7のVIII−VIII視断面図である。
【図9】図7のIX−IX視拡大断面図である。
【図10】要部の分解斜視図である。
【図11】ステー部材の連結部を示す図である。
【図12】図11のXII −XII 視断面図である。
【図13】本発明による第2の実施の形態を示す平面図である。
【図14】図13の要部を示す拡大図である。
【符号の説明】
1 天板
2,2′,2″ 脚体
4,4′,4″ ステー部材
5,5′ 配線受け樋
7 脚柱
8 補助脚柱
11 連結体
12 補助脚取付け部
14 脚取付け部
16 ステー部材に対する取付け部
18 天板支持板

Claims (3)

  1. 平面視でL字状に形成した天板と、この天板における後ろの三隅を支持する三つの脚体と、この各脚体の相互間を連結するステー部材とから成るL型机において、
    前記各脚体の上端に、上面に前記天板を載置するようにした連結体を配設し、この連結体に、前記脚体の上端にその内部に嵌るようにして取付けられる補助脚取付け部と、一対の脚取付け部と、前記ステー部材に対する一対の取付け部とを設け、
    前記脚取付け部は、前記連結体における各側面のうち前記補助脚取付け部を有する一つの角部を挟んで直角をなす二つの側面に一体的に設けられ、
    前記ステー部材に対する取付け部は、前記一つの角部と対角の他の角部を挟んで直角をなす二つの側面に一体的に設けられていることを特徴とするL型机の構造。
  2. 前記三隅のうち、第1の隅部と第3の隅部のうち一方もしくは両方とその間の第2の隅部との間に、前記天板における互いに直角になす二つの後面のうちいずれか一方もしくは両方の後面に沿って延びるように配線受け樋を配置し、
    前記第1及び第3の隅部の脚体に取付けられた前記連結体のうち一方もしくは両方における二つの脚取付け部のうち一方の脚取付け部を脚体の上端に取付けた状態で、他方の脚取付け部に前記配線受け樋の一端部を取付け、
    前記第2の隅部における脚体に取付けられた連結体における一方もしくは両方の脚取付け部に、配線受け樋の他端部を取付けたことを特徴とする請求項1に記載のL型机の構造。
  3. 前記各連結体の上面に、天板の下面に沿って前側に延びる天板支持板を取付けたことを特徴とする請求項1又は2に記載のL型机の構造。
JP2000151062A 2000-05-23 2000-05-23 L型机の構造 Expired - Fee Related JP3729324B2 (ja)

Priority Applications (1)

Application Number Priority Date Filing Date Title
JP2000151062A JP3729324B2 (ja) 2000-05-23 2000-05-23 L型机の構造

Applications Claiming Priority (1)

Application Number Priority Date Filing Date Title
JP2000151062A JP3729324B2 (ja) 2000-05-23 2000-05-23 L型机の構造

Publications (2)

Publication Number Publication Date
JP2001327335A JP2001327335A (ja) 2001-11-27
JP3729324B2 true JP3729324B2 (ja) 2005-12-21

Family

ID=18656680

Family Applications (1)

Application Number Title Priority Date Filing Date
JP2000151062A Expired - Fee Related JP3729324B2 (ja) 2000-05-23 2000-05-23 L型机の構造

Country Status (1)

Country Link
JP (1) JP3729324B2 (ja)

Family Cites Families (6)

* Cited by examiner, † Cited by third party
Publication number Priority date Publication date Assignee Title
JPH0444120Y2 (ja) * 1988-09-05 1992-10-19
JPH0641460Y2 (ja) * 1989-01-06 1994-11-02 共栄工業株式会社 組立机および机の脚連結枠
JPH0749012B2 (ja) * 1990-01-30 1995-05-31 コクヨ株式会社
JP2623961B2 (ja) * 1990-11-16 1997-06-25 コクヨ株式会社 天板付き家具
JP3330427B2 (ja) * 1993-06-18 2002-09-30 共栄工業株式会社 デスク
JPH11164739A (ja) * 1997-12-05 1999-06-22 Kokuyo Co Ltd

Also Published As

Publication number Publication date
JP2001327335A (ja) 2001-11-27

Similar Documents

Publication Publication Date Title
JP3729324B2 (ja) L型机の構造
JP3673696B2 (ja) 机の構造
JP3673695B2 (ja) 机の構造
JP3811612B2 (ja) 机における支柱装置
JP4180225B2 (ja) 机の構造
JP2592827Y2 (ja) 組立式棚用のコーナブラケット
JPH0475976B2 (ja)
JP7784222B1 (ja) 組立家具構造、ポスト、バー、構造板及びトップ部材
JPH02100525U (ja)
JP3875538B2 (ja) パネル連結装置
JPH0727877Y2 (ja) 机等における衝立パネル取付構造
JPH024634Y2 (ja)
JP4445639B2 (ja) 書架への防振杆の取付構造
JP2006081922A (ja) 机における収納装置
JPH0458123U (ja)
JP7285083B2 (ja) 天板付什器
JP2004261381A (ja) 家具ユニットのカバー
JPS6314668Y2 (ja)
JPS6323427U (ja)
JPH0716334Y2 (ja) 机の天板取付け構造
JPS62133849U (ja)
JPH0414661U (ja)
JPH0449948Y2 (ja)
JPH0382026U (ja)
JPH0730789Y2 (ja) 便器取付構造

Legal Events

Date Code Title Description
A977 Report on retrieval

Free format text: JAPANESE INTERMEDIATE CODE: A971007

Effective date: 20040622

A131 Notification of reasons for refusal

Free format text: JAPANESE INTERMEDIATE CODE: A131

Effective date: 20040803

A521 Written amendment

Free format text: JAPANESE INTERMEDIATE CODE: A523

Effective date: 20040928

A131 Notification of reasons for refusal

Free format text: JAPANESE INTERMEDIATE CODE: A131

Effective date: 20050405

A521 Written amendment

Free format text: JAPANESE INTERMEDIATE CODE: A523

Effective date: 20050603

TRDD Decision of grant or rejection written
A01 Written decision to grant a patent or to grant a registration (utility model)

Free format text: JAPANESE INTERMEDIATE CODE: A01

Effective date: 20050906

A61 First payment of annual fees (during grant procedure)

Free format text: JAPANESE INTERMEDIATE CODE: A61

Effective date: 20050928

R150 Certificate of patent or registration of utility model

Free format text: JAPANESE INTERMEDIATE CODE: R150

FPAY Renewal fee payment (event date is renewal date of database)

Free format text: PAYMENT UNTIL: 20081014

Year of fee payment: 3

FPAY Renewal fee payment (event date is renewal date of database)

Free format text: PAYMENT UNTIL: 20091014

Year of fee payment: 4

FPAY Renewal fee payment (event date is renewal date of database)

Free format text: PAYMENT UNTIL: 20091014

Year of fee payment: 4

FPAY Renewal fee payment (event date is renewal date of database)

Free format text: PAYMENT UNTIL: 20101014

Year of fee payment: 5

FPAY Renewal fee payment (event date is renewal date of database)

Free format text: PAYMENT UNTIL: 20111014

Year of fee payment: 6

FPAY Renewal fee payment (event date is renewal date of database)

Free format text: PAYMENT UNTIL: 20111014

Year of fee payment: 6

FPAY Renewal fee payment (event date is renewal date of database)

Free format text: PAYMENT UNTIL: 20121014

Year of fee payment: 7

FPAY Renewal fee payment (event date is renewal date of database)

Free format text: PAYMENT UNTIL: 20121014

Year of fee payment: 7

FPAY Renewal fee payment (event date is renewal date of database)

Free format text: PAYMENT UNTIL: 20131014

Year of fee payment: 8

LAPS Cancellation because of no payment of annual fees