JP3687330B2 - 打撃工具 - Google Patents

打撃工具 Download PDF

Info

Publication number
JP3687330B2
JP3687330B2 JP05338298A JP5338298A JP3687330B2 JP 3687330 B2 JP3687330 B2 JP 3687330B2 JP 05338298 A JP05338298 A JP 05338298A JP 5338298 A JP5338298 A JP 5338298A JP 3687330 B2 JP3687330 B2 JP 3687330B2
Authority
JP
Japan
Prior art keywords
striking
tool
intermediate element
impact
tip tool
Prior art date
Legal status (The legal status is an assumption and is not a legal conclusion. Google has not performed a legal analysis and makes no representation as to the accuracy of the status listed.)
Expired - Fee Related
Application number
JP05338298A
Other languages
English (en)
Other versions
JPH11254349A (ja
Inventor
敦行 菊池
睦生 原田
明之 矢萩
Current Assignee (The listed assignees may be inaccurate. Google has not performed a legal analysis and makes no representation or warranty as to the accuracy of the list.)
Koki Holdings Co Ltd
Original Assignee
Hitachi Koki Co Ltd
Priority date (The priority date is an assumption and is not a legal conclusion. Google has not performed a legal analysis and makes no representation as to the accuracy of the date listed.)
Filing date
Publication date
Application filed by Hitachi Koki Co Ltd filed Critical Hitachi Koki Co Ltd
Priority to JP05338298A priority Critical patent/JP3687330B2/ja
Publication of JPH11254349A publication Critical patent/JPH11254349A/ja
Application granted granted Critical
Publication of JP3687330B2 publication Critical patent/JP3687330B2/ja
Anticipated expiration legal-status Critical
Expired - Fee Related legal-status Critical Current

Links

Images

Landscapes

  • Percussive Tools And Related Accessories (AREA)

Description

【0001】
【発明の属する技術分野】
本発明は、内部圧力調整機構部を有する電気ハンマ等の打撃工具に関するものである。
【0002】
【従来の技術】
打撃工具は、モータの回転力を打撃力に変換する往復動変換機構部を具備しており、コンクリート等の被加工物に先端工具を押し付けることにより先端工具が中間子側に移動し、上記往復動変換機構部によりシリンダ内を空気室を介して往復動する打撃子により打撃される中間子が先端工具の端部に衝突することで、上記先端工具に打撃力を与えている。上記中間子は、リテーナスリーブ内にシール材を介して軸方向移動可能に保持されており、更に中間子が先端工具に衝突して反先端工具側に移動する場合に生じる打撃工具本体への衝撃を緩和するため、実公平4−13108号公報に記載されているようなダンパ及びダンパワッシャをリテーナスリーブの後端部に設けている。
【0003】
なお、上記シール材により打撃機構部内の空気や潤滑油は密封されている。
【0004】
【発明が解決しようとする課題】
上記打撃工具を使用し作業を行うと中間子を打撃するために往復動する打撃子周辺が高温になる。その後、作業を中断し打撃工具を放置しておくと高温だった打撃子周辺の温度も常温まで下がり、それに伴って打撃機構部内の圧力も低下する。しかし、上記打撃工具の使用時には、打撃機構部内の温度が上昇すると共に、打撃子の往復動により打撃子及び中間子間の空気が圧縮されるため、結果的に打撃機構部内の空気がかなりの高圧になって打撃子により先端工具側に空気の漏洩が起きる。通常、打撃機構部内の空気が打撃機構部外に流出しないように中間子及びリテーナスリーブ間にシール材を配しているが、シール材の密閉力には限界があり、この限界を超えて打撃機構部内の空気が先端工具側に流出してしまうため、作業を終了し、温度が通常の状態に戻ると打撃機構部内の圧力は、打撃工具の使用前に比して負圧になってしまう。
【0005】
なお、このようにして作業終了後の打撃機構部内は、外気圧に比較して負圧になるが、この負圧の状態は上記したシール材の密閉力により保たれてしまい、通常、この打撃機構部内に空気は流入しない。よって、上記打撃工具を再度使用する場合には、打撃機構部内の圧縮力が低下しているため、打撃子の往復動による振幅が小さくなってしまい、打撃点における打撃子の速度が小さく且つはね返り速度も小さくなるので、打撃子の振幅エネルギが増幅されず、結果的に圧力低下により打撃力が低下してしまうという問題を有していた。また、打撃子が打撃点に到達する前に戻ってしまう場合には、打撃動作を全く行えない状態に陥ってしまうという問題を有していた。
【0006】
本発明の目的は、上記問題を解消し、安定した打撃力を得ることのできる打撃工具を提供することである。
【0007】
【課題を解決するための手段】
上記目的は、先端工具と、先端工具に打撃力を伝達し且つ軸方向に所定量移動可能な中間子と、中間子を打撃する打撃子とを備えた打撃工具において、中間子が打撃子側に位置する場合には閉塞し、且つ中間子が先端工具側に位置する場合には、連通する通路を設けることにより達成される。
【0008】
【発明の実施の形態】
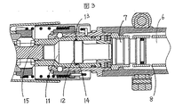
本発明になる内部圧力調整機構部を有する打撃工具を図1〜図3を用いて説明する。図1は本発明になる打撃工具を示す一部縦断側面図、図2は打撃工具の打撃状態を示す一部省略縦断側面図、図3は打撃工具の無負荷状態を示す一部省略縦断側面図である。
【0009】
図1及び図2において、モータ1の駆動力は、クランクシャフト2を介してシリンダケース5に嵌合されたシリンダ4内にて摺動するピストン3の往復動に変換される。先端工具15をコンクリート等の被加工物に押し付けるとシリンダ4内にて摺動する打撃子7が、シリンダ4に設けた呼吸孔8を塞ぐため、シリンダ4と打撃子7及びピストン3の間にほぼ密閉された空気室6が形成される。ピストン3の往復動により空気室6内の空気は圧力変動し、それに伴い打撃子7は、シリンダケース5に固定されたフロントカバ9にスチールボールを介して係合しているリテーナスリーブ10内を先端工具15の軸方向に摺動する中間子11に衝突し、これにより先端工具15に打撃力を与えている。上記中間子11には、径の異なる段部を設けており、本実施例では2つの段部から形成される段差12を中間子11に設けている。また、中間子11を案内するリテーナスリーブ10の内周には、中間子11の外周と密接するシール材13として例えばOリング等が設けられており、これにより打撃機構部内の空気や潤滑油を密封している。ここで、打撃機構部内とは主にシリンダ4内のことである。なお、中間子11の右側にある空間(シール材13と中間子11及び打撃子7の衝突部近傍までの空間)は、シリンダ4の内外と連通しており、且つ中間子11の左側にある空間(シール材13と中間子11及び先端工具15の衝突部近傍までの空間)は、打撃工具本体外の外気と連通している。
【0010】
上記打撃工具を使用し作業を行うと、モータ1や回転軸の軸受部や往復動変換機構部の摺動部及び空気室6内の圧力変化により熱が発生し、打撃工具内の温度が上昇する。とりわけ打撃機構部内の容積が小さい小型の打撃工具においては、打撃機構部内に大きな圧力上昇が生じる。この圧力上昇により打撃機構部内の温度は、約80℃まで上昇すると共に、打撃子7の往復動により打撃子7及び中間子間11の空気が圧縮されるため、結果的に打撃機構部内の空気がかなりの高圧になって打撃子7により先端工具15側に空気の漏洩が起きる。通常、打撃機構部内の空気が打撃機構部外に流出しないように中間子11及びリテーナスリーブ10間にシール材13を配しているが、このシール材13の密閉力には限界があり、この限界を超えて打撃機構部内の空気が先端工具15側に流出してしまうため、作業を終了し、温度が通常の状態に戻ると打撃機構部内の圧力は、打撃工具の使用前に比して負圧になってしまう。しかし、上述したように中間子11に段差12を設けることで、先端工具15及び中間子11が最も前方に移動した状態、即ち図3に示す無負荷状態において中間子11が突当部10aまで移動し且つ打撃子7が往復動しない状態にある場合にのみ、中間子11とシール材13との間に打撃機構部内と外部とを連通する通路、即ち打撃機構部内の圧力を調整可能な程度の隙間14が生じる。従って、圧力上昇により打撃機構部内から外部へ流出した空気分、外部から隙間14を通って打撃機構部内に空気が流入するため、結果的に打撃機構部内の圧力は大気圧と等しくなる。
【0011】
以上のことから、本実施例における打撃工具は、圧力低下により中間子11の打撃力が低下してしまうことや打撃子が打撃点に到達する前に戻ってしまい打撃動作を全く行えない状態に陥ってしまうことなく、常に安定した打撃力を得ることができると共に、簡便な構成で打撃機構部内の圧力を調整することができる。
【0012】
更に、打撃作業の途中に被加工物から打撃工具を持ち上げ先端工具15を離すことで被加工物側に移動する中間子11は、やがてリテーナスリーブ10の突当部10aに衝突し打撃子4側に跳ね返るが、中間子11の摺動部に設けた段差12にシール材13が噛み込むよう作用するため、中間子11の跳ね返りを抑制することができるため、先端工具15に不必要な打撃を与えてしまう現象、即ち空打ちを抑制することができる。
【0013】
【発明の効果】
本発明によれば、中間子が打撃子側に位置する場合には閉塞し、且つ中間子が先端工具側に位置する場合には、連通する通路を設けることで、常に安定した打撃力の得られる打撃工具を提供することができる。
【図面の簡単な説明】
【図1】 本発明になる打撃工具を示す一部縦断側面図。
【図2】 本発明になる打撃工具の打撃状態を示す一部省略縦断側面図。
【図3】 本発明になる打撃工具の無負荷状態を示す一部省略縦断側面図。
【符号の説明】
1はモータ、2はクランクシャフト、3はピストン、4はシリンダ、5はシリンダケース、6は空気室、7は打撃子、8は呼吸孔、9はフロントカバ、10はリテーナスリーブ、11は中間子、12は段差、13はシール材、14は隙間、15は先端工具である。

Claims (1)

  1. 先端工具と、該先端工具に打撃力を伝達し且つ軸方向に所定量移動可能な中間子と、該中間子を案内するリテーナスリーブと、シリンダ内を摺動し、該中間子を打撃する打撃子とを備えた打撃工具において、前記中間子に径の異なる段部を設けると共に、前記リテーナスリーブに前記中間子外周と密接可能なシール材を設け、前記中間子が前記打撃子側に位置する場合には前記シール材が前記中間子外周に密接し、前記中間子が前記先端工具側に位置する場合には前記シール材と前記中間子外周とは密接せず、前記打撃工具本体外の外気と前記シリンダ内が連通されることを特徴とする打撃工具。
JP05338298A 1998-03-05 1998-03-05 打撃工具 Expired - Fee Related JP3687330B2 (ja)

Priority Applications (1)

Application Number Priority Date Filing Date Title
JP05338298A JP3687330B2 (ja) 1998-03-05 1998-03-05 打撃工具

Applications Claiming Priority (1)

Application Number Priority Date Filing Date Title
JP05338298A JP3687330B2 (ja) 1998-03-05 1998-03-05 打撃工具

Publications (2)

Publication Number Publication Date
JPH11254349A JPH11254349A (ja) 1999-09-21
JP3687330B2 true JP3687330B2 (ja) 2005-08-24

Family

ID=12941281

Family Applications (1)

Application Number Title Priority Date Filing Date
JP05338298A Expired - Fee Related JP3687330B2 (ja) 1998-03-05 1998-03-05 打撃工具

Country Status (1)

Country Link
JP (1) JP3687330B2 (ja)

Families Citing this family (1)

* Cited by examiner, † Cited by third party
Publication number Priority date Publication date Assignee Title
JP5630309B2 (ja) * 2011-02-14 2014-11-26 日立工機株式会社 打撃工具

Also Published As

Publication number Publication date
JPH11254349A (ja) 1999-09-21

Similar Documents

Publication Publication Date Title
US8485274B2 (en) Impact tool
US20120024555A1 (en) Impact tool
US6431290B1 (en) Electric hand tool device with idle strike cutoff
JP2008279586A (ja) 打撃工具
JPH03294187A (ja) 打撃工具
JP4862124B2 (ja) 壁薄な駆動ピストンを有する空気力式のインパクト機構
JP4340081B2 (ja) 空気式打撃装置
JPH03208574A (ja) ハンマ機械用衝撃モータ
JP3687330B2 (ja) 打撃工具
JPS5949149B2 (ja) 緩衡装置
JP2005510372A (ja) 空圧式打撃機構を備えた手持ち式工作機械
JPH04217472A (ja) 衝撃装置
JP3271970B2 (ja) 手持ち式ハンマ機械
GB2084917A (en) Improvements in or relating to percussive tools
JP4269628B2 (ja) ハンマドリル
JPS5842352B2 (ja) ハンマ−キコウニクミコマレル ハンマ−ピストンノウンドウオゲンスイスルタメノ ホウホウオヨビハンマ−キコウ
CN212706596U (zh) 一种锤击结构及锤击工具
JPH0141575Y2 (ja)
JP2510186Y2 (ja) 打撃工具の中間打撃子
JP4259082B2 (ja) 打撃工具
JP2003025250A (ja) 衝撃工具
JPH0422938Y2 (ja)
CN215786471U (zh) 一种自排气式空气锤装置
JP4016603B2 (ja) 衝撃工具
JP2549587Y2 (ja) 打撃工具

Legal Events

Date Code Title Description
A131 Notification of reasons for refusal

Free format text: JAPANESE INTERMEDIATE CODE: A131

Effective date: 20050125

A521 Written amendment

Free format text: JAPANESE INTERMEDIATE CODE: A523

Effective date: 20050325

TRDD Decision of grant or rejection written
A01 Written decision to grant a patent or to grant a registration (utility model)

Free format text: JAPANESE INTERMEDIATE CODE: A01

Effective date: 20050517

A61 First payment of annual fees (during grant procedure)

Free format text: JAPANESE INTERMEDIATE CODE: A61

Effective date: 20050530

R150 Certificate of patent or registration of utility model

Free format text: JAPANESE INTERMEDIATE CODE: R150

FPAY Renewal fee payment (event date is renewal date of database)

Free format text: PAYMENT UNTIL: 20080617

Year of fee payment: 3

FPAY Renewal fee payment (event date is renewal date of database)

Free format text: PAYMENT UNTIL: 20090617

Year of fee payment: 4

FPAY Renewal fee payment (event date is renewal date of database)

Free format text: PAYMENT UNTIL: 20100617

Year of fee payment: 5

FPAY Renewal fee payment (event date is renewal date of database)

Free format text: PAYMENT UNTIL: 20100617

Year of fee payment: 5

FPAY Renewal fee payment (event date is renewal date of database)

Free format text: PAYMENT UNTIL: 20110617

Year of fee payment: 6

FPAY Renewal fee payment (event date is renewal date of database)

Free format text: PAYMENT UNTIL: 20110617

Year of fee payment: 6

FPAY Renewal fee payment (event date is renewal date of database)

Free format text: PAYMENT UNTIL: 20120617

Year of fee payment: 7

FPAY Renewal fee payment (event date is renewal date of database)

Free format text: PAYMENT UNTIL: 20130617

Year of fee payment: 8

FPAY Renewal fee payment (event date is renewal date of database)

Free format text: PAYMENT UNTIL: 20140617

Year of fee payment: 9

LAPS Cancellation because of no payment of annual fees