JP3676680B2 - プラズマ装置及びプラズマ生成方法 - Google Patents

プラズマ装置及びプラズマ生成方法 Download PDF

Info

Publication number
JP3676680B2
JP3676680B2 JP2001010107A JP2001010107A JP3676680B2 JP 3676680 B2 JP3676680 B2 JP 3676680B2 JP 2001010107 A JP2001010107 A JP 2001010107A JP 2001010107 A JP2001010107 A JP 2001010107A JP 3676680 B2 JP3676680 B2 JP 3676680B2
Authority
JP
Japan
Prior art keywords
plasma
slot
electromagnetic field
radiation
intermediate region
Prior art date
Legal status (The legal status is an assumption and is not a legal conclusion. Google has not performed a legal analysis and makes no representation as to the accuracy of the status listed.)
Expired - Fee Related
Application number
JP2001010107A
Other languages
English (en)
Other versions
JP2002217187A (ja
Inventor
信雄 石井
真 安藤
Current Assignee (The listed assignees may be inaccurate. Google has not performed a legal analysis and makes no representation or warranty as to the accuracy of the list.)
Tokyo Electron Ltd
Original Assignee
Tokyo Electron Ltd
Priority date (The priority date is an assumption and is not a legal conclusion. Google has not performed a legal analysis and makes no representation as to the accuracy of the date listed.)
Filing date
Publication date
Application filed by Tokyo Electron Ltd filed Critical Tokyo Electron Ltd
Priority to JP2001010107A priority Critical patent/JP3676680B2/ja
Priority to US10/466,281 priority patent/US6967622B2/en
Priority to CN02803497.XA priority patent/CN1226777C/zh
Priority to PCT/JP2002/000294 priority patent/WO2002058123A1/ja
Publication of JP2002217187A publication Critical patent/JP2002217187A/ja
Application granted granted Critical
Publication of JP3676680B2 publication Critical patent/JP3676680B2/ja
Anticipated expiration legal-status Critical
Expired - Fee Related legal-status Critical Current

Links

Images

Classifications

    • HELECTRICITY
    • H01ELECTRIC ELEMENTS
    • H01JELECTRIC DISCHARGE TUBES OR DISCHARGE LAMPS
    • H01J37/00Discharge tubes with provision for introducing objects or material to be exposed to the discharge, e.g. for the purpose of examination or processing thereof
    • H01J37/32Gas-filled discharge tubes
    • H01J37/32009Arrangements for generation of plasma specially adapted for examination or treatment of objects, e.g. plasma sources
    • H01J37/32192Microwave generated discharge
    • H01J37/32211Means for coupling power to the plasma
    • H01J37/3222Antennas
    • HELECTRICITY
    • H01ELECTRIC ELEMENTS
    • H01JELECTRIC DISCHARGE TUBES OR DISCHARGE LAMPS
    • H01J37/00Discharge tubes with provision for introducing objects or material to be exposed to the discharge, e.g. for the purpose of examination or processing thereof
    • H01J37/32Gas-filled discharge tubes
    • H01J37/32009Arrangements for generation of plasma specially adapted for examination or treatment of objects, e.g. plasma sources
    • H01J37/32192Microwave generated discharge
    • HELECTRICITY
    • H05ELECTRIC TECHNIQUES NOT OTHERWISE PROVIDED FOR
    • H05HPLASMA TECHNIQUE; PRODUCTION OF ACCELERATED ELECTRICALLY-CHARGED PARTICLES OR OF NEUTRONS; PRODUCTION OR ACCELERATION OF NEUTRAL MOLECULAR OR ATOMIC BEAMS
    • H05H1/00Generating plasma; Handling plasma
    • H05H1/24Generating plasma
    • H05H1/46Generating plasma using applied electromagnetic fields, e.g. high frequency or microwave energy

Landscapes

  • Physics & Mathematics (AREA)
  • Engineering & Computer Science (AREA)
  • Plasma & Fusion (AREA)
  • Chemical & Material Sciences (AREA)
  • Analytical Chemistry (AREA)
  • Electromagnetism (AREA)
  • Spectroscopy & Molecular Physics (AREA)
  • Plasma Technology (AREA)
  • Drying Of Semiconductors (AREA)
  • Physical Or Chemical Processes And Apparatus (AREA)
  • Chemical Vapour Deposition (AREA)

Description

【0001】
【発明の属する技術分野】
本発明は、スロットアンテナを用いて容器内に供給した電磁界によりプラズマを生成するプラズマ装置及びプラズマ生成方法に関する。
【0002】
【従来の技術】
半導体装置やフラットパネルディスプレイの製造において、酸化膜の形成や半導体層の結晶成長、エッチング、またアッシングなどの処理を行うために、プラズマ装置が多用されている。これらのプラズマ装置の中に、スロットアンテナを用いて処理容器内に高周波電磁界を供給し、その電磁界により高密度プラズマを発生させる高周波プラズマ装置がある。この高周波プラズマ装置は、プラズマガスの圧力が比較的低くても安定してプラズマを生成することができるので、用途が広いという特色がある。
【0003】
図7は、従来の高周波プラズマ装置の一構成例を示す図である。この図では、一部構成について縦断面構造が示されている。
このプラズマ装置は、上部が開口している有底円筒形の処理容器111を有している。この処理容器111の底部には基板台122が固定され、この基板台122の載置面に被処理体である基板121が配置される。処理容器111の側壁には、プラズマガス供給用のノズル117が設けられ、処理容器111の底部には、真空排気用の排気口116が設けられている。処理容器111の上部開口は、そこからプラズマが外部に漏れないように、誘電体板113で塞がれている。
【0004】
この誘電体板113の上に、スロットアンテナの一種であるラジアルアンテナ130が配置されている。このラジアルアンテナ130は、ラジアル導波路133を形成する互いに平行な2枚の円形導体板131,132と、これらの導体板131,132の外周部を接続する導体リング134とから構成されている。ラジアル導波路133の上面となる導体板132の中心部には、高周波発生器144から円偏波変換器142を介して供給される電磁界Fをラジアル導波路133内に導入する導入口135が形成されている。また、ラジアル導波路133の下面となる導体板131には、ラジアル導波路133内を伝搬する電磁界Fを誘電体板113を介して処理容器111内に供給するスロット136が、図8(a)に示すように周方向に複数形成されている。この導体板131がラジアルアンテナ130の放射面となる。さらに、ラジアルアンテナ130及び誘電体板113の外周は環状のシールド材112によって覆われ、電磁界Fが外部に漏れない構造になっている。
【0005】
高周波発生器144からラジアルアンテナ130に導入された電磁界Fは、ラジアル導波路133の中心部から周縁部に向かって放射状に伝搬しながら、複数のスロット136から少しずつ放射されてゆく。このため、ラジアル導波路133内の電力密度は、中心部から周縁部にゆくほど徐々に低下してゆく。一方、スロット136の放射係数は、スロット136の長さL2が0(ゼロ)から長くなるにしたがって徐々に大きくなり、L2がラジアル導波路133内における電磁界Fの波長λg の1/2の長さのときに極大となる。このため、従来は、ラジアルアンテナ130の放射量が放射面全域で均一になるように、スロット136の長さL2の上限がλg/2の場合、L2を図8(b)に示すように放射面の中心部Oから周縁部に向かって徐々に長くしていた。
【0006】
【発明が解決しようとする課題】
しかし、このようにスロット136の長さL2が設計されたラジアルアンテナ130を用いてプラズマを生成すると、基板台122の載置面に平行な面内におけるプラズマ分布は図9に示すように均一にはならず、周縁部付近で高密度のプラズマが発生してしまう。このような不均一なプラズマで処理を行うと、プラズマが高密度となっている下の領域ほど基板121に対する処理が速く進行し、処理量にばらつきが発生する。
本発明はこのような課題を解決するためになされたものであり、その目的は、プラズマ分布の面内均一性を改善することにある。
【0007】
【課題を解決するための手段】
このような目的を達成するために、本発明のプラズマ装置では、プラズマが生成される容器内に電磁界を供給するスロットアンテナは、放射面の中心部、周縁部、中心部と周縁部との間の中間領域において、中心部から中間領域まで単位面積あたりの電磁界の放射量がほぼ均一であり、中間領域から周縁部へ向かって単位面積あたりの電磁界の放射量が単調減少するようにスロットが形成されていることを特徴とする。これにより、容器内の周縁部付近におけるプラズマ生成が抑制される。
具体的には、スロットアンテナの各スロットの長さは、放射面の中心部から中間領域に向かって単調増加し中間領域から周縁部に向かって単調減少していてもよい。
また、スロットアンテナは、放射面における単位面積あたりのスロット数が放射面の中心部から中間領域に向かって単調増加し中間領域から周縁部に向かって単調減少していてもよい。
【0008】
また、本発明のプラズマ装置では、プラズマが生成される容器内に電磁界を供給するスロットアンテナは、放射面の周縁部における単位面積あたりの電磁界の放射量が放射面の中心部と周縁部との間の中間領域における単位面積あたりの電磁界の放射量よりも小さくなるようにスロットが形成され、スロットのそれぞれの長さが放射面の中心部から中間領域に向かって単調増加し中間領域から周縁部に向かって単調減少していることを特徴とする
また、本発明のプラズマ装置では、プラズマが生成される容器内に電磁界を供給するスロットアンテナは、放射面の周縁部における単位面積あたりの電磁界の放射量が放射面の中心部と周縁部との間の中間領域における単位面積あたりの電磁界の放射量よりも小さくなるようにスロットが形成され、放射面における単位面積あたりのスロット数が放射面の中心部から中間領域に向かって単調増加し中間領域から周縁部に向かって単調減少してることを特徴とする
【0009】
また、本発明のプラズマ生成方法は、スロットアンテナの放射面の中心部、周縁部、中心部と周縁部との間の中間領域において、中心部から中間領域まで単位面積あたりの電磁界の放射量をほぼ均一とし、中間領域から周縁部へ向かって単位面積あたりの電磁界の放射量を単調減少させ、このスロットアンテナからの電磁界を容器内に供給しプラズマを生成することを特徴とする。これにより、容器内の周縁部付近におけるプラズマ生成が抑制される。
【0010】
体的には、スロットアンテナの各スロットの長さが放射面の中心部から中間領域に向かって単調増加し中間領域から周縁部に向かって単調減少するように各スロットを形成することにより、上述した放射量分布を実現してもよい。
また、スロットアンテナの放射面における単位面積あたりのスロット数が放射面の中心部から中間領域に向かって単調増加し中間領域から周縁部に向かって単調減少するように各スロットを形成することにより、上述した放射量分布を実現してもよい。
【0011】
【発明の実施の形態】
以下、図面を参照して、本発明の実施の形態を詳細に説明する。
(第1の実施の形態)
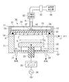
図1は、本発明のプラズマ装置の第1の実施の形態の構成図である。この図では、一部構成について縦断面構造が示されている。
このプラズマ装置は、上部が開口している有底円筒形の処理容器11を有している。この処理容器11は、アルミニウムなどの導体で形成されている。処理容器11の上部開口には、厚さ20〜30mm程度の石英ガラス又はセラミック(Al23 ,AlNなど)などからなる誘電体板13が配置されている。処理容器11と誘電体板13との接合部にはOリングなどのシール部材14を介在させており、これにより処理容器11内部の気密性を確保している。
【0012】
処理容器11の底部には、セラミックなどからなる絶縁板15が設けられている。また、この絶縁板15及び処理容器11底部を貫通する排気口16が設けられており、この排気口16に連通する真空ポンプ(図示せず)により、処理容器11内を所望の真空度にすることができる。また、処理容器11の側壁には、処理容器11内にArなどのプラズマガスやCF4 などのプロセスガスを導入するためのノズル17が設けられている。このノズル17は石英パイプなどで形成されている。
【0013】
処理容器11内には、被処理体である基板21が載置面上に配置される円柱状の基板台22が収容されている。この基板台22は、処理容器11の底部を遊貫する昇降軸23によって支持されており、上下動自在となっている。また、基板台22には、マッチングボックス25を介してバイアス用の高周波電源26が接続されている。この高周波電源26の出力周波数は数百kHz〜十数MHzの範囲内の所定周波数とする。なお、処理容器11内の気密性を確保するため、基板台22と絶縁板15との間に、昇降軸23を囲むようにベローズ24が設けられている。
【0014】
また、誘電体板13の上に、スロットアンテナの一種であるラジアルアンテナ30が配置されている。このラジアルアンテナ30は、誘電体板13によって処理容器11から隔離されており、処理容器11内で生成されるプラズマから保護されている。ラジアルアンテナ30及び誘電体板13の外周は、処理容器11の側壁上に環状に配置されたシールド材12によって覆われ、電磁界Fが外部に漏れない構造になっている。
ラジアルアンテナ30の中央部は、円筒導波管41によって高周波発生器44に接続されている。この高周波発生器44は、1GHz〜十数GHzの範囲内の所定周波数の高周波電磁界Fを発生するものである。円筒導波管41の途中には、インピーダンスマッチングを図るためのマッチング回路43と、円筒導波管41を伝搬する電界の主方向を管軸を中心にして回転させる円偏波変換器42が設けられている。
【0015】
次に、ラジアルアンテナ30の構成について更に説明する。
ラジアルアンテナ30は、ラジアル導波路33を形成する互いに平行な2枚の円形導体板31,32と、これらの導体板31,32の外周部を接続してシールドする導体リング34とから構成されている。導体板31,32及び導体リング34は、銅又はアルミニウムなどの導体で形成されている。
ラジアル導波路33の上面となる導体板32の中心部には、ラジアル導波路33内に電磁界Fを導入する導入口35が形成され、この導入口35に円筒導波管41が接続されている。
【0016】
ラジアル導波路33の内部において、導体板31の中心部には、導入口35に向かって突出する円錐部材37が設けられている。この円錐部材37も導体板31,32等と同じ導体で形成されている。この円錐部材37により、円筒導波管41を伝搬してきた電磁界Fをラジアル導波路33内へ良好に導波することができる。
ラジアル導波路33の下面となる導体板31には、ラジアル導波路33内を伝搬する電磁界Fを処理容器11内に供給するスロット36が複数形成されている。この導体板31がラジアルアンテナ30の放射面を構成する。
【0017】
図2は、ラジアルアンテナ30の説明図である。この図において、(a)は放射面の一構成例を示す平面図、(b)はスロット36の長さの分布を示す図、(c)は電磁界Fの放射量の分布を示す図である。なお、図2(b)において、横軸は放射面をなす導体板31の中心Oから径方向の距離であり、縦軸はスロット36の長さL1である。また、図2(c)において、横軸は同じく導体板31の中心Oから径方向の距離であり、縦軸は放射面における単位面積あたりの電磁界Fの放射量である。また、図3は、スロット36の形状の例を示す図である。
【0018】
スロット36は、例えば図2(a)に示すように、同心円に沿う方向(周方向)に形成される。なお、中心から周縁部に向かう螺旋に沿う方向に形成されてもよいし、径方向に形成されてもよい。
スロット36の形状は、図3(a)に示すような矩形状でも、図3(c)に示すような円弧状でもよい。また、図3(a),(c)に示すスロット36の4つの角を、図3(b),(d)に示すように丸めてもよい。
スロット36の幅W1は、ラジアル導波路33内の電磁界Fへの影響などを考慮して、2mm程度とするとよい。
【0019】
スロット36の長さL1は、放射面における単位面積あたりの電磁界Fの放射量(以下、単に放射量という場合がある)が図2(c)に示すような分布をもつように設計される。すなわち、導体板31の中心部をA、周縁部のB、それらの間の所定の領域(以下、中間領域という)をCで表すと、中心部Aから中間領域Cまでの領域における放射量がほぼ均一となり、中間領域Cから周縁部Bへ向かって放射量が単調減少するように、スロット36の長さL1が設計される。なお、放射特性の変化点となる中間領域Cの位置は、プロセス条件などに応じて適切な位置が選ばれる。
【0020】
スロット36の放射量は、そのスロット36上部のラジアル導波路33内の電力密度と、そのスロット36の放射係数との積によって決まる。ラジアル導波路33内の電力密度は、中心部から周縁部にゆくほど徐々に低下してゆく。また、スロット36の放射係数は、スロット36の長さL1が0(ゼロ)から長くなるにしたがって徐々に大きくなり、L1がラジアル導波路33内における電磁界Fの波長λg の1/2の長さのときに極大となる。したがって、L1の上限がλg/2の場合、図2(b)に示すように、スロット36の長さL1が導体板31の中心部Aから中間領域Cに向かって単調増加し、中間領域Cから周縁部Bに向かって単調減少するように形成することにより、図2(c)に示したような放射量の面内分布が得られる。
【0021】
なお、スロット36の長さL1を例えばλg/2≦L1≦3/4×λgの範囲で形成する場合には、逆に、スロット36の長さL1が導体板31の中心部Aから中間領域Cに向かって単調減少し、中間領域Cから周縁部Bに向かって単調増加するように形成することにより、図2(c)に示したような放射量の面内分布が得られる。
スロット36の幅方向における隣接スロット間の間隔をλg 程度として、ラジアルアンテナ30を放射型のアンテナとしてもよいし、上記間隔をλg/20〜λg/30として、リーク型のアンテナとしてもよい。
【0022】
次に、図1に示したプラズマ装置の動作を説明する。
基板21を基板台22の載置面に置いた状態で、処理容器11内を例えば0.01〜10Pa程度の真空度にする。この真空度を維持しつつ、ノズル17からプラズマガスとしてArを、またプロセスガスとしてCF4 を供給する。この状態で、高周波発生器44からの電磁界Fを円偏波変換器42で円偏波に変換して、ラジアルアンテナ30に供給する。
【0023】
ラジアルアンテナ30に導入された電磁界Fは、ラジアル導波路33の中心部から周縁部に向かって放射状に伝搬しながら、複数のスロット36から少しずつ放射されてゆく。そして、スロット36から放射されずに導体リング34に至った電磁界Fはそこで反射され、再度中心部に向かうことになる。以後、電磁界Fはラジアル導波路33を往復伝搬しながら、複数のスロット36から徐々に放射されてゆく。ただし、放射面の周縁部付近の放射量は、他の領域よりも相対的に小さくなっている。
【0024】
ラジアルアンテナ30から放射された電磁界Fは、誘電体板13を透過し、処理容器11内に導入される。そして、この電磁界Fの作用により処理容器11内のArが電離すると共にCF4 が解離し、基板21の上部空間Sにプラズマが生成される。このプラズマは、基板台22に印加されたバイアス電圧によってエネルギーや異方性がコントロールされ、基板21上に付着したラジカルCFx (x=1,2,3)と共にプラズマ処理に利用される。
【0025】
次に、図1に示したプラズマ装置についての実験結果を示す。実験は、スロットパターンが異なる4種類のラジアルアンテナ▲1▼〜▲4▼を用いてプラズマを生成し、それぞれのイオン飽和電流Iioの分布を計測した。イオン飽和電流Iioは次式に示すようにプラズマ密度Ni に比例するので、イオン飽和電流Iioの分布を調べることにより、プラズマ分布を知ることができる。
io=0.6・Ni・exp[(KTe/mi)1/2]・S
e:電子温度,mi:イオン質量,S:プローブ表面積
【0026】
図4は、実験に用いたラジアルアンテナ▲1▼〜▲4▼のスロットの長さLの分布を示す図である。横軸は放射面の中心から径方向の距離[cm]であり、縦軸はスロットの長さL[cm]である。なお、ラジアルアンテナ▲1▼〜▲4▼の放射面の半径は27cmである。図5は、実験結果を示す図である。横軸は処理容器内において基板台の載置面に平行な面の中心から径方向の距離[cm]であり、縦軸はイオン飽和電流Iioの電流密度[mA/cm2]である。
【0027】
まず、スロットの長さLが放射面の中心部から周縁部に向かって徐々に長くなるラジアルアンテナ▲1▼について実験を行なった。このラジアルアンテナ▲1▼は、図8に示した従来のラジアルアンテナ130に相当する。処理容器内の圧力を4Paにした状態で、ラジアルアンテナ▲1▼を用いて処理容器内に2.45GHz,2kWの電磁界を供給してプラズマを生成し、イオン飽和電流Iioの計測したところ、図5の▲1▼で示すような分布が得られた。これより、基板台の載置面に平行な面の周縁部付近に、高密度のプラズマが発生していることが分かる。
【0028】
次に、スロットの長さLが放射面の中心部から周縁部に向かって一旦長くなったあと再度短くなるラジアルアンテナ▲2▼について実験を行なった。このラジアルアンテナ▲2▼は、図2に示したラジアルアンテナ30に相当する。ラジアルアンテナ▲2▼を用いて同様の計測を行ったところ、図5の▲2▼で示すように、▲1▼よりも均一な分布が得られた。ラジアルアンテナ▲2▼では、放射面の中間領域(この場合、中心から12.5cmの位置)から周縁部に向かってスロットの長さLを徐々に短くすることにより、ラジアルアンテナ▲1▼を用いたときに高密度のプラズマが発生した領域への電力供給が減少し、この領域でのプラズマ生成が抑制されたため、プラズマ分布が均一化されたと考えられる。
【0029】
なお、スロットの長さLが一様であるラジアルアンテナ▲3▼と、スロットの長さLが放射面の中心部から周縁部に向かって徐々に短くなるラジアルアンテナ▲4▼についても同様の実験を行なったが、その結果は図5の▲3▼と▲4▼で示すように周縁部にゆくほどプラズマ密度が低下し、均一な分布が得られなかった。
以上の実験結果により、図2に示したスロットパターンをもつラジアルアンテナ30を用いてプラズマを生成することにより、プラズマ分布の面内均一性を改善できるといえる。このようなプラズマを用いることにより、基板21表面の全域で従来よりも均一なプラズマ処理を行うことができる。
【0030】
(第2の実施の形態)
図6は、本発明のプラズマ装置の第2の実施の形態で使用されるラジアルアンテナの説明図である。この図において、(a)は放射面の一構成例を示す平面図、(b)はスロット36の数の分布を示す図、(c)は電磁界Fの放射量の分布を示す図である。なお、図6(b)において、横軸は放射面をなす導体板31の中心Oから径方向の距離であり、縦軸は放射面における単位面積あたりのスロット36の数である。また、図6(c)において、横軸は同じく導体板31の中心Oから径方向の距離であり、縦軸は放射面における単位面積あたりの電磁界Fの放射量である。
【0031】
図6(a)に示すラジアルアンテナ30Aでは、放射面における単位面積あたりの電磁界Fの放射量が図6(c)に示すような分布をもつように、放射面における単位面積あたりのスロット36の数が設計される。例えばスロット36の長さL1がすべて同じ場合には、図6(b)に示すように、周方向に配列されるスロット36の数が導体板31の中心部Aから中間領域Cに向かって単調増加し、中間領域Cから周縁部Bに向かって単調減少するようにスロット36を形成することにより、図6(c)に示したような放射量の面内分布が得られる。放射特性の変化点となる中間領域Cの位置が、プロセス条件などに応じて決定されることは、図2に示したラジアルアンテナ30と同様である。
このように、スロット36の数の分布で放射量を調整しても、スロット36の長さL1で調整した場合と同様に、プラズマ分布の面内均一性を改善することができる。
【0032】
以上ではスロットアンテナの一例としてラジアルアンテナを用いて説明してきたが、これに限ることはなく、他のスロットアンテナ、例えばキャビティーアンテナを用いても同様の効果を得られる。このキャビティーアンテナとは、高周波発生器から供給された電磁界を所定のモードで共振させる空洞共振器を有し、この空洞共振器の下面に電磁界を放射するためのスロットが複数形成されたアンテナである。なお、キャビティーアンテナでは、空洞共振器の上面中心部に電磁界導入口を設ける必要はない。
また、本発明のプラズマ装置は、ECR(electron cyclotron resonance)プラズマ装置にも適用することができる。また、本発明のプラズマ装置は、エッチング装置、プラズマCVD装置などに利用することができる。
【0033】
【発明の効果】
以上説明したように、本発明では、スロットアンテナの放射面の周縁部における単位面積あたりの電磁界の放射量を、上記放射面の中間領域における単位面積あたりの電磁界の放射量よりも小さくすることにより、容器内の周縁部付近でのプラズマ生成が抑制されるので、プラズマ分布の面内均一性を改善することができる。
【図面の簡単な説明】
【図1】 本発明のプラズマ装置の第1の実施の形態の構成図である。
【図2】 図1に示したラジアルアンテナの説明図である。
【図3】 スロットの形状の例を示す図である。
【図4】 実験に用いたラジアルアンテナのスロットの長さの分布を示す図である。
【図5】 実験結果を示す図である。
【図6】 本発明のプラズマ装置の第2の実施の形態で使用されるラジアルアンテナの説明図である。
【図7】 従来のプラズマ装置の一構成例を示す図である。
【図8】 従来のプラズマ装置で使用されるラジアルアンテナの説明図である。
【図9】 図7に示した従来のプラズマ装置によって生成されたプラズマの分布を示す概念図である。
【符号の説明】
11…処理容器、13…誘電体板、16…排気口、17…ノズル、21…基板、22…基板台、30,30A…ラジアルアンテナ、31,32…導体板、33…ラジアル導波路、34…導体リング、35…電磁界導入口、36…スロット、37…円錐部材、41…円筒導波管、42…円偏波変換器、44…高周波発生器、A…中心部、B…周縁部、C…中間領域、F…電磁界、L1…スロットの長さ。

Claims (8)

  1. 放射面にスロットが複数形成されたスロットアンテナを用いて容器内に電磁界を供給しプラズマを生成するプラズマ装置において、
    前記スロットアンテナは、前記放射面の中心部、周縁部、中心部と周縁部との間の中間領域において、中心部から中間領域まで単位面積あたりの電磁界の放射量がほぼ均一であり、中間領域から周縁部へ向かって単位面積あたりの電磁界の放射量が単調減少するように前記スロットが形成されていることを特徴とするプラズマ装置。
  2. 請求項1記載のプラズマ装置において、
    前記スロットアンテナの各スロットの長さは、前記放射面の中心部から中間領域に向かって単調増加し中間領域から周縁部に向かって単調減少ていることを特徴とするプラズマ装置。
  3. 請求項1記載のプラズマ装置において、
    前記スロットアンテナは、前記放射面における単位面積あたりのスロット数が前記放射面の中心部から中間領域に向かって単調増加し中間領域から周縁部に向かって単調減少していることを特徴とするプラズマ装置。
  4. 放射面にスロットが複数形成されたスロットアンテナを用いて容器内に電磁界を供給しプラズマを生成するプラズマ装置において、
    前記スロットアンテナは、前記放射面の周縁部における単位面積あたりの電磁界の放射量が前記放射面の中心部と周縁部との間の中間領域における単位面積あたりの電磁界の放射量よりも小さくなるように前記スロットが形成され、前記スロットのそれぞれの長さが前記放射面の中心部から中間領域に向かって単調増加し中間領域から周縁部に向かって単調減少していることを特徴とするプラズマ装置。
  5. 放射面にスロットが複数形成されたスロットアンテナを用いて容器内に電磁界を供給しプラズマを生成するプラズマ装置において、
    前記スロットアンテナは、前記放射面の周縁部における単位面積あたりの電磁界の放射量前記放射面の中心部と周縁部との間の中間領域における単位面積あたりの電磁界の放射量よりも小さくなるように前記スロットが形成され、前記放射面における単位面積あたりのスロット数が前記放射面の中心部から中間領域に向かって単調増加し中間領域から周縁部に向かって単調減少していることを特徴とするプラズマ装置
  6. スロットアンテナを用いて容器内に電磁界を供給しプラズマを生成するプラズマ生成方法において、
    前記スロットアンテナの放射面の中心部、周縁部、中心部と周縁部との間の中間領域において、中心部から中間領域まで単位面積あたりの電磁界の放射量をほぼ均一とし、中間領域から周縁部へ向かって単位面積あたりの電磁界の放射量を単調減少させることを特徴とするプラズマ方法。
  7. 請求項6記載のプラズマ生成方法において、
    前記スロットアンテナの各スロットの長さが前記放射面の中心部から中間領域に向かって単調増加し中間領域から周縁部に向かって単調減少するように各スロットを形成することを特徴とするプラズマ生成方法。
  8. 請求項6記載のプラズマ生成方法において、
    前記スロットアンテナの放射面における単位面積あたりのスロット数が前記放射面の中心部から中間領域に向かって単調増加し中間領域から周縁部に向かって単調減少するように各スロットを形成することを特徴とするプラズマ生成方法。
JP2001010107A 2001-01-18 2001-01-18 プラズマ装置及びプラズマ生成方法 Expired - Fee Related JP3676680B2 (ja)

Priority Applications (4)

Application Number Priority Date Filing Date Title
JP2001010107A JP3676680B2 (ja) 2001-01-18 2001-01-18 プラズマ装置及びプラズマ生成方法
US10/466,281 US6967622B2 (en) 2001-01-18 2002-01-17 Plasma device and plasma generating method
CN02803497.XA CN1226777C (zh) 2001-01-18 2002-01-17 等离子体装置及等离子体生成方法
PCT/JP2002/000294 WO2002058123A1 (en) 2001-01-18 2002-01-17 Plasma device and plasma generating method

Applications Claiming Priority (1)

Application Number Priority Date Filing Date Title
JP2001010107A JP3676680B2 (ja) 2001-01-18 2001-01-18 プラズマ装置及びプラズマ生成方法

Publications (2)

Publication Number Publication Date
JP2002217187A JP2002217187A (ja) 2002-08-02
JP3676680B2 true JP3676680B2 (ja) 2005-07-27

Family

ID=18877486

Family Applications (1)

Application Number Title Priority Date Filing Date
JP2001010107A Expired - Fee Related JP3676680B2 (ja) 2001-01-18 2001-01-18 プラズマ装置及びプラズマ生成方法

Country Status (4)

Country Link
US (1) US6967622B2 (ja)
JP (1) JP3676680B2 (ja)
CN (1) CN1226777C (ja)
WO (1) WO2002058123A1 (ja)

Families Citing this family (8)

* Cited by examiner, † Cited by third party
Publication number Priority date Publication date Assignee Title
KR20040021809A (ko) * 2002-09-04 2004-03-11 삼성전자주식회사 부위별로 단면적이 다른 안테나를 구비한 유도결합플라즈마 발생장치
JP3974553B2 (ja) * 2003-05-07 2007-09-12 東京エレクトロン株式会社 プラズマ処理装置、プラズマ処理装置用アンテナおよびプラズマ処理方法
US7292191B2 (en) * 2004-06-21 2007-11-06 Theodore Anderson Tunable plasma frequency devices
JP5239021B2 (ja) * 2006-03-07 2013-07-17 国立大学法人 琉球大学 プラズマ発生装置及びそれを用いたプラズマ生成方法
KR100744639B1 (ko) * 2006-07-31 2007-08-07 주식회사 월덱스 실리콘 단일재질의 플라즈마 챔버 캐소드 및 아웃링
US7781853B2 (en) * 2007-07-26 2010-08-24 Hewlett-Packard Development Company, L.P. Plasmon-enhanced electromagnetic-radiation-emitting devices and methods for fabricating the same
CZ17940U1 (cs) * 2007-09-13 2007-10-15 Špatenka@Petr Aplikátor mikrovlnného generátoru plazmatu, a mikrovlnný generátor plazmatu zahrnující tento aplikátor
WO2018222256A1 (en) 2017-05-31 2018-12-06 Applied Materials, Inc. Remote plasma oxidation chamber

Family Cites Families (11)

* Cited by examiner, † Cited by third party
Publication number Priority date Publication date Assignee Title
JP3233575B2 (ja) * 1995-05-26 2001-11-26 東京エレクトロン株式会社 プラズマ処理装置
KR970071945A (ko) * 1996-02-20 1997-11-07 가나이 쯔도무 플라즈마처리방법 및 장치
GB9803684D0 (en) * 1998-02-24 1998-04-15 Genevac Ltd Method and apparatus for controlling temperature during evaporation of samples
JP3549739B2 (ja) 1998-08-27 2004-08-04 忠弘 大見 プラズマ処理装置
AUPP635298A0 (en) * 1998-10-06 1998-10-29 Australian National University, The Plasma antenna
GB9900033D0 (en) * 1999-01-04 2000-02-23 Marconi Electronic Syst Ltd Antenna arrangements
JP3430959B2 (ja) 1999-03-04 2003-07-28 東京エレクトロン株式会社 平面アンテナ部材、これを用いたプラズマ処理装置及びプラズマ処理方法
JP3374796B2 (ja) * 1999-08-06 2003-02-10 松下電器産業株式会社 プラズマ処理方法及び装置
US6361958B1 (en) * 1999-11-12 2002-03-26 Motorola, Inc. Biochannel assay for hybridization with biomaterial
JP2001203099A (ja) * 2000-01-20 2001-07-27 Yac Co Ltd プラズマ生成装置およびプラズマ処理装置
WO2002056649A1 (en) * 2000-12-27 2002-07-18 Japan Science And Technology Corporation Plasma generator

Also Published As

Publication number Publication date
US6967622B2 (en) 2005-11-22
JP2002217187A (ja) 2002-08-02
CN1226777C (zh) 2005-11-09
WO2002058123A1 (en) 2002-07-25
US20040051464A1 (en) 2004-03-18
CN1488164A (zh) 2004-04-07

Similar Documents

Publication Publication Date Title
KR100507717B1 (ko) 플라즈마 처리 장치
JP3739137B2 (ja) プラズマ発生装置及びこのプラズマ発生装置を使用した表面処理装置
US6325018B1 (en) Flat antenna having openings provided with conductive materials accommodated therein and plasma processing apparatus using the flat antenna
TWI853794B (zh) 電漿產生裝置
US20100307684A1 (en) Plasma processing apparatus
KR100960424B1 (ko) 마이크로파 플라즈마 처리 장치
JPH09106900A (ja) プラズマ処理方法及びプラズマ処理装置
KR20220133852A (ko) 플라스마 처리 장치 및 플라스마 처리 방법
JP3676680B2 (ja) プラズマ装置及びプラズマ生成方法
CN110770880B (zh) 等离子处理装置
JP4680400B2 (ja) プラズマ装置及びその製造方法
JPH09289099A (ja) プラズマ処理方法および装置
JP4598253B2 (ja) プラズマ装置
JP2005019508A (ja) プラズマ処理装置及び処理方法
JP3840821B2 (ja) プラズマ処理装置
JP2002110649A (ja) プラズマ処理装置
JP3874726B2 (ja) プラズマ処理装置及びプラズマ生成方法
WO2003079740A1 (en) Plasma device
KR100520635B1 (ko) 플레어 각이 변화하는 혼 안테나를 구비하는 전자사이클로트론 공명 장비
JP3757159B2 (ja) プラズマ処理装置
JP3899272B2 (ja) プラズマ装置
JPH06318565A (ja) プラズマ処理装置
JP2001358131A (ja) プラズマ処理方法及びプラズマ処理装置
JP2004227796A (ja) プラズマ処理方法,プラズマ処理の改善方法及びプラズマ処理装置
JP2002217177A (ja) プラズマ装置

Legal Events

Date Code Title Description
A131 Notification of reasons for refusal

Free format text: JAPANESE INTERMEDIATE CODE: A131

Effective date: 20050201

A521 Request for written amendment filed

Free format text: JAPANESE INTERMEDIATE CODE: A523

Effective date: 20050404

TRDD Decision of grant or rejection written
A01 Written decision to grant a patent or to grant a registration (utility model)

Free format text: JAPANESE INTERMEDIATE CODE: A01

Effective date: 20050426

A61 First payment of annual fees (during grant procedure)

Free format text: JAPANESE INTERMEDIATE CODE: A61

Effective date: 20050428

R150 Certificate of patent or registration of utility model

Free format text: JAPANESE INTERMEDIATE CODE: R150

FPAY Renewal fee payment (event date is renewal date of database)

Free format text: PAYMENT UNTIL: 20110513

Year of fee payment: 6

FPAY Renewal fee payment (event date is renewal date of database)

Free format text: PAYMENT UNTIL: 20110513

Year of fee payment: 6

FPAY Renewal fee payment (event date is renewal date of database)

Free format text: PAYMENT UNTIL: 20140513

Year of fee payment: 9

LAPS Cancellation because of no payment of annual fees