JP3665609B2 - 半導体装置及びその半導体装置を複数個実装した半導体装置ユニット - Google Patents

半導体装置及びその半導体装置を複数個実装した半導体装置ユニット Download PDF

Info

Publication number
JP3665609B2
JP3665609B2 JP2001391877A JP2001391877A JP3665609B2 JP 3665609 B2 JP3665609 B2 JP 3665609B2 JP 2001391877 A JP2001391877 A JP 2001391877A JP 2001391877 A JP2001391877 A JP 2001391877A JP 3665609 B2 JP3665609 B2 JP 3665609B2
Authority
JP
Japan
Prior art keywords
lead
semiconductor device
sealing resin
semiconductor
leads
Prior art date
Legal status (The legal status is an assumption and is not a legal conclusion. Google has not performed a legal analysis and makes no representation as to the accuracy of the status listed.)
Expired - Fee Related
Application number
JP2001391877A
Other languages
English (en)
Other versions
JP2002198483A (ja
Inventor
忠士 山口
Current Assignee (The listed assignees may be inaccurate. Google has not performed a legal analysis and makes no representation or warranty as to the accuracy of the list.)
Oki Electric Industry Co Ltd
Original Assignee
Oki Electric Industry Co Ltd
Priority date (The priority date is an assumption and is not a legal conclusion. Google has not performed a legal analysis and makes no representation as to the accuracy of the date listed.)
Filing date
Publication date
Application filed by Oki Electric Industry Co Ltd filed Critical Oki Electric Industry Co Ltd
Priority to JP2001391877A priority Critical patent/JP3665609B2/ja
Publication of JP2002198483A publication Critical patent/JP2002198483A/ja
Application granted granted Critical
Publication of JP3665609B2 publication Critical patent/JP3665609B2/ja
Anticipated expiration legal-status Critical
Expired - Fee Related legal-status Critical Current

Links

Images

Classifications

    • H10W72/5522
    • H10W90/726

Landscapes

  • Structures Or Materials For Encapsulating Or Coating Semiconductor Devices Or Solid State Devices (AREA)
  • Lead Frames For Integrated Circuits (AREA)

Description

【0001】
【産業上の利用分野】
本発明は半導体装置及びその半導体装置を複数個実装した半導体装置ユニットに関するものである。
【0002】
【従来の技術】
近年、半導体装置のますますの高集積化に伴い、種々の半導体パッケージ構造が提案されている。
【0003】
例えば、1996年5月17日に公開された日本国の公開特許公報"特開平8ー125066号"、1998年7月21日に公開された日本国の公開特許公報"特開平10ー189861号"に記載されているような構造が提案されている。
【0004】
【発明が解決しようとする課題】
前者の公報に示されている構造を得るには、リードフレームをエッチング技術により加工する必要がある。しかしながら、この加工には、多くの工程が必要であるためリードフレームの加工に時間がかかるという問題に加え、形状の制御性が難しいという問題がある。
【0005】
一方、後者の公報に示された構造を得るには、複数のリードの中間部を上方向及び横方向に曲折する必要がある。しかしながら、緻密な間隔で配置されいる多数のリードの中間部を上方向及び横方向に曲折することは、現実的に困難性を伴うという問題がある。
【0006】
【課題を解決するための手段】
本発明の目的は、半導体チップのサイズと同等のサイズを有する、集積度の高い樹脂封止型の半導体装置構造を提供することである。
【0007】
本発明の他の目的は、樹脂の表面からリードの一部が露出されるような樹脂封止型の
半導体装置を制御性よく、簡単に製造する方法を提供することである。
【0008】
上記の目的を達成するために、本願の代表的な発明では、樹脂封止型半導体装置において、半導体チップ上に配置され、その端部が半導体チップの主面に対して垂直方向に屈曲する複数のリードであって、各リードの端部の先端が樹脂の表面から露出され、その露出された端部の先端上には、外部と接続するための導電体がそれぞれ形成される。
【0009】
このような構成によれば、半導体チップのサイズと同等のサイズの樹脂封止型半導体装置を実現することができる。
【0010】
上記の他の目的を達成するために、本願の他の代表的な発明では、樹脂の表面からリードの一部が露出されるような樹脂封止型の半導体装置の製造方法において、リードの端部を半導体チップの表面に対して垂直方向に屈曲させ、その端部の先端を露出させるように形成する。
【0011】
このような方法によれば、リードの端部を曲折するので、既存のプレス加工等の加工方法を流用することにより、制御性よく容易に、樹脂の表面からリードの一部が露出されるような樹脂封止型の半導体装置を形成することができる。
【0012】
【発明の実施の形態】
以下に図面を参照しながら本発明の実施の形態を説明する。以下の説明では、本発明に直接係わる部分が中心に説明され、それ以外の部分については説明が省略される。まず、図1及び図2を参照して第1の参考例を説明する。
【0013】
図1には、樹脂封止型半導体装置の第1の参考例の断面図が示されている。図2には、図1に示される樹脂封止型半導体装置の平面図が示されている。
【0014】
第1の参考例では、半導体素子10上に複数のリード20が絶縁性のテープ30を介して配置されている。このリード20は半導体素子10上に形成された複数のパッド40と電気的に接続される。ここでは、この電気的接続に金線50が用いられている。各パッド40は半導体素子10の表面に形成された半導体集積回路にそれぞれ接続される。これらの要素は樹脂60により封止されている。
【0015】
リード20の端部は、半導体素子10の表面と垂直の方向に曲折している。曲折されたリード20の端部の先端は、樹脂60から露出される。この露出された各リード20の端部の先端上には、複数の極部70がそれぞれ形成されている。
【0016】
これらの電極70は図3に示されるような外部基板80上に電気的に接続され、所定の電極から半導体素子10内で発生された電気的な信号が外部へ出力される。また、他の電極に外部からの電気的な信号が与えられる。この電極部70は半田により形成されることが多い。本参考例ではボール状の半田により形成された電極部が示されているが、形状及び材質はこれに限られるものではない。例えば、ボール状ではなく、平面状の電極が適用されることも考えられるし、半田に限らず他の金属性の導電体が用いられることも考えられる。
【0017】
ここで、理解を容易にする為、図2の平面図から電極70を取り除いた模式図が図4に示される。図4に示されるように、樹脂60の表面には、リード20の端部の先端20'が露出している。この露出されたリード20の端部の先端20'は電極70と電気的な接続に接続されるように露出される。
【0018】
図4では、露出されたリード20の端部の先端20'は正方形状に示されているが、電極70と電気的に接続されれば、その形状はこれに限らない。リード20が平板状であれば、露出されるリード20の端部の先端20'は長方形状になる。発明者の知見によれば、電極70が球状である場合、リード20の端部の先端20'は正方形状であることが最適であると考えられている。
【0019】
このような構成によれば、半導体チップのサイズと同等のサイズを有する、集積度の高い樹脂封止型の半導体装置を実現することができる。
【0020】
次に、この半導体装置の製造方法について説明する。ここでは、発明に直接関わる点のみが詳細に説明され、その他の点についての説明は省略されるが、省略された点は特開平8ー227967号等を参照すれば容易に理解できる。
【0021】
まず、図5に示されるように、複数のリード20が所定の位置に配置されたリードフレーム20Fが準備される。図5では、リードフレーム20Fの内、1つの半導体素子に対応するリードのみ示されているが、実際には、スペースFを介して同様の構成が繰り返し配置されている。
【0022】
このリードフレーム20Fの各リード20の端部の先端20'は、プレス加工により垂直方向(図面の手前方向)に折曲げられる。ここでいう垂直方向への折曲げとは、後の工程でリードと接続される半導体素子の表面に対して、リードの先端20'が直角方向に曲折していることをいう。
【0023】
この折曲げられるリード20の端部の長さは、後の工程で形成される樹脂の厚さとの関係で決定される。すなわち、端部の先端を樹脂の表面に露出させる為、樹脂の厚みが厚くなれば、折曲げられるリードの端部は長くなり、樹脂の厚みが薄くなれば、折曲げられるリードの端部は短くなる。折曲げるリードの端部の長さは、設計者により適宜設定される。
【0024】
次に、この複数のリードの内、図5において左側に配置されているリード群20L及び右側に配置されているリード群20Rの下部に絶縁性のテープ30L、30Rがそれぞれ接着される。このテープ30は上記公報等にも紹介されているようにテープの両面に接着性を有するようなものである。ここでは、絶縁性のテープ30L、30Rは右側及び左側のリード群の下部にそれぞれ連続的に配置されているが、テープの形状はこれに限るものではない。例えば、絶縁性のテープ30L、30Rを幾つかに分割した形状も考えられるし、各リード20の下部にのみテープを配置した形状も考えられる。
【0025】
次に、図6に示されるように半導体素子10が、絶縁性テープ30接着されたリード20の下方に配置され、その後、半導体素子10の回路形成面とリード20とが絶縁性のテープ30を介して接着される。
【0026】
この後、図7に平面図が示され、図8に断面図が示されるように、複数のリード20の内、所定のリードと半導体素子10上の所定のパッド40とが金線50に接続される。この接続は、公知のワイヤボンディング方法により実現できる。ここでは、金線による接続の例が示されたが、リードとパッドとは電気的に接続されれば機能的に十分である為、他の導電性の高い導電体も利用することができる。
【0027】
次に、図7及び図8に示された構造を上金型90A及び下金型90Bから成る金型90により図9のように挟持し、内部にエポキシ樹脂等の封止樹脂60を注入する。この時、リード20の端部の先端20'と上金型90Aとが接触するように金型90が挟持されているので、封止樹脂60を注入した後、金型を外すと、図10に示すようにリード20の先端20'が露出する。
【0028】
このリード20の先端20'上に電極70となるボール状の半田が形成される。本参考例ではボール状の半田により形成された電極部が示されているが、ボール状ではなく、平面状の電極を適用することも可能である。また、半田に限らず他の金属性の導電体を用いることもできる。
【0029】
この後、複数の半導体装置が形成されたリードフレーム20Fをプレス加工し、個々の半導体装置に分割する。すなわち、封止樹脂60より外部へ導出しているリードを切断し、図1に示すような半導体装置を得る。
【0030】
このような製造方法によれば、リードの端部を曲折する際、既存のプレス加工等の加工方法を利用することができるので、制御性よく容易に、樹脂の表面からリードの一部が露出されるような樹脂封止型の半導体装置を形成することができる。従って、樹脂の表面からリードの一部が露出されるような樹脂封止型の半導体装置を低コストで製造することができる。
【0031】
次に、第2の参考例を説明する。この参考例の説明において、上述の第1の参考例と同一部分には同一符号を付すことによりその説明が省略される。
【0032】
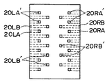
この参考例での特徴的な構成は電極の配置にある。この参考例では、樹脂から露出しているリードの先端がジグザグ状(千鳥状)に配置されている。従って、リードの先端に接続される電極がジグザグ状に配置されることになる。
【0033】
図12には本参考例の断面図が示され、図13には本参考例における電極の配置を現わす平面図が示され、図14には理解を容易にする為、図13の平面図から電極を取り除いた模式図(露出されたリードの先端の配置を示す平面図)が図14に示される。これらの図を用いて以下に第2の参考例の説明を続ける。
【0034】
第2の参考例では、半導体素子10上に複数の長さの短い短リード20LA、20RAと、短リードより長さの長い長リード20LB、20RBとが、交互に配置されている。図面上、左側に短リード20LAと、長リード20LBとが交互に配置され、右側に短リード20RAと、長リード20RBとが交互に配置されている。この短リードと長リードの長さは、隣接するリードとの距離(一般にピッチと言われる)、リードの先端上に形成される電極の大きさ等を考慮して、設計者が適宜設定できる。
【0035】
これらのリードはそれぞれ絶縁性のテープ30LA,30LB,30RA,30RBを半導体素子10に接着されている。各リードは半導体素子10上に形成された複数のパッド40と電気的に接続される。ここでは、この電気的接続に金線50が用いられている。各パッド40は半導体素子10の表面に形成された半導体集積回路にそれぞれ接続される。これらの要素は樹脂60により封止されている。
【0036】
各リードの端部は、第1の参考例と同様に半導体素子10の表面と垂直の方向に曲折している。曲折されたリードの端部の先端20LA',20LB',20RA',20RB'は、樹脂60から露出される。リードの先端20LA'とリードの先端20LB'はそれぞれ直線上に位置する。また、リードの先端20LA'とリードの先端20LB'先端とは、平行な位置関係にある。他方のリードの先端20RA'とリードの先端20RB'も同様の関係にある。この露出された各リードの先端上には、複数の極部70LA,70LB,70RB,70RAがそれぞれ形成されている。従って、各電極70LA,70LB,70RB,70RAは、それぞれ直線状に配置され、互いに平行である。
【0037】
このような構成によれば、第1の参考例の半導体装置より、さらに集積度の高い樹脂封止型の半導体装置を実現することができる。
【0038】
すなわち、リード間のピッチ(リードとリードの間隔)は、電極の大きさ等も考慮して決められる。従って、第1の参考例のような構成では、リード間のピッチよりも電極の大きさが、リード間ピッチを決める際の支配的な要因になる。よって、隣接するリードに接続される電極が近接して配置される第1の参考例の構成では、リード間のピッチを大きく設定する必要がある。
【0039】
しかしながら、本参考例のように電極をジグザクに配置すれば、隣接するリードに接続される電極間の距離が大きくとれるので、リード間のピッチを決める際、電極の大きさはもはや支配的な要因ではなくなる。その為、設計の自由度が大幅に増すと共に、複数のリードを最小ピッチで配置することも可能になるので、装置の実装密度が上がり、さらに集積度の高い樹脂封止型の半導体装置を実現することができる。
【0040】
次に、本参考例における半導体装置の製造方法について説明する。この説明において、省略された点は上述の説明等を参照すれば容易に理解できる。
【0041】
まず、図15に示されるように、複数のリードが所定の位置に配置されたリードフレーム20F'が準備される。このリードフレーム20F'は、長さの短い短リード20LA、20RAと、短リードより長さの長い長リード20LB、20RBとを有する。短リード20LAと、長リード20LBとは交互に配置され、短リード20RAと、長リード20RBとが交互に配置されている。
【0042】
長リード20LB、20RBにおいては、各リードの付け根(各リードがフレームに接続される部分)から各リードの先端までの長さが短リード20LA、20RAのそれよりも長い。言い換えると、長リード20LB、20RBは、リードが導入される半導体素子の一辺から先端までの距離が短リード20LA、20RAのそれよりも大きい。
【0043】
図15では、リードフレーム20F'の内、1つの半導体素子に対応するリードのみ示されているが、実際には、スペースS'を介して同様の構成が繰り返し配置されている。
【0044】
このリードフレーム20F'の各リードの端部の先端20LA',20LB',20RA',20RB'は、プレス加工により垂直方向(図面の手前方向)に折曲げられる。ここでいう垂直方向への折曲げとは、後の工程でリードと接続される半導体素子の表面に対して、リードの先端が直角方向に曲折していることをいう。
【0045】
この折曲げられるリードの端部の長さは、第1の参考例と同様に後の工程で形成される樹脂の厚さとの関係で決定される。すなわち、端部の先端を樹脂の表面に露出させる為、樹脂の厚みが厚くなれば、折曲げられるリードの端部は長くなり、樹脂の厚みが薄くなれば、折曲げられるリードの端部は短くなる。折曲げるリードの端部の長さは、設計者により適宜設定される。
【0046】
次に、リード群20LA、20LBの下部に絶縁性テープ30LA,30LBがそれぞれ接着され、リード群20RA、20RBの下部に絶縁性テープ30RA,30RBがそれぞれ接着される。これらのテープは上記公報等にも紹介されているようにテープの両面に接着性を有するようなものである。
【0047】
テープの形状はこれに限るものではなく、例えば、絶縁性のテープ30を幾つかに分割した形状も考えられるし、各リードの下部にのみテープを配置した形状も考えられる。
【0048】
次に、半導体素子10が、絶縁性テープが接着されたリードの下方に配置され、その後、半導体素子10の回路形成面とリードとが絶縁性のテープを介して接着される。
【0049】
この後、複数のリードの内、所定のリードと半導体素子10上の所定のパッド40とが金線50に接続される。ここでは、金線による接続の例が示されたが、リードとパッドとは電気的に接続されれば機能的に十分である為、他の導電性の高い導電体も利用することができる。
【0050】
次に、第1の参考例と同様に金型を用いてエポキシ樹脂等の封止樹脂60を注入する。この時、リードの端部の先端20LA'、20LB'、20RA'、20RB'と上金型とが接触するように金型が挟持されているので、封止樹脂60を注入した後、金型を外すと、図15に示すようにリードの先端が露出する。
【0051】
このリード20LA'、20LB'、20RA'、20RB'の先端上に電極70LA,70LB,70RA,70RBとなるボール状の半田が形成される。本参考例ではボール状の半田により形成された電極部が示されているが、ボール状ではなく、平面状の電極を適用することも可能である。また、半田に限らず他の金属性の導電体を用いることもできる。
【0052】
この後、複数の半導体装置が形成されたリードフレーム20F'をプレス加工し、個々の半導体装置に分割する。すなわち、封止樹脂60より外部へ導出しているリードを切断し、図12に示すような半導体装置を得る。
【0053】
このような製造方法によれば、リードの端部を曲折する際、既存のプレス加工等の加工方法を利用することができるので、制御性よく容易に、樹脂の表面からリードの一部が露出されるような樹脂封止型の半導体装置を形成することができる。従って、本参考例のような集積度の高い樹脂封止型の半導体装置を低コストで製造することができる。
【0054】
次に、本発明の第1の実施の形態を説明する。この実施の形態の説明において、上述の第1及び第2の参考例と同一部分には同一符号を付すことによりその説明が省略される。
【0055】
この実施の形態での特徴的な構成は封止樹脂の形状にある。
【0056】
この実施の形態では、図17及び図18に示されるように、電極70の周辺部の封止樹脂に凸部61L,61Rが形成されている。この凸部61L,61Rは封止樹脂61と一体的に形成されている。この凸部61L,61Rは電極70が形成されている封止樹脂の表面から段違いに高く形成される。また、凸部61Lと凸部61Rとは同じ高さである 。
【0057】
この凸部61L,61Rの高さは、リードの先端20'から電極の最高部までの高さ及び外部基板80'に搭載する際の電極の溶融を考慮して決定される。
【0058】
すなわち、図19(A)に示されるように半導体装置が外部基板80'に搭載される前、リードの先端20'から電極の最高部までの高さH1は、凸部61L,61Rの高さH2より高さH3だけ高くなる。言い換えると、凸部61L,61Rの高さH2は、電極の最高部の高さH1より高さH3だけ低い高さに設定される。
【0059】
この高さH3は、図19(B)に示されるように半導体装置を外部基板80'に搭載した際、電極が溶融する分に相当する高さである。
【0060】
このような構成によれば、外部基板と半導体装置との間は、常に一定の高さH2が保たれることになり、半導体装置の外部基板への確実な実装が可能となる。また、電極の周囲に形成される凸部は、半導体装置を遠隔地に輸送して外部基板上に搭載するような場合、輸送中に半導体装置へ加わる種々の力から電極部を保護する機能も有する。
【0061】
この実施の形態の封止樹脂の凸部61L,61Rは、図20に示されるような金型91を用いて形成される。この金型91は上金型91A及び下金型91Bから成る。この上金型91Aには、上述の凸部61L、61Rに対応する部分に樹脂が充填されるような形状が設けられている。
【0062】
この金型91を図20のように挟持し、内部にエポキシ樹脂等の封止樹脂61を注入する。この時、リード20の端部の先端20'と上金型91Aとが接触するように金型91が挟持されているので、封止樹脂61を注入した後、金型を外すと、図21に示すようにリード20の先端20'が露出する。
【0063】
このような製造方法によれば、リードの端部を曲折する際、既存のプレス加工等の加工方法を利用することができるので、制御性よく容易に、樹脂の表面からリードの一部が露出されるような樹脂封止型の半導体装置を形成することができる。従って、本実施の形態ような外部基板への確実な実装が可能とな樹脂封止型の半導体装置を低コストで製造することができる。
【0064】
次に、第3の参考例を説明する。この参考例の説明において、上述の参考例もしくは実施の形態と同一部分には同一符号を付すことによりその説明が省略される。
【0065】
この参考例での特徴的な構成は、リードの先端と電極が接続される部分の樹脂が電極の形状に併せて、凹形状になっていることである。
【0066】
この参考例では、図22の断面図及び図23の電極を除いた平面図に示されるように、リードの先端20'と電極70が接続される部分に凹部62L,62Rが形成されような封止樹脂62が用いられている。この凹部62L,62Rの底にはリードの先端20'が露出している。電極70は、この凹部の底でリードの先端20'と電気的に接続する。この参考例では、球状の電極形状に併せ、凹部は略半円状に形成される。電極の形状が平板型であれば、凹部は四角形状に形成すればよい。
【0067】
この参考例の封止樹脂の凹部62L,62Rは、図24に示されるような金型92を用いて形成される。この金型92は上金型92A及び下金型92Bから成る。この上金型92Aには、上述の凹部62L、62Rに対応する部分に樹脂が充填されなような形状が設けられている。
【0068】
この金型92を図24のように挟持し、内部にエポキシ樹脂等の封止樹脂62を注入する。この時、リードの先端20'と上金型92Aとが接触するように金型92が挟持されているので、封止樹脂62を注入した後、金型を外すと、図25に示すようにリードの先端20'が凹部62L、62Rの底部から露出する。
【0069】
このような製造方法によれば、上述の参考例もしくは実施の形態で説明された効果に加え、電極を固定する部位が封止樹脂の表面に現われるので、電極とリードとを接続する場合の位置認識がより簡単になり確実性が向上する。また、電極を半田で形成する場合、半田の形成に先だって接続部に塗布するフラックスは流動性が高い為、上述の参考例もしくは実施の形態ではフラックスが流れ出す可能性があったが、本参考例では、凹部内にフラックスを塗布するので、フラックスが流れ出す可能性が著しく低減できる。
【0070】
次に、第の実施の形態を説明する。この実施の形態の説明において、上述の参考例もしくは実施の形態と同一部分には同一符号を付すことによりその説明が省略される。
【0071】
この実施の形態での特徴的な構成は、第3の参考例においてリードの先端を電極の形状に併せて円弧状に形成したことである。
【0072】
この実施の形態では、図26の部分拡大図に示されるようにリード21の先端21'が球状の電極70に係合して円弧状に形成されている。
【0073】
このような構成によれば、上述の参考例もしくは実施の形態の効果に加え、さらにリードと電極の接続の確実性が向上する。リードの先端を円弧状にすることにより、電極との接触面積が増加するので、両者の接続がより確実なものとなる。
【0074】
次に、第の実施の形態を説明する。この実施の形態の説明において、上述の参考例もしくは実施の形態と同一部分には同一符号を付すことによりその説明が省略される。
【0075】
この実施の形態での特徴的な構成は、第1の参考例における半導体装置のリードを装置の側面から外部へ導出させたことである。
【0076】
この実施の形態では、図27の断面図及び図28の側面図に示されるように側面より外部へ導出されるリード22の延在部22Eが形成されている。このリード22は、一方の端部が電極70に接続され、他方の端部が半導体装置の側面から外部へ導出されている。
【0077】
このリードの延在部22Eは、電極70に接続されるリードの先端部22'が曲折される方向とは逆方向に折曲げられている。ここでは、リードの延在部22Eは、リードの先端部22'が曲折される方向とは逆方向に折曲げられているが、半導体装置の側面に沿うように折曲げるならば、リードの先端部22'が曲折される方向と同じ方向でも構わない。後述されるが、このリードの延在部22Eには電気的試験を行う際、プローブ針が接触されるので、プローブ針の接触のし易さを考えると、本実施の形態の構成が望ましい。
【0078】
この種の半導体装置の電気的な特性試験は、通常、試験装置のプローブ針を電極(本実施の形態で言えば、電極70)に接触させて行う。ところが、この電極は、前述したように半田等の軟らかい金属により構成されている場合が多いため、プローブ針を接触させると電極が部分的に欠損したり、変形したりすることがある。
【0079】
また、外部基板上に半導体装置を搭載後は、半導体装置と外部基板との隙間が非常に狭いため、各電極の導通状態を試験することが非常に困難である。さらに、近年の半導体装置の集積化に伴い、この隙間もますます狭くなっているので、搭載後の電気的な試験はますます困難になってきている。
【0080】
ここで、本実施の形態のような構成を用いれば、半導体装置の側面から導出しているリードの延在部に試験装置のプローブ針を接触させて、試験を行うことができるので、機械的な接触による電極の破損、変形等を防止できる。さらに、半導体装置を外部基板に搭載後でも、側面にリードの延在部があるので、容易に試験を実行することができる。特に、上述の第の実施の形態のような封止樹脂の周辺に凸部が設けられているような半導体装置を外部基板に搭載した場合、電極と外部基板との接続状態をリード延在部を通して容易に確認することができる。
【0081】
このような半導体装置の製法は、基本的に上述の参考例もしくは実施の形態と同様であるので、以下に特徴的な点のみ簡単に説明する。
【0082】
この実施の形態の構成を形成する場合、図29に示されるように延在部22Eを備えたリード22を有するリードフレーム22Fが用いられる。
【0083】
このようなリードフレーム22Fを図30に示すようにXーX'、YーY'線に沿ってプレス加工により切断し、個々の半導体装置に分割する。この後、リードの延在部22Eの折曲げ加工を行う。この切断と、折曲げ加工は、同時に行うこともできる。
【0084】
本実施の形態の構成によれば、上述の種々の参考例もしくは実施の形態の効果に加え、半導体装置に必須な電気的な試験を電極の破損等なしに、容易に実行することができる。
【0085】
次に、第の実施の形態を説明する。この実施の形態の説明において、上述の実施の形態と同一部分には同一符号を付すことによりその説明が省略される。
【0086】
この実施の形態での特徴的な構成は、第の実施の形態における半導体装置のリードの延在部が、電極が形成される面と反対側の面まで延材していることである。
【0087】
この実施の形態では、図31の断面図に示されるようにリード23は、一方の端部が電極70に接続され、他方の端部が半導体装置の側面から外部へ導出され、電極70が形成される面とは反対側の面まで延在して形成されている。
【0088】
このような構成によれば、図32に示されるように外部基板80上に半導体装置を複数個、積み重ねて実装することができる。
【0089】
ここでは、外部基板80に接続された電極70を有する下側の半導体装置上に上側の半導体装置が搭載されている。外部基板に接続された下側の半導体装置の電極70は、リード23を介して上側の半導体装置の電極70に電気的に接続される。下側の半導体装置の任意の電極70は、その鉛直上に位置する上側の半導体装置の電極70に下側の半導体装置のリードを介して電気的に接続される。すなわち、この2つの電極には、外部基板80から同じ信号が与えられることになる。
【0090】
この実施の形態の構成を形成する場合、図33に示されるように延在部23Eを備えたリード23を有するリードフレーム23Fが用いられる。この延在部23Eは、電極が形成された面から反対側の面まで延在するに十分な長さを有する。この長さは、半導体装置の大きさ、形状、電極の大きさ等を考慮して、設計者が適宜設定できる。
【0091】
このようなリードフレーム23Fを図33に示すようにXーX'、YーY'線に沿ってプレス加工により切断し、個々の半導体装置に分割する。この後、リードの延在部23Eの折曲げ加工を行う。この切断と、折曲げ加工は、同時に行うこともできる。
【0092】
本実施の形態の構成によれば、上述の種々の参考例もしくは実施の形態の効果に加え、外部基板上に半導体装置を複数個、積み重ねて実装することができるという効果が得られる。
【0093】
次に、第の実施の形態を説明する。この実施の形態の説明において、上述の実施の形態と同一部分には同一符号を付すことによりその説明が省略される。
【0094】
この実施の形態での特徴的な構成は、第の実施の形態における半導体装置のリードの延在部の先端に凹部が形成されていることである。
【0095】
この実施の形態では、図34の断面図に示されるようにリード24は、一方の端部が電極70に接続され、他方の端部が半導体装置の側面から外部へ導出され、電極70が形成される面とは反対側の面まで延在して形成されている。さらに、リード24の先端に凹部24'が形成されている。この凹部24'の大きさは、電極70が凹部24'の底面に接続されることを考慮して決定される。
【0096】
このような構成によれば、図35に示されるように外部基板80上に半導体装置を複数個、積み重ねて実装する場合、図31のような構成に比べ縦方向の厚みが削減できる。また、電極とリードとの接続が第の実施の形態と比してより確実に実現できる。
【0097】
このようなリードの先端の凹部は、第の実施の形態で説明したリードフレームの折曲げ加工後、または、折曲げ加工と同時に形成される本実施の形態の構成によれば、外部基板上に半導体装置を複数個、積み重ねて実装することができるという効果に加え、縦方向の厚みが削減、電極とリードとの接続の確実性の向上等の効果が得られる。
【0098】
本発明は、例証的な実施態様を用いて説明されたが、この説明は限定的な意味に受け取られてはならない。この例証的実施態様の様々な変更、並びに本発明のその他の実施態様が当業者にはこの説明を参考にすることによって明らかになるであろう。従って、特許請求の範囲はそれらのすべての変更または実施態様を本発明の真の範囲に含むものとしてカバーするであろうと考えられている。
【0099】
【発明の効果】
本願の代表的な発明によれば、半導体チップのサイズと同等のサイズを有する、集積度の高い樹脂封止型の半導体装置を実現することができる。
【0100】
また、本願の他の代表的な発明によれば、リードの端部を曲折する際、既存のプレス加工等の加工方法を利用することができるので、制御性よく容易に、樹脂の表面からリードの一部が露出されるような樹脂封止型の半導体装置を形成することができる。
【図面の簡単な説明】
【図1】樹脂封止型半導体装置の第1の参考例の断面図である。
【図2】図1に示される樹脂封止型半導体装置の平面図である。
【図3】外部基板上に搭載された第1の参考例の樹脂封止型半導体装置の断面図である。
【図4】図2の平面図から電極を取り除いた模式図である。
【図5】第1の参考例の製造方法を説明するための平面図である。
【図6】第1の参考例の製造方法を説明するための断面図である。
【図7】第1の参考例の製造方法を説明するための平面図である。
【図8】第1の参考例の製造方法を説明するための断面図である。
【図9】第1の参考例の製造方法を説明するための断面図である。
【図10】第1の参考例の製造方法を説明するための平面図である。
【図11】第1の参考例の製造方法を説明するための平面図である。
【図12】樹脂封止型半導体装置の第2の参考例の断面図である。
【図13】図12に示される樹脂封止型半導体装置の平面図である。
【図14】図13の平面図から電極を取り除いた模式図である。
【図15】第2の参考例の製造方法を説明するための平面図である。
【図16】第2の参考例の製造方法を説明するための平面図である。
【図17】本発明に関わる樹脂封止型半導体装置の第の実施の形態の断面図である。
【図18】図17に示される樹脂封止型半導体装置の平面図である。
【図19】第の実施の形態における封止樹脂の凸部と電極との関係を示す部分拡大図である。
【図20】第の実施の形態の製造方法を説明するための断面図である。
【図21】第の実施の形態の製造方法を説明するための平面図である。
【図22】樹脂封止型半導体装置の第3の参考例の断面図である。
【図23】図22の平面図から電極を取り除いた模式図である。
【図24】第3の参考例の製造方法を説明するための断面図である。
【図25】第3の参考例の製造方法を説明するための平面図である。
【図26】第の実施の形態を説明するリードフレームの部分拡大図である。
【図27】本発明に関わる樹脂封止型半導体装置の第の実施の形態の断面図である。
【図28】図27の樹脂封止型半導体装置の側面図である。
【図29】第の実施の形態の製造方法を説明するための平面図である。
【図30】第の実施の形態の製造方法を説明するための平面図である。
【図31】本発明に関わる樹脂封止型半導体装置の第の実施の形態の断面図である。
【図32】外部基板上に図31の半導体装置が複数個搭載された場合を説明する断面図である。
【図33】第の実施の形態の製造方法を説明するための平面図である。
【図34】本発明に関わる樹脂封止型半導体装置の第の実施の形態の断面図である。
【図35】外部基板上に図34の半導体装置が複数個搭載された場合を説明する断面図である。
【符号の説明】
10 半導体素子
20 リード
30 テープ
40 パッド
50 金線
60 樹脂
70 電極
80 外部基板

Claims (10)

  1. 集積回路と電気的に接続された複数のパッドが主面上に配置された半導体チップと、前記半導体チップ上に配置され、前記複数のパッドにそれぞれ電気的に接続され、端部が前記主面に対して垂直方向に屈曲する複数のリードと、前記半導体チップ及び前記複数のリードを封止する封止樹脂とを備え、各端部の先端は前記封止樹脂の表面から露出し、その露出された前記端部の先端上には、それぞれ外部と接続するための導電体が形成され、前記封止樹脂には前記導電体の周辺部で突出する突出部が形成されている半導体装置であって、前記露出した先端部から前記突出部の最高部までの距離は、前記導電体の前記露出した先端部から前記導電体の最高部までの距離より小さく、前記導電体を溶融することにより前記導電体と外部基板が接続されると前記突出部と前記外部基板とが同じ高さになることを特徴とする半導体装置。
  2. 前記複数のリードは、前記半導体チップの一方の辺から前記封止樹脂の表面まで延在する第1のリード群と、前記一方の辺に対向する他方の辺から前記封止樹脂の表面まで延在する第2のリード群とから構成され、前記第1のリード群のリードの端部の先端は前記封止樹脂の表面で直線状に配置され、前記第2のリード群のリードの端部の先端は前記封止樹脂の表面で前記第1のリード群の端部の先端と平行な直線状に配置され、前記第1及び第2のリード群は、前記一方の辺及び前記他方の辺から前記封止樹脂の外側へも延在することを特徴とする請求項1記載の半導体装置。
  3. 前記封止樹脂の外側へ延在する前記第1及び第2のリード群は、前記導電体が形成された前記封止樹脂の表面と対向する裏面まで延在することを特徴とする請求項2記載の半導体装置。
  4. 請求項3記載の半導体装置が外部基板上に複数個実装される半導体装置ユニットにおいて、一半導体装置の前記複数の導電体が前記外部基板に接続され、前記一半導体の前記裏面に延在する前記第1及び第2のリード群が他半導体装置の前記導電体に接続されことを特徴とする半導体装置ユニット。
  5. 前記一半導体の前記裏面に延在する前記第1及び第2のリード群のリードの終端部には、前記他半導体装置の前記導電体の形状に係合するような凹部が形成されていることを特徴とする請求項4記載の半導体装置ユニット。
  6. 集積回路と電気的に接続された複数のパッドが主面上に配置された半導体チップと、前記半導体チップ上に配置され、前記複数のパッドにそれぞれ電気的に接続され、端部が前記主面に対して垂直方向に屈曲する複数のリードと、前記半導体チップ及び前記複数のリードを封止する封止樹脂とを備え、各端部の先端は前記封止樹脂の表面から露出し、その露出された前記端部の先端上には、それぞれ外部と接続するための導電体が形成され、前記リードの端部の先端が露出している前記封止樹脂の表面には、前記導電体の形状に係合するような複数の凹部が形成され、前記凹部の底部に前記リードの端部の先端が露出している半導体装置であって、前記リードの端部の先端は、前記導電体の形状に合わせて湾曲していることを特徴とする半導体装置。
  7. 前記複数のリードは、前記半導体チップの一方の辺から前記封止樹脂の表面まで延在する第1のリード群と、前記一方の辺に対向する他方の辺から前記封止樹脂の表面まで延在する第2のリード群とから構成され、前記第1のリード群のリードの端部の先端は前記封止樹脂の表面で直線状に配置され、前記第2のリード群のリードの端部の先端は前記封止樹脂の表面で前記第1のリード群の端部の先端と平行な直線状に配置され、前記第1及び第2のリード群は、前記一方の辺及び前記他方の辺から前記封止樹脂の外側へも延在することを特徴とする請求項6記載の半導体装置。
  8. 前記封止樹脂の外側へ延在する前記第1及び第2のリード群は、前記導電体が形成された前記封止樹脂の表面と対向する裏面まで延在することを特徴とする請求項7記載の半導体装置。
  9. 請求項8記載の半導体装置が外部基板上に複数個実装される半導体装置ユニットにおいて、一半導体装置の前記複数の導電体が前記外部基板に接続され、前記一半導体の前記裏面に延在する前記第1及び第2のリード群が他半導体装置の前記導電体に接続されことを特徴とする半導体装置ユニット。
  10. 前記一半導体の前記裏面に延在する前記第1及び第2のリード群のリードの終端部には、前記他半導体装置の前記導電体の形状に係合するような凹部が形成されていることを特徴とする請求項9記載の半導体装置ユニット。
JP2001391877A 2001-12-25 2001-12-25 半導体装置及びその半導体装置を複数個実装した半導体装置ユニット Expired - Fee Related JP3665609B2 (ja)

Priority Applications (1)

Application Number Priority Date Filing Date Title
JP2001391877A JP3665609B2 (ja) 2001-12-25 2001-12-25 半導体装置及びその半導体装置を複数個実装した半導体装置ユニット

Applications Claiming Priority (1)

Application Number Priority Date Filing Date Title
JP2001391877A JP3665609B2 (ja) 2001-12-25 2001-12-25 半導体装置及びその半導体装置を複数個実装した半導体装置ユニット

Related Parent Applications (1)

Application Number Title Priority Date Filing Date
JP33108098A Division JP3297387B2 (ja) 1998-11-20 1998-11-20 半導体装置の製造方法

Related Child Applications (2)

Application Number Title Priority Date Filing Date
JP2004303435A Division JP3887387B2 (ja) 2004-10-18 2004-10-18 半導体装置
JP2004303436A Division JP3859666B2 (ja) 2004-10-18 2004-10-18 半導体装置

Publications (2)

Publication Number Publication Date
JP2002198483A JP2002198483A (ja) 2002-07-12
JP3665609B2 true JP3665609B2 (ja) 2005-06-29

Family

ID=19188568

Family Applications (1)

Application Number Title Priority Date Filing Date
JP2001391877A Expired - Fee Related JP3665609B2 (ja) 2001-12-25 2001-12-25 半導体装置及びその半導体装置を複数個実装した半導体装置ユニット

Country Status (1)

Country Link
JP (1) JP3665609B2 (ja)

Families Citing this family (2)

* Cited by examiner, † Cited by third party
Publication number Priority date Publication date Assignee Title
JP3960957B2 (ja) * 2003-09-05 2007-08-15 古河電気工業株式会社 半導体電子デバイス
KR100713932B1 (ko) * 2006-03-29 2007-05-07 주식회사 하이닉스반도체 플립 칩 본디드 패키지

Also Published As

Publication number Publication date
JP2002198483A (ja) 2002-07-12

Similar Documents

Publication Publication Date Title
US4984059A (en) Semiconductor device and a method for fabricating the same
US6225146B1 (en) Lead frame, method of manufacturing lead frame, semiconductor device and method of manufacturing semiconductor device
US6479888B1 (en) Semiconductor device and a method of manufacturing the same
CN100414696C (zh) 引线框及制造方法以及树脂密封型半导体器件及制造方法
US6650020B2 (en) Resin-sealed semiconductor device
JP2509422B2 (ja) 半導体装置及びその製造方法
US20140179063A1 (en) Resin sealing type semiconductor device and method of manufacturing the same, and lead frame
JP3046024B1 (ja) リ―ドフレ―ムおよびそれを用いた樹脂封止型半導体装置の製造方法
JP2001326295A (ja) 半導体装置および半導体装置製造用フレーム
JP2538107B2 (ja) 高密度半導体モジユ−ルの製造方法
JP3297387B2 (ja) 半導体装置の製造方法
JP2000294715A (ja) 半導体装置及び半導体装置の製造方法
US5917235A (en) Semiconductor device having LOC structure, a semiconductor device lead frame, TAB leads, and an insulating TAB tape
JP3072291B1 (ja) リ―ドフレ―ムとそれを用いた樹脂封止型半導体装置およびその製造方法
US6686651B1 (en) Multi-layer leadframe structure
US5382546A (en) Semiconductor device and method of fabricating same, as well as lead frame used therein and method of fabricating same
JP3665609B2 (ja) 半導体装置及びその半導体装置を複数個実装した半導体装置ユニット
US6331738B1 (en) Semiconductor device having a BGA structure
JP2956659B2 (ja) 半導体装置およびそのリードフレーム
JP3859666B2 (ja) 半導体装置
JP3887387B2 (ja) 半導体装置
JP3174238B2 (ja) 半導体装置およびその製造方法
JPH11233709A (ja) 半導体装置およびその製造方法ならびに電子装置
JPH02211643A (ja) 半導体装置
JP3938525B2 (ja) 半導体装置の製造方法

Legal Events

Date Code Title Description
A131 Notification of reasons for refusal

Free format text: JAPANESE INTERMEDIATE CODE: A131

Effective date: 20040817

A521 Request for written amendment filed

Free format text: JAPANESE INTERMEDIATE CODE: A523

Effective date: 20041018

A131 Notification of reasons for refusal

Free format text: JAPANESE INTERMEDIATE CODE: A131

Effective date: 20041109

A521 Request for written amendment filed

Free format text: JAPANESE INTERMEDIATE CODE: A523

Effective date: 20050111

TRDD Decision of grant or rejection written
A01 Written decision to grant a patent or to grant a registration (utility model)

Free format text: JAPANESE INTERMEDIATE CODE: A01

Effective date: 20050308

A61 First payment of annual fees (during grant procedure)

Free format text: JAPANESE INTERMEDIATE CODE: A61

Effective date: 20050401

R150 Certificate of patent or registration of utility model

Free format text: JAPANESE INTERMEDIATE CODE: R150

FPAY Renewal fee payment (event date is renewal date of database)

Free format text: PAYMENT UNTIL: 20080408

Year of fee payment: 3

FPAY Renewal fee payment (event date is renewal date of database)

Free format text: PAYMENT UNTIL: 20090408

Year of fee payment: 4

FPAY Renewal fee payment (event date is renewal date of database)

Free format text: PAYMENT UNTIL: 20090408

Year of fee payment: 4

FPAY Renewal fee payment (event date is renewal date of database)

Free format text: PAYMENT UNTIL: 20100408

Year of fee payment: 5

S111 Request for change of ownership or part of ownership

Free format text: JAPANESE INTERMEDIATE CODE: R313111

S531 Written request for registration of change of domicile

Free format text: JAPANESE INTERMEDIATE CODE: R313531

FPAY Renewal fee payment (event date is renewal date of database)

Free format text: PAYMENT UNTIL: 20100408

Year of fee payment: 5

R350 Written notification of registration of transfer

Free format text: JAPANESE INTERMEDIATE CODE: R350

FPAY Renewal fee payment (event date is renewal date of database)

Free format text: PAYMENT UNTIL: 20110408

Year of fee payment: 6

FPAY Renewal fee payment (event date is renewal date of database)

Free format text: PAYMENT UNTIL: 20120408

Year of fee payment: 7

FPAY Renewal fee payment (event date is renewal date of database)

Free format text: PAYMENT UNTIL: 20130408

Year of fee payment: 8

LAPS Cancellation because of no payment of annual fees