JP3649811B2 - 元混合式面状火炎型バーナ - Google Patents
元混合式面状火炎型バーナ Download PDFInfo
- Publication number
- JP3649811B2 JP3649811B2 JP18227996A JP18227996A JP3649811B2 JP 3649811 B2 JP3649811 B2 JP 3649811B2 JP 18227996 A JP18227996 A JP 18227996A JP 18227996 A JP18227996 A JP 18227996A JP 3649811 B2 JP3649811 B2 JP 3649811B2
- Authority
- JP
- Japan
- Prior art keywords
- burner
- mixed
- flame
- gas
- pilot burner
- Prior art date
- Legal status (The legal status is an assumption and is not a legal conclusion. Google has not performed a legal analysis and makes no representation as to the accuracy of the status listed.)
- Expired - Fee Related
Links
- 239000007789 gas Substances 0.000 claims description 64
- 238000002485 combustion reaction Methods 0.000 claims description 41
- 239000002737 fuel gas Substances 0.000 claims description 34
- QVGXLLKOCUKJST-UHFFFAOYSA-N atomic oxygen Chemical compound [O] QVGXLLKOCUKJST-UHFFFAOYSA-N 0.000 claims description 5
- 239000001301 oxygen Substances 0.000 claims description 5
- 229910052760 oxygen Inorganic materials 0.000 claims description 5
- 230000015572 biosynthetic process Effects 0.000 claims description 4
- 239000002184 metal Substances 0.000 claims description 4
- 230000000694 effects Effects 0.000 description 3
- 238000010521 absorption reaction Methods 0.000 description 2
- 238000010586 diagram Methods 0.000 description 2
- 238000010438 heat treatment Methods 0.000 description 2
- 239000007788 liquid Substances 0.000 description 2
- 239000000428 dust Substances 0.000 description 1
- 238000004880 explosion Methods 0.000 description 1
- 239000000835 fiber Substances 0.000 description 1
- 230000001771 impaired effect Effects 0.000 description 1
- 239000011819 refractory material Substances 0.000 description 1
- 238000005245 sintering Methods 0.000 description 1
- 230000009466 transformation Effects 0.000 description 1
- 238000009423 ventilation Methods 0.000 description 1
Images
Landscapes
- Gas Burners (AREA)
Description
【0001】
【発明の属する技術分野】
この発明は、元混合式の面状火炎型バーナに関するものである。
【0002】
【従来の技術】
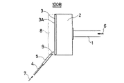
元混合式の面状火炎型バーナとしては、例えば図7に示した構造の元混合式面状火炎型バーナ100Bが知られている。図7において、1は混合ガス供給管、2は混合ガス室、3は燃焼板、4は燃料ガス供給管、5はパイロットバーナ、6は混合ガス、7は燃料ガス、8・9は火炎である。
【0003】
すなわち、このバーナにおいては、燃料ガスと、この燃料ガスの燃焼に必要な量の酸素を含む空気との混合ガス6が、燃焼板3の背面側に位置する混合ガス室2に供給されて多数の図示しない燃焼穴を通り抜け、外側の火炎形成面3Aに平面状に分布する火炎8を形成して燃焼するように仕組まれている。
【0004】
また、このバーナにおいては、先ずパイロットバーナ5の先端から吐出した燃料ガス7に点火して種火としての火炎9を灯し、この火炎によって燃焼板3を通り抜けた混合ガス6に点火して主たる火炎8を形成するようになっている。
【0005】
なお、燃焼板3は、厚板状の耐火材料、例えばメタルファイバーを通気可能な状態に焼結した後、直径1〜2mm程度の微小な燃焼穴(図示せず)を開設して形成するものであり、通常2〜4mm程度の板厚で使用される。
【0006】
上記構成の面状火炎型バーナは、先混合式の単一ノズル型バーナに比べて燃焼の完結が速いため、▲1▼NOX の発生量が低減できる、▲2▼火炎8が長くならないので装置の小型化が図れる、などと云ったメリットがあり、吸収冷凍機における高温再生器の加熱装置などとしても使用されるようになってきている。
【0007】
【発明が解決しようとする課題】
しかし、上記従来の元混合式面状火炎型バーナにおいては、点火手段としてのパイロットバーナを燃焼板の火炎形成面側に設置しているため、混合ガス室の混合ガスに火が付いて爆発すると云った危険性は少ないものの、火炎形成面側の構成が複雑になって被加熱物、例えば高温再生器の液管との間隔を狭めることが困難で装置の小型化に支障を来したり、点火手段が高温に曝されるために耐久性が損なわれると云った問題点もあり、これら問題点の解決が課題となっていた。
【0008】
【課題を解決するための手段】
本発明は上記した従来技術の課題を解決するためになされたもので、燃料ガスおよびこの燃料ガスの燃焼に必要な量の酸素を含む空気が供給される混合ガス室と、この混合ガス室に臨んで配設され、混合ガス室の混合ガスが通過して混合ガス室とは反対側の面に火炎を形成する燃焼穴が多数開設された燃焼板と、点火装置としてのパイロットバーナとを備えて形成される元混合式面状火炎型バーナにおいて、
【0009】
放電点火手段を備えたパイロットバーナを混合ガス室側から燃焼板を貫通して設置し、且つ、放電点火手段を燃焼板の火炎形成面側に位置させるようにした第1の構成の元混合式面状火炎型バーナと、
【0010】
前記第1の構成の元混合式面状火炎型バーナにおいて、放電点火手段に燃料ガスまたは混合ガスを導くパイロットバーナガス供給路の、混合ガス室側の燃焼板面に臨む部分に、ガスが流出可能に開口を設けるようにした第2の構成の元混合式面状火炎型バーナと、
【0011】
前記第2の構成の元混合式面状火炎型バーナにおいて、パイロットバーナガス供給路の開口から流出したガスをパイロットバーナ近傍の燃焼板に導く案内板を、開口の周囲に設けるようにした第3の構成の元混合式面状火炎型バーナと、
【0012】
前記第2または第3の構成の元混合式面状火炎型バーナにおいて、パイロットバーナガス供給路を流れるガスの一部が開口から流出して燃焼板を通過し、残部が開口から流出することなく放電点火手段に到達するように、パイロットバーナガス供給路の放電点火手段側端部にも開口を設けるようにした第4の構成の元混合式面状火炎型バーナと、
【0013】
前記第2または第3の構成の元混合式面状火炎型バーナにおいて、パイロットバーナガス供給路を流れるガスの全量が開口から流出して燃焼板を通過するように、パイロットバーナガス供給路の放電点火手段側端部を閉鎖するようにした第5の構成の合式面状火炎型バーナと、
【0014】
前記第1〜第5の構成の元混合式面状火炎型バーナにおいて、パイロットバーナガス供給路を導電性金属パイプによって形成し、放電点火手段の電極の一方を構成するようにした第6の構成の合式面状火炎型バーナと、
を提供することにより、前記従来技術の課題を解決するものである。
【0015】
【発明の実施の形態】
以下、図1〜図6に基づいて本発明の実施形態を詳細に説明する。なお、理解を容易にするため、これらの図においても前記図7において説明した部分と同様の機能を有する部分には、同一の符号を付した。
【0016】
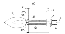
本発明の元混合式面状火炎型バーナ100は、図1に示したように混合ガス室2と燃焼板3とを貫通し、且つ、その火炎9が燃焼板3の火炎形成面3A側に形成されるようにパイロットバーナ5を取り付けて形成される。
【0017】
そして、パイロットバーナ5は、例えば図2に示したように、その燃料ガス供給管4から供給された燃料ガス7を燃焼板3の火炎形成面3Aの側に導くための両端が開口した導電性金属からなるパイプ51と、このパイプの中に挿入・固定されたスパークロッド52とを備えて形成され、スパークロッド52の先端部に取り付けたL字状に屈曲した電極53の先端部を開口51Aから突出させ、電極53とパイプ51との間に所要の電圧を印加して、電極53とパイプ51との間で放電するように構成している。
【0018】
電極53とパイプ51の間との放電は、高周波放電のように連続させても良いし、直流放電を瞬間的に起こさせるものであっても良い。また、瞬間的な直流放電を短い間隔で繰り返すように構成しても良い。
【0019】
したがって、上記構成の元混合式面状火炎型バーナ100においては、燃料ガス供給管4から燃料ガス7を供給しながら電極53とパイプ51との間に所要の電圧を印加すると、電極53とパイプ51との間で放電が起こり、開口51Aから流出する燃料ガス7に着火して火炎9が形成される(燃焼に必要な酸素はパイロットバーナ5外の空気から供給される)。
【0020】
このため、混合ガス供給管1から混合ガス6を供給すると、燃焼板3を通過した混合ガス6に火炎9から着火して火炎8が形成される。
【0021】
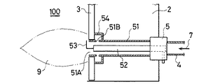
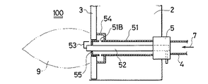
また、本発明の元混合式面状火炎型バーナ100は、図3のように構成することもできる。この図3に示した元混合式面状火炎型バーナ100と、前記図2に示した元混合式面状火炎型バーナ100との相違点は、燃焼板3の混合ガス室2側、すなわち火炎形成面3Aの反対側である裏面3Bに臨むパイプ51の部分に、開口51Bを周方向に断続的に設けて、燃料ガス供給管4から供給された燃料ガス7の一部がここから混合ガス室2に流出するように構成している。
【0022】
このため、この構成の元混合式面状火炎型バーナ100においては、開口51Aから流出して燃える燃料ガス7の周囲に、開口51Bから流出して燃焼板3を通過した燃料ガス7が供給されるので、拡がりのある火炎9が形成され、燃焼板3を通過した混合ガス6への着火が容易になる。
【0023】
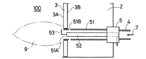
また、本発明の元混合式面状火炎型バーナ100は、図4のように構成することもできる。この図4に示した元混合式面状火炎型バーナ100と、前記図3に示した元混合式面状火炎型バーナ100との相違点は、開口51Bから流出した燃料ガス7が容積の大きい混合ガス室2に拡がることなく、燃焼板3のパイロットバーナ5側を通過するように、案内板54を取り付けた点である。
【0024】
したがって、この構成の元混合式面状火炎型バーナ100においては、開口51Aから流出して燃える燃料ガス7の周囲に、開口51Bから流出した燃料ガス7が確実に供給されるので、燃焼板3を通過した混合ガス6への着火に都合の良い拡がりのある火炎9を形成する作用効果が強化される。
【0025】
また、本発明の元混合式面状火炎型バーナ100は、図5のように構成することもできる。この図5に示した元混合式面状火炎型バーナ100と、前記図4に示した元混合式面状火炎型バーナ100との相違点は、前記図4に示した元混合式面状火炎型バーナ100においては、燃料ガス供給管4から供給された燃料ガス7が開口51Aと51Bから流出できたのに対して、図5に示した元混合式面状火炎型バーナ100においては開口51Bだけから流出するように、パイプ51の先端をタブ板55によって閉鎖した点である。
【0026】
したがって、この構成の元混合式面状火炎型バーナ100においては、燃料ガス供給管4から供給される燃料ガス7は、開口51Bだけから流出して燃えるので、燃焼板3を通過した混合ガス6への着火に都合の良い拡がりのある火炎9を形成する作用効果が一層強化される。
【0027】
また、本発明の元混合式面状火炎型バーナ100は、図6のように構成することもできる。この図6に示した元混合式面状火炎型バーナ100と、前記図5に示した元混合式面状火炎型バーナ100との相違点は、前記図5の元混合式面状火炎型バーナ100から案内板54を省いた点にある。
【0028】
したがって、この構成の元混合式面状火炎型バーナ100においても、燃料ガス供給管4から供給される燃料ガス7は、開口51Bだけから流出して燃えるので、燃焼板3を通過した混合ガス6への着火に都合の良い拡がりのある火炎9が形成される。
【0029】
なお、本発明は上記実施形態に限定されるものではないので、特許請求の範囲に記載の趣旨から逸脱しない範囲で各種の変形実施が可能である。
【0030】
例えば、パイロットバーナ5は、燃料ガスと、その燃料ガスの燃焼に必要な量の酸素を含んだ空気との混合ガスが点火手段に供給されるようにしても良い。
【0031】
また、混合ガス室2に取り込む空気の図示しない取り入れ口に、空気中の粉塵を取り除くためのフィルターを設置するようにしても良い。
【0032】
【発明の効果】
以上説明したように、本発明になる元混合式面状火炎型バーナにおいては、点火手段としてのパイロットバーナが混合ガス室の側から燃焼板を貫通しているので、混合ガス室のガスに着火して爆発すると云った危険性がない。
【0033】
また、火炎が形成される側の構成が複雑になっていないので、例えば吸収冷凍機における高温再生器の加熱手段として使用するような場合には、高温再生器の液管との間隔を狭めて小型化が図れるし、パイロットバーナが高温に曝される構造となっていないのでその耐久性が低下することもない。
【0034】
また、請求項2以下の発明では、パイロットバーナの火炎が拡がるので、メインの火炎を形成するのが容易になると云った利点がある。
【図面の簡単な説明】
【図1】本発明になるバーナの全体構成を示す説明図である。
【図2】本発明になるバーナの要部の一構成例を示す説明図である。
【図3】本発明になるバーナの要部の他の構成例を示す説明図である。
【図4】本発明になるバーナの要部の他の構成例を示す説明図である。
【図5】本発明になるバーナの要部の他の構成例を示す説明図である。
【図6】本発明になるバーナの要部の他の構成例を示す説明図である。
【図7】従来技術の説明図である。
【符号の説明】
1 混合ガス供給管
2 混合ガス室
3 燃焼板
3A 火炎形成面
3B 裏面
4 燃料ガス供給管
5 パイロットバーナ
6 混合ガス
7 燃料ガス
8・9 火炎
51 パイプ
51A・51B 開口
52 スパークロッド
53 電極
54 案内板
100・100B 元混合式面状火炎型バーナ
【発明の属する技術分野】
この発明は、元混合式の面状火炎型バーナに関するものである。
【0002】
【従来の技術】
元混合式の面状火炎型バーナとしては、例えば図7に示した構造の元混合式面状火炎型バーナ100Bが知られている。図7において、1は混合ガス供給管、2は混合ガス室、3は燃焼板、4は燃料ガス供給管、5はパイロットバーナ、6は混合ガス、7は燃料ガス、8・9は火炎である。
【0003】
すなわち、このバーナにおいては、燃料ガスと、この燃料ガスの燃焼に必要な量の酸素を含む空気との混合ガス6が、燃焼板3の背面側に位置する混合ガス室2に供給されて多数の図示しない燃焼穴を通り抜け、外側の火炎形成面3Aに平面状に分布する火炎8を形成して燃焼するように仕組まれている。
【0004】
また、このバーナにおいては、先ずパイロットバーナ5の先端から吐出した燃料ガス7に点火して種火としての火炎9を灯し、この火炎によって燃焼板3を通り抜けた混合ガス6に点火して主たる火炎8を形成するようになっている。
【0005】
なお、燃焼板3は、厚板状の耐火材料、例えばメタルファイバーを通気可能な状態に焼結した後、直径1〜2mm程度の微小な燃焼穴(図示せず)を開設して形成するものであり、通常2〜4mm程度の板厚で使用される。
【0006】
上記構成の面状火炎型バーナは、先混合式の単一ノズル型バーナに比べて燃焼の完結が速いため、▲1▼NOX の発生量が低減できる、▲2▼火炎8が長くならないので装置の小型化が図れる、などと云ったメリットがあり、吸収冷凍機における高温再生器の加熱装置などとしても使用されるようになってきている。
【0007】
【発明が解決しようとする課題】
しかし、上記従来の元混合式面状火炎型バーナにおいては、点火手段としてのパイロットバーナを燃焼板の火炎形成面側に設置しているため、混合ガス室の混合ガスに火が付いて爆発すると云った危険性は少ないものの、火炎形成面側の構成が複雑になって被加熱物、例えば高温再生器の液管との間隔を狭めることが困難で装置の小型化に支障を来したり、点火手段が高温に曝されるために耐久性が損なわれると云った問題点もあり、これら問題点の解決が課題となっていた。
【0008】
【課題を解決するための手段】
本発明は上記した従来技術の課題を解決するためになされたもので、燃料ガスおよびこの燃料ガスの燃焼に必要な量の酸素を含む空気が供給される混合ガス室と、この混合ガス室に臨んで配設され、混合ガス室の混合ガスが通過して混合ガス室とは反対側の面に火炎を形成する燃焼穴が多数開設された燃焼板と、点火装置としてのパイロットバーナとを備えて形成される元混合式面状火炎型バーナにおいて、
【0009】
放電点火手段を備えたパイロットバーナを混合ガス室側から燃焼板を貫通して設置し、且つ、放電点火手段を燃焼板の火炎形成面側に位置させるようにした第1の構成の元混合式面状火炎型バーナと、
【0010】
前記第1の構成の元混合式面状火炎型バーナにおいて、放電点火手段に燃料ガスまたは混合ガスを導くパイロットバーナガス供給路の、混合ガス室側の燃焼板面に臨む部分に、ガスが流出可能に開口を設けるようにした第2の構成の元混合式面状火炎型バーナと、
【0011】
前記第2の構成の元混合式面状火炎型バーナにおいて、パイロットバーナガス供給路の開口から流出したガスをパイロットバーナ近傍の燃焼板に導く案内板を、開口の周囲に設けるようにした第3の構成の元混合式面状火炎型バーナと、
【0012】
前記第2または第3の構成の元混合式面状火炎型バーナにおいて、パイロットバーナガス供給路を流れるガスの一部が開口から流出して燃焼板を通過し、残部が開口から流出することなく放電点火手段に到達するように、パイロットバーナガス供給路の放電点火手段側端部にも開口を設けるようにした第4の構成の元混合式面状火炎型バーナと、
【0013】
前記第2または第3の構成の元混合式面状火炎型バーナにおいて、パイロットバーナガス供給路を流れるガスの全量が開口から流出して燃焼板を通過するように、パイロットバーナガス供給路の放電点火手段側端部を閉鎖するようにした第5の構成の合式面状火炎型バーナと、
【0014】
前記第1〜第5の構成の元混合式面状火炎型バーナにおいて、パイロットバーナガス供給路を導電性金属パイプによって形成し、放電点火手段の電極の一方を構成するようにした第6の構成の合式面状火炎型バーナと、
を提供することにより、前記従来技術の課題を解決するものである。
【0015】
【発明の実施の形態】
以下、図1〜図6に基づいて本発明の実施形態を詳細に説明する。なお、理解を容易にするため、これらの図においても前記図7において説明した部分と同様の機能を有する部分には、同一の符号を付した。
【0016】
本発明の元混合式面状火炎型バーナ100は、図1に示したように混合ガス室2と燃焼板3とを貫通し、且つ、その火炎9が燃焼板3の火炎形成面3A側に形成されるようにパイロットバーナ5を取り付けて形成される。
【0017】
そして、パイロットバーナ5は、例えば図2に示したように、その燃料ガス供給管4から供給された燃料ガス7を燃焼板3の火炎形成面3Aの側に導くための両端が開口した導電性金属からなるパイプ51と、このパイプの中に挿入・固定されたスパークロッド52とを備えて形成され、スパークロッド52の先端部に取り付けたL字状に屈曲した電極53の先端部を開口51Aから突出させ、電極53とパイプ51との間に所要の電圧を印加して、電極53とパイプ51との間で放電するように構成している。
【0018】
電極53とパイプ51の間との放電は、高周波放電のように連続させても良いし、直流放電を瞬間的に起こさせるものであっても良い。また、瞬間的な直流放電を短い間隔で繰り返すように構成しても良い。
【0019】
したがって、上記構成の元混合式面状火炎型バーナ100においては、燃料ガス供給管4から燃料ガス7を供給しながら電極53とパイプ51との間に所要の電圧を印加すると、電極53とパイプ51との間で放電が起こり、開口51Aから流出する燃料ガス7に着火して火炎9が形成される(燃焼に必要な酸素はパイロットバーナ5外の空気から供給される)。
【0020】
このため、混合ガス供給管1から混合ガス6を供給すると、燃焼板3を通過した混合ガス6に火炎9から着火して火炎8が形成される。
【0021】
また、本発明の元混合式面状火炎型バーナ100は、図3のように構成することもできる。この図3に示した元混合式面状火炎型バーナ100と、前記図2に示した元混合式面状火炎型バーナ100との相違点は、燃焼板3の混合ガス室2側、すなわち火炎形成面3Aの反対側である裏面3Bに臨むパイプ51の部分に、開口51Bを周方向に断続的に設けて、燃料ガス供給管4から供給された燃料ガス7の一部がここから混合ガス室2に流出するように構成している。
【0022】
このため、この構成の元混合式面状火炎型バーナ100においては、開口51Aから流出して燃える燃料ガス7の周囲に、開口51Bから流出して燃焼板3を通過した燃料ガス7が供給されるので、拡がりのある火炎9が形成され、燃焼板3を通過した混合ガス6への着火が容易になる。
【0023】
また、本発明の元混合式面状火炎型バーナ100は、図4のように構成することもできる。この図4に示した元混合式面状火炎型バーナ100と、前記図3に示した元混合式面状火炎型バーナ100との相違点は、開口51Bから流出した燃料ガス7が容積の大きい混合ガス室2に拡がることなく、燃焼板3のパイロットバーナ5側を通過するように、案内板54を取り付けた点である。
【0024】
したがって、この構成の元混合式面状火炎型バーナ100においては、開口51Aから流出して燃える燃料ガス7の周囲に、開口51Bから流出した燃料ガス7が確実に供給されるので、燃焼板3を通過した混合ガス6への着火に都合の良い拡がりのある火炎9を形成する作用効果が強化される。
【0025】
また、本発明の元混合式面状火炎型バーナ100は、図5のように構成することもできる。この図5に示した元混合式面状火炎型バーナ100と、前記図4に示した元混合式面状火炎型バーナ100との相違点は、前記図4に示した元混合式面状火炎型バーナ100においては、燃料ガス供給管4から供給された燃料ガス7が開口51Aと51Bから流出できたのに対して、図5に示した元混合式面状火炎型バーナ100においては開口51Bだけから流出するように、パイプ51の先端をタブ板55によって閉鎖した点である。
【0026】
したがって、この構成の元混合式面状火炎型バーナ100においては、燃料ガス供給管4から供給される燃料ガス7は、開口51Bだけから流出して燃えるので、燃焼板3を通過した混合ガス6への着火に都合の良い拡がりのある火炎9を形成する作用効果が一層強化される。
【0027】
また、本発明の元混合式面状火炎型バーナ100は、図6のように構成することもできる。この図6に示した元混合式面状火炎型バーナ100と、前記図5に示した元混合式面状火炎型バーナ100との相違点は、前記図5の元混合式面状火炎型バーナ100から案内板54を省いた点にある。
【0028】
したがって、この構成の元混合式面状火炎型バーナ100においても、燃料ガス供給管4から供給される燃料ガス7は、開口51Bだけから流出して燃えるので、燃焼板3を通過した混合ガス6への着火に都合の良い拡がりのある火炎9が形成される。
【0029】
なお、本発明は上記実施形態に限定されるものではないので、特許請求の範囲に記載の趣旨から逸脱しない範囲で各種の変形実施が可能である。
【0030】
例えば、パイロットバーナ5は、燃料ガスと、その燃料ガスの燃焼に必要な量の酸素を含んだ空気との混合ガスが点火手段に供給されるようにしても良い。
【0031】
また、混合ガス室2に取り込む空気の図示しない取り入れ口に、空気中の粉塵を取り除くためのフィルターを設置するようにしても良い。
【0032】
【発明の効果】
以上説明したように、本発明になる元混合式面状火炎型バーナにおいては、点火手段としてのパイロットバーナが混合ガス室の側から燃焼板を貫通しているので、混合ガス室のガスに着火して爆発すると云った危険性がない。
【0033】
また、火炎が形成される側の構成が複雑になっていないので、例えば吸収冷凍機における高温再生器の加熱手段として使用するような場合には、高温再生器の液管との間隔を狭めて小型化が図れるし、パイロットバーナが高温に曝される構造となっていないのでその耐久性が低下することもない。
【0034】
また、請求項2以下の発明では、パイロットバーナの火炎が拡がるので、メインの火炎を形成するのが容易になると云った利点がある。
【図面の簡単な説明】
【図1】本発明になるバーナの全体構成を示す説明図である。
【図2】本発明になるバーナの要部の一構成例を示す説明図である。
【図3】本発明になるバーナの要部の他の構成例を示す説明図である。
【図4】本発明になるバーナの要部の他の構成例を示す説明図である。
【図5】本発明になるバーナの要部の他の構成例を示す説明図である。
【図6】本発明になるバーナの要部の他の構成例を示す説明図である。
【図7】従来技術の説明図である。
【符号の説明】
1 混合ガス供給管
2 混合ガス室
3 燃焼板
3A 火炎形成面
3B 裏面
4 燃料ガス供給管
5 パイロットバーナ
6 混合ガス
7 燃料ガス
8・9 火炎
51 パイプ
51A・51B 開口
52 スパークロッド
53 電極
54 案内板
100・100B 元混合式面状火炎型バーナ
Claims (6)
- 燃料ガスおよびこの燃料ガスの燃焼に必要な量の酸素を含む空気が供給される混合ガス室と、この混合ガス室に臨んで配設され、混合ガス室の混合ガスが通過して混合ガス室とは反対側の面に火炎を形成する燃焼穴が多数開設された燃焼板と、点火装置としてのパイロットバーナとを備えて形成される元混合式面状火炎型バーナであって、
放電点火手段を備えたパイロットバーナを混合ガス室側から燃焼板を貫通して設置し、且つ、放電点火手段を燃焼板の火炎形成面側に位置させたことを特徴とする元混合式面状火炎型バーナ。 - 放電点火手段に燃料ガスまたは混合ガスを導くパイロットバーナガス供給路の、混合ガス室側の燃焼板面に臨む部分に、ガスが流出可能に開口が設けられたことを特徴とする請求項1記載の元混合式面状火炎型バーナ。
- パイロットバーナガス供給路の開口から流出したガスをパイロットバーナ近傍の燃焼板に導く案内板が、開口の周囲に設けられたことを特徴とする請求項2記載の元混合式面状火炎型バーナ。
- パイロットバーナガス供給路を流れるガスの一部が開口から流出して燃焼板を通過し、残部が開口から流出することなく放電点火手段に到達するように、パイロットバーナガス供給路の放電点火手段側端部にも開口が設けられたことを特徴とする請求項2または3記載の元混合式面状火炎型バーナ。
- パイロットバーナガス供給路を流れるガスの全量が開口から流出して燃焼板を通過するように、パイロットバーナガス供給路の放電点火手段側端部が閉鎖されたことを特徴とする請求項2または3記載の元混合式面状火炎型バーナ。
- パイロットバーナガス供給路が導電性金属パイプによって形成され、放電点火手段の電極の一方を構成していることを特徴とする請求項1〜5何れかに記載の元混合式面状火炎型バーナ。
Priority Applications (1)
| Application Number | Priority Date | Filing Date | Title |
|---|---|---|---|
| JP18227996A JP3649811B2 (ja) | 1996-07-11 | 1996-07-11 | 元混合式面状火炎型バーナ |
Applications Claiming Priority (1)
| Application Number | Priority Date | Filing Date | Title |
|---|---|---|---|
| JP18227996A JP3649811B2 (ja) | 1996-07-11 | 1996-07-11 | 元混合式面状火炎型バーナ |
Publications (2)
| Publication Number | Publication Date |
|---|---|
| JPH1026313A JPH1026313A (ja) | 1998-01-27 |
| JP3649811B2 true JP3649811B2 (ja) | 2005-05-18 |
Family
ID=16115500
Family Applications (1)
| Application Number | Title | Priority Date | Filing Date |
|---|---|---|---|
| JP18227996A Expired - Fee Related JP3649811B2 (ja) | 1996-07-11 | 1996-07-11 | 元混合式面状火炎型バーナ |
Country Status (1)
| Country | Link |
|---|---|
| JP (1) | JP3649811B2 (ja) |
Families Citing this family (4)
| Publication number | Priority date | Publication date | Assignee | Title |
|---|---|---|---|---|
| KR100515605B1 (ko) * | 2002-09-16 | 2005-09-16 | 주식회사 포스코 | 주연료 공급관과 파일럿 버너가 일체화된 축열식 복사관버너 |
| JP2013194995A (ja) * | 2012-03-21 | 2013-09-30 | Nepon Inc | 予混合バーナ |
| JP5310898B1 (ja) * | 2012-04-02 | 2013-10-09 | システム環境株式会社 | メタルニットバーナ |
| CN103375799A (zh) * | 2012-04-13 | 2013-10-30 | 广州市红日燃具有限公司 | 一种红外线燃气燃烧器 |
-
1996
- 1996-07-11 JP JP18227996A patent/JP3649811B2/ja not_active Expired - Fee Related
Also Published As
| Publication number | Publication date |
|---|---|
| JPH1026313A (ja) | 1998-01-27 |
Similar Documents
| Publication | Publication Date | Title |
|---|---|---|
| EP0801265B1 (en) | Combustion apparatus | |
| JP3649811B2 (ja) | 元混合式面状火炎型バーナ | |
| JP3215994B2 (ja) | 燃焼器 | |
| JPH06511530A (ja) | 触媒コンバータ | |
| JPS604713A (ja) | 燃焼装置 | |
| JPS5817364B2 (ja) | 低NOxラジアントチユ−ブバ−ナ | |
| GB2073868A (en) | Improvements in or relating to gas hobs | |
| JP3133521B2 (ja) | 外燃機関の加熱装置 | |
| JP3191026B2 (ja) | 多面燃焼バーナ | |
| JP2831224B2 (ja) | 燃焼装置 | |
| JPH1038222A (ja) | 元混合式面状火炎型バーナ | |
| JP2838653B2 (ja) | 液体燃料燃焼装置 | |
| JPS62119311A (ja) | 燃焼装置 | |
| JPS599153Y2 (ja) | パイプ状ガスバ−ナ | |
| JP2830716B2 (ja) | 液体燃料燃焼装置 | |
| JPH02183708A (ja) | 燃焼装置 | |
| JPS6152516A (ja) | 燃焼装置のバ−ナ− | |
| JPS60223916A (ja) | 倒立拡散火炎燃焼器 | |
| JPS60152809A (ja) | バ−ナ | |
| JPS6383515A (ja) | バ−ナ | |
| JPS61208418A (ja) | ガスバ−ナ | |
| JPS62228810A (ja) | 燃焼装置 | |
| JPS5912216A (ja) | 石油燃焼器 | |
| JPH04297707A (ja) | 燃焼装置 | |
| JPH03102117A (ja) | バーナ装置 |
Legal Events
| Date | Code | Title | Description |
|---|---|---|---|
| A977 | Report on retrieval |
Free format text: JAPANESE INTERMEDIATE CODE: A971007 Effective date: 20050117 |
|
| TRDD | Decision of grant or rejection written | ||
| A01 | Written decision to grant a patent or to grant a registration (utility model) |
Free format text: JAPANESE INTERMEDIATE CODE: A01 Effective date: 20050201 |
|
| A61 | First payment of annual fees (during grant procedure) |
Free format text: JAPANESE INTERMEDIATE CODE: A61 Effective date: 20050216 |
|
| LAPS | Cancellation because of no payment of annual fees |