JP3645274B2 - 電力変換手段 - Google Patents
電力変換手段 Download PDFInfo
- Publication number
- JP3645274B2 JP3645274B2 JP19132391A JP19132391A JP3645274B2 JP 3645274 B2 JP3645274 B2 JP 3645274B2 JP 19132391 A JP19132391 A JP 19132391A JP 19132391 A JP19132391 A JP 19132391A JP 3645274 B2 JP3645274 B2 JP 3645274B2
- Authority
- JP
- Japan
- Prior art keywords
- voltage
- terminal
- triac
- magnitude
- energy storage
- Prior art date
- Legal status (The legal status is an assumption and is not a legal conclusion. Google has not performed a legal analysis and makes no representation as to the accuracy of the status listed.)
- Expired - Fee Related
Links
Images
Landscapes
- Power Conversion In General (AREA)
- Emergency Protection Circuit Devices (AREA)
- Rectifiers (AREA)
Description
【0001】
【技 術 分 野】
本発明は、「出力電圧を出力する出力用変圧手段」が複数の主スイッチング手段を駆動する駆動用変圧手段を兼ね、その変圧手段の出力用インダクタンス手段が整流手段を介して「充放電を行うことができる出力側エネルギー蓄積手段(例:出力用電源コンデンサ。)」等に接続される場合『起動や再起動を容易にしたり、あるいは、その出力側エネルギー蓄積手段による突入電流を防止したりすることが自動的にできる』電力変換手段に関する。つまり、その出力側エネルギー蓄積手段の電圧の大きさがどうであろうとも自動的に対応して「起動や再起動を容易にしたり」又は「その出力側エネルギー蓄積手段による突入電流を防止したり」することができる。
【0002】
【背 景 技 術】
従来の自励式の電力変換手段の1例(参考:特開平2−299474号、特開平3−56073号)を図3に示す。図3の回路はコイル72とコンデンサ73、74が共振回路を形成する共振型DC−DCコンバータ回路である。「駆動用変圧器64と逆並列接続した両ダイオード66」がトランジスタ70、71の各主電流(ドレイン電流)から各ゲート駆動電圧を形成して各ゲート・ソース間に正帰還している。このため、トランジスタ70、71、駆動用変圧器64及び両ダイオード66等は自己保持機能を持つ切換えスイッチング回路を構成する。各「抵抗68とダイオード67の並列回路」は各ターン・オンだけを遅らせてトランジスタ70、71の同時オンを防止する。スイッチ50、コンデンサ51、抵抗52、53及びダイオード54は起動手段を構成する。
【0003】
その動作は簡単に説明すると次の通りである。電源スイッチ2のオン後スイッチ50をオンにすると、図3の回路は発振し始め、その出力電圧は出力用変圧器65からブリッジ接続型の整流回路56を経て出力側のコンデンサ41と負荷57に出力される。その電力変換の際にその直列共振電流が反転してトランジスタ70、71の各内蔵ダイオードを流れる度に、駆動用変圧器64が出力する各ゲート駆動電圧も反転するので、各オン・オフが入れ換わる。あるいは、その直列共振電流が途切れると、駆動用変圧器64と各ゲート・ソース間静電容量が共振して各ゲート駆動電圧が反転し、各オン・オフが入れ換わる。
【0004】
図3の回路の欠点は、「駆動用変圧器64と出力用変圧器65の2つ」と「逆並列接続した2つのダイオード66」が必要なため、部品点数が多く、高コストになることである。その欠点を解決したのが、図4に示す本発明者の先行技術(特願平2−221116号)の回路である。図4の回路は駆動用変圧器と出力用変圧器を共通化して1つにまとめた変圧器55を使用するので、部品点数が少なく、低コストになるという利点が有る。
しかしその一方で、駆動用変圧器と出力用変圧器が独立している場合に比べて『(負荷や)コンデンサ41(エネルギー蓄槓手段)のために起動や再起動がし難い』という第1の問題点が図4の回路に有る。 ( 第1の問題点 )
その理由は、その起動時や再起動時コンデンサ41の電圧がゼロ又は低い場合、コンデンサ41(や負荷)が整流回路56と変圧器55を介し駆動巻線55b、55cの各両端を短絡したり、あるいは、低電圧でクランプしたりして充分な各ゲート駆動電圧が各ゲートに供給されるのを妨げるからである。特に入力巻線55aと出力巻線55dの巻数比あるいはコンデンサ41の静電容量(エネルギー蓄積容量)が大きい時、(または重負荷の時)起動し難くなるので、その起動エネルギーも大きくする必要が有る。
【0005】
当然その大きな起動エネルギーは突入電流の形で悪影響を図4の回路に与える。具体的に言えば、その大きな起動エネルギーを供給するためにコンデンサ51の静電容量を大きくし、抵抗53を抵抗値を小さくする結果、大きな起動電流がスイッチ50からコンデンサ51、抵抗53、ダイオード54、変圧器55及び整流回路56等を介して先ずコンデンサ41を充電してからトランジスタ70、71の各ゲートに充分な各ゲート駆動電圧を供給することになる。つまり、その起動時コンデンサ41の突入電流がその起動手段を介して流れてしまうのである。この事はその再起動時コンデンサ41の電圧がゼロ又は小さい場合でも同様である。従って、『その出力側エネルギー蓄積手段(例:出力用電源コンデンサ)が原因で突入電流が流れてしまう』という第2の問題点が有る。( 第2の問題点 )
尚、コンデンサ41の電圧がゼロ又は小さい限り、トランジスタ70、71に供給される各ゲート駆動電圧も小さいので、「そのオフ駆動される側」はむろんのこと「そのオン駆動される側」のドレイン・ソース間抵抗も大きいままである。しかも、コイル72による電流制限作用も有るので、そのコンデンサ突入電流はトランジスタ70又は71側からは流れ難い。また、前記第1、第2の問題点は一般的なDC−DCコンバータ回路についても同様である。
【0006】
【発 明 の 目 的】
そこで、本発明は『起動や再起動を容易にしたり、あるいは、突入電流を防止したりすることが自動的にできる』電力変換手段を提供することを目的としている。つまり、その出力側エネルギー蓄積手段の電圧の大きさがどうであろうとも自動的に対応して「起動や再起動を容易にしたり」又は「出力側エネルギー蓄積手段による突入電流を防止したり」できるようにすることである。
【0007】
【発 明 の 開 示】
即ち、本発明は請求項1記載通りの電力変換手段で、その整流手段とそのエネルギー蓄積手段の間に「前記エネルギー蓄積手段の電圧に応じて動作する直結制御手段」を設けたことを特徴としている。その直結制御手段は実質的に突入電流防止手段と同じ構成で、その検出電圧の大きさがその電圧所定値の大きさ未満であればその第1の電流制限手段だけが前記整流手段と前記エネルギー蓄積手段の間を繋ぎ、前記検出電圧の大きさが前記電圧所定値の大きさ以上であればその並列スイッチング手段が前記整流手段と前記エネルギー蓄積手段の間を直結する。
【0008】
このことによって、本発明の電力変換手段の起動時や再起動時に前記検出電圧の大きさが前記電圧所定値の大きさ未満であれば、「前記エネルギー蓄積手段が前記整流手段とその変圧手段を介してその駆動用インダクタンス手段の駆動動作を妨げること」を前記第1の電流制限手段が防止する。一方、前記検出電圧の大きさが前記電圧所定値の大きさ以上であれば、その出力用インダクタンス手段の出力電力は前記エネルギー蓄積手段に直に効率良く供給される。
【0009】
従って、本発明は『駆動用変圧器と出力用変圧器を共通化して1つにまとめても、出力側に有る前記エネルギー蓄積手段などの影響を受けること無く起動や再起動を自動的に容易にすることができる』という効果を持つ。
ただ単に起動や再起動を容易にできるのではなく、前記エネルギー蓄積手段の電圧の大きさがどうであろうとも自動的に対応して起動や再起動を容易にできるのである。 ( 第1の効果 )
【0010】
ということは「その起動エネルギー等が小さくて済み、突入電流が発生し難くなる」ということになるので、本発明は『その出力側に有る前記エネルギー蓄積手段の電圧の大きさがどうであろうとも自動的に対応して、その前記エネルギー蓄積手段が原因で流れてしまう突入電流を防止することができる』という第2の効果を持つ。 ( 第2の効果 )
【0011】
本発明が請求項2記載の電力変換手段に対応する場合「3端子型トライアックが普通に持つ固有の独特なトリガー動作モード」を活用したので、『構成が簡単で、部品点数が少ない』という効果が本発明に有る。 ( 追加効果 )
その固有の独特なトリガー動作モードでは「スイッチングが可能な両主端子間電圧方向」と「ゲートのトリガー電圧方向」がトランジスタや普通の3端子型サイリスタと違っている。一般的に、3端子型トライアックでは「T2端子がT1端子に対して『正電圧』のときを第1象限の状態、『負電圧』のときを第3象限の状態」と呼ばれ、4つのトリガー動作モードが有る。本発明は「第1象限でゲート電圧が『負』であるトリガー動作モード」と「第3象限でゲート電圧が『正』であるトリガー動作モード」を活用する。ちなみに、「第1象限でゲート電圧が『正』であるトリガー動作モード」は普通のカソード・ゲート型サイリスタのそれと同様であり、「第3象限でゲート電圧が『負』であるトリガー動作モード」は普通のアノード・ゲート型サイリスタのそれと同様である。
【0012】
【発明を実施するための最良の形態】
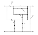
本発明をより詳細に説明するために以下添付図面に従ってこれを説明する。先ず請求項1記載中の「エネルギー蓄積手段、第1の電流制限手段、並列スイッチング手段、電圧検出手段、電圧比較手段および駆動手段」が構成する発明構成部分の1実施例を図1に示す。この構成は実質的に突入電流防止手段と同じ構成で、請求項2記載の電力変換手段の発明構成部分の1実施例でもある。図中62、63は出力端子で、両入力端子60、61は整流手段(図示せず。)を介して出力用インダクタンス手段(図示せず。)に接続される。
【0013】
図1の発明構成部分の実施例では以下の通りそれぞれが前述した請求項1記載中の各構成要素に相当する。
a)コンデンサ41が前述したエネルギー蓄積手段に。
b)抵抗7が前述した第1の電流制限手段に。
c)サイリスタ43が前述した並列スイッチング手段に。
d)「ツェナー・ダイオード40、抵抗39及び『抵抗9とトライアック8のゲート端子・T1端子間PN接合の並列回路』の直列回路」が前述した電圧検出手段に。
尚、抵抗9の電圧(=そのゲート端子・T1端子間の印加電圧)がその検出電圧に相当する。
e)そのゲート端子・T1端子間部分が前述した電圧比較手段に。
尚、「トライアック8がターン・オンするそのゲート端子・T1端子間のゲート・トリガー電圧(ターン・オンしきい値電圧)の大きさ」がその電圧所定値(基準電圧)に相当する。
f)「トライアック8と抵抗17が形成する駆動手段」が前述した駆動手段に。
【0014】
また、図1の発明構成部分の実施例では以下の通りそれぞれが請求項2記載中の各構成要素に相当する。
a)トライアック8が請求項2記載中の3端子型トライアックに。
b)トライアック8のゲート端子とT1端子が請求項2記載中の3端子型トライアックのゲート端子とT1端子に。
c)「トライアック8のゲート端子・T1端子間PN接合と抵抗9の並列回路」が請求項2記載中の第1の電圧降下手段に。
d)ツェナー・ダイオード40が請求項2記載中の第2の電圧降下手段に。
e)抵抗39が請求項2記載中の第2の電流制限手段に。
【0015】
図1の発明構成部分の実施例の場合「ツェナー・ダイオード40と抵抗39、9等の電圧検出動作」はコンデンサ41の電圧を取り出すと同時にそのゲート・トリガー電圧くらいの大きさに対応させる動作であって、取り出したコンデンサ41の電圧からそのツェナー電圧を差し引く等してそれに対応させる動作である。そして、トライアック8は自分がターン・オンするかどうかで抵抗9の電圧とそのゲート・トリガー電圧(=電圧所定値)を比較することになる。
尚、一般的にトライアックのゲート端子・T1端子間には双方向にPN接合が在るので、そのトライアックがターン・オンするまではそのPN接合の静特性によりそのゲート・トリガー電圧とゲート・トリガー電流の間に相関関係が有る。
【0016】
図1の部分実施例の動作は簡単に説明すると次の通りである。トライアック8が「コンデンサ41の電圧に対応する抵抗9の電圧の大きさがそのゲート・トリガー電圧の大きさ以上であるかどうか」を比較する。その大きさが前記ゲート・トリガー電圧の大きさ以上でなければ、トライアック8もサイリスタ43もトリガーされず、抵抗7が、コンデンサ41が両入力端子60、61間を短絡または電圧クランプするのを防止したり、あるいは、コンデンサ41に突入電流が流れるのを防止したりする。一方、その大きさ以上であれば、オンとなるトライアック8がサイリスタ43をトリガーしてサイリスタ43と共に抵抗7の両端を短絡し、両入力端子60、61から入力電力を効率良くコンデンサ41に供給する。
【0017】
ところで、トライアック8の主電流が流れる方向(図1の右から左へ)とそのオン駆動電流が流れる方向(図1の上から下へ)の関係は通常のサイリスタやトランジスタの場合と違っており、その違った関係(先程述べた第3象限でゲート電圧が『正』となるトリガー動作モード)でトライアック8は動作する。つまり、「そのT1端子からT2端子へ向かうスイッチング電圧方向(図1で右から左の方向)」と「そのゲート端子からT1端子へ向かうオン駆動電圧方向(図1で上から下の方向)」の関係が普通と違っており、トライアック8のオン駆動電圧、オン駆動電流の方向は通常のアノード・ゲート型サイリスタやPNP型トランジスタの場合と逆なのである。このため、その電圧極性に合わせるために抵抗9の電圧を反転させる必要が無いので、その構成は簡単になり、少ない部品点数で済む。また、サイリスタ43がトライアック8の電流容量を拡大しているが、サイリスタ43の代わりにバイポーラ・トランジスタを使うことも可能である。
【0018】
図5〜図11各図に「図1の発明構成部分の実施例と同様に働く発明構成部分の実施例」を1つずつ示す。これらの部分実施例ではトライアック(8)が前述した並列スイッチング手段も兼ねる。図5、図7、図9、図10の各部分実施例ではその両入力端子に電圧極性が無く、双方向に機能するので、プラス、マイナスの接続ミスが有っても平気である。図8〜図9の各部分実施例では請求項1又は2記載中の第1又は第2の電流制限手段に定電流手段(定電流ダイオードとバイポーラ・トランジスタの接続体)が使用され、図8〜図11の各部分実施例では温度ヒューズ44が使用されている。図10〜図11の各部分実施例では電流制限作用が多段階に変わるので、コンデンサ41の充電が速くなる。
【0019】
図5の部分実施例ではコンデンサ41の電圧が「両ツェナー・ダイオード40のうち一方のツェナー電圧」と「他方の順電圧」及び「トライアック8のゲート端子・T1端子間のゲート・トリガー電圧」の和を越え、抵抗39の電流がそのゲート・トリガー電流を越えると、コンデンサ41がトライアック8をトリガーし、ターン・オンさせる。結局、トライアック8はコンデンサ41の電圧の大きさに基づいてオン駆動される。その印加電圧方向が片方しか無いと確定しているなら、順方向のツェナー・ダイオード40の両端を短絡して、これを取り除き、図6の部分実施例の様にすることもできる。また、抵抗7の代わりに定電流ダイオード等の様な定電流手段を用いてももちろん構わない。
【0020】
図7の部分実施例では抵抗10が前述した第2の電圧降下手段と第2の電流制限手段を兼ねる。図7の部分実施例は双方向性であるが、図7の様にT1端子側をプラスにした方がトリガー・モードの関係でトライアック8をトリガーし易い。図8の部分実施例の様に定電流ダイオード等の様な定電流手段をその電流制限手段として抵抗7の代わりに用いても構わない。その定電流値を適当に選ぶと、抵抗7を用いた場合より『電源投入後にコンデンサ41の充電が早く済む』という利点が有る。また、抵抗7の代わりに抵抗7又は定電流手段と温度ヒューズの直列回路をその電流制限手段として用いれば、コンデンサ41が壊れて短絡状態になったり、抵抗10が断線したり、トライアック8が壊れたりしてトライアック8がターン・オンしなくなり、抵抗7あるいはその定電流手段が発熱して発煙、発火などの重大事故が起きる場合、その前にその温度ヒューズが切れるので『安全である』という利点が有る。
【0021】
図8の部分実施例では2つの定電流手段のうち一方は定電流ダイオード45とトランジスタ46、47の接続体で構成され、他方は定電流ダイオード48とトランジスタ49の接続体で構成される。前者の使用は図6の部分実施例の抵抗7を使う場合に比べて電源投入後のコンデンサ41の充電時間を短くすることを可能にする。これはその充電電圧が増加してもその充電電流の大きさをほぼ一定にできるからである。後者の使用は図6の実施例の抵抗39を使う場合に比べて定常状態時ゲート・トリガー電流による消費を低減することを可能にする。図9の部分実施例では双方向性の定電流手段が使われている。図10、図11の各部分実施例では図7の部分実施例の様に定電圧手段を使わない構成も可能だし、図8、図9の各部分実施例の様に定電流手段を1つ又は2つ使う構成も可能である。
【0022】
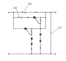
図2に示す全体の実施例は、請求項1又は2記載の電力変換手段に対応し、図6の部分実施例を利用した自励式共振型DC−DCコンバータ回路である。図2の実施例では以下の通りそれぞれが請求項1記載中の各構成要素に相当する。
a)トランジスタ70、71が請求項1記載中の複数のスイッチング手段に。
b)変圧器55、入力巻線55a、駆動巻線55b、55c及び出力巻線55dが請求項1記載中の変圧手段、入力用インダクタンス手段、駆動用インダクタンス手段および出力用インダクタンス手段に。
c)ブリッジ接続型の整流回路56が請求項1記載中の整流手段に。
d)コンデンサ41が請求項1記載中のエネルギー蓄積手段に。
e)抵抗7が請求項1記載中の第1の電流制限手段に。
f)トライアック8が請求項1記載中の並列スイッチング手段に。
g)「『トライアック8のT1端子・ゲート端子間PN接合と抵抗9の並列回路』、ツェナー・ダイオード40及び抵抗39の直列回路」が請求項1記載中の電圧検出手段に。
ただし、抵抗9の電圧(=そのT1端子・ゲート端子間の印加電圧)がその検出電圧に相当する。
h)トライアック8が請求項1記載中の電圧比較手段に。
ただし、「トライアック8がターン・オンするT1端子・ゲート端子間のゲート・トリガー電圧(ターン・オンしきい値電圧)の大きさ」がその電圧所定値(基準電圧)に相当する。
i)トライアック8と抵抗9の接続体が請求項1記載中の駆動手段に。
【0023】
また、図2の実施例では以下の通りそれぞれが請求項2記載中の各構成要素に相当する。
a)ブリッジ接続型の整流回路56が請求項2記載中の全波整流手段に。
b)トライアック8が請求項2記載中の3端子型トライアックに。
c)トライアック8のT1端子とゲート端子が請求項2記載中の3端子型トライアックのT1端子とゲート端子に。
d)「トライアック8のT1端子・ゲート端子間PN接合と抵抗9の並列回路」が請求項2記載中の第1の電圧降下手段に。
e)ツェナー・ダイオード40が請求項2記載中の第2の電圧降下手段に。
f)抵抗39が請求項2記載中の第2の電流制限手段に。
【0024】
トライアック78等の部分は図6の部分実施例を流用した通常の利用方法で、電源コンデンサ111による突入電流を防止する。「スイッチ50、コンデンサ51、抵抗52、53及びダイオード54」は起動手段を構成し、変圧器55は駆動用変圧器と出力用変圧器を兼ねる。図6の部分実施例を利用したトライアック8等の回路部はこの電力変換手段の起動や再起動を助ける。同様に図1、図5、図7〜図11の各部分実施例を図2の回路の様に接続すると、起動や再起動を助けることができる。
【0025】
その動作は次の通りである。電源投入後スイッチ50をターン・オンするとき、コンデンサ41の電圧がゼロや「上記電圧所定値で決まる所定コンデンサ電圧未満」であれば、トライアック8はトリガーされず、オフのままだから、コンデンサ41は整流回路56には直結されず、抵抗7を介した接続状態にある。このため、ダイオード54を流れる起動電流は、変圧器55を介してコンデンサ41の方へはあまり流れず、主に「直接トランジスタ71のゲートの方」と「変圧器55を介してトランジスタ70のゲートの方」へ流れるので、図2の電力変換手段は容易に起動(発振開始)する。その起動後コンデンサ41が次第に抵抗7を介して充電されて行き、その所定コンデンサ電圧以上になると、コンデンサ41がトライアック8をトリガーするので、トライアック8がターン・オンしてコンデンサ41を整流回路56に直結し、この電力変換手段は定常動作状態に移行する。そして、その出力電力が出力巻線55dから整流回路56を介してコンデンサ41や負荷57に効率良く供給される。この事は再起動時でも同じである。
【0026】
従って、『駆動用変圧器と出力用変圧器を共通化して1つにまとめた変圧器55を使用しても、出力側に有るコンデンサ41や負荷57の影響を受けること無く起動や再起動を自動的に容易にすることができる』という第1の効果が図2の実施例に有る。単に起動や再起動を容易にできるのではなく、コンデンサ41の電圧の大きさがどうであろうとも自動的に対応して起動や再起動を容易にできるのである。 ( 第1の効果 )
この様に図4の回路と違って図2の実施例では、コンデンサ41の電圧がゼロであっても「コンデンサ41や負荷57が整流回路56と変圧器55を介して駆動巻線55b、55cの各両端を短絡して各駆動動作を邪魔すること」も無いし、コンデンサ41の電圧が低くても「コンデンサ41が整流回路56と変圧器55を介して駆動巻線55b、55cの各両端を低電圧でクランプして充分な大きさの各ゲート駆動電圧が供給されるのを邪魔すること」も無い。
【0027】
『コンデンサ41の電圧の大きさがどうであろうとも自動的に対応して起動や再起動を容易にできる』ということは「その起動エネルギー等が小さくて済み、起動電流などがコンデンサ41の突入電流にならず、突入電流が発生し難くなる」ということになるので、『コンデンサ41の電圧の大きさがどうであろうとも自動的に対応してコンデンサ41が原因で流れてしまう突入電流を防止することができる』という第2の効果が図2の実施例に有る。 ( 第2の効果 )
【0028】
前述した第1、第2の効果は、図2の実施例だけでなく本発明全体についても言うことができ、一般的なDC−DCコンバータ回路の出力用電源コンデンサのところに本発明の技術を使っても同様に有る。
【0029】
【先 行 技 術】
(1)突入電流防止手段に関する技術:
a)実開昭61−35593号 b)実開昭63−113486号
c)特開平1−270727号 d)特開平2−101954号
(2)電力変換手段に関する技術:
a)特開昭63−294259号 b)特開平2−119575号
c)特開平2−146265号 d)特開平2−299474号
e)特開平3−56073号 f)特願平2−221116号
【図面の簡単な説明】
【図1】発明構成部分の1実施例を示す回路図である。
【図2】発明の電力変換手段の1実施例を示す回路図である。
【図3】従来の電力変換手段の1例を示す回路図である。
【図4】本発明者の先行技術の電力変換手段の1例を示す回路図である。
【図5〜図11】各図は、発明構成部分の実施例を1つずつ示す回路図である。
【技 術 分 野】
本発明は、「出力電圧を出力する出力用変圧手段」が複数の主スイッチング手段を駆動する駆動用変圧手段を兼ね、その変圧手段の出力用インダクタンス手段が整流手段を介して「充放電を行うことができる出力側エネルギー蓄積手段(例:出力用電源コンデンサ。)」等に接続される場合『起動や再起動を容易にしたり、あるいは、その出力側エネルギー蓄積手段による突入電流を防止したりすることが自動的にできる』電力変換手段に関する。つまり、その出力側エネルギー蓄積手段の電圧の大きさがどうであろうとも自動的に対応して「起動や再起動を容易にしたり」又は「その出力側エネルギー蓄積手段による突入電流を防止したり」することができる。
【0002】
【背 景 技 術】
従来の自励式の電力変換手段の1例(参考:特開平2−299474号、特開平3−56073号)を図3に示す。図3の回路はコイル72とコンデンサ73、74が共振回路を形成する共振型DC−DCコンバータ回路である。「駆動用変圧器64と逆並列接続した両ダイオード66」がトランジスタ70、71の各主電流(ドレイン電流)から各ゲート駆動電圧を形成して各ゲート・ソース間に正帰還している。このため、トランジスタ70、71、駆動用変圧器64及び両ダイオード66等は自己保持機能を持つ切換えスイッチング回路を構成する。各「抵抗68とダイオード67の並列回路」は各ターン・オンだけを遅らせてトランジスタ70、71の同時オンを防止する。スイッチ50、コンデンサ51、抵抗52、53及びダイオード54は起動手段を構成する。
【0003】
その動作は簡単に説明すると次の通りである。電源スイッチ2のオン後スイッチ50をオンにすると、図3の回路は発振し始め、その出力電圧は出力用変圧器65からブリッジ接続型の整流回路56を経て出力側のコンデンサ41と負荷57に出力される。その電力変換の際にその直列共振電流が反転してトランジスタ70、71の各内蔵ダイオードを流れる度に、駆動用変圧器64が出力する各ゲート駆動電圧も反転するので、各オン・オフが入れ換わる。あるいは、その直列共振電流が途切れると、駆動用変圧器64と各ゲート・ソース間静電容量が共振して各ゲート駆動電圧が反転し、各オン・オフが入れ換わる。
【0004】
図3の回路の欠点は、「駆動用変圧器64と出力用変圧器65の2つ」と「逆並列接続した2つのダイオード66」が必要なため、部品点数が多く、高コストになることである。その欠点を解決したのが、図4に示す本発明者の先行技術(特願平2−221116号)の回路である。図4の回路は駆動用変圧器と出力用変圧器を共通化して1つにまとめた変圧器55を使用するので、部品点数が少なく、低コストになるという利点が有る。
しかしその一方で、駆動用変圧器と出力用変圧器が独立している場合に比べて『(負荷や)コンデンサ41(エネルギー蓄槓手段)のために起動や再起動がし難い』という第1の問題点が図4の回路に有る。 ( 第1の問題点 )
その理由は、その起動時や再起動時コンデンサ41の電圧がゼロ又は低い場合、コンデンサ41(や負荷)が整流回路56と変圧器55を介し駆動巻線55b、55cの各両端を短絡したり、あるいは、低電圧でクランプしたりして充分な各ゲート駆動電圧が各ゲートに供給されるのを妨げるからである。特に入力巻線55aと出力巻線55dの巻数比あるいはコンデンサ41の静電容量(エネルギー蓄積容量)が大きい時、(または重負荷の時)起動し難くなるので、その起動エネルギーも大きくする必要が有る。
【0005】
当然その大きな起動エネルギーは突入電流の形で悪影響を図4の回路に与える。具体的に言えば、その大きな起動エネルギーを供給するためにコンデンサ51の静電容量を大きくし、抵抗53を抵抗値を小さくする結果、大きな起動電流がスイッチ50からコンデンサ51、抵抗53、ダイオード54、変圧器55及び整流回路56等を介して先ずコンデンサ41を充電してからトランジスタ70、71の各ゲートに充分な各ゲート駆動電圧を供給することになる。つまり、その起動時コンデンサ41の突入電流がその起動手段を介して流れてしまうのである。この事はその再起動時コンデンサ41の電圧がゼロ又は小さい場合でも同様である。従って、『その出力側エネルギー蓄積手段(例:出力用電源コンデンサ)が原因で突入電流が流れてしまう』という第2の問題点が有る。( 第2の問題点 )
尚、コンデンサ41の電圧がゼロ又は小さい限り、トランジスタ70、71に供給される各ゲート駆動電圧も小さいので、「そのオフ駆動される側」はむろんのこと「そのオン駆動される側」のドレイン・ソース間抵抗も大きいままである。しかも、コイル72による電流制限作用も有るので、そのコンデンサ突入電流はトランジスタ70又は71側からは流れ難い。また、前記第1、第2の問題点は一般的なDC−DCコンバータ回路についても同様である。
【0006】
【発 明 の 目 的】
そこで、本発明は『起動や再起動を容易にしたり、あるいは、突入電流を防止したりすることが自動的にできる』電力変換手段を提供することを目的としている。つまり、その出力側エネルギー蓄積手段の電圧の大きさがどうであろうとも自動的に対応して「起動や再起動を容易にしたり」又は「出力側エネルギー蓄積手段による突入電流を防止したり」できるようにすることである。
【0007】
【発 明 の 開 示】
即ち、本発明は請求項1記載通りの電力変換手段で、その整流手段とそのエネルギー蓄積手段の間に「前記エネルギー蓄積手段の電圧に応じて動作する直結制御手段」を設けたことを特徴としている。その直結制御手段は実質的に突入電流防止手段と同じ構成で、その検出電圧の大きさがその電圧所定値の大きさ未満であればその第1の電流制限手段だけが前記整流手段と前記エネルギー蓄積手段の間を繋ぎ、前記検出電圧の大きさが前記電圧所定値の大きさ以上であればその並列スイッチング手段が前記整流手段と前記エネルギー蓄積手段の間を直結する。
【0008】
このことによって、本発明の電力変換手段の起動時や再起動時に前記検出電圧の大きさが前記電圧所定値の大きさ未満であれば、「前記エネルギー蓄積手段が前記整流手段とその変圧手段を介してその駆動用インダクタンス手段の駆動動作を妨げること」を前記第1の電流制限手段が防止する。一方、前記検出電圧の大きさが前記電圧所定値の大きさ以上であれば、その出力用インダクタンス手段の出力電力は前記エネルギー蓄積手段に直に効率良く供給される。
【0009】
従って、本発明は『駆動用変圧器と出力用変圧器を共通化して1つにまとめても、出力側に有る前記エネルギー蓄積手段などの影響を受けること無く起動や再起動を自動的に容易にすることができる』という効果を持つ。
ただ単に起動や再起動を容易にできるのではなく、前記エネルギー蓄積手段の電圧の大きさがどうであろうとも自動的に対応して起動や再起動を容易にできるのである。 ( 第1の効果 )
【0010】
ということは「その起動エネルギー等が小さくて済み、突入電流が発生し難くなる」ということになるので、本発明は『その出力側に有る前記エネルギー蓄積手段の電圧の大きさがどうであろうとも自動的に対応して、その前記エネルギー蓄積手段が原因で流れてしまう突入電流を防止することができる』という第2の効果を持つ。 ( 第2の効果 )
【0011】
本発明が請求項2記載の電力変換手段に対応する場合「3端子型トライアックが普通に持つ固有の独特なトリガー動作モード」を活用したので、『構成が簡単で、部品点数が少ない』という効果が本発明に有る。 ( 追加効果 )
その固有の独特なトリガー動作モードでは「スイッチングが可能な両主端子間電圧方向」と「ゲートのトリガー電圧方向」がトランジスタや普通の3端子型サイリスタと違っている。一般的に、3端子型トライアックでは「T2端子がT1端子に対して『正電圧』のときを第1象限の状態、『負電圧』のときを第3象限の状態」と呼ばれ、4つのトリガー動作モードが有る。本発明は「第1象限でゲート電圧が『負』であるトリガー動作モード」と「第3象限でゲート電圧が『正』であるトリガー動作モード」を活用する。ちなみに、「第1象限でゲート電圧が『正』であるトリガー動作モード」は普通のカソード・ゲート型サイリスタのそれと同様であり、「第3象限でゲート電圧が『負』であるトリガー動作モード」は普通のアノード・ゲート型サイリスタのそれと同様である。
【0012】
【発明を実施するための最良の形態】
本発明をより詳細に説明するために以下添付図面に従ってこれを説明する。先ず請求項1記載中の「エネルギー蓄積手段、第1の電流制限手段、並列スイッチング手段、電圧検出手段、電圧比較手段および駆動手段」が構成する発明構成部分の1実施例を図1に示す。この構成は実質的に突入電流防止手段と同じ構成で、請求項2記載の電力変換手段の発明構成部分の1実施例でもある。図中62、63は出力端子で、両入力端子60、61は整流手段(図示せず。)を介して出力用インダクタンス手段(図示せず。)に接続される。
【0013】
図1の発明構成部分の実施例では以下の通りそれぞれが前述した請求項1記載中の各構成要素に相当する。
a)コンデンサ41が前述したエネルギー蓄積手段に。
b)抵抗7が前述した第1の電流制限手段に。
c)サイリスタ43が前述した並列スイッチング手段に。
d)「ツェナー・ダイオード40、抵抗39及び『抵抗9とトライアック8のゲート端子・T1端子間PN接合の並列回路』の直列回路」が前述した電圧検出手段に。
尚、抵抗9の電圧(=そのゲート端子・T1端子間の印加電圧)がその検出電圧に相当する。
e)そのゲート端子・T1端子間部分が前述した電圧比較手段に。
尚、「トライアック8がターン・オンするそのゲート端子・T1端子間のゲート・トリガー電圧(ターン・オンしきい値電圧)の大きさ」がその電圧所定値(基準電圧)に相当する。
f)「トライアック8と抵抗17が形成する駆動手段」が前述した駆動手段に。
【0014】
また、図1の発明構成部分の実施例では以下の通りそれぞれが請求項2記載中の各構成要素に相当する。
a)トライアック8が請求項2記載中の3端子型トライアックに。
b)トライアック8のゲート端子とT1端子が請求項2記載中の3端子型トライアックのゲート端子とT1端子に。
c)「トライアック8のゲート端子・T1端子間PN接合と抵抗9の並列回路」が請求項2記載中の第1の電圧降下手段に。
d)ツェナー・ダイオード40が請求項2記載中の第2の電圧降下手段に。
e)抵抗39が請求項2記載中の第2の電流制限手段に。
【0015】
図1の発明構成部分の実施例の場合「ツェナー・ダイオード40と抵抗39、9等の電圧検出動作」はコンデンサ41の電圧を取り出すと同時にそのゲート・トリガー電圧くらいの大きさに対応させる動作であって、取り出したコンデンサ41の電圧からそのツェナー電圧を差し引く等してそれに対応させる動作である。そして、トライアック8は自分がターン・オンするかどうかで抵抗9の電圧とそのゲート・トリガー電圧(=電圧所定値)を比較することになる。
尚、一般的にトライアックのゲート端子・T1端子間には双方向にPN接合が在るので、そのトライアックがターン・オンするまではそのPN接合の静特性によりそのゲート・トリガー電圧とゲート・トリガー電流の間に相関関係が有る。
【0016】
図1の部分実施例の動作は簡単に説明すると次の通りである。トライアック8が「コンデンサ41の電圧に対応する抵抗9の電圧の大きさがそのゲート・トリガー電圧の大きさ以上であるかどうか」を比較する。その大きさが前記ゲート・トリガー電圧の大きさ以上でなければ、トライアック8もサイリスタ43もトリガーされず、抵抗7が、コンデンサ41が両入力端子60、61間を短絡または電圧クランプするのを防止したり、あるいは、コンデンサ41に突入電流が流れるのを防止したりする。一方、その大きさ以上であれば、オンとなるトライアック8がサイリスタ43をトリガーしてサイリスタ43と共に抵抗7の両端を短絡し、両入力端子60、61から入力電力を効率良くコンデンサ41に供給する。
【0017】
ところで、トライアック8の主電流が流れる方向(図1の右から左へ)とそのオン駆動電流が流れる方向(図1の上から下へ)の関係は通常のサイリスタやトランジスタの場合と違っており、その違った関係(先程述べた第3象限でゲート電圧が『正』となるトリガー動作モード)でトライアック8は動作する。つまり、「そのT1端子からT2端子へ向かうスイッチング電圧方向(図1で右から左の方向)」と「そのゲート端子からT1端子へ向かうオン駆動電圧方向(図1で上から下の方向)」の関係が普通と違っており、トライアック8のオン駆動電圧、オン駆動電流の方向は通常のアノード・ゲート型サイリスタやPNP型トランジスタの場合と逆なのである。このため、その電圧極性に合わせるために抵抗9の電圧を反転させる必要が無いので、その構成は簡単になり、少ない部品点数で済む。また、サイリスタ43がトライアック8の電流容量を拡大しているが、サイリスタ43の代わりにバイポーラ・トランジスタを使うことも可能である。
【0018】
図5〜図11各図に「図1の発明構成部分の実施例と同様に働く発明構成部分の実施例」を1つずつ示す。これらの部分実施例ではトライアック(8)が前述した並列スイッチング手段も兼ねる。図5、図7、図9、図10の各部分実施例ではその両入力端子に電圧極性が無く、双方向に機能するので、プラス、マイナスの接続ミスが有っても平気である。図8〜図9の各部分実施例では請求項1又は2記載中の第1又は第2の電流制限手段に定電流手段(定電流ダイオードとバイポーラ・トランジスタの接続体)が使用され、図8〜図11の各部分実施例では温度ヒューズ44が使用されている。図10〜図11の各部分実施例では電流制限作用が多段階に変わるので、コンデンサ41の充電が速くなる。
【0019】
図5の部分実施例ではコンデンサ41の電圧が「両ツェナー・ダイオード40のうち一方のツェナー電圧」と「他方の順電圧」及び「トライアック8のゲート端子・T1端子間のゲート・トリガー電圧」の和を越え、抵抗39の電流がそのゲート・トリガー電流を越えると、コンデンサ41がトライアック8をトリガーし、ターン・オンさせる。結局、トライアック8はコンデンサ41の電圧の大きさに基づいてオン駆動される。その印加電圧方向が片方しか無いと確定しているなら、順方向のツェナー・ダイオード40の両端を短絡して、これを取り除き、図6の部分実施例の様にすることもできる。また、抵抗7の代わりに定電流ダイオード等の様な定電流手段を用いてももちろん構わない。
【0020】
図7の部分実施例では抵抗10が前述した第2の電圧降下手段と第2の電流制限手段を兼ねる。図7の部分実施例は双方向性であるが、図7の様にT1端子側をプラスにした方がトリガー・モードの関係でトライアック8をトリガーし易い。図8の部分実施例の様に定電流ダイオード等の様な定電流手段をその電流制限手段として抵抗7の代わりに用いても構わない。その定電流値を適当に選ぶと、抵抗7を用いた場合より『電源投入後にコンデンサ41の充電が早く済む』という利点が有る。また、抵抗7の代わりに抵抗7又は定電流手段と温度ヒューズの直列回路をその電流制限手段として用いれば、コンデンサ41が壊れて短絡状態になったり、抵抗10が断線したり、トライアック8が壊れたりしてトライアック8がターン・オンしなくなり、抵抗7あるいはその定電流手段が発熱して発煙、発火などの重大事故が起きる場合、その前にその温度ヒューズが切れるので『安全である』という利点が有る。
【0021】
図8の部分実施例では2つの定電流手段のうち一方は定電流ダイオード45とトランジスタ46、47の接続体で構成され、他方は定電流ダイオード48とトランジスタ49の接続体で構成される。前者の使用は図6の部分実施例の抵抗7を使う場合に比べて電源投入後のコンデンサ41の充電時間を短くすることを可能にする。これはその充電電圧が増加してもその充電電流の大きさをほぼ一定にできるからである。後者の使用は図6の実施例の抵抗39を使う場合に比べて定常状態時ゲート・トリガー電流による消費を低減することを可能にする。図9の部分実施例では双方向性の定電流手段が使われている。図10、図11の各部分実施例では図7の部分実施例の様に定電圧手段を使わない構成も可能だし、図8、図9の各部分実施例の様に定電流手段を1つ又は2つ使う構成も可能である。
【0022】
図2に示す全体の実施例は、請求項1又は2記載の電力変換手段に対応し、図6の部分実施例を利用した自励式共振型DC−DCコンバータ回路である。図2の実施例では以下の通りそれぞれが請求項1記載中の各構成要素に相当する。
a)トランジスタ70、71が請求項1記載中の複数のスイッチング手段に。
b)変圧器55、入力巻線55a、駆動巻線55b、55c及び出力巻線55dが請求項1記載中の変圧手段、入力用インダクタンス手段、駆動用インダクタンス手段および出力用インダクタンス手段に。
c)ブリッジ接続型の整流回路56が請求項1記載中の整流手段に。
d)コンデンサ41が請求項1記載中のエネルギー蓄積手段に。
e)抵抗7が請求項1記載中の第1の電流制限手段に。
f)トライアック8が請求項1記載中の並列スイッチング手段に。
g)「『トライアック8のT1端子・ゲート端子間PN接合と抵抗9の並列回路』、ツェナー・ダイオード40及び抵抗39の直列回路」が請求項1記載中の電圧検出手段に。
ただし、抵抗9の電圧(=そのT1端子・ゲート端子間の印加電圧)がその検出電圧に相当する。
h)トライアック8が請求項1記載中の電圧比較手段に。
ただし、「トライアック8がターン・オンするT1端子・ゲート端子間のゲート・トリガー電圧(ターン・オンしきい値電圧)の大きさ」がその電圧所定値(基準電圧)に相当する。
i)トライアック8と抵抗9の接続体が請求項1記載中の駆動手段に。
【0023】
また、図2の実施例では以下の通りそれぞれが請求項2記載中の各構成要素に相当する。
a)ブリッジ接続型の整流回路56が請求項2記載中の全波整流手段に。
b)トライアック8が請求項2記載中の3端子型トライアックに。
c)トライアック8のT1端子とゲート端子が請求項2記載中の3端子型トライアックのT1端子とゲート端子に。
d)「トライアック8のT1端子・ゲート端子間PN接合と抵抗9の並列回路」が請求項2記載中の第1の電圧降下手段に。
e)ツェナー・ダイオード40が請求項2記載中の第2の電圧降下手段に。
f)抵抗39が請求項2記載中の第2の電流制限手段に。
【0024】
トライアック78等の部分は図6の部分実施例を流用した通常の利用方法で、電源コンデンサ111による突入電流を防止する。「スイッチ50、コンデンサ51、抵抗52、53及びダイオード54」は起動手段を構成し、変圧器55は駆動用変圧器と出力用変圧器を兼ねる。図6の部分実施例を利用したトライアック8等の回路部はこの電力変換手段の起動や再起動を助ける。同様に図1、図5、図7〜図11の各部分実施例を図2の回路の様に接続すると、起動や再起動を助けることができる。
【0025】
その動作は次の通りである。電源投入後スイッチ50をターン・オンするとき、コンデンサ41の電圧がゼロや「上記電圧所定値で決まる所定コンデンサ電圧未満」であれば、トライアック8はトリガーされず、オフのままだから、コンデンサ41は整流回路56には直結されず、抵抗7を介した接続状態にある。このため、ダイオード54を流れる起動電流は、変圧器55を介してコンデンサ41の方へはあまり流れず、主に「直接トランジスタ71のゲートの方」と「変圧器55を介してトランジスタ70のゲートの方」へ流れるので、図2の電力変換手段は容易に起動(発振開始)する。その起動後コンデンサ41が次第に抵抗7を介して充電されて行き、その所定コンデンサ電圧以上になると、コンデンサ41がトライアック8をトリガーするので、トライアック8がターン・オンしてコンデンサ41を整流回路56に直結し、この電力変換手段は定常動作状態に移行する。そして、その出力電力が出力巻線55dから整流回路56を介してコンデンサ41や負荷57に効率良く供給される。この事は再起動時でも同じである。
【0026】
従って、『駆動用変圧器と出力用変圧器を共通化して1つにまとめた変圧器55を使用しても、出力側に有るコンデンサ41や負荷57の影響を受けること無く起動や再起動を自動的に容易にすることができる』という第1の効果が図2の実施例に有る。単に起動や再起動を容易にできるのではなく、コンデンサ41の電圧の大きさがどうであろうとも自動的に対応して起動や再起動を容易にできるのである。 ( 第1の効果 )
この様に図4の回路と違って図2の実施例では、コンデンサ41の電圧がゼロであっても「コンデンサ41や負荷57が整流回路56と変圧器55を介して駆動巻線55b、55cの各両端を短絡して各駆動動作を邪魔すること」も無いし、コンデンサ41の電圧が低くても「コンデンサ41が整流回路56と変圧器55を介して駆動巻線55b、55cの各両端を低電圧でクランプして充分な大きさの各ゲート駆動電圧が供給されるのを邪魔すること」も無い。
【0027】
『コンデンサ41の電圧の大きさがどうであろうとも自動的に対応して起動や再起動を容易にできる』ということは「その起動エネルギー等が小さくて済み、起動電流などがコンデンサ41の突入電流にならず、突入電流が発生し難くなる」ということになるので、『コンデンサ41の電圧の大きさがどうであろうとも自動的に対応してコンデンサ41が原因で流れてしまう突入電流を防止することができる』という第2の効果が図2の実施例に有る。 ( 第2の効果 )
【0028】
前述した第1、第2の効果は、図2の実施例だけでなく本発明全体についても言うことができ、一般的なDC−DCコンバータ回路の出力用電源コンデンサのところに本発明の技術を使っても同様に有る。
【0029】
【先 行 技 術】
(1)突入電流防止手段に関する技術:
a)実開昭61−35593号 b)実開昭63−113486号
c)特開平1−270727号 d)特開平2−101954号
(2)電力変換手段に関する技術:
a)特開昭63−294259号 b)特開平2−119575号
c)特開平2−146265号 d)特開平2−299474号
e)特開平3−56073号 f)特願平2−221116号
【図面の簡単な説明】
【図1】発明構成部分の1実施例を示す回路図である。
【図2】発明の電力変換手段の1実施例を示す回路図である。
【図3】従来の電力変換手段の1例を示す回路図である。
【図4】本発明者の先行技術の電力変換手段の1例を示す回路図である。
【図5〜図11】各図は、発明構成部分の実施例を1つずつ示す回路図である。
Claims (2)
- 「複数のスイッチング手段の各主電流が流れる入力用インダクタンス手段、各前記スイッチング手段を駆動する駆動用インダクタンス手段及び出力電圧を出力する出力用インダクタンス手段を磁気結合した変圧手段」と、
「前記出力電圧を双方向に整流する整流手段」を有する電力変換手段において、
「充放電を行うことができるエネルギー蓄積手段」と、
「前記整流手段の出力側に前記エネルギー蓄積手段と共に接続され、その充電電流の大きさを制限する第1の電流制限手段」と、
「前記第1の電流制限手段に並列接続される並列スイッチング手段」と、
「前記エネルギー蓄積手段の電圧を検出する電圧検出手段」と、
「前記電圧検出手段の検出電圧の大きさと電圧所定値の大きさを比較する電圧比較手段」と、
「前記電圧比較手段の出力信号に基づいて動作し、前記検出電圧の大きさが前記電圧所定値の大きさ以上であれば前記並列スイッチング手段をオン駆動し、そうでなければ前記並列スイッチング手段をオン駆動しない駆動手段」、
を有することを特徴とする電力変換手段。 - 前記整流手段に「全波整流手段」を用い、
前記駆動手段に「そのT1端子が前記エネルギー蓄積手段に接続される3端子型トライアック」を用い、
前記電圧検出手段に「前記3端子型トライアックのT1端子・ゲート端子間に設けられた第1の電圧降下手段」と「そのゲート端子と、前記全波整流手段と前記エネルギー蓄積手段の接続点の間に直列接続される第2の電圧降下手段と第2の電流制限手段」の直列回路を用い、
前記電圧比較手段に「前記3端子型トライアック」を用い、
前記電圧所定値の大きさとして「前記3端子型トライアックがターン・オンするそのT1端子・ゲート端子間のゲート・トリガー電圧の大きさ」を利用したことを特徴とする請求項1記載の電力変換手段。
Priority Applications (1)
| Application Number | Priority Date | Filing Date | Title |
|---|---|---|---|
| JP19132391A JP3645274B2 (ja) | 1990-05-01 | 1991-04-30 | 電力変換手段 |
Applications Claiming Priority (3)
| Application Number | Priority Date | Filing Date | Title |
|---|---|---|---|
| JP4514190 | 1990-05-01 | ||
| JP2-45141 | 1990-05-01 | ||
| JP19132391A JP3645274B2 (ja) | 1990-05-01 | 1991-04-30 | 電力変換手段 |
Publications (2)
| Publication Number | Publication Date |
|---|---|
| JPH0515054A JPH0515054A (ja) | 1993-01-22 |
| JP3645274B2 true JP3645274B2 (ja) | 2005-05-11 |
Family
ID=26385102
Family Applications (1)
| Application Number | Title | Priority Date | Filing Date |
|---|---|---|---|
| JP19132391A Expired - Fee Related JP3645274B2 (ja) | 1990-05-01 | 1991-04-30 | 電力変換手段 |
Country Status (1)
| Country | Link |
|---|---|
| JP (1) | JP3645274B2 (ja) |
Families Citing this family (2)
| Publication number | Priority date | Publication date | Assignee | Title |
|---|---|---|---|---|
| JP3210145B2 (ja) | 1993-07-14 | 2001-09-17 | キヤノン株式会社 | 走査型露光装置及び該装置を用いてデバイスを製造する方法 |
| JP3101473B2 (ja) * | 1993-11-05 | 2000-10-23 | キヤノン株式会社 | 露光方法及び該露光方法を用いるデバイス製造方法 |
-
1991
- 1991-04-30 JP JP19132391A patent/JP3645274B2/ja not_active Expired - Fee Related
Also Published As
| Publication number | Publication date |
|---|---|
| JPH0515054A (ja) | 1993-01-22 |
Similar Documents
| Publication | Publication Date | Title |
|---|---|---|
| JP2002204572A (ja) | スイッチング電源及びその制御方法 | |
| JP2011050218A (ja) | 直流電源装置 | |
| JPH11235028A (ja) | スイッチング電源装置 | |
| JP3645274B2 (ja) | 電力変換手段 | |
| JP3013776B2 (ja) | 無停電性スイッチングレギュレータ | |
| JP3419134B2 (ja) | 自励式コンバータ装置 | |
| JPH0357694B2 (ja) | ||
| JP3233034B2 (ja) | 突入電流制限回路 | |
| JP2001000028U (ja) | 突入電流防止手段 | |
| US5838553A (en) | Voltage stabilized self-oscillating power supply | |
| JPS63209467A (ja) | スイツチング電源 | |
| JPH0721073Y2 (ja) | 無停電電源装置 | |
| JPH07163142A (ja) | スイッチング電源 | |
| JPH10327574A (ja) | スイッチング手段の駆動回路 | |
| JPH0242076Y2 (ja) | ||
| JP3038746B2 (ja) | 車両用充電制御装置 | |
| JP2927902B2 (ja) | スイッチング電源 | |
| JPH0242077Y2 (ja) | ||
| JP3506216B2 (ja) | スイッチング電源装置 | |
| JPS603638Y2 (ja) | Dc−ac コンバ−タの保護回路 | |
| JPH0545111Y2 (ja) | ||
| JP3521055B2 (ja) | 共振型dc−dcコンバータ回路 | |
| JPH0713398Y2 (ja) | 電源保護回路 | |
| JP2005033971A (ja) | スイッチング電源回路 | |
| JPH1146480A (ja) | スイッチング電源装置 |
Legal Events
| Date | Code | Title | Description |
|---|---|---|---|
| R150 | Certificate of patent or registration of utility model |
Free format text: JAPANESE INTERMEDIATE CODE: R150 |
|
| LAPS | Cancellation because of no payment of annual fees |
