JP3607090B2 - 薄型ディスク録音再生装置 - Google Patents

薄型ディスク録音再生装置 Download PDF

Info

Publication number
JP3607090B2
JP3607090B2 JP25459398A JP25459398A JP3607090B2 JP 3607090 B2 JP3607090 B2 JP 3607090B2 JP 25459398 A JP25459398 A JP 25459398A JP 25459398 A JP25459398 A JP 25459398A JP 3607090 B2 JP3607090 B2 JP 3607090B2
Authority
JP
Japan
Prior art keywords
door member
thin
disk
reproducing apparatus
recording
Prior art date
Legal status (The legal status is an assumption and is not a legal conclusion. Google has not performed a legal analysis and makes no representation as to the accuracy of the status listed.)
Expired - Fee Related
Application number
JP25459398A
Other languages
English (en)
Other versions
JP2000076763A (ja
Inventor
祐治 茂木
Current Assignee (The listed assignees may be inaccurate. Google has not performed a legal analysis and makes no representation or warranty as to the accuracy of the list.)
Kenwood KK
Original Assignee
Kenwood KK
Priority date (The priority date is an assumption and is not a legal conclusion. Google has not performed a legal analysis and makes no representation as to the accuracy of the date listed.)
Filing date
Publication date
Application filed by Kenwood KK filed Critical Kenwood KK
Priority to JP25459398A priority Critical patent/JP3607090B2/ja
Publication of JP2000076763A publication Critical patent/JP2000076763A/ja
Application granted granted Critical
Publication of JP3607090B2 publication Critical patent/JP3607090B2/ja
Anticipated expiration legal-status Critical
Expired - Fee Related legal-status Critical Current

Links

Images

Landscapes

  • Feeding And Guiding Record Carriers (AREA)

Description

【0001】
【発明の属する技術分野】
この発明はディスク録音再生装置に係わり、特に、壁際に設置するのに適した薄型ディスク録音再生装置に関する。
【0002】
【従来の技術】
従来からインテリアやライフスタイルに合わせたオーディオの提案が行われており、その中にCDやアンプ、チューナー等の本体部分およびスピーカー部分を薄く設計して壁際に設置したり、実際に壁に掛けて使用できるタイプのいわゆる薄型オーディオがあった。
【0003】
現在の薄型オーディオのソースはCD(またはDVD)が主流であり、これにチューナーとコンパクトカセットまたはMD等とアンプにスピーカーが組み合わされている。CDまたはDVDは直径120mmのメディアであるため薄型にするためにはディスクを縦に配置する必要がある。
【0004】
そのような薄型のディスク再生装置の従来例を図3に示す。この例では筐体1に観音開きにガラスのドア6、6が開閉自在に設けられ、その中にディスク5をボールクランプのターンテーブル3で保持する再生ユニットが縦に配置されている。
【0005】
他の従来例を図4に示す。この例では、筐体1の前面を開閉する透明なドア7が上支点で回動し、その中に縦に設置されている再生ユニット台8が図4(a)に示すようにスライドしてせり出し、図4(b)に示すようにボールクランプのターンテーブル3が水平状態となる。この状態でディスク5が装着される。ディスク5を装着した後、再生ユニット台8は垂直状態に戻されてディスクが再生される。
【0006】
【発明が解決しようとする課題】
図3に示す従来のディスク再生装置は図に示すようにディスク5を縦にセットしようとすると操作がしにくく、失敗するとディスク5が落ちてしまう恐れがあった。また、前面のガラスドア6、6を品位良く駆動するための装置の製造コストが高くなるという問題があった。
【0007】
図4に示す従来のディスク再生装置はディスクを水平に脱着出来るためディスクを落とす恐れはないが、ドア7を回避させ、かつ再生ユニットを水平に移動させるための機構が複雑になり製造コストが高くなるという問題があった。また、ドア7が再生ユニットの上に被さっているとディスクをセットしにくいという欠点もあった。
【0008】
また、どちらの例でもディスクは外から見えるようにドアが透明になっており、トラックNO.や時間表示をする表示部や操作釦を配置するスペースが確保しにくいという問題もあった。
【0009】
この発明は上記した点に鑑みてなされたものであって、その目的とするところは、製造コストが安く、かつ、ディスクを安全にセットすることができる薄型ディスク録音再生装置を提供することにある。
【0010】
この発明の他の目的は、表示部や操作釦を配置するスペースを十分に確保できる薄型ディスク録音再生装置を提供することである。
【0011】
【課題を解決するための手段】
この発明の薄型縦長の薄型ディスク録音再生装置は、筐体に下端部が回動自在に支持され垂直状態と水平状態との間を90°回動するドア部材に、水平状態においてターンテーブルのディスク接触面が上側となるように記録再生ユニットを配置し、前記ドア部材が筐体を開く水平状態において、前記ターンテーブルにディスクを着脱可能とし、前記ドア部材が筐体を閉じる垂直状態においてディスク録音再生可能とし、前記ドア部材の筐体を閉じた状態での外面に表示部および操作釦を配置したものである。
【0012】
また、前記薄型ディスク録音再生装置において、前記ドア部材にディスク記録面を覗く窓を設けたものである。
【0014】
【発明の実施の形態】
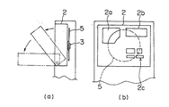
この発明の実施例である薄型ディスク再生装置を図面に基づいて説明する。図1はこの発明の実施例である薄型ディスク録音再生装置を示す斜視図である。また、図2(a)は同薄型ディスク録音再生装置を示す側面図、図2(b)は同薄型ディスク録音再生装置を示す正面図である。
【0015】
図に示す筐体1にはドア部材2が下側を回転中心にして上側が円弧運動して90゜開くように回動自在に支持されている。そして、駆動機構4により矢印で示すように回動される。
【0016】
CDまたはDVDのディスク5を装着する時には図1に示すようにドア部材2が水平状態とされる。ドア部材2には従来例で示した通りのボールクランプのターンテーブル3や光ピックアップを有する再生ユニットが組み込まれており、水平状態でターンテーブル3はドア部材2の上側となるように配置される。この状態でディスク5をセットする。この時上側にドアのような障害物は存在しないので容易にディスクをセットできる。
【0017】
演奏は図2の実線で示すようにドア部材2を元に戻して行う。ドア部材2には窓2aが設けられているが、演奏時のパネル面の窓2aから見えるのはディスク5の信号面側である。
【0018】
また、ドア部材2には再生ユニットの裏側すなわち、ドア部材2が閉じられた状態でのパネル面側に時間等の表示部2bと操作釦2cが配置されている。このように表示部2bと操作釦2cが再生ユニットを保持するドア部材2に設けられているのでそれらをドア部材2の中に1枚のプリント基板を配置することで、まとめてプリント基板に直接取付けることが可能となり、部品コストや組み立て工数が削減される。
【0019】
実施例は以上のように構成されているが発明はこれに限らず、例えば、ドア部材の開閉を手動により行う構成とすることもできる。その場合製造コストがさらに削減される。
【0020】
【発明の効果】
この発明の薄型ディスク録音再生装置によれば、ドア部材の中に再生ユニットを組み込み、回転支点により回転運動をさせることにより信頼性が高く、品位の高い薄型オーディオを安価に提供できる。
【0021】
また、ディスク装着はディスクを水平として行えるため安定度が高く、操作性がよい。
【0022】
さらに、ドア部材のパネル側を利用して表示部や操作釦を配置できるためスぺ−スが有効利用できる。
【図面の簡単な説明】
【図1】この発明の実施例である薄型ディスク録音再生装置を示す斜視図である。
【図2】図2(a)は同薄型ディスク録音再生装置を示す側面図、図2(b)は同薄型ディスク録音再生装置を示す正面図である。
【図3】従来の薄型ディスク録音再生装置の例を示す斜視図である。
【図4】図4(a)は従来の薄型ディスク録音再生装置の他の例を示す側面図、図4(b)は同薄型ディスク録音再生装置を示す斜視図である。
【符号の説明】
1 筐体
2 ドア部材、2a 窓、2b 表示部、2c 操作釦
3 ターンテーブル
4 駆動機構
5 ディスク
6 ドア
7 ドア
8 再生ユニット台

Claims (2)

  1. 薄型縦長の筐体に下端部が回動自在に支持され垂直状態と水平状態との間を90°回動するドア部材に、水平状態においてターンテーブルのディスク接触面が上側となるように記録再生ユニットを配置し、前記ドア部材が筐体を開く水平状態において、前記ターンテーブルにディスクを着脱可能とし、前記ドア部材が筐体を閉じる垂直状態においてディスク録音再生可能とし、前記ドア部材の筐体を閉じた状態での外面に表示部および操作釦を配置した薄型ディスク録音再生装置。
  2. 前記ドア部材にディスク記録面を覗く窓を設けた請求項1の薄型ディスク録音再生装置。
JP25459398A 1998-08-25 1998-08-25 薄型ディスク録音再生装置 Expired - Fee Related JP3607090B2 (ja)

Priority Applications (1)

Application Number Priority Date Filing Date Title
JP25459398A JP3607090B2 (ja) 1998-08-25 1998-08-25 薄型ディスク録音再生装置

Applications Claiming Priority (1)

Application Number Priority Date Filing Date Title
JP25459398A JP3607090B2 (ja) 1998-08-25 1998-08-25 薄型ディスク録音再生装置

Publications (2)

Publication Number Publication Date
JP2000076763A JP2000076763A (ja) 2000-03-14
JP3607090B2 true JP3607090B2 (ja) 2005-01-05

Family

ID=17267205

Family Applications (1)

Application Number Title Priority Date Filing Date
JP25459398A Expired - Fee Related JP3607090B2 (ja) 1998-08-25 1998-08-25 薄型ディスク録音再生装置

Country Status (1)

Country Link
JP (1) JP3607090B2 (ja)

Families Citing this family (1)

* Cited by examiner, † Cited by third party
Publication number Priority date Publication date Assignee Title
KR20100030065A (ko) 2008-09-09 2010-03-18 삼성전자주식회사 광 디스크 재생장치

Also Published As

Publication number Publication date
JP2000076763A (ja) 2000-03-14

Similar Documents

Publication Publication Date Title
JP3158293B2 (ja) ディスクカートリッジ着脱装置
JP3607090B2 (ja) 薄型ディスク録音再生装置
JPH0855400A (ja) ディスクプレーヤーのトレー
JPH1186399A (ja) 光ディスク再生装置
JP3515016B2 (ja) 記録媒体の記録・再生装置
JP3815993B2 (ja) オーディオ装置
JPH10255369A (ja) ディスク記録再生装置
JP3765746B2 (ja) ディスク再生装置
JP4340909B2 (ja) ディスクプレーヤ
JPH0969282A (ja) 光ディスクドライブ装置
JP3653432B2 (ja) ディスク装置
JP4513468B2 (ja) ディスク装置
JP2002100106A (ja) ディスク再生装置
JP3657815B2 (ja) 記録媒体駆動装置
JPH067485Y2 (ja) ディスクプレーヤのディスク装着装置
JP3739598B2 (ja) 記録媒体駆動装置
JP2000149365A (ja) ディスクドライブ装置
WO2006030856A1 (ja) ディスク装置
JPH07249250A (ja) ディスクローディング装置
JP4400093B2 (ja) 電子機器
JP3739577B2 (ja) 記録媒体駆動装置
JP2001143353A (ja) ディスク装置のディスク取出機構
JPH0142851Y2 (ja)
JPH10308051A (ja) ディスクプレーヤーのディスク装着装置
JP2000293916A (ja) ディスク装置のローディングトレイ

Legal Events

Date Code Title Description
A131 Notification of reasons for refusal

Free format text: JAPANESE INTERMEDIATE CODE: A131

Effective date: 20040427

A521 Written amendment

Free format text: JAPANESE INTERMEDIATE CODE: A523

Effective date: 20040618

TRDD Decision of grant or rejection written
A01 Written decision to grant a patent or to grant a registration (utility model)

Free format text: JAPANESE INTERMEDIATE CODE: A01

Effective date: 20040928

A61 First payment of annual fees (during grant procedure)

Free format text: JAPANESE INTERMEDIATE CODE: A61

Effective date: 20041006

R150 Certificate of patent or registration of utility model

Free format text: JAPANESE INTERMEDIATE CODE: R150

FPAY Renewal fee payment (event date is renewal date of database)

Free format text: PAYMENT UNTIL: 20071015

Year of fee payment: 3

FPAY Renewal fee payment (event date is renewal date of database)

Free format text: PAYMENT UNTIL: 20081015

Year of fee payment: 4

FPAY Renewal fee payment (event date is renewal date of database)

Free format text: PAYMENT UNTIL: 20081015

Year of fee payment: 4

FPAY Renewal fee payment (event date is renewal date of database)

Free format text: PAYMENT UNTIL: 20091015

Year of fee payment: 5

FPAY Renewal fee payment (event date is renewal date of database)

Free format text: PAYMENT UNTIL: 20091015

Year of fee payment: 5

FPAY Renewal fee payment (event date is renewal date of database)

Free format text: PAYMENT UNTIL: 20101015

Year of fee payment: 6

FPAY Renewal fee payment (event date is renewal date of database)

Free format text: PAYMENT UNTIL: 20111015

Year of fee payment: 7

FPAY Renewal fee payment (event date is renewal date of database)

Free format text: PAYMENT UNTIL: 20121015

Year of fee payment: 8

FPAY Renewal fee payment (event date is renewal date of database)

Free format text: PAYMENT UNTIL: 20121015

Year of fee payment: 8

S111 Request for change of ownership or part of ownership

Free format text: JAPANESE INTERMEDIATE CODE: R313111

FPAY Renewal fee payment (event date is renewal date of database)

Free format text: PAYMENT UNTIL: 20121015

Year of fee payment: 8

R350 Written notification of registration of transfer

Free format text: JAPANESE INTERMEDIATE CODE: R350

FPAY Renewal fee payment (event date is renewal date of database)

Free format text: PAYMENT UNTIL: 20131015

Year of fee payment: 9

LAPS Cancellation because of no payment of annual fees